|
|
(21), (22) Заявка: 2008125872/28, 24.06.2008
(24) Дата начала отсчета срока действия патента:
24.06.2008
(46) Опубликовано: 10.03.2010
(56) Список документов, цитированных в отчете о поиске:
ВЫСОЦКИЙ А.В., КУРОЧКИН А.П. Пневматические средства измерения линейных величин в машиностроении. – М.: МАШИНОСТРОЕНИЕ, 1979, с.78. RU 2262662 С2, 20.10.2005. RU 2178545 С2, 20.01.2002. SU 1768968 A1, 15.10.1992. SU 918786 A1, 07.04.1982. GB 1004130 A, 08.09.1965.
Адрес для переписки:
426033, г.Ижевск, а/я 4579, ЗАО “РС-Лизинг”
|
(72) Автор(ы):
Мурашов Владислав Михайлович (RU)
(73) Патентообладатель(и):
Закрытое акционерное общество “РС-Лизинг” (RU)
|
(54) УСТРОЙСТВО ДЛЯ ИЗМЕРЕНИЯ ЛИНЕЙНЫХ РАЗМЕРОВ
(57) Реферат:
Изобретение относится к пневматической измерительной технике и может быть использовано для измерения линейных размеров и погрешностей формы механических деталей. Сущность: устройство содержит стойку, на которой установлен измерительный элемент, содержащий оппозитно установленные сильфон противодавления и измерительный сильфон, взаимодействующий с контролируемой деталью. При этом оба сильфона выполнены герметичными и снабжены дифференциальным пневмоэлектронным преобразователем, соединенным с прибором, содержащим блок обработки измерений и цифровую шкалу. Технический результат: повышение точности измерения, упрощение конструкции и расширение области применения. 1 ил.
Изобретение относится к пневматической измерительной технике и может быть использовано для измерения линейных размеров и погрешностей формы механических деталей.
Известно устройство для измерения линейных размеров, описанное в книге А.В.Высоцкого, А.П.Курочкина «Пневматические средства измерений линейных размеров в машиностроении», М., 1979 г., с.74, фиг.36, с.77, фиг.37, принятое в качестве прототипа, состоящее из отсчетного устройства со шкалой, пневматического преобразователя, связанного с отсчетным устройством с помощью механического передаточного звена, содержащего два оппозитно расположенных в корпусе сильфона.
К недостаткам указанного устройства можно отнести необходимость в сети сжатого воздуха, очистке и стабилизации его давления, а также недостаточную точность измерения, связанную с погрешностью стабилизации рабочего давления.
Задачей заявляемого изобретения является повышение точности измерения, упрощение конструкции и расширение области применения.
Указанный технический результат достигается тем, что устройство для измерения линейных размеров состоит из стойки, на которой установлен измерительный элемент, содержащий измерительный сильфон, взаимодействующий с контролируемой деталью, при этом сильфон выполнен герметичным и снабжен пневмоэлектронным преобразователем, соединенным с прибором.
Измерительный элемент может содержать два оппозитно расположенных сильфона с дифференциальным пневмоэлектронным преобразователем.
Прибор выполнен пневмоэлектронным и содержит электронный блок обработки измерений и цифровую шкалу.
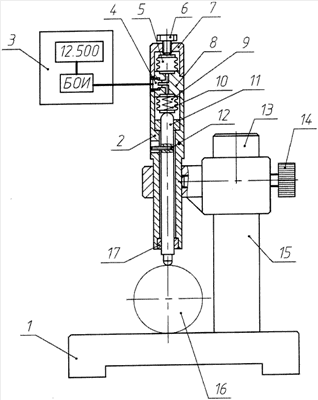
Заявляемое устройство для измерения линейных размеров состоит из стойки 1, на которой закреплен измерительный элемент 2, соединенный с прибором 3.
Измерительный элемент 2 содержит дифференциальный пневмоэлектронный преобразователь 4, снабженный сильфоном противодавления 5 с регулировочным винтом 6, взаимодействующим с крышкой 7 сильфона 5. В корпусе 8 оппозитно сильфону 5 установлен измерительный сильфон 9, снабженный пружиной 10 и взаимодействующий с измерительным штоком 11, один конец которого упирается в контролируемую деталь, а другой – в основание сильфона 9. Шток 11 снабжен стопором 12. Внутренние емкости обоих сильфонов 5 и 9 соединены с пневмоэлектронным преобразователем 4.
Стойка 1 содержит вертикальную опору 13 с кронштейном 14, на котором установлен измерительный элемент 2, перемещающийся по направляющей 15.
Шток 11, взаимодействующий с контролируемой деталью 16, установлен в направляющих 17.
Прибор 3 содержит цифровую шкалу, электронный блок обработки измерений (БОИ), соединенный с пневмоэлектронным преобразователем 4.
Процесс измерения линейных размеров осуществляют следующим образом.
При вкручивании винта 6 сильфон 5 сжимается, в результате чего в нем устанавливается постоянное давление hп. В измерительную позицию устанавливают наименьшую установочную деталь 16. За счет регулировки высоты положения измерительного элемента 2 в стойке 1 добиваются необходимого сжатия сильфона 9 до появления в нем измерительного давления hи, например, равного hп, что будет соответствовать “0” показанию прибора 3. При установке наибольшей установочной детали 16 в БОИ вводят наибольшую величину разности давлений hи-hп.
При установке в измерительную позицию контролируемой детали изменяется положение штока 11, что вызывает изменение объема в сильфоне 9, в результате чего в нем устанавливается измерительное давление hи, соответствующее величине размера детали 16. Пневмоэлектронный преобразователь 4 передает в БОИ электрический сигнал, соответствующий разности давлений hи-hп в сильфонах 5 и 9, равный величине контролируемого размера, который отображается на цифровой шкале прибора 3.
Заявляемое устройство может быть снабжено одним измерительным сильфоном 9, при этом результат измерения будет зависеть от стабильности температуры окружающей среды, так как изменение температуры воздуха в сильфоне будет вносить дополнительную погрешность в измерения.
Таким образом, применение в устройстве для измерения линейных размеров измерительного сильфона и сильфона противодавления с дифференциальным пневмоэлектронным преобразователем, соединенным с пневмоэлектронным прибором, позволило повысить точность измерения, а выполнение сильфонов герметичными позволило исключить из конструкций пневмосеть, тем самым расширить область применения устройства.
Формула изобретения
Устройство для измерения линейных размеров, содержащее стойку, на которой установлен измерительный элемент, содержащий оппозитно установленные сильфон противодавления и измерительный сильфон, взаимодействующий с контролируемой деталью, отличающееся тем, что оба сильфона выполнены герметичными и снабжены дифференциальным пневмоэлектронным преобразователем, соединенным с прибором, содержащим блок обработки измерений и цифровую шкалу.
РИСУНКИ
|
|