|
(21), (22) Заявка: 2008118848/02, 14.05.2008
(24) Дата начала отсчета срока действия патента:
14.05.2008
(43) Дата публикации заявки: 20.11.2009
(46) Опубликовано: 10.03.2010
(56) Список документов, цитированных в отчете о поиске:
Zarc’s VEXOR Pepper Spray. Law and Order Magazine. March, 2003. c.118-119. US 2003129138 A1, 10.07.2003. US 2003170180 A1, 11.09.2003. US 4735349 A, 05.04.1988. RU 2161768 C1, 10.01.2001. RU 2025 U1, 16.04.1996.
Адрес для переписки:
426011, г.Ижевск, ул. Холмогорова, 25, кв.10, М.В.Гринбергу
|
(72) Автор(ы):
Гринберг Михаил Владимирович (RU), Кузьменко Олег Леонидович (RU), Соколов Владимир Матвеевич (RU)
(73) Патентообладатель(и):
Гринберг Михаил Владимирович (RU), Кузьменко Олег Леонидович (RU), Кузьменко Татьяна Наилевна (RU), Соколова Алла Зиновьевна (RU), Черновская Наталья Ивановна (RU)
|
(54) РАСПЫЛИТЕЛЬ СЛЕЗОТОЧИВЫХ РАЗДРАЖАЮЩИХ ВЕЩЕСТВ
(57) Реферат:
Изобретение относится к распылителям слезоточивых раздражающих веществ. Распылитель содержит баллон, клапан, жидкий состав слезоточивого раздражающего действия, пропеллент в виде сжатого газа под давлением, не превышающим максимальное давление, которое способен выдержать баллон, и устройство с системой каналов для формирования струи жидкости. Пропеллент представляет собой сжатый воздух, жидкий состав представляет собой смесь веществ, не растворяющих воздух, а величина давления сжатого воздуха в полностью заправленном баллоне, выраженная в атмосферах, по крайней мере, в два раза превышает отношение полного внутреннего объема баллона к объему, занимаемому воздухом в полностью заправленном баллоне. Распылитель обладает высокой эффективностью и безопасностью за счет обеспечения эвакуации жидкого состава слезоточивого раздражающего действия в форме однородной струи жидкости. 2 ил.
Изобретение относится к распылителям слезоточивых раздражающих веществ, а именно к распылителям слезоточивых раздражающих веществ, обеспечивающих эвакуацию жидкого состава слезоточивого раздражающего действия в форме струи жидкости.
Распылители слезоточивых раздражающих веществ могут обеспечивать эвакуацию жидкого состава слезоточивого раздражающего действия в форме аэрозольного облака или в форме струи жидкости. Возможна также эвакуация содержимого в промежуточной форме (брызги жидкости).
Воздействие жидкого состава слезоточивого раздражающего действия в форме струи жидкости имеет целый ряд преимуществ по сравнению с воздействием в форме аэрозольного облака:
а) Воздействие струи жидкости эффективнее по сравнению с воздействием аэрозольного облака.
При воздействии струи жидкости значительная часть слезоточивых раздражающих веществ, содержащихся в распылителе, может достигать органов чувств объекта воздействия.
При воздействии аэрозольного облака только незначительная часть слезоточивых раздражающих веществ, содержащихся в распылителе, достигает органов чувств объекта воздействия.
б) Воздействие струи жидкости безопаснее для окружающих по сравнению с воздействием аэрозольного облака.
Под воздействием струи жидкости оказывается только объект воздействия. Струя жидкости не обладает свойством распространяться в объеме помещения и не делает помещение непригодным для пребывания людей после применения распылителя.
Под воздействием аэрозольного облака оказываются не только объект воздействия, но также окружающие люди и сам пользователь. В наибольшей мере указанный недостаток аэрозольных образований проявляется в замкнутых помещениях (здании, салоне общественного транспорта, кабине лифта и т.п.). Аэрозольное облако быстро распространяется по всему объему помещения, делая его не пригодным для нахождения людей.
в) Эффективность и безопасность воздействия струи жидкости в меньшей мере подвержены влиянию атмосферных факторов по сравнению с воздействием аэрозольного облака.
Направление и дальность распространения струи жидкости в незначительной мере подвержены влиянию атмосферных факторов.
Направление и дальность распространения аэрозольного облака определяется направлением и скоростью ветра. При сильном боковом ветре отклонение аэрозольного облака может существенно уменьшить эффективность воздействия, а при сильном встречном ветре аэрозольное облако представляет большую опасность для пользователя, чем для объекта воздействия.
г) Эффективность струи жидкости не зависит от расстояния до объекта воздействия.
Эффективность струи жидкости постоянна по длине и не зависит от расстояния до объекта воздействия.
Эффективность аэрозольного облака снижается по мере увеличения расстояния до объекта воздействия. Концентрация аэрозольного облака и, соответственно, концентрация слезоточивого раздражающего вещества имеют наибольшее значение на выходе распылительного устройства и непрерывно снижаются по длине аэрозольного образования.
Таким образом, эвакуация содержимого распылителя слезоточивых раздражающих веществ в форме струи жидкости повышает эффективность и безопасность распылителя по сравнению с эвакуацией содержимого в форме аэрозольного облака. Эвакуация содержимого в форме брызг жидкости не позволяет существенно повысить эффективность и безопасность распылителя слезоточивых раздражающих веществ.
Возможность эвакуации содержимого распылителя слезоточивых раздражающих веществ в форме струи жидкости определяется свойствами пропеллента и свойствами жидкого состава.
В качестве пропеллента в аэрозольных распылителях, как правило, используются сжиженные под давлением газы: хладоны (фреоны), представляющие собой насыщенные фторсодержащие углеводороды (хлорфторуглероды, гидрохлорфторуглероды, гидрофторуглероды), а также предельные углеводороды (пропан, бутан, изобутан и их смеси). При эвакуации жидких составов распылителей, содержащих в качестве пропеллента сжиженные под давлением газы, происходит мгновенное вскипание пропеллента, сопровождающееся диспергированием жидкости и формированием аэрозольного образования, состоящего из мелких частиц жидкости. Таким образом, все распылители, содержащие в качестве пропеллента сжиженные под давлением газы, принципиально непригодны для эвакуации содержимого в форме струи жидкости [1].
В большей мере для эвакуации жидких составов в форме струи жидкости пригодны распылители, содержащие в качестве пропеллента сжатые газы, из которых чаще всего используются двуокись углерода, азот, оксид азота. При эвакуации жидких составов распылителей, содержащих в качестве пропеллента сжатые газы, не происходит вскипание пропеллента. Диспергирование жидкости и возможность эвакуации содержимого распылителя в форме струи жидкости определяются в этом случае растворимостью газа в жидком составе. При этом чем выше растворимость газа в жидком составе, тем больше диспергирование жидкости [1].
Известен аэрозольный распылитель слезоточивых раздражающих веществ, содержащий слезоточивое раздражающее вещество CS, растворитель и дисперсант, образующий аэрозольное облако. В качестве пропеллента используется двуокись углерода или оксид азота [2].
Известен аэрозольный распылитель слезоточивых раздражающих веществ, содержащий слезоточивое раздражающее вещество CS, растворитель и дисперсант, образующий аэрозольное облако. Растворитель представляет собой смесь, содержащую ацетон и трихлортрифторэтан (фреон 113). Эвакуация состава из распылителя обеспечивается пропеллентом, выбранным из группы, состоящей из двуокиси углерода и оксида азота [3].
Известен способ подавления беспорядков и самообороны, включающий распыление в форме аэрозоля в лицо человека жидкого состава слезоточивого раздражающего действия, содержащего слезоточивое раздражающее вещество олеорезин капсикум, воду, этиловый спирт и гликоль. В качестве пропеллента используется азот [4].
Известен аэрозольный состав слезоточивого раздражающего действия для самообороны, содержащий слезоточивое раздражающее вещество олеорезин капсикум, изопропиловый спирт и лимонную кислоту. В качестве пропеллента используется двуокись углерода, образующаяся в результате реакции лимонной кислоты с водой и бикарбонатом натрия, дополнительно вводимыми в жидкий состав [5].
Известно нелетальное химическое оружие, содержащее зловонное вещество и/или смесь зловонного вещества и слезоточивых раздражающих веществ олеорезин капсикум, CN, CS, растворенных в воде, спиртах или органических растворителях. В качестве пропеллента используются азот, двуокись углерода, фреон, тетрахлорэтилен или хлористый метилен [6].
Недостатками известных распылителей слезоточивых раздражающих веществ [2-6] являются низкая эффективность и безопасность, обусловленные эвакуацией содержимого в форме аэрозольного облака или в форме брызг. Практика показывает, что использование в распылителях слезоточивых раздражающих веществ в качестве пропеллента таких сжатых газов, как двуокись углерода, азот, оксид азота и их смесей не обеспечивает эвакуацию содержимого в форме однородной струи жидкости в связи с достаточно высокой растворимостью указанных газов в жидких составах.
Наиболее близким к предлагаемому распылителю является распылитель слезоточивых раздражающих веществ Vexor производства американской компании Zarc International Inc., содержащий баллон, клапан, жидкий состав слезоточивого раздражающего действия, пропеллент сжатый газ под давлением, не превышающим максимальное давление, которое способен выдержать баллон, и устройство с системой каналов для формирования струи жидкости. Жидкий состав слезоточивого раздражающего действия содержит слезоточивое раздражающе вещество олеорезин капсикум, триглицерид Glycerol tri(2-ethylhexanoate) и сложный эфир пропиленгликоля (Propylene glycol dicaprylate/carpate). В качестве пропеллента используется двуокись углерода [7-9].
Недостатками известного распылителя слезоточивых раздражающих веществ являются низкая эффективность и безопасность, обусловленные эвакуацией жидкого состава слезоточивого раздражающего действия в форме брызг. Проведенные испытания свидетельствуют о том, что использование в известном распылителе в качестве пропеллента двуокиси углерода не обеспечивает эвакуацию жидкого состава в форме однородной струи жидкости в связи с достаточно высокой растворимостью пропеллента в жидком составе.
Техническими задачами, решаемыми в предлагаемом изобретении, являются повышение эффективности и безопасности распылителя слезоточивых раздражающих веществ за счет обеспечения эвакуации содержимого в форме однородной струи жидкости.
Указанные технические задачи достигаются тем, что в распылителе слезоточивых раздражающих веществ, содержащем баллон, клапан, жидкий состав слезоточивого раздражающего действия, пропеллент сжатый газ под давлением, не превышающим максимальное давление, которое способен выдержать баллон, и устройство с системой каналов для формирования струи жидкости, пропеллент представляет собой сжатый воздух, жидкий состав представляет собой смесь веществ, не растворяющих воздух, а величина давления сжатого воздуха в полностью заправленном баллоне, выраженная в атмосферах, по крайней мере, в два раза превышает отношение полного внутреннего объема баллона к объему, занимаемому воздухом в полностью заправленном баллоне.
Повышение эффективности и безопасности распылителя слезоточивых раздражающих веществ за счет обеспечения эвакуации содержимого в форме однородной струи жидкости требует выбора пропеллента сжатого газа, нерастворимого в компонентах жидкого состава, химически стабильного и инертного, нетоксичного, с высокой температурной стабильностью физических характеристик. Указанным требованиям в полной мере удовлетворяет пропеллент сжатый воздух, обеспечивающий технологичность снаряжения и минимальную стоимость распылителя.
Повышение эффективности и безопасности распылителя слезоточивых раздражающих веществ за счет обеспечения эвакуации содержимого в форме однородной струи жидкости требует выбора компонентов жидкого состава слезоточивого раздражающего действия, не растворяющих воздух, химически стабильных и инертных, нетоксичных, с высокой температурной стабильностью физических характеристик. Компоненты жидкого состава должны быть малолетучими для обеспечения безопасности окружающих людей и безопасного применения распылителей в замкнутых помещениях (здании, салоне общественного транспорта, кабине лифте и т.п.).
Компонентами жидкого состава слезоточивого раздражающего действия являются слезоточивое раздражающее вещество (или смесь слезоточивых раздражающих веществ) и растворитель (или смесь растворителей).
Слезоточивое раздражающее вещество (или вещества) должны иметь высокую растворимость в используемом растворителе (или растворителях).
В наибольшей мере отвечают предъявляемым требованиям к слезоточивым раздражающим веществам олеорезин капсикум и морфолид пеларгоновой кислоты, представляющие собой малолетучие маслянистые жидкости, не растворяющие воздух.
В наибольшей мере отвечает предъявляемым требованиям к растворителю этиленгликоль, представляющий собой малолетучую жидкость с температурой кипения 197°С, не растворяющий воздух.
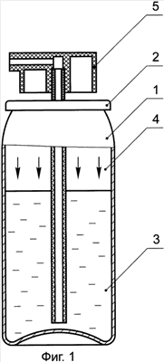
На фиг.1 представлен полностью заправленный распылитель слезоточивых раздражающих веществ. На фиг.2 представлен распылитель слезоточивых раздражающих веществ в процессе эвакуации жидкого состава слезоточивого раздражающего действия. Распылитель содержит баллон 1, клапан 2, жидкий состав слезоточивого раздражающего действия 3, пропеллент сжатый воздух 4 и устройство с системой каналов 5 для формирования струи жидкости.
Снаряжение распылителя слезоточивых раздражающих веществ включает дозированное частичное заполнение внутреннего объема баллона жидким составом слезоточивого раздражающего действия, образованного из смеси веществ, не растворяющих воздух, герметичное закрепление клапана на горловине баллона, инжекцию пропеллента сжатого воздуха через клапан до полного заполнения свободного внутреннего объема баллона под давлением, не превышающим максимальное давление, которое способен выдержать баллон, и установку на клапан устройства с системой каналов для формирования струи жидкости. При этом давление сжатого воздуха и объем, занимаемый сжатым воздухом, устанавливаются таким образом, чтобы давление сжатого воздуха в баллоне на момент полной эвакуации жидкого состава, составляло не менее двух атмосфер.
При условии нерастворимости пропеллента в жидком составе масса препеллента остается неизменной в процессе эвакуации содержимого. Вместе с тем объем, занимаемый пропеллентом, возрастает по мере эвакуации содержимого; соответственно, уменьшается давление пропеллента. Для обеспечения полной эвакуации содержимого распылителя необходимо, чтобы на момент полной эвакуации жидкого состава избыточное давление в баллоне, создаваемое пропеллентом, составляло не менее одной атмосферы по отношению к атмосферному давлению. Следовательно, на момент полной эвакуации жидкого состава давление, создаваемое пропеллентом, должно составлять не менее двух атмосфер.
Для сжатого воздуха в полной мере применимы уравнения состояния идеального газа. Незначительным изменением температуры воздуха при увеличении объема в процессе эвакуации жидкого состава можно пренебречь. Следовательно, справедливо соотношение
P1V1=P2V2
где
P1 – давление сжатого воздуха в полностью заправленном баллоне;
V1 – объем, занимаемый сжатым воздухом в полностью заправленном баллоне;
Р2 – давление сжатого воздуха в баллоне на момент полной эвакуации жидкого состава;
V2 – объем баллона на момент полной эвакуации жидкого состава (полный внутренний объем баллона).
Исходя из условия полной эвакуации содержимого распылителя, уравнение состояния принимает следующий вид:

Таким образом, условием полной эвакуации жидкого состава является величина давления сжатого воздуха в полностью заправленном баллоне, выраженная в атмосферах, по крайней мере, в два раза превышающая отношение полного внутреннего объема баллона к объему, занимаемому воздухом в полностью заправленном баллоне.
Снаряжение распылителя слезоточивых раздражающих веществ удобно рассматривать применительно к стандартному и наиболее популярному для газового оружия самообороны баллону с наружным диаметром 35 мм, высотой 75 мм, полным внутренним объемом 60 мл и стандартным максимальным рабочим давлением 12 атмосфер (1,2 МПа). С учетом объема части клапана, выступающей внутрь баллона, и объема сифонной трубки полный внутренний объем баллона составляет около 50 мл. С учетом необходимого запаса прочности баллона, а также увеличения давления воздуха при увеличении температуры давление инжектируемого воздуха при нормальных условиях принимается 8 атмосфер (0,8 МПа). В этом случае, исходя из уравнения состояния идеального газа, а также из условия давления сжатого воздуха в баллоне на момент полной эвакуации жидкого состава не менее двух атмосфер (0,2 МПа), объем, занимаемый воздухом в полностью заправленном баллоне, должен составлять около 12,5 мл. Соответственно, объем жидкого состава слезоточивого раздражающего действия при снаряжении баллона должен составлять около
50-12,5=37,5 мл.
Расчетным путем могут определяться дополнительные параметры, характеризующие снаряжение распылителя слезоточивых раздражающих веществ. Масса воздуха в баллоне составляет менее 0,2 г. Максимальная масса слезоточивых раздражающих веществ олеорезин капсикум и морфолид пеларгоновой кислоты, установленная в соответствии с действующими требованиям безопасности, составляет 1,0 г. Плотность слезоточивого раздражающего вещества (олеорезин капсикум или морфолида пеларгоновой кислоты) составляет около 1 г/см3 и они занимают объем около 1 мл. Плотность этиленгликоля составляет 1,113 г/см3. Масса этиленгликоля в оставшемся объеме 36,5 мл составляет около 40,5 г.
В процессе эвакуации жидкого состава слезоточивого раздражающего действия (фиг.2) сжатый воздух 4 как поршень вытесняет жидкий состав слезоточивого раздражающего действия 3 из баллона 1 через отверстие сифонной трубки, открытый клапан 2 и выходное отверстие устройства с системой каналов 5 для формирования струи жидкости.
Проведенные испытания свидетельствуют о том, что эвакуация состава слезоточивого раздражающего действия с указанными параметрами снаряжения обеспечивается в форме устойчивой однородной струи жидкости. При указанных параметрах снаряжения распылителя дальность прямого распространения струи составляет 4-5 метров. Расход жидкого состава определяется проходным сечением выходного канала устройства для формирования струи жидкости. При использовании устройства с системой каналов для формирования струи жидкости с цилиндрическим выходным каналом диаметром 0,8 мм расход жидкости составляет около 10 г/с, а полное время эвакуации жидкого состава из баллона составляет около 4 с.
Проведенные испытания, включая медико-биологические испытания, подтвердили высокую эффективность и безопасность предложенного распылителя слезоточивых раздражающих веществ.
ИСТОЧНИКИ ИНФОРМАЦИИ
1. Кореньков Г.Л., Кузьменко И.Е., Лейнасаре Д.А., Мерсова Н.А. Бытовые аэрозоли. Л.: Химия, 1968.
2. United States Patent 4582228. Irritant aerosol spray.
3. United States Patent 4735349. Irritant aerosol spray.
4. United States Patent 5217708. A method of crowd control and personal defense.
5. United States Patent 5500205. Lachrymator aerosol formulations.
6. United States Patent 20030170180. Non-lethal chemical weapons.
7. United States Patent 7270802. Non-lethal temporary incapacitation formulation and novel solvent system.
8. Zarc’s VEXOR® Pepper Spray. Law and Order Magazine. March, 2003. PP. 118-119 (прототип).
9. VEXOR® V7. Material Safety Data Sheet (MSDS).
Формула изобретения
Распылитель слезоточивых раздражающих веществ, содержащий баллон с жидким составом слезоточивого раздражающего действия и пропеллентом в виде сжатого газа под давлением, не превышающим максимальное давление, которое способен выдержать баллон, клапан и устройство с системой каналов для формирования струи жидкости, отличающийся тем, что в качестве пропеллента использован сжатый воздух, а в качестве жидкого состава – смесь веществ, не растворяющих воздух, при этом величина давления сжатого воздуха в полностью заправленном баллоне, выраженная в атмосферах, по крайней мере, в два раза превышает отношение полного внутреннего объема баллона к объему, занимаемому воздухом в полностью заправленном баллоне.
РИСУНКИ
|