|
|
(21), (22) Заявка: 2008145356/06, 17.11.2008
(24) Дата начала отсчета срока действия патента:
17.11.2008
(46) Опубликовано: 10.03.2010
(56) Список документов, цитированных в отчете о поиске:
SU 1195159 А, 30.11.1985. RU 2127857 C1, 20.03.1999. SU 1263984 A1, 15.10.1986. RU 63913 U1, 10.06.2007. EP 1563238 A1, 17.08.2005.
Адрес для переписки:
659305, Алтайский край, г. Бийск, ул. Трофимова, 27, БТИ АлтГТУ
|
(72) Автор(ы):
Светлов Сергей Алексеевич (RU), Левина Надежда Сергеевна (RU), Чеботаев Александр Сергеевич (RU)
(73) Патентообладатель(и):
Государственное образовательное учреждение высшего профессионального образования “Алтайский государственный технический университет им. И.И. Ползунова” (АлтГТУ) (RU)
|
(54) УСТРОЙСТВО ДЛЯ ОХЛАЖДЕНИЯ И СУШКИ ИЗДЕЛИЙ
(57) Реферат:
Изобретение относится к устройствам для охлаждения и сушки изделий, получаемых в процессе экструзии полимерных материалов, и может быть использовано в химической, пищевой, строительной, зерноперерабатывающей и других отраслях промышленности. Устройство для охлаждения и сушки изделий из полимеров, полученных методом экструзии, содержит станину, корпус, внутри которых на барабанах и опорных валках установлена сетчатая лента транспортера. Трубчатые теплообменники с перфорированными пластинами размещены между ветвями сетчатой ленты транспортера и опорными валками, имеются вентиляторы и привод. Пластины расположены под углом относительно оси теплообменника, причем угол наклона составляет от 45 до 89 градусов. На пластинах могут быть укреплены выступы. Изобретение должно улучшить условия теплообмена между теплообменниками и воздухом и между воздухом и изделиями, а также повысить гидравлическое сопротивление теплообменников. 2 з.п. ф-лы, 3 ил.
Техническое решение относится к устройствам для охлаждения и сушки изделий, получаемых в процессе экструзии полимерных материалов, и может быть использовано в химической, пищевой, строительной, зерноперерабатывающей и других отраслях промышленности.
Известен охладитель кормовых брикетов [1], включающий корпус с установленным в нем транспортером, последовательно закрепленными в верхней части фартуками и окнами с жалюзийными решетками, систему воздушного охлаждения брикетов, выполненную в виде коллектора, соединенного с вентилятором вытяжными и напорными воздуховодами, пульсаторы и заслонку. К недостаткам данного охладителя следует отнести сложность эксплуатации и ремонта конструкции, неравномерную подачу воздуха к охлаждаемому материалу, что не позволяет получить продукт требуемого качества.
Известно устройство для охлаждения и сушки кормовых брикетов и гранул [2], содержащее корпус с окнами для прохода воздуха, установленный в нем транспортер с перфорированной лентой, вентилятор, соединенный с нижней частью корпуса воздуховодом, отделитель крошки, дополнительный воздуховод, подсоединенный к верхней части корпуса и к всасывающему патрубку вентилятора, промежуточный вал, расположенный между холостой и рабочей ветвями транспортера. Недостатками указанного устройства являются: сложность конструкции, недостаточная надежность транспортирующего механизма, наличие застойных зон в слое транспортируемого материала и неравномерная влажность охлаждаемого продукта.
Наиболее близким техническим решением к предлагаемому решению является устройство для охлаждения и сушки изделий [3], содержащее станину, корпус, внутри которого на барабанах и опорных валках установлена сетчатая лента транспортера, вентиляторы и привод, на станине между ветвями сетчатой ленты транспортера и опорными валками размещены теплообменники. На поверхности теплообменников укреплены пластины прямоугольной формы из теплопроводного материала, например алюминия или меди. Пластины расположены перпендикулярно оси теплообменника и установлены между собой с зазором от 3 мм до 50 мм. Недостатками указанного устройства являются: низкое гидравлическое сопротивление теплообменников, что не обеспечивает требуемого распределения потока воздуха в поперечном сечении корпуса перед лентой транспортера, на которой находятся изделия, и небольшие значения коэффициентов теплоотдачи от теплообменников к воздуху, используемому для сушки и охлаждения изделий.
Предлагаемое техническое решение позволяет улучшить условия теплообмена между теплообменниками и воздухом и, в свою очередь, между воздухом и изделиями, а также повысить гидравлическое сопротивление теплообменников, улучшив условия теплоотдачи.
Это достигается тем, что в устройстве для охлаждения и сушки изделий из полимеров, полученных методом экструзии, содержащем станину, корпус, внутри которых на барабанах и опорных валках установлена сетчатая лента транспортера, трубчатые теплообменники с пластинами, размещенные между ветвями сетчатой ленты транспортера и опорными валками, вентиляторы и привод, пластины выполнены перфорированными. Пластины расположены под углом относительно оси теплообменника, причем угол наклона составляет от 45 до 89 градусов. На пластинах могут быть укреплены выступы.
Использование в устройстве для охлаждения и сушки изделий теплообменников с перфорированными пластинами, установленных на станине между ветвями сетчатой ленты и опорными валками транспортера, позволяет создать требуемый режим турбулизации потока и распределения воздуха перед сетчатой лентой транспортера, а также повысить гидравлическое сопротивление теплообменников. Применение в устройстве пластин, установленных под углом относительно оси теплообменника, обеспечивает подвод воздуха с различной скоростью к поверхности ленты и находящимся на ней изделиям, что уменьшает вероятность образования застойных необдуваемых зон возле стенок корпуса. Диапазон изменения угла наклона пластин в зависимости от используемой теплообменной аппаратуры и свойств перерабатываемого продукта составляет от 45 до 89 градусов. Уменьшение угла наклона пластин менее 45 градусов создает преимущественный поток воздуха в направлении стенок корпуса, что приводит к интенсивному обдуву изделий в этих зонах и неравномерной сушке изделий на ленте транспортера, при этом значительно уменьшается площадь поверхности теплоотдачи. Наличие выступов на поверхности пластин улучшает условия теплоотдачи от теплообменников к воздуху или другому газу.
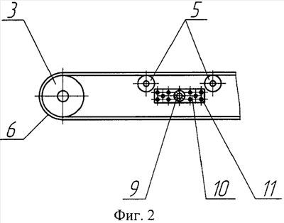
На фиг.1 представлено устройство для охлаждения и сушки изделий, общий вид; на фиг.2 – расположение теплообменника между ветвями сетчатой ленты; на фиг.3 – разрез теплообменника, где – угол наклона пластины.
Устройство для охлаждения и сушки изделий состоит из станины 1, корпуса 2, ведущего 3 и ведомого 4 барабанов, опорных валков 5, сетчатой ленты 6 транспортера, привода 7 транспортера, вентиляторов 8 и теплообменников 9. Вентиляторы установлены последовательно и параллельно на корпусе 2 и образуют несколько зон вывода отработанного воздуха из корпуса. На станине между ветвями ленты транспортера последовательно или параллельно размещены теплообменники 9 с пластинами 10, которые образуют несколько зон нагрева и охлаждения воздуха, используемого для сушки и охлаждения полученных изделий. В пластинах выполнены отверстия 11. Перфорированные пластины 10 увеличивают турбулизацию воздушного потока и гидравлическое сопротивление, что способствует повышению коэффициента теплоотдачи и распределению воздуха с требуемой скоростью перед сетчатой лентой, на которой находятся транспортируемые охлаждаемые изделия. На поверхности пластин укреплены выступы 12. Угол наклона пластин относительно оси теплообменника изменяется от 45 до 89 градусов.
Устройство для охлаждения и сушки изделий работает следующим образом.
Из экструдера полученные изделия поступают на вибротранспортер и далее на ленту 6 для охлаждения и сушки. Движение сетчатой ленты 6 осуществляется при вращении ведущего барабана 3 от привода 7. Ведомый барабан 4 вращается за счет действия сил трения при движении ленты. Опорные валки 5 уменьшают провисание ленты. Воздух вентиляторами 8 продувается через сетчатую ленту 6 и отверстия 11, выполненные в пластинах 10, расположенных на теплообменниках 9, нагревая и охлаждая находящиеся на ленте изделия и забирая испаренную из них влагу. Затем отработанный воздух по воздуховоду выбрасывается в атмосферу. Теплообменники 9 с пластинами 10, установленные на станине 1 внутри движущейся ленты 6, создают требуемый температурный режим охлаждения изделий и нагрева теплоносителя (воздуха) до заданной температуры. Отверстия 11 в пластинах 10 и выступы 12 на поверхности пластин увеличивают турбулизацию воздушного потока и повышают гидравлическое сопротивление теплообменников, что способствует возрастанию коэффициента теплоотдачи и равномерному распределению воздуха перед сетчатой лентой, на которой находятся транспортируемые изделия. Готовые изделия при повороте ленты на ведомом барабане 4 ссыпаются в приемный бункер.
Использование предлагаемого технического решения обеспечивает требуемый расход воздуха перед соответствующими частями сетчатой ленты транспортера, улучшает условия теплоотдачи от теплообменника воздуху, уменьшает время охлаждения изделий, увеличивает производительность оборудования и качество продукта.
Источники информации
1. Авт. свид. СССР 886877, А23G 7/02, 1981.
2. Авт. свид. СССР 1195159, F25D 17/06, F26В 21/00, А23G 7/02, 1985.
3. Заявка РФ 2008121031/20(024911), А23G 7/00, F26В 21/00, 2008 – прототип.
Формула изобретения
1. Устройство для охлаждения и сушки изделий, содержащее станину, корпус, внутри которых на барабанах и опорных валках установлена сетчатая лента транспортера, трубчатые теплообменники с пластинами, размещенные между ветвями сетчатой ленты транспортера и опорными валками, вентиляторы и привод, отличающееся тем, что пластины выполнены перфорированными.
2. Устройство для охлаждения и сушки изделий по п.1, отличающееся тем, что пластины расположены под углом относительно оси теплообменника, причем угол наклона составляет от 45 до 89°.
3. Устройство для охлаждения и сушки изделий по п.1, отличающееся тем, что на пластинах укреплены выступы.
РИСУНКИ
|
|