Патент на изобретение №2383830

Published by on




РОССИЙСКАЯ ФЕДЕРАЦИЯ



ФЕДЕРАЛЬНАЯ СЛУЖБА
ПО ИНТЕЛЛЕКТУАЛЬНОЙ СОБСТВЕННОСТИ,
ПАТЕНТАМ И ТОВАРНЫМ ЗНАКАМ
(19) RU (11) 2383830 (13) C2
(51) МПК

F25D23/06 (2006.01)

(12) ОПИСАНИЕ ИЗОБРЕТЕНИЯ К ПАТЕНТУ

Статус: по данным на 28.09.2010 – действует

(21), (22) Заявка: 2007109449/12, 19.09.2005

(24) Дата начала отсчета срока действия патента:

19.09.2005

(30) Конвенционный приоритет:

20.09.2004 DE 102004045475.2

(43) Дата публикации заявки: 27.10.2008

(46) Опубликовано: 10.03.2010

(56) Список документов, цитированных в отчете о
поиске:
DE 19620102 A1, 28.11.1996. US 2003/0071550 A1, 17.04.2003. US 5238299 A, 24.08.1993. FR 2734086 A, 15.11.1996. SU 1730516 A1, 30.04.1992.

(85) Дата перевода заявки PCT на национальную фазу:

20.04.2007

(86) Заявка PCT:

EP 2005/054657 20050919

(87) Публикация PCT:

WO 2006/032643 20060330

Адрес для переписки:

191186, Санкт-Петербург, а/я 230, “АРС-ПАТЕНТ”, пат.пов. В.М.Рыбакову, рег. 90

(72) Автор(ы):

ЦИГЛЕР Мартин (DE),
АЛЬТХАММЕР Ганс (DE),
ЮНГ Карстен (DE)

(73) Патентообладатель(и):

БСХ БОШ УНД СИМЕНС ХАУСГЕРЕТЕ ГМБХ (DE)

(54) КОНСТРУКТИВНЫЙ ЭЛЕМЕНТ ДЛЯ МОНТАЖА НА СТЕНКЕ, ЗАДНЯЯ СТОРОНА КОТОРОЙ ПОКРЫТА ПЕНОМАТЕРИАЛОМ, И ХОЛОДИЛЬНЫЙ АППАРАТ С ТАКИМ ЭЛЕМЕНТОМ

(57) Реферат:

Настоящее изобретение касается конструктивного элемента для монтажа на стенке, а также холодильного аппарата, в котором используется этот конструктивный элемент. Конструктивный элемент для монтажа в отверстии стенки, содержащий основное тело конструктивного элемента и отстоящий от основного тела упругий фартук. При этом фартук, выполненный из более упругого материала, чем основное тело, плотно приформован к основному телу, причем фартук и основное тело изготовлены методом литья под давлением двухкомпонентных материалов. Технический результат заявленных изобретений заключается в создании конструктивного элемента с высокой надежностью и прочностью. 2 н. и и 7 з.п. ф-лы, 8 ил.

Область техники

Настоящее изобретение касается конструктивного элемента для монтажа на стенке, задняя сторона которой покрыта пеноматериалом, а также холодильного аппарата, в котором используется этот конструктивный элемент.

Уровень техники

Корпус холодильного аппарата, такого как холодильник, морозильный прилавок или агрегат такого рода, традиционно выполнен в виде полого тела с наружной стенкой и с внутренней стенкой, окружающими заполненную изоляционной пеной полость. Изоляционная пена создается внутри полости за счет того, что в полость вместе со сжатым газом впрыскивается полимерный материал, в частности полиуретан, где он затем вспенивается и расширяется под действием давления газа. Вспенивающее действие сжатого газа обеспечивает то, что поропласт расширяясь, доходит до удаленных углов полости и образует сплошной изоляционный вспененный слой равномерной структуры, который отверждается внутри полости. Таким образом, могут быстро и просто изготавливаться корпуса сложных форм и с хорошей теплоизолирующей способностью. Однако давление вспенивающего газа ведет также к тому, что если полость перед вспрыскиванием полимерного материала не была полностью герметизирована, то еще жидкая пена через неплотность в полости может выходить наружу. Выступившая наружу отвержденная пена может быть удалена лишь с большими затратами, если вообще она может быть удалена бесследно, в результате чего пена, выступающая из недостаточно герметичной полости, может привести к значительным экономическим убыткам.

Чтобы можно было провести трубопроводы для хладагента, провода для электрической энергии или сигналов, трубопроводы для воды и/или других эксплуатационных материалов через слой вспененного материала в таком корпусе холодильного аппарата или выполнить монтаж внутрикорпусных элементов, во внутренней облицовке стенок корпуса должны быть прорезаны отверстия с тем, чтобы смонтировать там ввод, базирующий элемент или аналогичную деталь. Обычно пространство между таким конструктивным элементом и пластмассовой внутренней облицовкой корпуса холодильного аппарата уплотняется путем склеивания клейкой лентой, что требует весьма трудоемкой ручной операции.

Чтобы сократить затраты при склеивании, было также предложено конструктивный элемент, монтируемый в зоне отверстия стенки, оснастить упругим фартуком, отстоящим от основного тела конструктивного элемента, причем у этого фартука предусмотрена свободная кромка с тем, чтобы обеспечить плотное примыкание к одной поверхности стенки и, таким образом, предотвратить проникновение пены в зону между стенкой и фартуком.

Эта концепция оказалась не полностью удовлетворительной, т.к. конструктивный элемент, в большинстве случаев предусмотренный исключительно в качестве держателя для крепления другого конструктивного элемента, должен быть выполнен из жесткого, способного выдерживать нагрузку материала, но который при этом в целом должен быть очень тонким фартуком из этого материала, чтобы он мог плотно прилегать к поверхности со стороны пены. Чем тоньше фартук, тем лучше он может прилегать к поверхности стенки, но при этом настолько же возрастает опасность повреждения фартука перед монтажом или во время монтажа. Если это происходит, не может быть гарантирована герметичность фартука по всему его периметру; также существует опасность того, что при вспенивании изоляционный материал будет выходить наружу.

Раскрытие изобретения

Задача изобретения заключается в том, чтобы создать конструктивный элемент, выполненный с возможностью монтажа в зоне отверстия стенки, который бы с высокой степенью надежности плотно примыкал к стенке и при этом был более прочным, чем выше описанный традиционный конструктивный элемент.

Задача в соответствии с изобретением решена тем, что фартук, выполненный из более упругого материала, чем основное тело, плотно приформован к основному телу, причем фартук и основное тело изготовлены методом литья под давлением двухкомпонентных материалов. Это позволяет использовать для основного тела материал с хорошей способностью к восприятию механических нагрузок и одновременно достигать прочности фартука за счет увеличения толщины его стенки, не допуская при этом нежелательного усиления его жесткости вследствие этого. Особенно просто это достигается тем, что упругий фартук имеет меньшую твердость по Шору А, чем основное тело.

Благодаря тому, что для фартука применяется более мягкий материал с меньшей твердостью по Шору А, в комбинации с конфигурацией в форме уплотнительной кромки обеспечивается более надежное уплотнительное действие фартука в отношении отверстия внутренней облицовки корпуса холодильного аппарата или двери холодильного аппарата без необходимости принятия дополнительных мер по герметизации.

В соответствии с целесообразностью основное тело конструктивного элемента оснащено фиксирующими средствами для его фиксации в отверстии стенки.

За счет фиксирующих средств фартук, который по сравнению с основным телом выполнен из относительно мягкой и упругой пластмассы, по периметру герметично уплотнен к кромке отверстия.

Эти фиксирующие средства, в частности, могут образовывать часть байонетного соединения, причем дополнительная часть байонетного соединения в соответствии с целесообразностью образована за счет кромки самого отверстия. Фиксирующие средства могут содержать также зацепы, которые взаимодействуют с кромкой отверстия.

Предметом изобретения является также холодильный аппарат с теплоизолирующим корпусом, который содержит заполненное пеноматериалом полое тело, причем на одной стенке полого тела расположен конструктивный элемент, выполненный в соответствии с выше представленным описанием в контакте с пеноматериалом, которым заполнено полое тело.

Предпочтительно, в холодильном аппарате конструктивный элемент может являться вводом для провода, базирующим элементом для системы внутреннего освещения холодильного аппарата или узлом крепления элемента, монтируемого в камере холодильного аппарата.

Краткий перечень чертежей

Другие признаки и преимущества изобретения вытекают из нижеследующего описания примеров осуществления со ссылкой на прилагаемые чертежи.

На фиг.1 показан перспективный вид ввода для всасывающей трубы в качестве первого примера осуществления конструктивного элемента в соответствии с изобретением.

На фиг.2 – радиальный разрез фартука конструктивного элемента согласно фиг.1 в соответствии с первым вариантом осуществления изобретения.

На фиг.3 – радиальное сечение аналогично фиг.2 в соответствии со вторым вариантом осуществления.

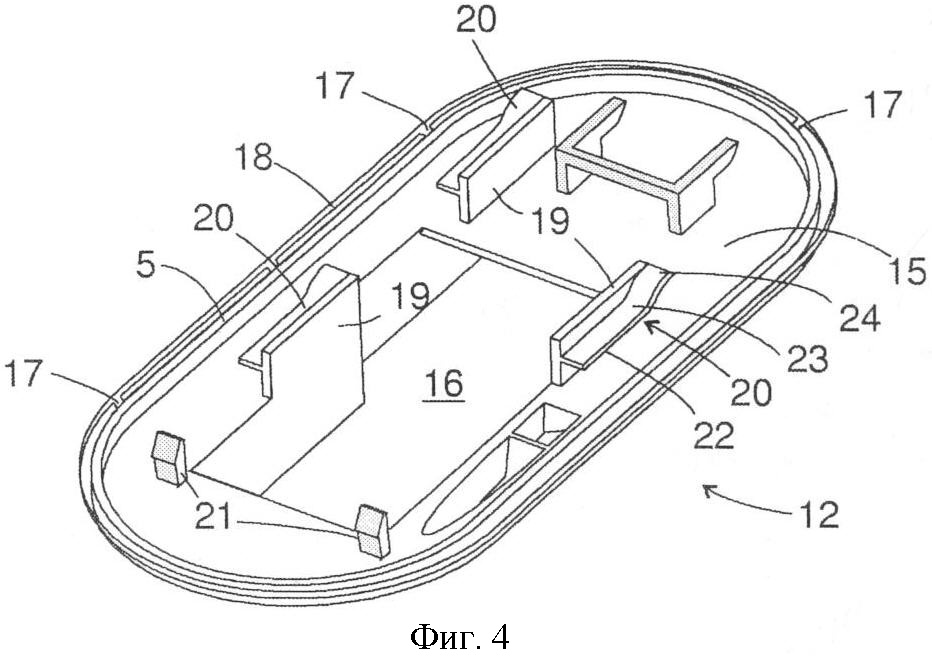
На фиг.4 – перспективный вид базирующего элемента, который предусмотрен с тем, чтобы образовывать часть корпуса системы внутреннего освещения холодильного аппарата.

На фиг.5 – горизонтальная проекция части внутренней стенки холодильного аппарата, на которой смонтирован базирующий элемент согласно фиг.2.

На фиг.6 и 7 – перспективные виды базирующих элементов для монтажа телескопической шины.

На фиг.8 – перспективный вид телескопической шины и участков внутренней стенки, которые оснащены приемными отверстиями для базирующих элементов в соответствии с фиг.4, 5.

Осуществление изобретения

Представленный на фиг.1 ввод для всасывающей трубы, по существу, имеет трубчатое, формованное из прочного полимерного материала основное тело 1, через которое проходит отверстие 2. С одного торца отверстия 2 основное тело 1 содержит два ребра 3, проходящие радиально по части периметра. Этот торец предусмотрен для того, чтобы он мог быть использован в качестве прохода за счет дополнительно выполненного отверстия (не показано) наружной стенки корпуса холодильного аппарата со стороны пеноматериала, а затем мог быть повернут в направлении стрелки Р с тем, чтобы ребра 3 своими скошенными узкими сторонами 4, скользя, могли сесть на окружающие отверстие краевые участки наружной стенки и, наконец, зажать их таким образом, чтобы они оказались зафиксированными между самими ребрами и упругим фартуком 5. Упругий фартук 5, по существу выполненный в форме конического кольца, имеет наружный диаметр, который превышает диаметр отверстия в наружной стенке таким образом, что внешняя кромка 6 фартука непрерывно прилегает к наружной стенке и, таким образом, образуется пенонепроницаемое уплотнение между вводом и наружной стенкой.

На фиг.2 показан радиальный разрез фартука 5 и примыкающие к нему участки основного тела 1 в соответствии с первым вариантом осуществления. Здесь видно, что фартук 5 на своей внутренней кромке имеет утолщение 7, которое входит во взаимодействие с поднутренным пазом, идущим по всей периферии фланца 8, который образует неотъемлемую составную часть основного тела 1. Такое устройство может быть создано, например, посредством того, что фартук 5 вместе с приформованным к нему утолщением 7 вставляется в экструзионный формующий элемент для изготовления основного тела 1, и материал основного тела 1 при впрыскивании обтекает утолщение 7.

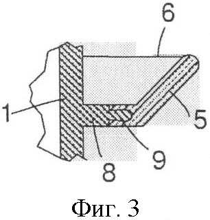
В качестве альтернативы возможна также конструкция, показанная на фиг.3, где фланец 8 содержит узкую обегающую периметр пружину 9, которая находится во взаимодействии с открытым внутрь пазом фартука 5.

С той стороны несущего фартук 5 фланца на основном теле 1 выполнено еще несколько идущих по всему периметру ребер 10, которые предусмотрены с тем, чтобы пенопласт обтекал их при заполнении полости корпуса холодильного аппарата пенопластом и чтобы за счет этого они прочно фиксировали основное тело 1 в отвержденном пенопласте.

Отверстие 2 своим обращенным от ребер 3 концом упирается в большой фланец 11, который предусмотрен с тем, чтобы плотно прилегать к внутренней стенке корпуса холодильного аппарата или поверхности (не показан) испарителя, от которого должна отходить всасывающая труба, идущая через отверстие 2. Чтобы выполнить пенонепроницаемое уплотнение также на высоту фланца 11, последний может, например, перед монтажом покрываться жидким клеем, который герметично схватывается на внутренней стенке или на испарителе, прежде чем полученное таким образом клеевое соединение не окажется подвергнутым нагрузке при заполнении полости пеноматериалом.

Второй пример встраиваемой детали в соответствии с изобретением показан на фиг.4. Здесь речь идет о чашеобразном базирующем элементе 12, который предусмотрен для того, чтобы фиксироваться в отверстии 14, прорезанном во внутренней стенке 13 корпуса холодильного аппарата (см. фиг.5), со стороны пеноматериала с тем, чтобы, таким образом, образовывать углубление в стенке, которое в состоянии служить в качестве приемного гнезда для, по меньшей мере, частичного размещения электрического осветительного прибора и его патрона.

Базирующий элемент 12 имеет слегка вогнутое в сторону внутренней стенки 13 (или, соответственно, в перспективе фиг.4 – вверх) днище 15, в средней части которого образовано углубление 16 для размещения осветительного прибора. К внешней кромке днища 15 приформован упругий по всему периметру фартук 5 аналогично фиг.2 или фиг.3, который предусмотрен с тем, чтобы плотно прилегать к стороне пенопласта внутренней стенки, когда на ней зафиксирован базирующий элемент 12. Снаружи фартук 5 окружен ограждением 18, которое нераздельно соединено с днищем 15 посредством перемычек 17 и задерживает часть приходящегося на фартук 5 давления, возникающего при вспенивании пенопласта.

От днища 15 отстоят три параллельных ребра 19, каждое из которых содержит по одной перекинутой перемычке 20, а также два зацепа 21. Каждая из перемычек 20 имеет по два почти параллельно ориентированных относительно внутренней стенки 13 участка 22, 24, а также по одному наклонному участку 23, непрерывно соединяющему участки 22, 24, причем каждый из этих более длинных участков 22 находится ближе к днищу 15, чем каждый из более коротких участков 24. Как показано на фиг.5, каждый из направленных внутрь выступов 25 на продольных кромках отверстия 14 размещен таким образом, чтобы в зафиксированном положении базирующего элемента 12 выступы 25 отжимались упруго выполненным фартуком 5 к участкам 24 и одновременно приходили во взаимодействие с зацепами 21 на поперечной кромке отверстия 14, определяя, таким образом, упорное положение базирующего элемента 12.

Базирующий элемент 12 может выводиться в это зафиксированное положение посредством того, что ребра 19 и перемычки 20 сначала заводятся отверстие 14 в положении, обозначенном, соответственно, пунктирными контурами, причем фартук 5 сдавливается, а затем базирующий элемент 12 на фигуре сдвигается влево, причем выступы 25 входят под участки 22 перемычек 20.

В качестве альтернативы размеры и размещение перемычек 20, выступов 25 и зацепов 21 могут быть выбраны таким образом, что для монтажа базирующего элемента 12 сначала участки 24 в перспективе фигуры 5 сдвигаются за выступы, а затем происходит прижим базирующего элемента 12 таким образом, чтобы зацепы 21 фиксировались в отверстии 14, а выступы оставались отжатыми к наклонным участкам 23, за счет чего фартук 5 обжимается между базирующей деталью 12 и внутренней стенкой 13 и образует герметичное уплотнение.

На фиг.6 и 7 показаны различные типы базирующих элементов, которые служат для навешивания телескопического механизма для выдвижного несущего элемента под охлаждаемые продукты, короба, или аналогичных элементов на внутренней стенке корпуса холодильного аппарата. На фиг.8 (без базирующих элементов согласно фиг.6, 7) показан телескопический механизм относительно образованных во внутренней стенке отверстий, предусмотренных для установки базирующих элементов.

Этот вариант осуществления представляет собой модификацию подвески, уже описанной заявителем в патентном документе DE 10233217 А1.

Как видно из фиг.8, из стационарной шины 26 телескопического механизма выходят два крюка 27, 28, причем соседствующий с дверью холодильного аппарата крюк ориентирован вниз, в то время как соседствующий с задней стенкой кончик крюка 28 обращен к этой задней стенке. Каждое из показанных пустыми на фиг.8 отверстий 29, 30 во фрагментарно показанной внутренней стенке 31 корпуса холодильного аппарата, выполненной как внутренняя облицовка, предусмотрено для того, чтобы служить для установки базирующих элементов 31, 33 согласно фиг.6 и, соответственно, фиг.7. Базирующие элементы 32, 33 – аналогично вводу согласно фиг.1 – имеют, по существу, цилиндрическое основное тело 1 с радиально отстоящим фланцем 8, к которому приформован упругий фартук 5, выполненный из более мягкого материала, чем основное тело 1. Ребра 3, отстоящие от основного тела 1, представляют собой части байонетного соединения, которое со стороны пены проталкиваются через отверстие 29, или, соответственно, через отверстие 30, а затем могут быть повернуты на 90° с тем, чтобы зафиксировать базирующие элементы 32, 33 на внутренней стенке 31.

В зафиксированном положении базирующие элементы 32, 33 имеют ориентацию, показанную на фиг.6 или, соответственно, на фиг.7. Чтобы смонтировать стационарную планку 26 на базирующих элементах 32, 33, ее задний крюк 28 сначала проталкивается горизонтально за вертикальную перемычку 34 базирующего элемента 33. Расстояние между отверстиями 29, 30 внутренней стенки 31 должно быть рассчитано таким образом, чтобы, когда стационарная планка 26 на перемычке 34 достигает упора, крюк 27 ложился перед отверстием 35 базирующего элемента 32, причем это отверстие в своей верхней зоне в значительной мере заполнено запорным телом 36.

Запорное тело 36 неразрывно соединено с окружающей отверстие 35 передней стенкой 38 базирующего элемента посредством пружины 37, которая в форме пружиной скобы входит в зацепление с внутренней частью полого базирующего элемента 32. Когда крюк 27 стационарной планки 26 вдавливается в отверстие 35 с тем, чтобы зафиксировать стационарную планку 26, запорное тело 36 сначала отходит назад внутрь базирующего элемента 32, чтобы затем – когда крюк 27 в отверстии 35 будет перемещаться вниз, чтобы привести его во взаимодействие с передней стенкой 38 – перевести его обратно в его исходное положение, показанное на фиг.6, и в котором он блокирует путь перемещения крюка 27 вверх и, таким образом, делает невозможным нежелательную расфиксацию стационарной планки 26 на внутренней стенке 31.

Формула изобретения

1. Конструктивный элемент (32, 33) для монтажа в отверстии (14, 29, 30) стенки (13, 31), содержащий основное тело (1, 12) конструктивного элемента и отстоящий от основного тела (1, 12) упругий фартук (5), отличающийся тем, что фартук (5), выполненный из более упругого материала, чем основное тело (1, 12), плотно приформован к основному телу (1, 12), причем фартук (5) и основное тело (1, 12) изготовлены методом литья под давлением двухкомпонентных материалов.

2. Конструктивный элемент по п.1, отличающийся тем, что фартук (5) имеет меньшую твердость, чем основное тело (1, 12).

3. Конструктивный элемент по п.1, отличающийся тем, что основное тело (1, 12) имеет фиксирующие средства (3, 19, 20, 21) для фиксации в отверстии (14, 29, 30).

4. Конструктивный элемент по п.3, отличающийся тем, что фиксирующие элементы (3) образуют часть байонетного соединения.

5. Конструктивный элемент по п.3, отличающийся тем, что фиксирующие средства содержат зацепы (21).

6. Холодильный аппарат с теплоизолирующим корпусом, который содержит полое тело, заполненное пеноматериалом, отличающийся тем, что на одной стенке (13, 31) полого тела установлен конструктивный элемент (32, 33) по одному из предшествующих пунктов, находящийся в контакте с пеноматериалом, которым заполнено полое тело.

7. Холодильный аппарат по п.6, отличающийся тем, что конструктивный элемент является вводом для провода.

8. Холодильный аппарат по п.6, отличающийся тем, что конструктивный элемент является базирующим элементом для системы внутреннего освещения холодильного аппарата.

9. Холодильный аппарат по п.6, отличающийся тем, что конструктивный элемент является узлом (32, 33) крепления элемента, монтируемого в камере холодильного аппарата.

РИСУНКИ

Categories: BD_2383000-2383999