|
|
(21), (22) Заявка: 2007137413/11, 09.10.2007
(24) Дата начала отсчета срока действия патента:
09.10.2007
(43) Дата публикации заявки: 20.04.2009
(46) Опубликовано: 10.03.2010
(56) Список документов, цитированных в отчете о поиске:
RU 2294465 C1, 27.02.2007. SU 195337 A1, 12.04.1967. RU 94020738 A1, 27.08.1996. SU 5137 A1, 31.07.1937. SU 817362 A1, 30.03.1981. RU 2005131376 A, 20.04.2007. GB 1174732 A, 17.12.1969. US 6427821 B1, 06.08.2002.
Адрес для переписки:
640631, г.Курган, пр-кт Машиностроителей, 17, Открытое акционерное общество “Специальное конструкторское бюро машиностроения”
|
(72) Автор(ы):
Гаев Сергей Викторович (RU), Захаров Юрий Анатольевич (RU), Печенкин Виктор Алексеевич (RU)
(73) Патентообладатель(и):
Открытое акционерное общество “Специальное конструкторское бюро машиностроения” (RU)
|
(54) МНОГОДИСКОВАЯ ФРИКЦИОННАЯ МУФТА
(57) Реферат:
Изобретение относится к транспортному машиностроению, в частности к фрикционным муфтам. Фрикционная муфта содержит барабан, фрикционные диски трения, поршень для сжатия фрикционных дисков, тарельчатую пружину, возвращающую поршень в исходное положение, и стопорное кольцо. Фрикционные диски трения расположены внутри барабана с возможностью вращения относительно друг друга вокруг продольной оси муфты. Стопорное кольцо установлено в кольцевой паз барабана между нажимным диском и поршнем и является опорой для тарельчатой пружины. При этом в поршне выполнены радиальные пазы, в которых располагаются лепестки тарельчатой пружины. Решение направлено на уменьшение габаритных размеров и массы многодисковой фрикционной муфты. 1 ил.
Изобретение относится к транспортному машиностроению, в частности к элементам управления ступенчатой коробки передач, управляемым с помощью гидравлики, и может быть использовано в трансмиссиях различных колесных и гусеничных транспортных средств.
Фрикционные муфты управления, как правило, входят в состав планетарных коробок передач и по своему назначению делятся на две группы: тормоза и блокировочные муфты. Фрикционные тормоза соединяют элементы планетарного механизма с картером коробки передач. Фрикционные блокировочные муфты соединяют элементы планетарного механизма между собой. Фрикционные блокировочные муфты и фрикционные тормоза состоят из барабана, в котором размещаются поршень и фрикционные диски нажимного диска.
Использование коробок передач планетарного типа в автоматических трансмиссиях транспортных средств обусловлено возможностью получения малогабаритной компактной по компоновке конструкции, легко вписывающейся в ограниченное габаритами кузова пространство. Использование фрикционных муфт позволяет формировать большие площади поверхности трения, тем самым давая возможность передавать больший момент.
Известна многодисковая фрикционная муфта, содержащая барабан, два и более фрикционных дисков трения, расположенных внутри барабана и имеющих возможность вращаться относительно друг друга по оси муфты, поршень для сжатия фрикционных дисков, тарельчатую пружину, возвращающую поршень в исходное положение (Repair manual 5 HP-24 ZF Getriere GmbH, Saarbrucken, 98/08/01).
Данное решение принято в качестве прототипа.
Такая фрикционная муфта имеет большие габаритные размеры и массу. Связано это с тем, что тарельчатая пружина, имея большую ширину, установлена под нажимной частью поршня, тем самым увеличивая радиальные габариты и массу муфты. Уменьшение ширины (полуразницы между наружным и внутренним диаметром) тарельчатой пружины не желательно, т.к. это приводит к уменьшению свободного хода поршня и, как следствие, неполному выключению муфты при отсутствии рабочего давления или к увеличению внутренних напряжений в материале пружины и, следовательно, к снижению ее долговечности.
Целью изобретения является уменьшение габаритных размеров и массы многодисковой фрикционной муфты и, как следствие, уменьшение габаритных размеров и массы коробки передач в целом за счет более рационального расположения отжимной (возвратной) пружины.
Поставленная цель достигается тем, что в известной многодисковой фрикционной муфте, содержащей барабан, два и более фрикционных дисков трения, расположенных внутри барабана с возможностью вращения относительно друг друга вокруг продольной оси муфты, поршень для сжатия фрикционных дисков и тарельчатую пружину, возвращающую поршень в исходное положение, выполнено следующее: в кольцевой паз барабана, между нажимным диском и поршнем, установлено стопорное кольцо, являющееся опорой для тарельчатой пружины, опирающейся на поршень. При этом в поршне выполнены радиальные пазы, в которых располагаются лепестки тарельчатой пружины.
Указанные признаки являются существенными и взаимосвязаны между собой с образованием устойчивой совокупности существенных признаков, достаточной для получения требуемого технического результата.
Настоящее изобретение поясняется конкретным примером, который, однако, не является единственно возможным, но наглядно демонстрирует возможность достижения требуемого технического результата приведенной совокупностью признаков.
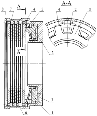
На чертеже изображен общий вид предлагаемой многодисковой фрикционной муфты.
В барабане 1, имеющем канал для подвода масла, установлен поршень 2 с радиальными пазами на нажимной части. На поршень 2 опирается тарельчатая пружина 3, лепестки которой располагаются в радиальных пазах поршня. В кольцевой паз барабана 1, выполненный между нажимным диском и поршнем 2, установлено стопорное кольцо 4, являющееся опорой для тарельчатой пружины. На внутренней поверхности барабана 1 выполнены шлицы, на которых установлены нажимной диск 5, фрикционные диски 6 и опорный диск 7. Стопорное кольцо 8 ограничивает осевое перемещение дисков в направлении, противоположном поршню.
Такое выполнение муфты по сравнению с известными муфтами коробок передач типа ZF 5 HP-24, ZF 5 HP-30 позволяет получить более компактную по размерам конструкцию.
Работа муфты происходит следующим образом.
При включении фрикционной муфты масло под давлением через канал подается в полость между поршнем 2 и барабаном 1. Поршень, сжимая тарельчатую пружину 3, опирающуюся на стопорное кольцо 4, начинает двигаться в осевом направлении и давить на нажимной диск 5, который, в свою очередь, сжимает фрикционные диски 6, которые опираются на опорный диск 7. Перемещению опорного диска 7 препятствует стопорное кольцо 8. При выключении муфты подача масла в полость между поршнем 2 и барабаном 1 под давлением прекращается и под действием тарельчатой пружины 3 поршень начинает двигаться назад, вытесняя масло обратно в канал барабана. При этом фрикционные диски 6 освобождаются и получают возможность вращения относительно друг друга вокруг продольной оси муфты.
Преимущество изобретения состоит в том, что оно позволяет получить компактную конструкцию многодисковой фрикционной муфты, имеющую небольшие габаритные размеры и массу, за счет более рационального расположения отжимной пружины.
Формула изобретения
Многодисковая фрикционная муфта, содержащая барабан, два и более фрикционных дисков трения, расположенных внутри барабана с возможностью вращения относительно друг друга вокруг продольной оси муфты, поршень для сжатия фрикционных дисков и тарельчатую пружину, возвращающую поршень в исходное положение, отличающаяся тем, что в кольцевой паз барабана между нажимным диском и поршнем установлено стопорное кольцо, являющееся опорой для тарельчатой пружины, опирающейся на поршень, лепестки которой располагаются в радиальных пазах, выполненных в поршне.
РИСУНКИ
|
|