|
|
(21), (22) Заявка: 2008110758/06, 20.03.2008
(24) Дата начала отсчета срока действия патента:
20.03.2008
(43) Дата публикации заявки: 27.09.2009
(46) Опубликовано: 10.03.2010
(56) Список документов, цитированных в отчете о поиске:
RU 2106534 C1, 10.03.1998. SU 1783171 A1, 23.12.1992. SU 1240956 A1, 30.06.1986. SU 931968 A, 30.05.1982. US 3981628 A, 21.09.1976. JP 56101098 A, 13.08.1981.
Адрес для переписки:
443112, г.Самара, ул. Крайняя, 18, кв.17, Н.Б. Болотину
|
(72) Автор(ы):
Болотин Николай Борисович (RU), Моисеев Дмитрий Валентинович (RU)
(73) Патентообладатель(и):
Болотин Николай Борисович (RU), Моисеев Дмитрий Валентинович (RU)
|
(54) ШНЕКОЦЕНТРОБЕЖНЫЙ НАСОС
(57) Реферат:
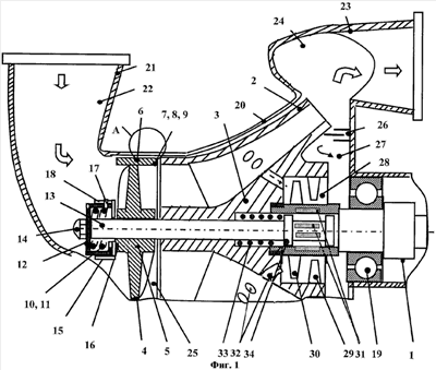
Изобретение относится к насосостроению и может быть использовано преимущественно в турбонасосных агрегатах ЖРД. Шнекоцентробежный насос содержит корпус 20, шнек 4 и установленную на валу 1 крыльчатку 2 со ступицей 3. Насос снабжен дополнительным валом 13 с буртиком 34, фрикционной и магнитной муфтами 7, 31, гидротурбиной, внутренней пружиной 33 и установленным на дополнительном валу 13 автоматом 10 управления нагрузкой шнека 4. Шнек 4 выполнен с втулкой 5 и бандажом 6 и установлен на дополнительном валу 13, Фрикционная муфта 7 выполнена на торце бандажа 6 шнека 4 и крыльчатке 2. Во внутренней полости 28 ступицы 3 крыльчатки 2, сообщенной отверстиями 32 с полостью крыльчатки 2, установлены сопловой аппарат 29 и рабочее колесо 30 гидротурбины. Рабочее колесо 30 гидротурбины через магнитную муфту 31 связано с дополнительным валом 13, который установлен с возможностью осевого перемещения и подпружинен внутренней пружиной 33, установленной с упором в буртик 34 вала 13 и ступицу 3 крыльчатки 2. Шнек 4 подпружинен со стороны входа насоса пружиной 10 автомата 11 управления нагрузкой шнека 4. Изобретение направлено на улучшение антикавитационных свойств насоса. 2 з.п. ф-лы, 2 ил.
Изобретение относится к насосостроению и может быть использовано преимущественно в турбонасосных агрегатах жидкостных ракетных двигателей ЖРД.
Известен шнекоцентробежный насос по патенту РФ на изобретение 2094660, содержащий разъемный корпус, центробежные рабочие колеса (крыльчатки), шнек, вал и опорные узлы в виде подшипников скольжения и качения. Насос не предназначен для системы топливопитания ЖРД.
Наиболее близким к изобретению является шнекоцентробежный насос, содержащий корпус, шнек и установленную на валу крыльчатку со ступицей (RU 2106534 С1, 10.03.1998). Шнек улучшает антикавитационные свойства насоса, т.к. он обладает лучшими антикавитационными свойствами, чем центробежная крыльчатка. Шнек обеспечивает повышение антикавитационных свойств насоса, но он механически связан с рабочим колесом насоса и имеет с ним одинаковую угловую скорость вращения. Однако стремление уменьшить вес и габариты насосов, особенно в ракетной технике, потребовало значительного увеличения частоты вращения ротора, при этом антикавитационные свойства насосов ухудшились. Это не позволило эксплуатировать насос при очень больших угловых скоростях вращения ротора, например 40 100 тыс. об/мин. Применение редукторных схем увеличило бы вес насоса и усложнило его конструкцию.
Задачей изобретения является улучшение антикавитационных свойств насоса.
Технический результат достигается за счет того, что в шнекоцентробежном насосе, содержащем корпус, шнек и установленную на валу крыльчатку со ступицей, согласно изобретению насос снабжен дополнительным валом с буртиком, фрикционной и магнитной муфтами, гидротурбиной, внутренней пружиной и установленным на дополнительном валу автоматом управления нагрузкой шнека, последний выполнен с втулкой и бандажом и установлен на дополнительном валу, фрикционная муфта выполнена на торце бандажа шнека и крыльчатке, во внутренней полости ступицы которой, сообщенной отверстиями с полостью крыльчатки, установлены сопловой аппарат и рабочее колесо гидротурбины, при этом рабочее колесо гидротурбины через магнитную муфту связано с дополнительным валом, который установлен с возможностью осевого перемещения и подпружинен внутренней пружиной, установленной с упором в бурт вала и ступицу крыльчатки, а шнек подпружинен со стороны входа насоса пружиной автомата управления нагрузкой шнека.
Автомат управления нагрузкой шнека может включать стакан, закрепленный на дополнительном валу, и крышку, и пружина автомата может быть установлена внутри стакана с упором с одной стороны в его внутренний торец, а с другой – через крышку и контактное кольцо – в торец втулки шнека.
Фрикционная муфта может быть выполнена конической и содержать фрикционные накладки.
Сущность изобретения поясняется чертежами, где;
на фиг.1 схематично приведен продольный разрез шнекоцентробежного насоса,
на фиг.2 – узел А на фиг.1.
Шнекоцентробежный насос (фиг.1) содержит установленную на валу 1 крыльчатку 2 со ступицей 3 и шнек 4, размещенные в корпусе 20. Крыльчатка 2 жестко связана с валом 1, например, посредством шпонки или шлицевого соединения. Шнек 4 имеет втулку 5 и бандаж 6 и установлен на дополнительном валу 13.
Между шнеком 4 и крыльчаткой 2 выполнена фрикционная муфта 7, которая содержит фрикционные накладки 8 на бандаже 6 шнека 4 и фрикционные накладки 9 на торце крыльчатки 2. (фиг.2). Фрикционную муфту 7 можно выполнить конической. При этом наклон фрикционных накладок 8, 9 выполнен таким, что утечки перекачиваемого продукта, проходящие между ними, встречаются с утечками, проходящими между крыльчаткой 2, бандажом 6 и корпусом 20, запирая оба гидравлических канала, тем самым уменьшая величину утечек, что в целом повышает КПД насоса.
Шнек 4 подпружинен со стороны входа насоса пружиной 10 автомата 11 управления нагрузкой шнека 4. Пружина 10 установлена внутри стакана 12. Стакан 12 прижат к дополнительному валу 13 болтом 14 и закрыт с противоположной стороны крышкой 15. На торце крышки 15 и на торцах втулки 5 шнека 4 выполнены контактные кольца 16. Контактные кольца 16 необходимы для предотвращения износа торцов втулки 5 шнека 4, имеющего частоту вращения, значительно отличающуюся от частоты вращения вала 1 и крыльчатки 2. Крышка 15 зафиксирована от проворота штифтом 17 (фиг.1), установленным в стакане 12 и выступающим в продольном пазу 18 для обеспечения осевого перемещения крышки 15 относительно стакана 14, что необходимо для работы автомата 11 управления нагрузкой шнека 4.
Вал 1 установлен в основном подшипнике 19, который в свою очередь установлен в корпусе 20. К корпусу 20 подстыкованы входной корпус 21 с входной полостью 22 и выходной корпус 23 с выходной полостью 24. Между шнеком 4 и крыльчаткой 2 выполнена полость 25. На заднем торце ступицы 3 крыльчатки 2 выполнено заднее уплотнение 26, отделяющее выходную полость 24 от разгрузочной полости 27 Разгрузочная полость 27 позволяет уменьшить осевое усилие на основной подшипник 19.
Внутри ступицы 3 крыльчатки 2 выполнена внутренняя полость 28, в которой установлены сопловой аппарат 29 и рабочее колесо 30 гидротурбины. Сопловой аппарат 29 гидротурбины связан с крыльчаткой 2, а рабочее колесо 30 гидротурбины связано через магнитную муфту 31 с дополнительным валом 13, В ступице 3 выполнены отверстия 32, выходящие из полости крыльчатки 2 во внутреннюю полость 28 для возврата утечек перекачиваемого продукта внутрь крыльчатки 2. Внутренняя пружина 33 установлена на дополнительном валу 13 и упирается одним концом в буртик 34 дополнительного вала 13, а другим концом в торец ступицы 3.
При работе пружина 10 упирается одним торцом в торец стакана 12, другим в торец крышки 16 и далее и максимально (до соприкосновения) сближает фрикционные накладки 8 и 9 фрикционной муфты 7. При этом зазор между накладками 8, 9 (фиг.2) уменьшается, и мощность, передаваемая магнитной муфтой 7, возрастает. При запуске насоса шнек 4 вращается практически с той же скоростью, что и крыльчатка 2, что благоприятно сказывается на антикавитационных свойствах насоса. При выходе шнекоцентробежного насоса на максимальный режим давление перекачиваемого продукта в полости 27 будет больше, чем это необходимо из условия отсутствия кавитации на входе в шнек 4. Но в то же время из-за большой скорости вращения крыльчатки 2 могут создаться условия возникновения кавитации на входе в крыльчатку 2. Повышенное давление в полости 25 создает осевое усилие и перемещает шнек 4 в сторону входа в насос, при этом сжимается пружина 10 и дальнейшее перемещение шнека 4 прекращается. Зазор между фрикционными накладками 8 и 9 муфты 7 увеличивается, и автоматически уменьшается крутящий момент, передаваемый с вала 1 на шнек 4. Частота вращения шнека 4 уменьшается, и улучшаются условия для предотвращения кавитации на входе в шнек 4.
При падении давления в полости 25 происходит обратный процесс, т.е. шнек 4 перемещается в сторону крыльчатки 2, тем самым процесс регулирования нагрузки на фрикционную муфту 7 будет полностью автоматизирован. Это значительно улучшит антикавитационные свойства насоса, например при частоте вращения вала 100000 об/мин можно получить скорость вращения дополнительного шнека 5 порядка 5000 10000 об/мин, т.е. предельную по кавитационным свойствам шнека 4 скорость. При этом на одной ступени центробежного насоса будет получено максимально возможное повышение давления при минимальном весе и габаритах насоса, что имеет решающее значение для ракетных двигателей.
Применение изобретения позволяет следующее.
1. Значительно улучшить кавитационные свойства насоса за счет уменьшения скорости вращения шнека, применения консольной схемы насоса и размещения пружины автомата управления нагрузкой шнека внутри стакана на валу.
2. Повысить КПД насоса за счет уменьшения утечек в зазорах.
3. Спроектировать насос очень большой мощности за счет размещения фрикционной муфты на большом диаметре и на большой конической поверхности.
4. Предотвратить срыв потока перекачиваемого компонента в насосе вследствие кавитации на его входе.
5. Создать насос с минимальным весом и габаритами при большом напоре и производительности, что имеет первостепенное значение в ракетной технике.
6. Обеспечить автоматическое регулирование антикавитационных свойств насоса.
7. Разгрузить осевые силы, действующие на ротор насоса.
Формула изобретения
1. Шнекоцентробежный насос, содержащий корпус, шнек и установленную на валу крыльчатку со ступицей, отличающийся тем, что насос снабжен дополнительным валом с буртиком, фрикционной и магнитной муфтами, гидротурбиной, внутренней пружиной и установленным на дополнительном валу автоматом управления нагрузкой шнека, последний выполнен с втулкой и бандажом и установлен на дополнительном валу, фрикционная муфта выполнена на торце бандажа шнека и крыльчатке, во внутренней полости ступицы которой, сообщенной отверстиями с полостью крыльчатки, установлены сопловой аппарат и рабочее колесо гидротурбины, при этом рабочее колесо гидротурбины через магнитную муфту связано с дополнительным валом, который установлен с возможностью осевого перемещения и подпружинен внутренней пружиной, установленной с упором в бурт вала и ступицу крыльчатки, а шнек подпружинен со стороны входа насоса пружиной автомата управления нагрузкой шнека.
2. Насос по п.1, отличающийся тем, что автомат управления нагрузкой шнека включает стакан, закрепленный на дополнительном валу, и крышку, и пружина автомата установлена внутри стакана с упором с одной стороны в его внутренний торец, а с другой – через крышку и контактное кольцо – в торец втулки шнека.
3. Насос по п.1 или 2, отличающийся тем, что фрикционная муфта выполнена конической и содержит фрикционные накладки.
РИСУНКИ
|
|