|
|
(21), (22) Заявка: 2008128747/06, 14.07.2008
(24) Дата начала отсчета срока действия патента:
14.07.2008
(46) Опубликовано: 10.03.2010
(56) Список документов, цитированных в отчете о поиске:
RU 2298686 C1, 10.05.2007. RU 2246028 C1, 10.02.2005. SU 969948 A2, 30.10.1982. US 3740565 A, 19.06.1973.
Адрес для переписки:
394026, г.Воронеж, Московский пр-кт, 14, ГОУВПО “ВГТУ”, патентный отдел
|
(72) Автор(ы):
Литвиненко Александр Михайлович (RU)
(73) Патентообладатель(и):
Государственное образовательное учреждение высшего профессионального образования “Воронежский государственный технический университет” (RU)
|
(54) СТАТОР ВЕТРОЭЛЕКТРОАГРЕГАТА
(57) Реферат:
Изобретение относится к области ветроэнергетики и может быть использовано для преобразования энергии воздушного потока в электроэнергию. Статор ветроэлектрогенератора, снабженного на лопастях ветроколеса роторными элементами, содержит источник магнитного поля, магнитопроводы, катушку и крепежные элементы. Кроме того, он снабжен подвижным основанием с ползуном, взаимодействующим с поступательными направляющими, и термокомпенсирующим стержнем, шарнирно закрепленным одним концом в основании подшипникового узла ветроколеса, а другим – в ползуне основания. Преимуществом данного статора является его высокая адаптационная способность к удлинению лопастей и компенсации изменения величины воздушного зазора путем устранения влияния температуры на его величину. 2 ил.
Изобретение относится к области ветроэнергетики.
Известны ветроэлектрогенераторы [1, 2] со статорами традиционного типа.
Из всех известных аналогов наиболее близким к заявляемому по совокупности существенных признаков является статор ветроэлектрогенератора [3] сегментного типа, который выполняется на основе магнитной системы машины постоянного тока или универсальной и включает в себя катушки, источник магнитного поля и магнитопроводы, в том числе и П-образные. При этом два ротора – ветроколеса установлены с возможностью магнитного контакта с магнитопроводами.
Недостатком данного статора является то, что он приспособлен к работе только с предварительно разрезанным по диаметру индуктором, что усложняет технологию изготовления, увеличивает массу, а также зависимость воздушного зазора от удлинения лопасти, особенно в жаркое время года.
Изобретение направлено на устранение влияния температуры на величину воздушного зазора.
Заявленный технический результат достигается тем, что статор ветроэлектрогенератора, снабженного на лопастях ветроколеса роторными элементами, содержит источник магнитного поля, магнитопроводы, катушку и крепежные элементы, а также снабжен подвижным основанием с ползуном, взаимодействующим с поступательными направляющими, и термокомпенсирующим стержнем, шарнирно закрепленным одним концом в основании подшипникового узла ветроколеса, а другим – в ползуне основания.
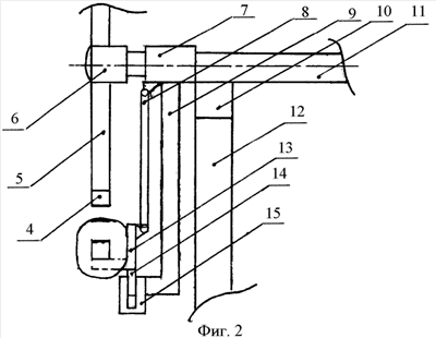
Сущность изобретения иллюстрируется чертежами, где на фиг.1 изображен заявленный статор, вид спереди, на фиг.2 – статор в составе ветроэлектрогенератора, вид сбоку.
Статор ветроэлектроагрегата состоит из источника магнитного поля 1, магнитопроводов 2, катушки 3, роторных элементов 4, закрепленных на концах лопастей 5 ветроколеса, имеющего ступицу 6. Ветроэлектроагрегат имеет подшипниковый узел 7, к основанию которого прикреплены термокомпенсирующий стержень 8 и кронштейн 9, поворотное основание 10, хвостовой стабилизатор 11, башня 12. Модуль установлен на подвижном основании 13, которое соединено посредством шарнира с одной стороны с термокомпенсирующим стержнем 8, с другой стороны с ползуном 14, который входит в поступательные направляющие 15.
Статор работает следующим образом: при вращении ветроколеса роторные элементы 4, прикрепленные на концах лопастей 5, периодически входят в магнитный контакт с магнитопроводами 2, коммутируя магнитный поток от источника магнитного поля, например постоянного магнита 1. В результате в катушке 3 наводится ЭДС, которая передается потребителю. При изменении воздушного зазора, например, вследствие нагрева лопастей происходит автоматическое удлинение лопастей термокомпенсирующего стержня 8, который, воздействуя на подвижное основание 13, вдвигает ползун 14 в направляющие 15, компенсируя изменение воздушного зазора.
Технико-экономическим преимуществом данного статора является его высокая адаптационная способность к удлинению лопастей и компенсации изменения величины воздушного зазора.
Источники информации
1. А.с. СССР 732572 / В.К.Александров и др. – Ветроагрегат. Б.И. 17, 1980 г., F03D 3/30.
2. А.с. СССР 861716 / И.П.Копылов и др.- Безредукторный ветроагрегат. БИ 11, 1981 г., F03D 1/00.
3. Патент Р.Ф. 2204734 / A.M.Литвиненко. – Статор ветроэлектрогенератора, опубл. Б.И. 14, от 20.05.2003, з-ка 2001129417/06 от 31.10.2001, MKU F03D 9/00.
Формула изобретения
Статор ветроэлектрогенератора, снабженного на лопастях ветроколеса роторными элементами, содержащий источник магнитного поля, магнитопроводы, катушку и крепежные элементы, отличающийся тем, что он снабжен подвижным основанием с ползуном, взаимодействующим с поступательными направляющими, и термокомпенсирующим стержнем, шарнирно закрепленным одним концом в основании подшипникового узла ветроколеса, а другим – в ползуне основания.
РИСУНКИ
|
|