|
|
(21), (22) Заявка: 2008144596/06, 11.11.2008
(24) Дата начала отсчета срока действия патента:
11.11.2008
(46) Опубликовано: 10.03.2010
(56) Список документов, цитированных в отчете о поиске:
RU 2275528 C1, 27.04.2006. RU 2337251 C1, 27.10.2008. SU 969948 A2, 30.10.1982. US 3740565 A, 19.06.1973.
Адрес для переписки:
394026, г.Воронеж, Московский пр-кт, 14, ГОУВПО “ВГТУ”, патентный отдел
|
(72) Автор(ы):
Литвиненко Александр Михайлович (RU)
(73) Патентообладатель(и):
Государственное образовательное учреждение высшего профессионального образования “Воронежский государственный технический университет” (RU)
|
(54) БЕЗРЕДУКТОРНЫЙ ВЕТРОАГРЕГАТ
(57) Реферат:
Изобретение относится к области ветроэнергетики и может быть применено для выработки электроэнергии. Безредукторный ветроагрегат содержит ветроколесо с лопастями, роторные элементы, укрепленные на торцах лопастей, и статорный элемент, который выполнен в виде стержней с катушками. Катушки замкнуты источниками магнитного поля и секционированы в аксиальном направлении с образованием рядов, перекрываемых при деформации лопасти по мере увеличения ветрового напора роторными элементами. Роторные элементы выполнены в виде гребенки, установленной относительно статора с воздушным зазором, профилированным по траектории деформации лопасти. Достоинством данного безредукторного ветроагрегата является уменьшенный пусковой момент, что позволяет улучшить эксплуатационные характеристики, поскольку работа ветроагрегата начинается с меньших значений скоростей ветра. Кроме того, появляется возможность исполнения лопастей ветроколес с менее жесткими, более дешевыми материалами, поскольку повышенная упругость лопастей учтена самой конструкцией ветроэлектроагрегата. 3 ил.
Изобретение относится к области ветроэнергетики и может быть применено для выработки электроэнергии.
Известен ветроагрегат [1], который содержит поворотное ветроколесо, магнитную систему с обмотками, в зазоре которой перемещается ротор, причем магнитная система расположена на основании, размещенном в зоне нижнего положения лопастей, а лопасти снабжены ферромагнитными зубчатыми пластинами, составляющими ротор, ротор таким образом охватывает концы лопастей, пластины проходят через воздушный зазор магнитной системы.
В этом агрегате отсутствует возможность регулирования напряжения с помощью осевого перекрытия ротора и статора.
Известен также ветроагрегат [2], содержащий башню с поворотным основанием. На основании установлены сегментный статор, хвост, вращающиеся ветроколеса с валами, с лопастями и с сегментными элементами. При этом сегментные элементы снабжены двумя вращательными парами, причем первая вращательная пара каждого элемента установлена на торце лопасти, а вторая – на дополнительном стержне, а последний расположен в продольном канале лопасти и закреплен на валу, а между сегментным элементом и лопастью установлена замыкающая пружина.
Недостатком данного устройства является увеличенный пусковой момент, который обусловлен радиальными силами притяжения роторного элемента к статорному, а также сложность конструкции ротора.
Из известных аналогов наиболее близким к заявленному по совокупности существенных признаков является ветроагрегат [3], в котором ступица ветроколеса установлена с возможностью изменения осевого перекрытия “роторный элемент – статорный элемент”, что дает возможность уменьшить пусковой момент, создает предпосылки для регулирования напряжения. Однако это достигается существенным усложнением механической части установки, введением пружины, поступательного подшипника, ползуна.
Таким образом, недостатком данной конструкции является ее сложность, что ведет к практической неприменимости для мощных ветроколес, где механическая часть недопустимо утяжеляется.
Изобретение направлено на уменьшение пускового момента при сохранении мощности, а также на упрощение конструкции.
Это достигается тем, что в безредукторном ветроагрегате, содержащем ветроколесо с лопастями, роторные элементы, укрепленные на торцах лопастей, и статорный элемент, согласно изобретению, статорный элемент выполнен в виде стержней с катушками, замкнутых источниками магнитного поля и секционированных в аксиальном направлении с образованием рядов, перекрываемых при деформации лопасти по мере увеличения ветрового напора роторными элементами, выполненными в виде гребенки, установленной относительно статора с воздушным зазором, профилированным по траектории деформации лопасти.
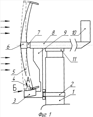
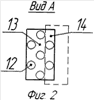
Сущность изобретения иллюстрируется чертежами, где на фиг.1 показан заявленный безредукторный ветроэлектроагрегат, вид сбоку; на фиг.2 показан статорный элемент, вид сверху, с секционированным в аксиальном направлении зазором; на фиг.3 показаны статорный и роторные элементы в увеличенном масштабе, вид спереди.
Безредукторный ветроагрегат содержит башню 1 с поясом 2, статорный элемент 3, роторные элементы 4, укрепленные на торцах лопастей 5 ветроколеса, которые имеют ступицу 6, к которой, в свою очередь, прикреплены лопасти. Ступица установлена в подшипниковом узле 7, который установлен на несущей балке 8, к которой прикреплены несущий элемент статора 9 и хвост 10. Балка 8 укреплена на вращающемся основании 11. Статорный элемент содержит элементы, выполненные на базе магнитных систем реле, которые секционированы в аксиальном направлении, например образуют ряды 12, 13 и 14, могущие прикрываться зоной роторного элемента, которая на фиг.2 показана пунктиром. Статорные элементы представляют собой стержни с катушками 15, перемкнутые источниками магнитного поля 16, которые условно показаны на фиг.3, а роторные элементы имеют вид гребенки 17, прикрытой аэродинамическими оконцовками 18. Взаимодействие осуществляется через воздушный зазор 19.
Работа устройства. При слабых ветрах деформация лопастей незначительна, показана на фиг.1 пунктиром. В магнитном взаимодействии с роторным элементом находится один из рядов статорных элементов, например ряд 12. По мере увеличения ветрового напора лопасть 5 деформируется до положения, показанного на фиг.1 сплошными линиями, благодаря чему в магнитное взаимодействие кроме ряда 12 вступает ряд 13, а далее ряд 14, что позволяет, в свою очередь, увеличить отдаваемую мощность, которая пропорциональна количеству рядов и силе ветрового напора.
Достоинством данного безредукторного ветроагрегата является уменьшенный пусковой момент, что позволяет улучшить эксплуатационные характеристики, поскольку работа ветроагрегата начинается с меньших значений скоростей ветра. Кроме того, появляется возможность исполнение лопастей ветроколес с менее жесткими, более дешевыми материалами, поскольку повышенная упругость лопастей учтена самой конструкцией ветроэлектроагрегата.
Источники информации
1. Авторское свидетельство СССР 861716 / И.П.Копылов, Т.В.Лядова. – Безредукторный ветроагрегат / Опубл. Бюл. 11, 1981, МПК 7F03D 1/00.
2. Патент РФ 2208700 / A.M.Литвиненко, В.А.Баркалов. – Безредукторный ветроагрегат / Опубл. Бюл. 20, 2003, заявка 2001129401/06 от 31.10.01, МПК 7 F03D 9/00.
3. Патент РФ 2275528 / A.M.Литвиненко. – Безредукторный ветроэлектроагрегат / Опубл. Бюл. 12, 2006, заявка 2004129523/06 от 06.10.2004, МПК 7 F03D 1/00.
Формула изобретения
Безредукторный ветроагрегат, содержащий ветроколесо с лопастями, роторные элементы, укрепленные на торцах лопастей, и статорный элемент, отличающийся тем, что статорный элемент выполнен в виде стержней с катушками, замкнутых источниками магнитного поля и секционированных в аксиальном направлении с образованием рядов, перекрываемых при деформации лопасти по мере увеличения ветрового напора роторными элементами, выполненными в виде гребенки, установленной относительно статора с воздушным зазором, профилированным по траектории деформации лопасти.
РИСУНКИ
|
|