|
|
(21), (22) Заявка: 2008132348/06, 05.08.2008
(24) Дата начала отсчета срока действия патента:
05.08.2008
(46) Опубликовано: 10.03.2010
(56) Список документов, цитированных в отчете о поиске:
RU 2298685 С2, 10.05.2007. RU 2174189 С2, 27.09.2001. SU 1178931 A1, 15.09.1985. US 4208168 A, 17.06.1980.
Адрес для переписки:
690087, г.Владивосток, ГСП, ул. Луговая, 52-Б, ФГОУ ВПО Дальрыбвтуз, отдел по охране интеллектуальных прав
|
(72) Автор(ы):
Козычев Борис Семенович (RU)
(73) Патентообладатель(и):
Федеральное государственное образовательное учреждение высшего профессионального образования “Дальневосточный государственный технический рыбохозяйственный университет” (RU)
|
(54) ВЕТРОПРИЕМНОЕ УСТРОЙСТВО ДЛЯ СУДОВОЙ ВЕТРОЭНЕРГЕТИЧЕСКОЙ УСТАНОВКИ
(57) Реферат:
Изобретение относится к ветроэнергетике, а именно к ветроэнергетическим установкам, использующим энергию ветра для привода электрогенераторов, и может быть использовано на судах, а также в других установках, использующих энергию ветра. Ветроприемное устройство для ветроэнергетической установки содержит стальную трубу вращения, занавеси из ткани, каркас, образованный сопряженными верхней и нижней частями. Нижняя часть каркаса образована пронизывающими трубу вращения стальными стержнями с насаженными на них с образованием замкнутого контура трубами-поперечинами, а верхняя – поддерживающей трубы-поперечины в горизонтальном положении растяжкой в виде троса, закрепленного одним концом на верхнем штыре торца трубы вращения, а другим – на выступающем штыре сопрягающей трубы-поперечины. Каркас с одной стороны покрыт крупноячеистой рыболовной сетью, а занавеси выполнены по форме каркаса и закреплены на тросе. Преимуществом изобретения является значительное снижение металлоемкости, повышение коэффициента полезного действия (КПД) и экономической эффективности, повышение надежности и безопасности эксплуатации в судовых условиях. 4 ил.
Изобретение относится к ветроэнергетике, а именно к ветроэнергетическим установкам, использующим энергию ветра для привода электрогенераторов, и может быть использовано преимущественно на судах, а также в других установках, использующих энергию ветра.
Известны ветроприемные устройства с вертикальной осью вращения (Патент РФ 2164624 C1, F03D 3/06, опубл. 25.08.1999 г., патент РФ 2263816 С2, F03D 3/06, опубл. 17.11.2003 г.). Ветроэнергетические установки содержат установленный в опоре с возможностью свободного вращения вертикальный вал и прямоугольные лопасти, установленные на равном расстоянии от вала с возможностью вращения вокруг своих осей.
Недостатком этих ветроэнергетических установок является их громоздкость, сложность в изготовлении, возможность оказывать дополнительное сопротивление движению судна, что не находит применения их в судовых условиях. Многочисленные же зубчатые, цепные и другие подвижные соединения усложняют, утяжеляют и удорожают эти установки.
Наиболее близким техническим решением к заявляемому изобретению является «Ветряк осевой с занавесками» (Патент РФ 2298685 С2, кл. F03В 3/06, опубл. 20.01.2005 г.), принятый за прототип. Ветряк осевой представляет собой конструкцию, состоящую из четырех труб, установленных в землю. Между ними на стальную плиту устанавливается труба-ось диаметром 200 мм с конусом внизу для фиксации и вращения в гнезде на плите. Для монтажа трубы в вертикальное положение, а также для сборки ветряка подручными средствами плита шарнирно крепится к стальной плите, на которой она лежит. На концах труб устанавливаются опорные ролики, в которых вращается ось. Выше роликов к трубе шарнирно крепятся четыре трубы длиной по 16 метров, подвешенные на растяжках. Высота от земли труб составляет семь метров. По сторонам вертикальной оси закреплены консоли с вертикальным экраном. Вертикальный экран образован занавесками, выполненными из ткани, закрепленными на металлических рамках, образующих каркас, причем металлические рамки закреплены снизу и сверху.
Недостатками ветряка осевого с занавесками являются: невысокий коэффициент полезного действия (КПД), а также громоздкость, сложность в изготовлении.
В основу заявляемого изобретения поставлена задача – упрощение конструкции ветроприемного устройства, уменьшение металлоемкости, повышение надежности, безопасности при эксплуатации и ремонтно-техническом обслуживании ветроэнергетической установки в судовых условиях и помимо этого повышение коэффициента полезного действия (КПД) и экономической эффективности.
Технический результат достигается за счет того, что ветроприемное устройство для судовой ветроэнергетической установки состоит из стальной трубы вращения, каркаса, образованного сопряженными верхней и нижней частями и покрытого с одной стороны крупноячеистой рыболовной сетью, и занавесей, выполненных по форме каркаса и закрепленных на тросе. Такая конструкция максимально облегчена, позволяет устранить трудоемкость изготовления, монтаж, эксплуатацию и ремонтно-техническое обслуживание установки. Принимает максимум обдувающих ветров, не влияет на мореходные качества судов. Помимо этого позволяет повысить экономическую эффективность за счет дорожающего топлива.
Задача решается тем, что в ветроприемном устройстве для судовой ветроэнергетической установки, содержащем стальную трубу вращения, занавеси из ткани, каркас, образованный сопряженными верхней и нижней частями, согласно изобретению нижняя часть образована пронизывающими трубу вращения стальными стержнями с насаженными на них с образованием замкнутого контура трубами-поперечинами, а верхняя часть образована поддерживающей трубы-поперечины в горизонтальном положении растяжкой в виде троса, закрепленного одним концом на верхнем штыре торца трубы вращения, а другим – на выступающем штыре сопрягающей трубы поперечины. Каркас с одной стороны покрыт крупноячеистой рыболовной сетью, а занавеси выполнены по форме каркаса и закреплены на тросе.
В заявленном ветроприемном устройстве для судовой ветроэнергетической установки общими существенным признаками для него и прототипа являются:
– вертикальная стальная труба вращения;
– каркас;
– занавеси из ткани.
Сопоставительный анализ существенных признаков заявляемого ветроприемного устройства и прототипа показывает, что первый в отличие от прототипа имеет следующие отличительные признаки:
– каркас, образованный сопряженными верхней и нижней частями;
– нижняя часть образована пронизывающими трубу вращения стальными стержнями с насаженными на них с образованием замкнутого контура трубами-поперечинами;
– верхняя часть образована поддерживающей трубы-поперечины в горизонтальном положении растяжкой в виде троса, закрепленного одним концом на верхнем штыре торца трубы вращения, а другим – на выступающем штыре сопрягающей трубы поперечины;
– каркас с одной стороны покрыт крупноячеистой рыболовной сетью;
– занавеси выполнены по форме каркаса и закреплены на тросе.
Данная совокупность общих и отличительных существенных признаков обеспечивает получение технического результата во всех случаях, на которые испрашивается правовая охрана. Именно такая совокупность существенных признаков позволила разработать ветроприемное устройство для получения электроэнергии из воздушных потоков в судовых условиях.
На основании изложенного можно заключить, что все существенные признаки, характеризующие ветроприемное устройство, имеют причинно-следственную связь с достигнутым техническим результатом, т.е. обеспечивают получение технического результата во всех случаях, на который распространяется испрашиваемый объем правовой охраны ветроприемного устройства. Благодаря данной совокупности существенных признаков стало возможным решить поставленную задачу.
Следовательно, заявляемое изобретение является новым, так как явным образом не следует из уровня техники и пригодно для промышленного применения.
Сущность изобретения поясняется чертежами, где:
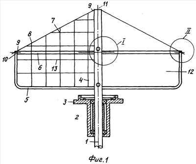
на фиг.1 показан общий вид ветроприемного устройства для судовой ветроэнергетической установки;
на фиг.2а – стержень, пронизывающий трубу вращения;
на фиг.2б – штырь для крепления троса;
на фиг.3 – вспомогательная платформа для удержания вертикальной трубы вращения с установленными каркасами.
Ветроприемное устройство содержит вертикальную трубу вращения 1 из стальной трубы с радиально-упорным подшипниковым узлом 2 в основании, удерживаемую вспомогательной платформой 3. Платформа 3 установлена в обдуваемом ветром над судовым пространством (на мачте, над дымовой трубой, надстройкой). Стальные стержни 4 пронизывают вертикальную трубу вращения 1, на которые насаживают стальные трубы-поперечины 5 и 6, образующие замкнутый контур длиной половины ширины судна и крепят на высоте 2-х метров от платформы. Трубы-поперечины 5 и 6 поддерживают в горизонтальном положении тросами 7 с талрепами 8 и коушами 9. Один конец троса 7 закреплен коушем 9 на выступающем штыре 10 в заглушке 11 торца трубы вращения 1. Другой конец троса 7 закреплен коушем 9 на выступающем штыре 10 сопрягающей трубы-поперечины 5. Трубы-поперечины 5 и 6 с тросом 7 образуют каркасы в виде 4-х лопастей 12, которые выполнены из парусного материала, закреплены на тросах 7 и покрыты крупноячеистой рыболовной сетью 13, натянутой на каркасы с одной стороны при помощи шнура или легкого троса. Лопасти 12 из парусного материала конфигурацией каркаса свободно пришнуровываются соответствующей кромкой к тросу 7 с фиксацией этой кромки к удерживающим трос штырям 10.
Предложенная судовая ветроэнергетическая установка работает следующим образом.
При работе ветроприемного устройства лопасти 12 ориентированы в противоположных направлениях. Принимающие ветер лопасти 12 совершают колебательные движения и вращают вертикальную трубу 1 ветроэнергетической установки. При этом противоположные лопасти приводятся ветром в положение, оказывающее ему минимальное сопротивление. Крутящий момент устройства передается известными способами приводимым механизмам на вал электрогенератора (не показан). Для удобства монтажа, эксплуатации и ремонтно-технических работ предусмотрен соответствующий стопор. Вертикальность лопастей 12, принимающих ветер, обеспечивается покрытием их легкой крупноячеистой рыболовной сетью 13, натянутой по всему периметру каркаса с одной стороны при помощи шнура или легкого троса.
Предложенное ветроприемное устройство применимо к судам, почти не влияет на их мореходные качества, конструктивно значительно легче и проще, дешевле аналогов, повышает и улучшает ее качества и производительность. Такая конструкция может быть в короткие сроки изготовлена, смонтирована, может успешно и эффективно использоваться долгие годы. Способствует экономии дорожающего топлива и моторесурса замещаемых судовых механизмов.
Формула изобретения
Ветроприемное устройство для судовой ветроэнергетической установки, содержащее стальную трубу вращения, занавеси из ткани, каркас, образованный сопряженными верхней и нижней частями, причем нижняя часть образована пронизывающими трубу вращения стальными стержнями с насаженными на них с образованием замкнутого контура трубами-поперечинами, а верхняя – поддерживающей трубы-поперечины в горизонтальном положении растяжкой в виде троса, закрепленного одним концом на верхнем штыре торца трубы вращения, а другим – на выступающем штыре сопрягающей трубы-поперечины, при этом каркас с одной стороны покрыт крупноячеистой рыболовной сетью, а занавеси выполнены по форме каркаса и закреплены на тросе.
РИСУНКИ
|
|