|
|
(21), (22) Заявка: 2008135216/06, 28.08.2008
(24) Дата начала отсчета срока действия патента:
28.08.2008
(30) Конвенционный приоритет:
18.03.2008 JP 2008-069502
(46) Опубликовано: 10.03.2010
(56) Список документов, цитированных в отчете о поиске:
RU 215687 С2, 27.09.2000. RU 2095609 C1, 10.11.1997. US 4947644 A, 14.08.1990. US 3394549 A, 30.07.1968. DE 3820322 A1, 06.04.1989. DE 1626082 В1, 25.06.1970.
Адрес для переписки:
103735, Москва, ул. Ильинка, 5/2, ООО “Союзпатент”, пат.пов. Ю.Б.Перегудовой, рег. 1103
|
(72) Автор(ы):
КИМУРА Тацуя (JP), КАВАМАТА Ёсихиро (JP), НИУ Кенити (JP)
(73) Патентообладатель(и):
МИЦУБИСИ ХЕВИ ИНДАСТРИЗ, ЛТД. (JP)
|
(54) СОПЛО РАКЕТЫ И СПОСОБ УПРАВЛЕНИЯ ПОТОКОМ ГАЗООБРАЗНЫХ ПРОДУКТОВ СГОРАНИЯ В РАКЕТНОМ ДВИГАТЕЛЕ
(57) Реферат:
Изобретение относится к соплу ракеты и способу управления потоком газообразных продуктов сгорания в ракетном двигателе. Сопло (8) ракеты включает в себя сопло (10) в форме двойного колокола и секцию (40А, 40В, 40С, 40D) подачи газа, выполненную с возможностью подачи газа в пространство (80), окруженное соплом в форме двойного колокола, Газообразные продукты сгорания протекают в этом пространстве. Сопло в форме двойного колокола включает в себя сопло (20) первого каскада в форме колокола, окружающее верхний участок (81) пространства, и сопло (30) второго каскада в форме колокола, окружающее нижний участок (82) пространства. Сопло в форме двойного колокола имеет точку (12) перегиба между соплом первого каскада и соплом второго каскада. Секция подачи газа включает в себя входное отверстие (45, 63) для газа, выполненное на поверхности внутренней стенки сопла первого каскада. Газ подают в пространство через входное отверстие для газа. Изобретение обеспечивает повышение эффективности управления потоком газообразных продуктов сгорания в зависимости от высоты полета ракеты. 2 н. и 16 з.п. ф-лы, 13 ил.
Область техники, к которой относится изобретение
Изобретение относится к соплу ракеты и способу управления потоком газообразных продуктов сгорания в ракетном двигателе.
Описание предшествующего уровня техники
На фиг.1 показано сопло 100А, выполненное в форме колокола, применяемое как сопло ракеты. Когда площадь поперечного сечения протока горловины 101А составляет At и площадь поперечного сечения протока на выходе 102А из сопла составляет А1, коэффициент еА расширения сопла 100А в форме колокола может быть представлен как отношение (A1/At) между значениями А1 и At. На фиг.2 показано сопло 100В в форме колокола в качестве сопла ракеты. Когда площадь поперечного сечения протока горловины 101В составляет At и площадь поперечного сечения протока на выходе 102В из сопла составляет А2, коэффициент еВ расширения сопла 100В в форме колокола представлен отношением (A2/At). Здесь А2 больше, чем А1, и, таким образом, еВ больше, чем еА.
Известно представление рабочей характеристики сопла ракеты в виде удельного импульса. Значение удельного импульса изменяется в зависимости от коэффициента расширения и давления окружающей среды вокруг сопла ракеты. В соответствии с этим, удельный импульс изменяется по мере подъема ракеты.
На фиг.3 показан график, представляющий изменения значений удельного импульса в соответствии с высотой. По вертикальной оси графика представлены значения удельного импульса, и по горизонтальной оси представлена высота. Кривая 121 рабочей характеристики представляет изменение значения удельного импульса сопла 100А в форме колокола в соответствии с высотой. Кривая 122 рабочей характеристики представляет изменение удельного импульса сопла 100В в форме колокола в зависимости от высоты.
Кривая 121 рабочей характеристики и кривая 122 рабочей характеристики пересекаются друг с другом на определенной высоте. Значение удельного импульса сопла 100А в форме колокола больше, чем значение удельного импульса сопла 100В в форме колокола на высоте меньшей, чем высота точки пересечения, и значение удельного импульса сопла 100В в форме колокола больше, чем значение удельного импульса сопла 100А в форме колокола на высоте большей, чем высота точки пересечения.
Если коэффициент расширения сопла ракеты можно было бы изменять во время подъема ракеты, то можно было бы поддерживать большое значение удельного импульса сопла ракеты в широком диапазоне высот.
На фиг.4 показано сопло 110 в форме двойного колокола, используемое в качестве сопла ракеты. Сопло 110 в форме двойного колокола включает в себя сопло 115 первого каскада, как часть, продолжающаяся от горловины 111 до точки 112 перегиба, и сопло 116 второго каскада, как часть от точки 112 перегиба до выхода 113 из сопла. Каждое из сопла 115 первого каскада и сопла 116 второго каскада имеет форму колокола. Площадь поперечного сечения протока горловины 111 представлена как At, площадь поперечного сечения протока в точке 112 перегиба представлена как А1, и площадь поперечного сечения протока на выходе 113 сопла представлена как А2.
Как показано на фиг.5, когда окружающее давление вокруг сопла в форме двойного колокола 110 высокое, поток газообразных продуктов сгорания отделяется от поверхности внутренней стенки сопла 110 в форме двойного колокола в точке 112 перегиба. Далее такой поток называется потоком с малой степенью расширения. Коэффициент расширения сопла 110 в форме двойного колокола в состоянии потока с малой степенью расширения приблизительно соответствует коэффициенту расширения сопла 100А в форме колокола.
Как показано на фиг.6, когда окружающее давление вокруг сопла 110 в форме двойного колокола является низким, поток газообразных продуктов сгорания отделяется от поверхности внутренней стенки сопла 110 в форме двойного колокола на выходе 113 сопла. Далее такой поток называется потоком с большой степенью расширения. Коэффициент расширения сопла 110 в форме двойного колокола в состоянии потока с большой степенью расширения приблизительно равен коэффициенту расширения сопла 100В в форме колокола.
Как показано на фиг.3, оптимально, чтобы поток газообразных продуктов сгорания в сопле 110 в форме двойного колокола переходил от состояния потока с малой степенью расширения в состояние потока с большой степенью расширения на высоте, соответствующей точке пересечения кривой 121 рабочей характеристики и кривой 122 рабочей характеристики. Точка пересечения кривой 121 рабочей характеристики и кривой 122 рабочей характеристики называется точкой 120 оптимального перехода. Однако, как описано в публикации “A Critical Assessment of Dual-Bell Nozzles”, G.Hagemann, M.Frey и D.Manski, 1997, известно, что поток газообразных продуктов сгорания в сопле 110 в форме двойного колокола переходит из состояния потока с малой степенью расширения в состояние потока с большой степенью расширения на высоте гораздо меньшей, чем высота, соответствующая оптимальной точке 120 перехода. По этой причине изменение удельного импульса сопла 110 в форме двойного колокола относительно высоты представлено кривой 123 рабочей характеристики.
Поскольку переход состояния потока газообразных продуктов сгорания в сопле 110 в форме двойного колокола происходит на высоте гораздо ниже более низкой, чем оптимальная точка 120 перехода, удельный импульс сопла 110 в форме двойного колокола уменьшается в точке перехода. При этом чем ниже высота, на которой возникает переход, тем больше амплитуда снижения удельного импульса. Кроме того, могут возникнуть сильные вибрации, поскольку поток газообразных продуктов сгорания проявляет тенденцию отделяться от внутренней поверхности стенки второго каскада 116 сопла в положении, перед выходом 113 сопла, на низкой высоте, непосредственно после перехода.
Сущность изобретения
Цель настоящего изобретения состоит в том, чтобы создать сопло ракеты и способ управления потоком газообразных продуктов сгорания в ракетном двигателе, в котором происходит соответствующий переход потока газообразных продуктов сгорания.
В первом аспекте настоящего изобретения сопло ракеты включает в себя сопло в форме двойного колокола и блок подачи газа, выполненный с возможностью подачи газа в пространство, окруженное соплом в форме двойного колокола. Потоки газообразных продуктов сгорания протекают в этом пространстве. Сопло в форме двойного колокола включает в себя сопло первого каскада, имеющее форму колокола и окружающее верхний участок пространства, и сопло второго каскада, имеющее форму колокола и окружающее нижний участок пространства. Сопло в форме двойного колокола имеет точку перегиба между соплом первого каскада и соплом второго каскада. Блок подачи газа включает в себя первое входное отверстие для газа, предусмотренное на первой внутренней поверхности стенки сопла первого каскада. Газ подают в пространство через первое входное отверстие для газа.
Во втором аспекте настоящего изобретения способ управления потоком газообразных продуктов сгорания в ракетном двигателе включает в себя операцию, на которой подают газ в пространство, окруженное соплом в форме двойного колокола. Газообразные продукты сгорания протекают в этом пространстве. Сопло в форме двойного колокола включает в себя сопло первого каскада, выполненное в форме колокола и окружающее верхний участок пространства, и сопло второго каскада, выполненное в форме колокола и окружающее нижний участок пространства. Сопло в форме двойного колокола имеет точку перегиба между соплом первого каскада и соплом второго каскада. При подаче газа, газ подают в пространство через первое входное отверстие для газа, предусмотренное на первой внутренней поверхности стенки сопла первого каскада.
В соответствии с настоящим изобретением предусматривается сопло ракеты и способ управления потоком газообразных продуктов сгорания в ракетном двигателе, в котором правильно выполняется переход состояния потока газообразных продуктов сгорания.
Краткое описание чертежей
Описанные выше и другие цели, преимущества и свойства настоящего изобретения будут более понятны из следующего описания конкретных вариантов выполнения, которые следует рассматривать совместно с приложенными чертежами, на которых:
на фиг.1 показано сопло в форме колокола с малым коэффициентом расширения;
на фиг.2 показано сопло в форме колокола с большим коэффициентом расширения;
на фиг.3 показан график, сравнивающий сопла по значениям удельного импульса в зависимости от высоты;
на фиг.4 показано сопло в форме двойного колокола;
на фиг.5 показано состояние потока с малой степенью расширения для потока газообразных продуктов сгорания в сопле в форме двойного колокола;
на фиг.6 показано состояние потока с большой степенью расширения для потока газообразных продуктов сгорания в сопле в форме двойного колокола;
на фиг.7 показана схема ракетного двигателя, включающего в себя сопло в форме двойного колокола, в соответствии с первым вариантом выполнения настоящего изобретения;
на фиг.8 показан вид с увеличением участка, расположенного рядом с точкой перегиба сопла в форме двойного колокола, в соответствии с первым вариантом выполнения;
на фиг.9 показан график, поясняющий эффект сопла в форме двойного колокола, в соответствии с первым вариантом выполнения;
на фиг.10 показана схема сопла в форме двойного колокола в соответствии со вторым вариантом выполнения настоящего изобретения;
на фиг.11 показана схема сопла в форме двойного колокола в соответствии с третьим вариантом выполнения настоящего изобретения;
на фиг.12 показан вид с увеличением участка, расположенного рядом с точкой перегиба сопла в форме двойного колокола, в соответствии с третьим вариантом выполнения; и
на фиг.13 показана схема сопла в форме двойного колокола в соответствии с четвертым вариантом выполнения настоящего изобретения.
Подробное описание изобретения
Ниже, со ссылкой на прилагаемые чертежи, будут описаны сопло ракеты и способ управления потоком газообразных продуктов сгорания в ракетном двигателе в соответствии с вариантами выполнения настоящего изобретения.
(Первый вариант выполнения)
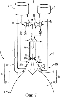
На фиг.7 показан ракетный двигатель 1 в соответствии с первым вариантом выполнения настоящего изобретения. Ракетный двигатель 1 включает в себя топливный бак 2, бак 3 с окислителем, турбонасос 4 для топлива, турбонасос 5 для окислителя и сопло 8 ракеты. Турбонасос 4 для топлива включает насос 4а и турбину 4b, которая вращается вместе с насосом 4а. Турбонасос 5 для окислителя включает в себя насос 5а и турбину 5b, которая вращается вместе с насосом 5а.
Сопло 8 ракеты включает в себя инжектор 6, камеру 7 сгорания, сопло 10 в форме двойного колокола и секцию 40А подачи газа. В камере 7 сгорания предусмотрен канал 7а охлаждения, предназначенный для охлаждения поверхности стенки камеры 7 сгорания. Сопло 10 в форме двойного колокола включает в себя сопло 20 первого каскада, как участок от горловины 11 до точки 12 перегиба, и сопло 30 второго каскада, как участок от точки 12 перегиба до выхода 13 из сопла. Точка 12 перегиба расположена между соплом 20 первого каскада и соплом 30 второго каскада. Каждое из сопла 20 первого каскада и сопла 30 второго каскада имеют форму колокола. Сопло 10 в форме двойного колокола окружает пространство 80. Сопло 20 первого каскада окружает верхний участок 81 пространства 80. Сопло 30 второго каскада окружает нижний участок 82 пространства 80. Сопло 20 первого каскада можно назвать основным соплом. Сопло 30 второго каскада можно назвать соплом расширения.
Коллекторы 21-23 предусмотрены вдоль внешней окружности сопла 20 первого каскада. Каждый из коллекторов 21-23 имеет форму тороида. Канал 20а охлаждения, предназначенный для охлаждения поверхности стенки сопла 20 первого каскада, предусмотрен на участке сопла 20 первого каскада, между коллектором 21 и горловиной 11. Коллектор 22 предусмотрен на стороне точки 12 перегиба коллектора 21 так, что коллектор 22 расположен рядом с коллектором 21. Коллектор 23 расположен между коллектором 22 и точкой 12 перегиба. Канал 20b охлаждения, предназначенный для охлаждения поверхности стенки сопла 20 первого каскада, предусмотрен на участке сопла 20 первого каскада между коллектором 22 и коллектором 23.
Секция 40А подачи газа включает в себя трубу 41 и коллектор 42, предусмотренные вдоль внешней окружности сопла 20 первого каскада. Коллектор 42 выполнен в форме тороида. Коллектор 42 расположен на стороне точки 12 перегиба, относительно коллектора 23 так, что коллектор 42 расположен рядом с коллектором 23. Труба 41 соединяет турбонасос 5 для окислителя с коллектором 42.
В топливном баке 2 содержится топливо, такое как жидкий водород. В баке 3 с окислителем содержится окислитель, такой как жидкий кислород. Турбонасос 4 для топлива подает топливо из топливного бака 2 к форсунке 6. Турбонасос 5 для окислителя подает окислитель из бака 3 для окислителя к форсунке 6. Форсунка 6 смешивает топливо и окислитель и осуществляет впрыск этой смеси в камеру 7 сгорания. Впрыскиваемое топливо и окислитель воспламеняются, формируя газообразные продукты сгорания. Газообразные продукты сгорания протекают в пространство 80 через горловину 11 из камеры 7 сгорания. Газообразные продукты сгорания протекают через верхний участок 81 и нижний участок 82 в упомянутом порядке и вытекают через выход 13 из сопла.
Турбонасос 4 для топлива подает топливо также в коллектор 21 из топливного бака 2. Топливо попадает в коллектор 22 из коллектора 21 после его протекания через контур 20а охлаждения и контур 7а охлаждения в упомянутом порядке. Топливо поступает в коллектор 23 через канал 20b охлаждения из коллектора 22, и его подают в турбонасос 4 для топлива из коллектора 23. Топливо выполняет привод турбонасоса 4 для топлива и турбонасоса 5 для окислителя. Выхлопной газ турбины в виде топлива, после привода турбонасоса 4 для топлива и турбонасоса 5 для окислителя, протекает в коллектор 42 через трубу 41. Блок 40А подачи газа подает выхлопной газ турбины в пространство 80 для управления потоком газообразных продуктов сгорания.
Как показано на фиг.8, блок 40А подачи газа включает в себя входное отверстие 45, предусмотренное на внутренней поверхности стенки сопла 20 первого каскада, и канал 43 подачи, соединяющий коллектор 42 и входное отверстие 45. Входное отверстие 45 расположено на верхней стороне относительно точки 12 перегиба. Канал 43 подачи включает в себя сужающийся участок 44, в котором площадь поперечного сечения протока уменьшается в направлении входного отверстия 45. Выходной газ турбины, который попал в коллектор 42, нагнетают в пространство 80 из входного отверстия 45 через канал 43 подачи. Выхлопной газ турбины ускоряется, когда его пропускают через сужающийся участок 44. Входное отверстие 45 осуществляет впрыск выхлопного газа турбины в виде потока в форме пленки, вдоль внутренней поверхности стенки сопла 20 первого каскада в направлении точки 12 перегиба.
Выхлопной газ турбины, который подают через входное отверстие 45, как поток в виде пленки, предотвращает переход газообразных продуктов сгорания, протекающих в пространстве 80, в состояние потока с большой степенью расширения на более ранних периодах работы (на меньшей высоте), чем оптимальная точка.
Также следует ожидать эффект охлаждения поверхности стенки сопла 30 второго каскада выхлопным газом турбины, который поступает в пространство 80.
Эффект настоящего варианта выполнения будет описан со ссылкой на фиг.9. На фиг.9 показан график, представляющий изменение с течением времени рабочей характеристики (удельного импульса) после старта. По вертикальной оси графика представлена рабочая характеристика (удельный импульс), а по горизонтальной оси представлено время от момента старта. Кривая 131 рабочей характеристики представляет изменение с течением времени рабочей характеристики (удельный импульс) сопла 8 ракеты в случае состояния потока с малой степенью расширения, в котором поток газообразных продуктов сгорания отделяется в точке 12 перегиба. Кривая 132 рабочей характеристики представляет изменение с течением времени рабочей характеристики (удельного импульса) сопла 8 ракеты в случае состояния с большой степенью расширения, в котором поток газообразных продуктов сгорания отделяется на выходе 13 из сопла. Оптимально, когда поток газообразных продуктов сгорания в сопле 8 ракеты переходит из состояния потока с малой степенью расширения в состояние потока с большой степенью расширения в момент времени, соответствующий пересечению кривой 131 рабочей характеристики и кривой 132 рабочей характеристики. Пересечение кривой 131 рабочей характеристики и кривой 132 рабочей характеристики называется оптимальной точкой 130 перехода. Кривая 133 рабочей характеристики представляет результат моделирования рабочей характеристики сопла 8 ракеты в случае, когда выхлопной газ турбины не подают в пространство 80 через входное отверстие 45. Кривые 134 рабочих характеристик представляют результат моделирования рабочих характеристик сопла 8 ракеты в случае, когда выхлопной газ турбины поступает в пространство 80 через входное отверстие 45.
При подаче выхлопного газа турбины в пространство 80 через входное отверстие 45, момент времени перехода из состояния потока с малой степенью расширения в состояние потока с большой степенью расширения задерживается, и им управляют так, чтобы переход происходил рядом с оптимальной точкой 130 перехода. Когда временем перехода управляют так, что оно находится рядом с точкой 130 оптимального перехода, величина уменьшения удельного импульса в точке перехода будет мала и вибрация, возникающая сразу после перехода, подавляется.
(Второй вариант выполнения)
Ракетный двигатель 1 в соответствии со вторым вариантом выполнения настоящего изобретения выполнен так же, как и ракетный двигатель 1 в соответствии с первым вариантом выполнения, за исключением того, что секция 40А подачи газа заменена секцией 40В подачи газа. Как показано на фиг.10, секция 40В подачи газа включает в себя, в дополнение к трубе 41, коллектору 42, каналу 43 подачи и входному отверстию 45, которые описаны выше, выхлопную трубу 46, ответвленную от трубы 41, и клапан 47, предусмотренный в выхлопной трубе 46. Клапан 47 открывают и закрывают на основе сигнала 71 управления. Когда клапан 47 открыт, часть выхлопного газа из турбонасоса 5 для окислителя поступает в пространство 80 через входное отверстие 45, и остальную часть выпускают в атмосферу через выхлопную трубу 46. Когда клапан 47 закрыт, весь выхлопной газ турбины из турбонасоса 5 для окислителя подают в пространство 80 через входное отверстие 45.
Высоту Н ракеты с ракетным двигателем 1 отслеживают. Ракета поднимается в состоянии, когда клапан 47 открыт. После этого клапан 47 держат открытым до тех пор, пока он не детектирует, что высота Н превышает заданную высоту H1. Например, высоту H1 определяют на основе высоты, на которой кривая 133 рабочей характеристики отклоняется от кривой 131 рабочей характеристики. Поскольку окружающее давление вокруг ракеты достаточно высокое в момент старта и непосредственно после старта, поток газообразных продуктов сгорания поддерживают в состоянии малой степени потока расширения, даже когда скорость потока выхлопного газа турбины, подаваемого в пространство 80 через входное отверстие 45, мала.
Клапан 47 закрывают, когда детектируют, что высота Н превысила высоту H1. После этого клапан 47 держат закрытым, пока не детектируют, что высота Н превысила заданную высоту Н2. Например, высоту Н2 определяют на основе оптимальной точки 130 перехода, описанной выше. Высота Н2 выше, чем высота H1. Во время подъема ракеты от высоты H1 до высоты Н2 скоростью потока выхлопного газа турбины, подаваемого в пространство 80 через входное отверстие 45, управляют так, чтобы она была велика. В соответствии с этим, поток выхлопного газа турбины поддерживают в состоянии малой степени расширения потока.
Клапан 47 открывают, когда определяют, что высота Н превышает высоту Н2. После этого клапан 47 поддерживают открытым. Переходу газообразных продуктов сгорания из состояния малой степени расширения потока в состояние большой степени расширения потока способствуют путем открывания клапана 47 для уменьшения скорости потока выхлопного газа турбины, подаваемого в пространство 80 через входное отверстие 45.
Клапан 47 может быть закрыт в течение периода времени от момента старта до детектирования высоты Н, превышающей высоту H1, однако ожидается, что поток газообразных продуктов сгорания непосредственно после зажигания стабилизируется, благодаря тому, что открывают клапан 47 для уменьшения скорости потока выхлопного газа турбины, подаваемого в пространство 80 через входное отверстие 45.
(Третий вариант выполнения)
Ракетный двигатель 1 в соответствии с третьим вариантом выполнения настоящего изобретения выполнен так же, как и ракетный двигатель 1 в соответствии с первым вариантом выполнения за исключением того, что секция 40А подачи газа заменена секцией 40С подачи газа. Как показано на фиг.11, секция 40С подачи газа включает в себя в дополнение к трубе 41, коллектору 42, каналу 43 подачи и входному отверстию 45, которые описаны выше, трехходовой клапан 51, предусмотренный на трубе 41, и коллектор 52, расположенный со стороны точки 12 перегиба от коллектора 42 так, что коллектор 52 расположен рядом с коллектором 42. Путем переключения между коллектором 42 и коллектором 52 на основе сигнала 72 управления трехходовой клапан 51 соединяет один из них с турбонасосом 5 для окислителя. Выхлопной газ турбины от турбонасоса 5 для окислителя протекает в коллектор 42 или в коллектор 52, в зависимости от состояния переключения трехходового клапана 51.
Как показано на фиг.12, коллектор 52 предусмотрен вдоль внешней окружности сопла 20 первого каскада (или точки 12 перегиба). Коллектор 52 имеет форму тороида. Блок 40С подачи газа включает в себя входное отверстие 55, предусмотренное на внутренней поверхности стенки сопла 30 второго каскада, и канал 53 подачи, соединяющий коллектор 52 и входное отверстие 55. Канал 53 подачи включает в себя сужающийся участок 54, площадь поперечного сечения протока которого уменьшается в направлении входного отверстия 55. Выхлопной газ турбины, после протекания его в коллекторе 52, нагнетают в пространство 80 из входного отверстия 55 через канал 53 подачи. Выхлопной газ турбины ускоряется, когда его пропускают через сужающий участок 54. Входное отверстие 55 нагнетает выхлопной газ турбины в виде потока в форме пленки вдоль внутренней поверхности стенки сопла 30 второго каскада в направлении к выходу 13 из сопла.
Высоту Н ракеты отслеживают. Ракета взлетает в состоянии, в котором трехходовой клапан 51 соединяет коллектор 52 и турбонасос 5 для окислителя. Когда коллектор 52 соединен с турбонасосом 5 для окислителя, входное отверстие 55 соединено с турбонасосом 5 для окислителя. Трехходовой клапан 51 поддерживает соединение коллектора 52 и турбонасоса 5 для окислителя до тех пор, пока не детектируют, что высота Н превышает высоту H1, описанную выше. Поскольку окружающее давление вокруг ракеты достаточно велико во время старта и непосредственно после старта, поток газообразных продуктов сгорания поддерживают в состоянии малой степени расширения потока, даже когда выхлопной газ турбины не подают в пространство 80 из входного отверстия 45 на стороне перед точкой 12 перегиба.
Когда детектируют, что высота Н превышает высоту H1, трехходовой клапан 51 переключается из состояния соединения коллектора 52 и турбонасоса 5 для окислителя в состояние соединения коллектора 42 и турбонасоса 5 для окислителя. После этого трехходовой клапан 51 поддерживает состояние соединения коллектора 42 и турбонасоса 5 для окислителя до тех пор, пока не детектируют, что высота Н превышает заданную высоту Н2. Когда коллектор 42 соединен с турбонасосом 5 для окислителя, входное отверстие 45 соединено с турбонасосом 5 для окислителя. Когда ракета поднимается от высоты H1 до высоты Н2, выхлопные газы турбины протекают от турбонасоса 5 для окислителя во входное отверстие 45 через коллектор 42 и поступают в пространство 80. В соответствии с этим, поток выхлопного газа окислителя поддерживают в состоянии малой степени расширения потока.
Когда детектируют, что высота Н превышает высоту Н2, трехходовой клапан 51 переключается из состояния подключения коллектора 42 к турбонасосу 5 для окислителя в состояние подключения коллектора 52 к турбонасосу 5 для окислителя. После этого трехходовой клапан 51 поддерживает состояние соединения коллектора 52 и турбонасоса 5 для окислителя. Переходу выхлопного газа турбины из состояния малой степени расширения потока в состояние большой степени расширения потока газообразных продуктов сгорания способствуют путем прекращения подачи в пространство 80 из входного отверстия 45 с помощью трехходового клапана 51. Когда ракета поднимается выше высоты Н2, выхлопной газ турбины протекает от турбонасоса 5 для окислителя во входное отверстие 55 через коллектор 52, и его подают в пространство 80. Соответственно, внутренняя поверхность стенки сопла 30 второго каскада охлаждается с помощью пленки.
Трехходовой клапан 51 можно поддерживать в состоянии соединения коллектора 42 и турбонасоса 5 для окислителя в течение периода от старта до детектирования высоты Н, превышающей высоту H1, однако, ожидается, что поток газообразных продуктов сгорания непосредственно после зажигания стабилизируется благодаря поддержанию состояния соединения коллектора 52 и турбонасоса 5 для окислителя.
(Четвертый вариант выполнения)
Ракетный двигатель 1 в соответствии с четвертым вариантом выполнения настоящего изобретения выполнен так же, как и ракетный двигатель 1 в соответствии с первым вариантом выполнения, за исключением того, что секция 40А подачи газа заменена секцией 40D подачи газа, и что поверхность стенки сопла 30 второго каскада охлаждается топливом до привода турбонасоса 4 для топлива и турбонасоса 5 для окислителя.
Как показано на фиг.13, в ракетном двигателе 1, в соответствии с настоящим вариантом выполнения, коллектор 24 предусмотрен вдоль внешней окружности сопла 20 первого каскада. Коллектор 24 расположен между коллектором 23 и точкой 12 перегиба. Коллектор 23 и коллектор 24 соединены друг с другом с помощью трубы 48, которая предусмотрена снаружи сопла 10 в форме двойного колокола. Коллектор 31 предусмотрен вдоль выходного отверстия 13 сопла. Каждый из коллекторов 24 и 31 выполнен в форме тороида. В сопле 30 второго каскада предусмотрен канал 30а охлаждения, предназначенный для охлаждения поверхности стенки сопла 30 второго каскада. Топливо, после подачи его в коллектор 23 через канал 20b охлаждения, поступает в коллектор 24 через трубу 48. Затем, топливо поступает в коллектор 31 через канал 30а охлаждения, и его подают из коллектора 31 в турбину 4b турбонасоса 4 для топлива. Топливо выпускают наружу после привода турбонасоса 4 для топлива и турбонасоса 5 для окислителя.
Секция 40D подачи газа включает в себя воздухозаборник 62, предусмотренный на внешней поверхности стенки сопла 20 первого каскада, входное отверстие 63, предусмотренное на внутренней поверхности стенки сопла 20 первого каскада, канал 61 для воздуха, соединяющий воздухозаборник 62 и входное отверстие 63, задвижку 64 и механизм 65 привода. Задвижку 64 приводят в действие с помощью механизма 65 привода с тем, чтобы открывать и закрывать воздухозаборник 62. Входное отверстие 63 расположено на стороне перед точкой 12 перегиба.
Высоту Н ракеты отслеживают. Ракета взлетает в состоянии, в котором задвижка 64 установлена в положении, в котором она закрывает воздухозаборник 62. После этого задвижку 64 удерживают в положении, в котором она закрывает воздухозаборник 62 до тех пор, пока не детектируют, что высота Н превышает высоту H1, описанную выше. Поскольку окружающее давление вокруг ракеты достаточно высокое во время старта и непосредственно после старта, поток газообразных продуктов сгорания поддерживают в состоянии малой степени расширения потока, когда воздух не подают в пространство 80 через входное отверстие 63.
Когда детектируют, что высота Н превышает высоту H1, механизм 65 привода сдвигает задвижку 64 в положение, в котором она не закрывает воздухозаборник 62. После этого задвижку 64 поддерживают в положении, в котором она не закрывает воздухозаборник 62 до тех пор, пока не детектируют, что высота Н превышает высоту Н2, описанную выше. Во время подъема ракеты с высоты H1 до высоты Н2, воздух подают в пространство 80 через входное отверстие 63. В соответствии с этим, поток выхлопного газа турбины поддерживают в состоянии малой степени расширения потока.
Когда детектируют, что высота Н превышает высоту Н2, механизм 65 привода передвигает задвижку 64 в положение, в котором она закрывает воздухозаборник 62. Переходу газообразных продуктов сгорания из состояния малой степени расширения потока в состояние большой степени расширения потока способствуют путем прекращения подачи газа в пространство 80 через входное отверстие 63.
После этого задвижку 64 удерживают в положении, в котором она закрывает воздухозаборник 62. Утечка газообразных продуктов сгорания наружу через канал 61 для воздуха при этом предотвращается.
Задвижку 64 можно удерживать в положении, в котором она не закрывает воздухозаборник 62, в течение периода от момента старта до детектирования, что высота Н превышает высоту H1, однако, ожидается, что поток газообразных продуктов сгорания непосредственно после зажигания стабилизируется благодаря тому, что воздухозаборник 62 закрыт.
Секция 40D подачи газа может применяться в твердотопливных ракетных двигателях. В четвертом варианте выполнения поверхность стенки сопла 30 второго каскада можно охлаждать с помощью пленки.
Когда секции 40А-40D подачи газа применяют в ракете, которая включает в себя связку ракетных двигателей, легко синхронизировать моменты времени перехода множества двигателей. В результате стабилизируется управление положением в пространстве ракеты, на которой установлена связка двигателей.
Помимо этого, секции 40А-40D подачи газа эффективно работают при повторном входе ракеты в атмосферу.
Во втором – четвертом вариантах выполнения моментами времени перехода можно управлять более точно путем управления на основе высоты Н ракеты, скорости потока газа, подаваемого в пространство 80 через входное отверстие 45 или 63, которые предусмотрены на внутренней поверхности стенки сопла 20 первого каскада.
Описанные выше варианты выполнения могут быть выражены следующим образом. В следующем описании цифры добавлены для обозначения соответствующих примеров на чертежах.
Сопло ракеты включает в себя сопло (10) в форме двойного колокола и секцию (40А, 40В, 40С, 40D) подачи газа, выполненную с возможностью подачи газа в пространство (80), окруженное соплом в форме двойного колокола. Газообразные продукты сгорания протекают в этом пространстве. Сопло в форме двойного колокола включает в себя сопло первого каскада (20) в форме колокола, окружающее верхний участок (81) пространства, и сопло (30) второго каскада в форме колокола, окружающее нижний участок (82) пространства. Сопло в форме двойного колокола имеет точку (12) перегиба между соплом первого каскада и соплом второго каскада. Секция подачи газа включает в себя первое входное отверстие (45, 63) для газа, предусмотренное на первой внутренней поверхности стенки сопла первого каскада. Газ подают в пространство через первое входное отверстие для газа.
В качестве газа предпочтительно использовать выхлопной газ турбины, после привода турбонасоса (4, 5).
Предпочтительно, чтобы через первое входное отверстие для газа подавали газ, как поток в виде пленки вдоль первой внутренней поверхности стенки.
Предпочтительно, чтобы секция подачи газа включала в себя первый коллектор (42), предусмотренный вдоль внешней окружности сопла первого каскада, и первый канал (43), соединяющий первый коллектор и первое входное отверстие. Первый канал включает в себя участок (44), площадь поперечного сечения протока которого уменьшается в направлении первого входного отверстия. Выхлопной газ турбины протекает в коллектор от турбонасоса и протекает в первое входное отверстие через первый канал.
Предпочтительно, чтобы секция подачи газа включала в себя трубу (41), соединяющую турбонасос и первый коллектор, выхлопную трубу (46), ответвленную от трубы, и клапан (47), предусмотренный на выхлопной трубе.
Предпочтительно, клапан работает в зависимости от высоты ракеты, включающей в себя сопло ракеты.
Предпочтительно, чтобы секция подачи газа включала в себя второе входное отверстие (55) для газа, предусмотренное на второй внутренней поверхности стенки сопла второго каскада, и трехходовой клапан (51). Каждое из первого входного отверстия для газа, второго входного отверстия для газа и турбонасоса соединены с трехходовым клапаном. Через второе входное отверстие для газа выхлопной газ нагнетают в виде потоков в форме пленки вдоль второй внутренней поверхности стенки.
Предпочтительно, чтобы трехходовой клапан переключался между первым входным отверстием для газа и вторым входным отверстием для газа, соединяя одно из первого входного отверстия для газа и второго входного отверстия для газа с турбонасосом.
Предпочтительно, в качестве газа используют воздух.
Предпочтительно, чтобы секция подачи газа включала в себя воздухозаборник (62), предусмотренный на внешней поверхности стенки сопла первого каскада, канал (61) для воздуха, соединяющий воздухозаборник и первое входное отверстие для газа, и задвижку (64), выполненную с возможностью открывать и закрывать воздухозаборник.
Способ управления потоком газообразных продуктов сгорания в ракетном двигателе включает в себя подачу газа в пространство (80), окруженное соплом (10) в форме двойного колокола. Газообразные продукты сгорания протекают в этом пространстве. Сопло в форме двойного колокола включает в себя сопло (20) первого каскада в форме колокола и окружающее верхний участок (81) пространства, и сопло (30) второго каскада в форме колокола, окружающее нижний участок (82) пространства. Сопло в форме двойного колокола имеет точку (12) перегиба между соплом первого каскада и соплом второго каскада. При подаче газ подают в пространство из первого входного отверстия (45, 63) для газа, предусмотренного на первой внутренней поверхности стенки сопла первого каскада.
При подаче газа предпочтительно управлять скоростью потока газа на основе учета высоты ракеты, включающей в себя сопло в форме двойного колокола.
Предпочтительно в качестве газа использовать выхлопной газ турбины, после привода турбонасоса (4, 5). Выхлопная труба (46) ответвляется от трубы (41) для выхлопного газа турбины из турбонасоса в первое входное отверстие для газа. Клапан (47) предусмотрен на выхлопной трубе. При подаче газа предпочтительно открывать клапан, который был закрыт, когда детектируют, что высота ракеты превышает первую высоту.
Предпочтительно, чтобы ракета взлетала в состоянии, когда клапан открыт. При подаче газа, предпочтительно, чтобы открытый клапан был закрыт, когда детектируют, что высота ракеты превышает вторую высоту, которая ниже, чем первая высота.
Предпочтительно, использовать в качестве газа выхлопной газ турбины после выхода его из турбонасоса (4, 5). Второе входное отверстие (55) для газа предусмотрено на второй внутренней поверхности стенки сопла второго каскада. Через второе входное отверстие для газа подают выхлопной газ турбины в виде потока в форме пленки вдоль второй внутренней поверхности стенки. Каждое из первого второго отверстия для газа и второго входного отверстия для газа соединено с турбонасосом через трехходовой клапан (51). При подаче газа предпочтительно, чтобы трехходовой клапан переключался из первого состояния, в котором разрешен поток газа в первое входное отверстие для газа, во второе состояние, в котором разрешен поток газа во второе входное отверстие для газа, когда определяют, что высота ракеты превышает первую высоту.
Предпочтительно, чтобы при взлете ракеты трехходовой клапан находился во втором состоянии. При подаче газа предпочтительно, чтобы трехходовой клапан переключался из второго состояния в первое состояние, когда детектируют, что высота ракеты превышает вторую высоту, которая ниже, чем первая высота.
Предпочтительно использовать воздух в качестве газа. Первое входное отверстие для газа соединено через канал (61) для воздуха с воздухозаборником (62), который предусмотрен на внешней поверхности стенки сопла первого каскада. При подаче газа, задвижку (64) передвигают из первого положения, в котором она не перекрывает воздухозаборник, во второе положение, в котором она закрывает воздухозаборник, когда детектируют, что высота ракеты превышает первую высоту.
Предпочтительно, чтобы ракета взлетала в состоянии, в котором задвижка установлена во втором положении. При подаче газа предпочтительно, чтобы задвижка перемещалась из второго положения в первое положение, когда детектируют, что высота ракеты превышает вторую высоту, которая ниже, чем первая высота.
Хотя настоящее изобретение было описано выше со ссылкой на несколько вариантов его выполнения, для специалистов в данной области техники будет понятно, что эти варианты выполнения предусмотрены исключительно для иллюстрации настоящего изобретения, и на них не следует полагаться в ограничительном смысле при рассмотрении приложенной формулы изобретения.
Формула изобретения
1. Сопло ракеты, содержащее сопло (10) в форме двойного колокола; и секцию (40А, 40В, 40С, 40D) подачи газа, выполненную с возможностью подачи газа в пространство (80), окруженное упомянутым соплом в форме двойного колокола, при этом газообразные продукты сгорания протекают в упомянутом пространстве, упомянутое сопло в форме двойного колокола включает в себя сопло (20) первого каскада, выполненное в форме колокола и окружающее верхний участок (81) упомянутого пространства; и сопло (30) второго каскада, выполненное в форме колокола и окружающее нижний участок (82) упомянутого пространства, сопло в форме двойного колокола имеет точку (12) перегиба между соплом первого каскада и соплом второго каскада, секция подачи газа включает в себя первое входное отверстие (45, 63) для газа, выполненное на первой внутренней поверхности стенки сопла первого каскада, и газ подается в упомянутое пространство через первое входное отверстие для газа.
2. Сопло ракеты по п.1, в котором в качестве упомянутого газа используется выхлопной газ турбины после привода турбонасоса (4, 5).
3. Сопло ракеты по п.2, в котором через упомянутое первое входное отверстие для газа осуществляется нагнетание газа в виде потока, подобного пленке вдоль упомянутой первой внутренней поверхности стенки.
4. Сопло ракеты по п.3, в котором упомянутая секция подачи газа включает в себя первый коллектор (42), выполненный вдоль окружности сопла первого каскада; и первый канал (43), соединяющий первый коллектор и первое входное отверстие, при этом первый канал включает в себя участок (44), площадь поперечного сечения протока которого уменьшается в направлении первого входного отверстия, причем упомянутый выхлопной газ турбины протекает в упомянутый коллектор из турбонасоса и протекает в первое входное отверстие через упомянутый первый канал.
5. Сопло ракеты по п.4, в котором упомянутый блок подачи газа включает в себя трубу (41), соединяющую упомянутый турбонасос и упомянутый первый коллектор; выхлопную трубу (46), ответвляющуюся от упомянутой трубы; и клапан (47), выполненный в упомянутой выхлопной трубе.
6. Сопло ракеты по п.5, в котором упомянутый клапан работает в зависимости от высоты ракеты, содержащей сопло ракеты.
7. Сопло ракеты по п.3 или 4, в котором упомянутая секция подачи газа включает в себя второе входное отверстие (55) для газа, выполненное на второй внутренней поверхности стенки упомянутого сопла второго каскада; и трехходовой клапан (51), причем каждое из упомянутых первого входного отверстия для газа, второго входного отверстия для газа и турбонасоса соединены с упомянутым трехходовым клапаном, при этом через второе входное отверстие для газа нагнетается выхлопной газ турбины в виде потока, подобного пленке вдоль упомянутой второй внутренней поверхности стенки.
8. Сопло ракеты по п.7, в котором упомянутый трехходовой клапан выполнен с возможностью переключения между упомянутым первым входным отверстием для газа и вторым входным отверстием для газа для соединения одного из упомянутых первого входного отверстия для газа и второго входного отверстия для газа с турбонасосом.
9. Сопло ракеты по п.1, в котором в качестве упомянутого газа используется воздух.
10. Сопло ракеты по п.9, в котором упомянутая секция подачи газа включает в себя воздухозаборник (62), выполненный на внешней поверхности стенки сопла первого каскада; канал (61) для воздуха, соединяющий воздухозаборник и первое входное отверстие для газа; и задвижку (64), выполненную с возможностью открывать и закрывать воздухозаборник.
11. Способ управления потоком газообразных продуктов сгорания в ракетном двигателе, включающий в себя подачу газа в пространство (80), окруженное соплом (10) в форме двойного колокола, при этом газообразные продукты сгорания протекают в упомянутом пространстве, а упомянутое сопло в форме двойного колокола включает в себя сопло (20) первого каскада в форме колокола, окружающее верхний участок (81) упомянутого пространства; и сопло (30) второго каскада в форме колокола, окружающее нижний участок (82) упомянутого пространства, при этом сопло в форме двойного колокола имеет точку (12) перегиба между соплом первого каскада и соплом второго каскада, а при подаче газа его вводят в упомянутое пространство через первое входное отверстие (45, 63) для газа, выполненное на первой внутренней поверхности стенки сопла первого каскада.
12. Способ управления потоком газообразных продуктов сгорания в ракетном двигателе по п.11, в котором при подаче газа управляют расходом газа в зависимости от высоты ракеты, содержащей упомянутое сопло в форме двойного колокола.
13. Способ управления потоком газообразных продуктов сгорания в ракетном двигателе по п.12, в котором используют в качестве упомянутого газа выхлопной газ турбины после привода турбонасоса (4, 5), при этом выхлопная труба (46) выполнена как ответвление от трубы (41) для подачи упомянутого выхлопного газа турбины от упомянутого турбонасоса в упомянутое первое входное отверстие для газа, причем упомянутая выхлопная труба снабжена клапаном (47), и при подаче газа упомянутый клапан, находящийся в закрытом состоянии, открывают, когда определяют, что высота ракеты превышает первую высоту.
14. Способ управления потоком газообразных продуктов сгорания в ракетном двигателе по п.13, в котором упомянутая ракета взлетает в состоянии, когда упомянутый клапан открыт, при этом при подаче газа упомянутый клапан, находящийся в открытом состоянии, закрывают, когда определяют, что высота ракеты превышает вторую высоту, которая ниже, чем упомянутая первая высота.
15. Способ управления потоком газообразных продуктов сгорания в ракетном двигателе по п.12, в котором в качестве упомянутого газа используют выхлопной газ турбины после привода турбонасоса (4, 5), при этом на второй внутренней поверхности стенки сопла второго каскада выполнено второе входное отверстие (55) для газа, причем через второе входное отверстие для газа нагнетают выхлопной газ турбины в виде потока, подобного пленке вдоль упомянутой второй внутренней поверхности стенки, каждое из упомянутых первого входного отверстия для газа и второго входного отверстия для газа соединены с турбонасосом через трехходовой клапан (51) и при подаче газа трехходовой клапан переключают из первого состояния, в котором обеспечивается возможность потока выхлопного газа к первому входному отверстию для газа, во второе состояние, что обеспечивает возможность протекания выхлопного газа ко второму входному отверстию, когда определяют, что высота ракеты превышает первую высоту.
16. Способ управления потоком газообразных продуктов сгорания в ракетном двигателе по п.15, в котором при взлете ракеты упомянутый трехходовой клапан находится в упомянутом втором состоянии, и при подаче газа трехходовой клапан переключают из второго состояния в первое состояние, когда определяют, что высота ракеты превышает вторую высоту, которая ниже, чем упомянутая первая высота.
17. Способ управления потоком газообразных продуктов сгорания в ракетном двигателе по п.12, в котором в качестве упомянутого газа используют воздух, при этом упомянутое первое входное отверстие для газа соединяют через канал (61) для воздуха с воздухозаборником (62), который предусмотрен на внешней поверхности стенки упомянутого сопла первого каскада, и при подаче газа задвижку (64) передвигают из первого положения, в котором она не закрывает упомянутый воздухозаборник, во второе положение, в котором она закрывает упомянутый воздухозаборник, когда определяют, что высота ракеты превышает первую высоту.
18. Способ управления потоком газообразных продуктов сгорания в ракетном двигателе по п.17, в котором при взлете ракеты упомянутая задвижка расположена в упомянутом втором положении, и при подаче газа задвижку перемещают из второго положения в первое положение, когда определяют, что высота ракеты превышает вторую высоту, которая ниже, чем упомянутая первая высота.
РИСУНКИ
|
|