|
|
(21), (22) Заявка: 2008133371/06, 14.08.2008
(24) Дата начала отсчета срока действия патента:
14.08.2008
(46) Опубликовано: 10.03.2010
(56) Список документов, цитированных в отчете о поиске:
US 2921435 А, 19.01.1960. US 5070761 А, 08.07.1980. US 3210937 А, 12.10.1965. US 4637572 А, 20.01.1987. DE 2127678 A1, 26.07.1973. RU 2037066 С1, 09.06.1995.
Адрес для переписки:
125284, Москва, Ленинградский пр-кт, 35, ОАО “МКБ “Искра”, г. А.П. Лопатину
|
(72) Автор(ы):
Граменицкий Михаил Дмитриевич (RU), Лопатин Александр Павлович (RU), Сорокин Владимир Алексеевич (RU)
(73) Патентообладатель(и):
Открытое акционерное общество “Машиностроительное конструкторское бюро “Искра” имени Ивана Ивановича Картукова” (RU)
|
(54) УПРАВЛЯЮЩИЙ РАКЕТНЫЙ ДВИГАТЕЛЬ ТВЕРДОГО ТОПЛИВА
(57) Реферат:
Изобретение относится к ракетной технике и может быть использовано при проектировании управляемых ракет. Управляющий ракетный двигатель твердого топлива содержит цилиндрический корпус, сопряженный с горловиной плечевым поясом полусферической формы, сопловое устройство, дефлектор и шаровую опору. На плечевом поясе образован кольцевой выступ, а сопловое устройство выполнено в виде равномерно расположенных на горловине в плоскости, перпендикулярной продольной оси корпуса, сопловых отверстий. Ось каждого из сопловых отверстий проходит выше кольцевого выступа. Горловина имеет вогнутое в корпус днище, взаимодействующее с дефлектором посредством шаровой опоры, центр которой расположен на продольной оси ниже кольцевого выступа. Дефлектор выполнен в виде V-образной тарели с кольцом на его периферийной части, нависающим над кольцевым выступом с образованием щели. Внутренняя поверхность кольца имеет форму сферы и выполнена ответной наружной поверхности выступа. Изобретение позволяет создавать требуемые управляющие усилия в плоскости, перпендикулярной оси двигателя, с помощью простого, компактного устройства, а также повысить надежность ракеты с таким двигателем и снизить линейные габариты последнего. 2 ил.
Изобретение относится к ракетной технике и может быть использовано при проектировании управляемых ракет.
Задача управления и стабилизации ракеты связана с формированием в определенные моменты управляющей (боковой) силы относительно центра масс ракеты, заставляющей ее совершать маневр в нужную сторону или сохранять заданное направление движения.
Стремление, по возможности, сохранить во всех случаях простоту и надежность твердотопливного двигателя ракеты привело к созданию большого числа разнообразных конструктивных схем силовых исполнительных органов систем управления вектором тяги. Каждая из них обладает своим комплексом достоинств и недостатков и реализуется на практике, если при соответствующих заданных условиях она является оптимальной в принятой схеме критериев (эффективность, стоимость, время, минимум массы и т.п.).
В одних случаях применяют для управления вектором тяги газовые рули, как в известной твердотопливной разгонной двигательной установке, снабженной газовыми рулями, жестко связанными с качалками, на качалках газовых рулей выполнены пазы, обеспечивающие зацепление с воздушными рулями (Патент РФ 2209331, F02K 9/80, 12.09.2001).
Эффективность газовых рулей невысока: как правило, несколько процентов от тяги двигателя.
В других случаях целесообразно применение поворотного соплового блока, как в известной двигательной установке (Патент GB 2086321, F02K 9/90, 15.08.1979 г.). Такие конструкции, являясь весьма сложными, требуют также применения сложного механизма управления.
Наиболее близким по технической сущности и достигаемому положительному эффекту к предлагаемому изобретению является управляющий ракетный двигатель твердого топлива (РДТТ). (Я.М.Шапиро, Г.Ю.Мазинг, Н.Е.Прудников. Основы проектирования ракет на твердом топливе. Военное издательство. М., 1968. См. стр.220-221, рис.6.22).
В конструкции этого РДТТ для регулирования вектора тяги применяются 2 дефлектора – сферические насадки, устанавливаемые на выходном сечении сопла двигателя. Поворот насадка в нужном направлении осуществляется с помощью рулевых машин. Каждый насадок имеет свои шаровые опоры.
На мощных ракетах с большим временем работы (несколько десятков секунд), где требуется постоянное изменение траектории или ее корректировка, применение дефлектора достаточно эффективно. Однако в ракетах с малым временем работы двигателя (несколько секунд), например, класса «воздух – воздух» использование дефлектора в вышеуказанной конструкции не позволяет осуществить быстрый маневр ракеты во время полета, так как угол поворота дефлектора весьма ограничен. Кроме того, использование двух насадков для регулирования тяги в широком диапазоне значительно усложняет конструкцию.
Задачей настоящего изобретения является создание управляющего двигателя с «глубоким» регулированием, позволяющим создавать требуемые управляющие усилия в любом направлении в плоскости, перпендикулярной оси двигателя (ракеты) с помощью простого компактного устройства.
Сущность изобретения заключается в том, что в управляющем РДТТ, содержащем цилиндрический корпус, сопряженный с горловиной плечевым поясом, сопловое устройство, дефлектор, шаровую опору, на плечевом поясе образован кольцевой выступ, а сопловое устройство выполнено в виде равномерно расположенных на горловине в плоскости, перпендикулярной оси корпуса, сопел, ось каждого из которых проходит выше кольцевого выступа. Горловина имеет вогнутое в корпус днище, взаимодействующее с дефлектором посредством шаровой опоры, центр которой расположен на продольной оси ниже кольцевого выступа, дефлектор выполнен в виде V-образной тарели с кольцом на его периферийной части, нависающим над кольцевым выступом с образованием щели, причем внутренняя поверхность кольца имеет форму сферы и выполнена ответной наружной поверхности выступа.
Благодаря новым признакам управляющего РДТТ ракета становится более надежной и более маневренной во время полета.
Задача достигается тем, что дефлектор сопрягается с корпусом двигателя через одну шаровую опору, расположенную по оси двигателя. Это позволяет ему перемещаться (качаться) в любой плоскости, проходящей через ось двигателя, в которой требуется создать боковое управляющее усилие. Наличие только одной шаровой опоры значительно упрощает задачу обеспечения его надежной работы (минимум трения, точность геометрии, точность расположения и др.).
Применение многосоплового устройства и вогнутого в корпус днища позволяет уменьшить линейные габариты двигателя.
Кроме этого, газовые струи, истекающие из многосоплового устройства, образуют газовое кольцо сравнительно небольшой ширины. Это обстоятельство позволяет иметь небольшое угловое перемещение периферийной части дефлектора для полного открытия или закрытия истекающей газовой струи и получения соответственно максимальной боковой тяги в нужном направлении.
Выполнение поверхностей тарели и выступа ответными дает возможность наличия между ними минимального технологического зазора, обеспечивая тем самым условия минимума перетекания газа.
Предлагаемое техническое решение не известно из патентной и технической литературы.
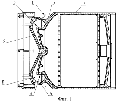
Изобретение поясняется чертежами, изображающими продольный разрез двигателя в разных фазах:
на фиг.1 изображен управляющий РДТТ в исходном положении,
на фиг.2 изображен управляющий РДТТ с крайним положением дефлектора, соответствующим максимальному управляющему усилию.
Управляющий РДТТ имеет цилиндрический корпус 1, сопряженный с горловиной 2 плечевым поясом 3, сопловое устройство в виде равномерно расположенных на горловине 2 сопловых отверстий 4, дефлектор 5 в виде V-образной тарели, на периферийной части которого выполнено кольцо 6. На плечевом поясе 3 выполнен кольцевой выступ 7. Сопловые отверстия 4 равномерно расположены на горловине 2 в плоскости А, перпендикулярной продольной оси корпуса 1. Ось каждого соплового отверстия 4 проходит выше уровня кольцевого выступа 7.
Горловина 2 имеет вогнутое в корпус 1 днище 8, в центре которого установлена шаровая опора 9, взаимодействующая с дефлектором 5, причем центр шаровой опоры 9 расположен на продольной оси, проходящей за плоскостью А ниже кольцевого выступа 7. Внутренняя поверхность В кольца 6 имеет форму вписанной сферы, а наружная часть кольцевого выступа 7 повторяет эту форму, причем центр вписанной сферы совпадает с центром шаровой опоры 9 и расположен за плоскостью А. Между кольцом 6 дефлектора 5 и кольцевым выступом 7 в исходном положении РДТТ имеется кольцевая щель С.
На плечевом поясе 3 с помощью стоек 10 закреплен стыковочный фланец 11. На фланце 11 установлены рулевые машины 12, взаимодействующие через штоки 13 с периферийной частью тарели.
Устройство работает следующим образом.
При включении управляющего РДТТ в исходном положении (фиг.1) продукты сгорания истекают через сопловые отверстия 4 в полость Д, образованную дефлектором 5, горловиной 2 с вогнутым днищем 8 и выступом 7. Затем продукты сгорания истекают наружу через кольцевую щель С, создавая тягу вдоль продольной оси двигателя (боковая тяга отсутствует).
При включении управляющего РДТТ в крайнем положении (фиг.2) часть сопловых отверстий 4 открывается для прямого истечения газовой струи наружу в направлении, перпендикулярном продольной оси двигателя. Газовая струя из другой части сопловых отверстий 4, полностью закрытых дефлектором 5, перетекает по полости Д в сторону образовавшейся щели для прямого истечения. Таким образом, создается боковая тяга двигателя (управляющее усилие).
Перемещение дефлектора 5 в исходное, крайнее или промежуточное положение в любой плоскости, проходящей через продольную ось двигателя, осуществляется с помощью исполнительных механизмов – рулевых машин 12 через штоки 13 по программе управления ракетой.
Формула изобретения
Управляющий ракетный двигатель твердого топлива, содержащий цилиндрический корпус, сопряженный с горловиной плечевым поясом полусферической формы, сопловое устройство, дефлектор, шаровую опору, отличающийся тем, что на плечевом поясе образован кольцевой выступ, а сопловое устройство выполнено в виде равномерно расположенных на горловине в плоскости, перпендикулярной продольной оси корпуса, сопловых отверстий, ось каждого из которых проходит выше кольцевого выступа, причем горловина имеет вогнутое в корпус днище, взаимодействующее с дефлектором посредством шаровой опоры, центр которой расположен на продольной оси ниже кольцевого выступа, дефлектор выполнен в виде V-образной тарели с кольцом на его периферийной части, нависающим над кольцевым выступом с образованием щели, причем внутренняя поверхность кольца имеет форму сферы и выполнена ответной наружной поверхности выступа.
РИСУНКИ
|
|