|
|
(21), (22) Заявка: 2008119425/06, 17.10.2006
(24) Дата начала отсчета срока действия патента:
17.10.2006
(30) Конвенционный приоритет:
18.10.2005 JP 2005-303488
(43) Дата публикации заявки: 27.11.2009
(46) Опубликовано: 10.03.2010
(56) Список документов, цитированных в отчете о поиске:
RU 99120583 А, 27.06.2001. RU 2224133 C2, 20.02.2004. SU 1110917 A, 30.08.1984. WO 01/90656 A1, 29.11.2001. JP 2004263572 A, 24.09.2004. JP 2004245515 A, 02.09.2004.
(85) Дата перевода заявки PCT на национальную фазу:
19.05.2008
(86) Заявка PCT:
JP 2006/320624 20061017
(87) Публикация PCT:
WO 2007/046362 20070426
Адрес для переписки:
129090, Москва, ул.Б.Спасская, 25, стр.3, ООО “Юридическая фирма Городисский и Партнеры”, пат.пов. А.В.Мицу, рег. 364
|
(72) Автор(ы):
ДЗИННО Хидеюки (JP), КАВАМУРА Хацухико (JP)
(73) Патентообладатель(и):
РИННАЙ КОРПОРЕЙШН (JP)
|
(54) КОГЕНЕРАЦИОННАЯ СИСТЕМА
(57) Реферат:
Изобретение относится к системам для производства электроэнергии и тепла. Когенерационная система содержит двигатель Стирлинга, горелку, первый выхлопной канал, второй выхлопной канал, первичный теплообменник и вторичный теплообменник. Двигатель Стирлинга имеет головку в форме пилона. Горелка обращена к концевой поверхности нагреваемой головки двигателя Стирлинга. Первый выхлопной канал проходит вдоль боковой поверхности нагреваемой головки двигателя Стирлинга. Второй выхлопной канал продолжается из первого выхлопного канала и проходит вдоль боковой стороны первого выхлопного канала напротив двигателя Стирлинга. Первичный теплообменник расположен на боковой стороне второго выхлопного канала напротив двигателя Стирлинга. Вторичный теплообменник соединен с выходом второго выхлопного канала. Вторичный теплообменник является теплообменником скрытого тепла, который может извлекать скрытое тепло из отработавшего газа с помощью конденсации пара, включенного в отработавший газ. Техническим результатом является уменьшение потерь тепла. 5 з.п. ф-лы, 5 ил.
Область техники, к которой относится изобретение
Настоящее изобретение относится к когенерационной системе. В частности, настоящее изобретение относится к когенерационной системе, которая включает в себя двигатель Стирлинга.
Описание предшествующего уровня техники
Была разработана когенерационная система, в которой генератор приводится в движение с помощью топлива, такого как горючий газ, а тепло, производимое при приведении в движение, извлекается для использования для кондиционирования воздуха, нагревания подаваемой воды (предпочтительно, нагревание воды), и тому подобным применениям.
Публикация РСТ WO 01/90656 описывает когенерационную систему, включающую двигатель Стирлинга. Эта когенерационная система включает, дополнительно к двигателю Стирлинга, горелку для нагрева нагреваемой головки двигателя Стирлинга, а также теплообменник для извлечения тепла из газа, сжигаемого в горелке. В когенерационной системе газ, сжигаемый в горелке, направляется через канал в теплообменник.
Краткая сущность изобретения
По мере того как газ, сожженный в горелке, проходит по каналу к теплообменнику в описанной выше обычно применяемой системе, тепло, образовавшееся при сжигании газа, может уходить во внешнюю атмосферу. Далее, тепло отработанных газов (которое рассматривается как тепло, выделенное в атмосферу без использования) бесполезно выделяется, что приводит к уменьшению эффективности когенерационной системы.
Настоящее изобретение, которое решает указанную выше проблему, предоставляет технологию, способную уменьшить выброс тепла на выходе благодаря тому, что предотвращается потеря тепла, полученного при сгорании газа, во внешнюю атмосферу.
Когенерационная система, существующая в настоящее время, оснащается двигателем Стирлинга, горелкой, первым выхлопным каналом, вторым выхлопным каналом, который продолжает первый выхлопной канал, и теплообменником. Двигатель Стирлинга имеет нагреваемую головку, выполненную в форме пилона. Горелка направлена на торцевую поверхность нагреваемой головки двигателя Стирлинга. Первый выхлопной канал проходит вдоль боковой поверхности нагреваемой головки двигателя Стирлинга. Второй выхлопной канал проходит вдоль первого выхлопного канала по его стороне, противоположной двигателю Стирлинга. Первичный теплообменник установлен на стенке второго выхлопного канала со стороны, противоположной двигателю Стирлинга.
В когенерационной системе отработавший газ из горелки сначала направляется в первый выхлопной канал. Поскольку в первом выхлопном канале отработавший газ из горелки проходит вдоль боковой поверхности нагреваемой головки двигателя Стирлинга, тепло, полученное при сгорании газа, используется для нагрева двигателя Стирлинга. После прохождения через первый выхлопной канал отработавший газ направляется далее во второй выхлопной канал. Во втором выхлопном канале тепло из отработавшего газа извлекается в первичном теплообменнике, потому что отработавший газ двигается от горелки вдоль первого теплообменника.
Когенерационная система имеет первый выхлопной канал и второй выхлопной канал, расположенные слоями друг за другом между двигателем Стирлинга и первым теплообменником. Таким путем предотвращается потеря тепла отработавшего газа во внешнюю атмосферу, и следовательно, достигается эффективный нагрев двигателя Стирлинга и поглощение выходящего тепла в первичном теплообменнике. Дополнительно к этому достигается высокотемпературный нагрев нагреваемой головки двигателя Стирлинга, поскольку в первом выхлопном канале поддерживается повышенная температура благодаря тому, что первый выхлопной канал изолируется от первого теплообменника вторым выхлопным каналом.
Использованием когенерационной системы предотвращается потеря тепла от отработавшего газа в атмосферу, благодаря чему выбрасываемое тепло, предпочтительно, уменьшается.
Предпочтительно, чтобы в вышеуказанной когенерационной системе первый выхлопной канал окружал боковую поверхность нагреваемой головки двигателя Стирлинга, второй выхлопной канал окружал первый выхлопной канал на его внешней стороне, а первичный теплообменник окружал второй выхлопной канал на его внешней стороне.
Поскольку первый выхлопной канал и второй выхлопной канал окружены двигателем Стирлинга и первичным теплообменником в когенерационной системе, далее устраняется потеря тепла сгоравшего газа в атмосферу из горелки.
Когенерационная система может иметь вторичный теплообменник, который размещен на выходящем потоке второго выхлопного канала.
Это позволяет извлекать тепло, остающееся в отработавшем газе, выходящем из второго выхлопного канала, уменьшая таким образом потерю тепла на выходе.
Предпочтительно, чтобы вторичный теплообменник был бы теплообменником скрытой теплоты, который может извлекать скрытую теплоту путем конденсации пара из отработавшего газа.
Поскольку отработавший в горелке газ содержит большое количество пара, скрытая теплота может быть извлечена из отработавшего газа конденсацией больших объемов пара. Когда вторичный теплообменник представляет собой теплообменник скрытой теплоты, большое количество тепла может быть извлечено из отработавшего газа, температура которого была снижена в первом теплообменнике, что приводит к уменьшению выбрасываемого наружу тепла.
В соответствии с настоящим изобретением, предотвращение утечки тепла отработавшего газа во внешнюю атмосферу уменьшает потерю тепла и таким образом может значительно улучшить эффективность когенерационной системы.
Краткое описание чертежей
Фиг.1 схематически показывает структуру когенерационной системы.
Фиг.2 – вид в разрезе, показывающий схематическую конфигурацию топочной камеры.
Фиг.3 – перспективный вид, показывающий топочную камеру снаружи.
Фиг.4 – вид в перспективе, показывающий схематическую конфигурацию части топочной камеры.
Фиг.5 – график, показывающий изменение температуры сгоревшего газа, проходящего через выхлопной канал.
Ссылочные позиции на чертежах
10: когенерационная система
20: камера сгорания
24: горелка
26: первичный теплообменник
40: вторичный теплообменник
70: двигатель Стирлинга
А: первый выхлопной канал
В: второй выхлопной канал
C: третий выхлопной канал
D: четвертый выхлопной канал
Е: пятый выхлопной канал
Подробное описание изобретения
Основные признаки варианта осуществления изобретения
Признак 1: когенерационная система имеет двигатель Стирлинга свободно поршневого типа.
Параметр 2: когенерационная система имеет горелку для сжигания горючего газа.
Параметр 3: когенерационная система имеет газодувку, которая всасывает сгоревший газ из горелки для вывода его наружу.
Воплощение изобретения
Предпочтительный вариант осуществления настоящего изобретения будет описан с отсылкой к чертежам.
На фиг.1 дана принципиальная схема, показывающая структуру когенерационной системы 10 в соответствии с настоящим изобретением. Когенерационная система имеет двигатель Стирлинга 70 и камеру сгорания 20. Двигатель Стирлинга 70 оборудован нагреваемыми головками 94а и 94b в форме пилона (точнее в форме цилиндрического пилона), а также охладитель 96. В силу того, что при работе двигателя Стирлинга 70 имеется вибрация, двигатель Стирлинга 70 опирается на эластичный элемент рамы (не показан) когенерационной системы 10. Однако камера сгорания 20 зафиксирована на раме. Соответственно камера сгорания 20 и двигатель Стирлинга 70 не скреплены друг с другом, что исключает передачу вибрации от двигателя Стирлинга 70 к камере сгорания 20, даже если двигатель Стирлинга 70 вибрирует при работе.
Камера сгорания 20 состоит из горелки 24 для сжигания горючего газа и нагревания головок 94а и 94b двигателя Стирлинга. Кроме того, камера сгорания 20 также содержит теплообменники 26 и 40 для извлечения тепла, произведенного при нагревании двигателя Стирлинга. Двигатель Стирлинга 70 приводится в движение, когда нагреваемые головки 94а и 94b нагреваются камерой сгорания 20, а сам он охлаждается охладителем 96; таким образом производится переменный ток и обеспечивается электроснабжение внешних электрических машин и аппаратов. Когенерационная система 10 является комбинированной системой снабжения теплом и электроэнергией, в которой сжигается горючий газ для получения как тепла, так и электричества.
На фиг.1 приводится структура двигателя Стирлинга 70. Двигатель Стирлинга 70, который относится к так называемому двигателю Стирлинга «бета-типа», имеет корпус 94, выполненный в форме пилона, вытеснительный поршень 78, установленный в рабочих полостях 100 и 102 внутри корпуса 94, и рабочий поршень, обращенный к рабочей полости 100 корпуса 94. Нагреваемые головки 94а и 94b в двигателе Стирлинга 70 находятся в верхней части корпуса 94, как показано на чертеже.
Вытеснительный поршень 78 помещен в цилиндр 104, установленный в рабочих полостях 100 и 102, и поддерживается с возможностью скольжения штоком 72, который закреплен в корпусе 94. Вытеснительный поршень 78 соединен со штоком 72 с помощью двух пружинных элементов 76, позволяя таким образом вытеснительному поршню 78 двигаться возвратно-поступательно вдоль внутренней поверхности 104а цилиндра 104 с заданной частотой (характеристическая частота). Характеристическая частота вытеснительного поршня 78 может регулироваться жесткостью пружины двух пружинных элементов 76. В связи с этим, для каждого из пружинных элементов 76 может использоваться пластинчатая пружина или подобная. С другой стороны, шток 72 крепится к корпусу 94 через фиксирующую пластину 79, в которой сформировано множество отверстий 79а.
Рабочие полости 100 и 102 наполнены рабочим агентом в виде газообразного гелия. Что касается рабочих полостей 100 и 102, то рабочая полость 102, размещенная выше вытеснительного поршня 78, как показано на чертеже, является нагреваемой рабочей полостью, нагреваемой топочной камерой 20. Рабочая полость 102 находится во внутренней области между нагреваемыми головками 94а и 94b. С другой стороны, рабочая полость 100, расположенная ниже вытеснительного поршня 78, как показано на чертеже, является охлаждаемой рабочей полостью, охлаждение которой осуществляется охладителем 96. Нагреваемая рабочая полость 102 сообщается с охлаждаемой рабочей полостью 100 полостью между внешней поверхностью 104b цилиндра 104 и внутренней поверхностью корпуса 94, и в этой соединительной полости установлен регенератор 74.
В двигателе Стирлинга 70 газообразный гелий в нагреваемой рабочей полости 102 непрерывно нагревается, в то время как газообразный гелий в охлаждаемой рабочей полости 100 непрерывно охлаждается, вызывая возвратно-поступательное движение вытеснительного поршня 78 внутри цилиндра 104. Возвратно-поступательное движение вытеснительного поршня 78 может изменяться пропорционально соотношению объемов нагреваемой рабочей полости 102 и охлаждаемой рабочей полости 100. Например, когда вытеснительный поршень 78 двигается в сторону нагреваемой рабочей полости 102, нагреваемая рабочая полость 102 уменьшается, а охлаждаемая рабочая полость 100 соответственно увеличивается. В это время газообразный гелий в нагреваемой рабочей полости 102 двигается через регенератор 74 в охлаждаемую рабочую полость 100. И наоборот, когда вытеснительный поршень 78 двигается в сторону охлаждаемой рабочей полости 100, охлаждаемая рабочая полость 100 становится меньше, а нагреваемая рабочая полость 102 соответственно увеличивается. Тогда газообразный гелий, содержащийся в охлаждаемой рабочей полости 100, двигается через регенератор 74 в нагреваемую рабочую полость 102. Поскольку изменение отношения между объемом нагреваемой рабочей полости 102 и объемом охлаждаемой рабочей полости 100 приводит к изменению в соотношении газообразного гелия при высокой температуре и газообразного гелия при низкой температуре, происходит изменение давления во всех рабочих полостях 100 и 102. Изменение давления во всех рабочих полостях 100 и 102 передается на выходной поршень 80, обращенный к полости 100.
Выходной поршень 80, имеющий шток 82, который соединяется через пружинные элементы 84 и 92 с корпусом 94, поддерживается так, что может совершать возвратно-поступательное движение вдоль вертикального направления чертежа с заданной частотой (характеристическая частота). Характеристическая частота выходного поршня может быть изменена жесткостью пружин пружинных элементов 84 и 92. В этом варианте осуществления характеристическая частота выходного поршня 80 настраивается так, чтобы быть равной характеристической частоте вытеснительного поршня 78.
Выходной поршень 80 приводится в возвратно-поступательное перемещение описанными выше колебаниями давления, которые происходят, в целом, во всех рабочих полостях 100 и 102. Далее, частота выходного поршня 80 приводится в соответствие с частотой вытеснительного поршня 78. Поскольку характеристические частоты выходного поршня 80 и вытеснительного поршня 78 приведены к равной величине, предотвращается вредное затухание выходного поршня 80 или вытеснительного поршня 78.
Как показано на фиг.1, на штоке 82 выходного поршня 80 установлено множество магнитов 86. Далее, на стенке корпуса 94 размещены железный сердечник 88 и обмотка 90 в положении напротив множества магнитов 86. В двигателе Стирлинга 70 генератор сконструирован с использованием группы магнитов 86, железного сердечника 88, обмотки 90 и других компонентов так, чтобы генерировать переменный ток путем возвратно-поступательного движения выходного поршня 80. Здесь частота генерируемого переменного тока равна частоте возвратно-поступательного движения выходного поршня 80. Соответственно, частота генерируемого переменного тока может быть отрегулирована изменением характеристической частоты вытеснительного поршня 78 или выходного поршня 80.
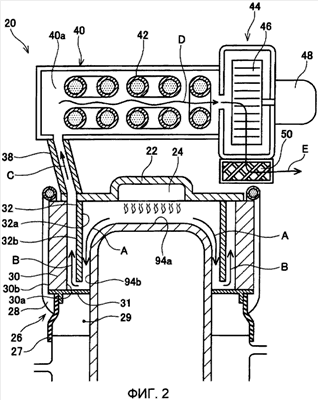
Далее описывается камера сгорания 20. На фиг.2 дано поперечное сечение, показывающее принципиальную схему камеры сгорания 20; на фиг.3 дан перспективный вид, показывающий камеру сгорания 20 снаружи.
Как показано на фиг.2 и 3, камера сгорания 20 содержит торцевую крышку 22 и горелку 24, прикрепленную к торцевой крышке 22. Горелка 24 направлена на торцевую поверхность 94а нагреваемой головки двигателя Стирлинга 70. Топливно-воздушная смесь, в которой горючий газ и воздух смешаны, поступает в горелку 24 через отверстие 25 подачи газа. В горелке 24 горючий газ сжигается для того, чтобы нагреть торцевую поверхность 94а нагреваемой головки и боковую поверхность 94b нагреваемой головки в двигателе Стирлинга 70. Далее, горелка 24 нагревает торцевую поверхность 94а нагреваемой головки приблизительно до 650°С и боковую поверхность 94b нагреваемой головки приблизительно до 600°С.
На фиг.4 дан перспективный вид камеры сгорания 20, с которой удалены торцевая крышка 22 и другие компоненты. Как показано на фиг.2 и 4, камера сгорания 20 включает в себя цилиндрическую разделительную секцию 32, прикрепленную к торцевой крышке 22. Цилиндрическая разделительная секция 32 проходит вдоль боковой поверхности 94b нагреваемой головки в двигателе Стирлинга 70. Между боковой поверхностью 94b нагреваемой головки двигателя Стирлинга 70 и внутренней поверхностью 32а разделительной секции 32 имеется зазор, который создает первый выхлопной канал А, в который поступает сгоревший газ из горелки 24 по боковой поверхности 94b нагреваемой головки в двигателе Стирлинга 70. Первый выхлопной канал А проходит от торцевой поверхности 94а нагреваемой головки в двигателе Стирлинга 70 вдоль боковой поверхности 94b нагреваемой головки в двигателе Стирлинга 70. Первый выхлопной канал А сформирован пространством, имеющим приблизительно цилиндрическую форму так, чтобы окружать боковую поверхность 94b нагреваемой головки.
В камере сгорания 20, в то время как сгоревший газ из горелки 24 проходит через первый выхлопной канал А, двигатель Стирлинга 70 нагревается теплом сгоревшего газа. Таким образом обеспечивается мощность двигателя Стирлинга 70.
Как показано на фиг.2, 3 и 4, камера сгорания 20 содержит первичный теплообменник 26. Первичный теплообменник 26 включает в себя теплопроводящий элемент 30 цилиндрической формы и теплоотводящую трубку 28, установленную вдоль внешней поверхности 30b теплопроводящего элемента 30. Теплопроводящий элемент 30 размещен так, чтобы окружать внешнюю поверхность 32b разделительной секции 32; внутренняя поверхность 30а теплопроводящего элемента 30 обращена к внешней поверхности 32b разделительной секции 32. Зазор, образовавшийся между внешней поверхностью 32b разделительной секции 32 и внутренней поверхностью 30а теплопроводящего элемента 30, создает второй выхлопной канал В. На внутренней поверхности 30а теплопроводящего элемента 30 сделано большое число канавок для того, чтобы образовать на теплопроводящем элементе 30 большую площадь, граничащую со вторым выхлопным каналом В.
Второй выхлопной канал В соединяется с первым выхлопным каналом А. Второй выхлопной канал В расположен на стороне первого выхлопного канала А, противолежащей по отношению к двигателю Стирлинга 70, и проходит вдоль первого выхлопного канала А.
Отработавший газ выходит из первого выхлопного канала А, изменяет направление и попадает во второй выхлопной канал В. Второй выхлопной канал, который сформирован по существу цилиндрическим пространством, окружает первый выхлопной канал А снаружи поверх разделительной секции 32.
Пластинчатый элемент 31, предназначенный, как показано на чертеже, для формирования области соединения первого выхлопного канала А и второго выхлопного канала В, прикреплен к нижнему концу теплопроводящего элемента 30. Пластинчатый элемент 31 прикреплен к теплопроводящему элементу 30 и проходит от теплопроводящего элемента 30 до боковой поверхности 94b нагревательной головки в двигателе Стирлинга 70. Пластинчатый элемент 31 может быть выполнен из материала, имеющего высокую теплопроводность, такого как, например, медь. Пластинчатый элемент 31 охлаждается теплоносителем, проходящим через теплоотводящую трубку 28; при этом пластинчатый элемент работает как часть теплопроводящего элемента 30.
Как описано выше, камера сгорания 20 и двигатель Стирлинга 70 не прикреплены друг к другу. Поэтому пластинчатый элемент 31 не зафиксирован на какой-либо части двигателя Стирлинга 70, что позволяет пластинчатому элементу 31 скользить относительно боковой поверхности 94b нагреваемой головки. Поскольку промежутки между пластинчатым элементом 31 и боковой поверхностью 94b нагреваемой головки не полностью герметичны, отработавший газ может в небольшой степени уходить через промежутки между пластинчатым элементом и боковой поверхностью 94b нагреваемой головки.
Как показано на фиг.2, предусмотрен защитный чехол 27 из резины, который устанавливается между пластинчатым элементом 31 и охладителем 96 двигателя Стирлинга 70. Защитный чехол 27 вместе с пластинчатым элементом 31 и двигателем Стирлинга 70 образует пространство 29, изолированное от атмосферы. В этой компоновке, отработавший газ, проходящий через промежутки между пластинчатым элементом 31 и боковой поверхностью 94b нагреваемой головки, задерживается в пространстве 29 для того, чтобы предотвратить выход отработавшего газа в атмосферу.
В силу того, что пространство 29 граничит с пластинчатым элементом 31, увеличение температуры в пространстве 29 подавляется. В этом случае, даже если отработавший газ поступает в пространство 29, оно защищено от высоких температур, что, в свою очередь, предотвращает вероятность разрыва защитного чехла из-за тепла, поступающего от отработавшего газа. Иными словами, тепло от отработавшего газа, проходящего через промежутки между пластинчатым элементом 31 и боковой поверхностью 94b нагреваемой головки, также используется. Дополнительно, не будет проблемы выхода отработавшего газа с высокой температурой в наружную атмосферу из разорвавшегося защитного чехла.
В камере сгорания 20, при прохождении отработавшего газа из горелки 24 через второй выхлопной канал В, тепло от отработавшего газа рекуперируется в первичном теплообменнике 26. Из-за того, что теплопроводящий элемент 30 первичного теплообменника 26 имеет большую поверхность, выходящую на второй выхлопной канал В, из отработавшего газа может быть извлечена большая доля тепла.
В камере сгорания 20 первый выхлопной канал А сформирован так, что он окружает боковую поверхность 94b нагреваемой головки двигателя Стирлинга 70, в то время как второй выхлопной канал В сформирован так, что он окружает первый выхлопной канал А снаружи. Таким образом, предотвращается уход во внешнюю атмосферу тепла, произведенного в горелке 24, что обеспечивает использование большего количества тепла для нагревания двигателя Стирлинга или обеспечивает большее количество извлеченного тепла с помощью первичного теплообменника.
Первый выхлопной канал А изолирован от первичного теплообменника 26 вторым выхлопным каналом В. Такая изоляция препятствует извлечению в первичном теплообменнике 26 тепла из отработавшего газа, проходящего через первый выхлопной канал А. Первый выхлопной канал А поддерживается при температуре выше, чем температура второго выхлопного канала В, так, что нагреваемые головки 94а и 94b двигателя Стирлинга 70 могут нагреваться до более высоких температур.
Как показано на фиг.2 и 3, камера сгорания 20 имеет вторичный теплообменник 40, который соединен через выпускной канал 38 со вторым выхлопным каналом В. Отработавший газ, поступающий из горелки 24, направляется из второго выхлопного канала В через выпускной канал 38 (третий выхлопной канал С) во вторичный теплообменник 40. Во внутренней части 40а вторичного теплообменника 40 расположена теплообменная трубка 42. В теплообменную трубку, в ее входное отверстие 40а подается теплоноситель, такой как вода, который затем выводится через выходное отверстие 42b.
Вторичный теплообменник 40 извлекает тепло из отработавшего газа в теплоноситель, находящийся в теплообменной трубке 42, в то время как отработавший газ проходит через внутреннюю часть (четвертый выхлопной канал D) 40а вторичного теплообменника 40. В процессе извлечения тепла вторичный теплообменник 40 конденсирует водяной пар, содержащийся в отработавшем газе, для того, чтобы извлечь тепло. Теплоноситель, который циркулирует по теплообменной трубке во вторичном теплообменнике 40, нагревается теплом, извлекаемым из отработавшего газа. Далее, теплоноситель подается во внешнее устройство, такое, например, как кондиционер или что-то подобное.
Как показано на фиг.2 и 3, камера сгорания 20 снабжена газодувкой 44, которая выводит отработавший газ из горелки 24, чтобы вывести отработавший газа наружу. В состав газодувки 44 входит вентилятор 46 и электродвигатель 48, используемый для вращения вентилятора 46. Газодувка 44 соединена с выходным концом вторичного теплообменника 40. Когда газодувка вращает вентилятор 46, отработавший газ из горелки 24 последовательно засасывается в первый выхлопной канал А, второй выхлопной канал В, третий выхлопной канал С, четвертый выхлопной канал D и пятый выхлопной канал Е (в газодувке 44) и последовательно выводится из выхлопного отверстия 50.
Внутри выхлопных каналов от А до Е с помощью газодувки 44 создается давление, отрицательное по отношению к атмосферному давлению, которое гонит отработавший газ от конца выхлопного канала А до канала Е. В результате предотвращается возможность того, что отработавший газ с высокой температурой будет выбрасываться из порвавшегося защитного чехла, например, в случае, если защитный чехол 27 порвется; это достигается в силу того, что атмосферный воздух из дырки в порвавшемся защитном чехле 27 будет проходить в выхлопные каналы от А до Е.
На фиг.5 представлен график, показывающий, как уменьшается температура отработавшего газа, образовавшегося в горелке 24, по мере последовательного прохождения от первого выхлопного канала А до пятого выхлопного канала Е с последующим выбросом через выхлопное отверстие 50. Буквой А на фиг.5 обозначена зона первого выхлопного канала А; буквой В на фиг.5 обозначена зона второго выхлопного канала В; буквой С на фиг.5 обозначена зона третьего выхлопного канала С; буквой D на фиг.5 обозначена зона четвертого выхлопного канала D; буквой Е на фиг.5 обозначена зона пятого выхлопного канала Е. Как показано на фиг.5, в зоне первого выхлопного канала А тепло отработавшего газа используется для нагрева двигателя Стирлинга 70, снижая, таким образом, температуру отработавшего газа. В зоне второго выхлопного канала В тепло отработавшего газа поглощается в первичном теплообменнике 26, снижая таким образом температуру отработавшего газа. В зоне четвертого выхлопного канала D тепло отработавшего газа поглощается вторичным теплообменником 40, снижая таким образом температуру отработавшего газа. Здесь, в зоне четвертого выхлопного канала D, водяные пары, содержащиеся в отработавшем газе, конденсируются, извлекая таким образом скрытую теплоту из отработавшего газа. Соответственно, в сравнении с остальными зонами, количество тепла, извлекаемого из отработавшего газа в четвертом выхлопном канале, относительно больше в сравнении с диапазоном уменьшения температуры отработавшего газа. На последней стадии, где отработавший газ выводится из выхлопного отверстия 50, температура отработавшего газа снижена приблизительно до уровня комнатной температуры. В когенерационной системе 10 энергоэффективность значительно улучшена в силу того, что температура на выходе значительно уменьшена.
В вышеописанном варианте осуществления дан пример использования двигателя Стирлинга свободно поршневого типа, однако раскрытая здесь технология может быть использована в двигателе Стирлинга любой формы и типа.
В вышеописанном варианте оуществления проиллюстрирован пример использования газа в качестве топлива, однако раскрытая здесь технология может быть использована с любым видом или типом топлива.
Выше описан конкретный вариант осуществления настоящего изобретения, однако этот вариант осуществления иллюстрирует только некоторые возможности изобретения и не ограничивает тем самым формулу изобретения. Уровень техники, изложенный в формуле изобретения, включает в себя изменения и модификации к конкретным примерам, приведенным выше.
Более того, технические элементы, раскрытые в представленных описании или чертежах, могут использоваться отдельно или во всех типах связей и не ограничиваются связями, изложенными в формуле изобретения при подаче заявки. Более того, раскрытый уровень техники в представленном описании или чертежах может быть использован для того, чтобы одновременно реализовать многие цели или реализовать одну из этих целей.
Формула изобретения
1. Когенерационная система, содержащая двигатель Стирлинга, который имеет головку в форме пилона; горелку, обращенную к концевой поверхности нагреваемой головки двигателя Стирлинга; первый выхлопной канал, который проходит вдоль боковой поверхности нагреваемой головки двигателя Стирлинга; второй выхлопной канал, который продолжается из первого выхлопного канала и проходит вдоль боковой стороны первого выхлопного канала напротив двигателя Стирлинга; и первичный теплообменник, который расположен на боковой стороне второго выхлопного канала напротив двигателя Стирлинга.
2. Когенерационная система по п.1, в которой первый выхлопной канал окружает боковую поверхность нагреваемой головки двигателя Стирлинга; второй выхлопной канал окружает первый выхлопной канал с его внешней стороны; первичный теплообменник окружает второй выхлопной канал с его внешней стороны.
3. Когенерационная система по п.2, дополнительно содержащая вторичный теплообменник, который соединен с выходом второго выхлопного канала.
4. Когенерационная система по п.3, в которой вторичный теплообменник является теплообменником скрытого тепла, который может извлекать скрытое тепло из отработавшего газа с помощью конденсации пара, содержащегося в отработавшем газе.
5. Когенерационная система по п.1, дополнительно содержащая вторичный теплообменник, который соединен с выходом второго выхлопного канала.
6. Когенерационная система по п.5, в которой вторичный теплообменник является теплообменником скрытого тепла, который может извлекать скрытое тепло из отработавшего газа с помощью конденсации пара, включенного в отработавший газ.
РИСУНКИ
|
|