|
|
(21), (22) Заявка: 2008145067/03, 14.11.2008
(24) Дата начала отсчета срока действия патента:
14.11.2008
(46) Опубликовано: 10.03.2010
(56) Список документов, цитированных в отчете о поиске:
RU 2300668 С2, 10.06.2006. RU 2215122 C2, 27.10.2003. SU 300593 A1, 07.04.1971. SU 613081 А1, 30.06.1978. SU 898043 A1, 15.01.1982. RU 2201535 C2, 27.03.2003. RU 2246604 C1, 20.02.2005. RU 2262586 C2, 20.10.2005. RU 2283940 C1, 20.09.2006. US 4279306 A, 21.07.1981. US 4605062 A, 12.08.1986.
Адрес для переписки:
628616, Тюменская обл., г. Нижневартовск, ОПС 16, а/я 1089, Махир Зафар оглы Шарифову
|
(72) Автор(ы):
Шарифов Махир Зафар оглы (RU), Леонов Василий Александрович (RU), Леонов Илья Васильевич (RU), Никишов Вячеслав Иванович (RU), Габдулов Рушан Рафилович (RU), Ибадов Гахир Гусейн оглы (AZ), Набиев Адил Дахил оглы (AZ), Азизов Фатали Хубали оглы (RU), Шахмуратов Иршат Нурисламович (RU)
(73) Патентообладатель(и):
Шарифов Махир Зафар оглы (RU), Леонов Василий Александрович (RU)
|
(54) СПОСОБ ИЗОЛЯЦИИ НЕГЕРМЕТИЧНОГО УЧАСТКА ЭКСПЛУАТАЦИОННОЙ КОЛОННЫ ИЛИ ИНТЕРВАЛА ПЕРФОРАЦИИ НЕЭКСПЛУАТИРУЕМОГО ПЛАСТА СКВАЖИНЫ (ВАРИАНТЫ)
(57) Реферат:
Изобретение относится к технологии и технике добычи углеводородов и может быть использовано для изоляции негерметичного участка или нерабочего интервала перфорации ствола скважины. Способ по варианту 1 и 2 включает спуск в скважину на колонне труб насосной установки для добычи нефти и посадки выше нее одного или нескольких пакеров. По варианту 1 два пакера размещают в стволе скважины между насосом и негерметичным участком или нерабочим интервалом перфорации, а между ними устанавливают, по крайней мере, один перепускной элемент с гидравлическими каналами, причем после посадки пакеров проверяют их герметичность. По варианту 2 в стволе скважины между насосом и негерметичным участком или нерабочим интервалом перфорации устанавливают один пакер с двумя наборами манжет и, по меньшей мере, с одним гидравлическим каналом между ними, при этом после посадки пакера проверяют его герметичность. Способ по варианту 3 включает спуск в скважину на колонне труб, по меньшей мере, двух пакеров, над верхним из которых размещен разъединитель колонны труб, при этом один из пакеров спускают выше, а другой ниже негерметичного участка или нерабочего интервала перфорации, причем после их посадки и проверки на герметичность рассоединяют над верхним пакером колонну труб от него. Между пакерами размещают дополнительный разъединитель колонны труб и скважинную камеру со съемным элементом. Результатом является сокращение затрат на проведение мероприятий, сокращение времени на ремонтные работы на скважине, увеличение срока службы скважины и подземного оборудования, повышение добычи продукции. 3 н. и 30 з.п. ф-лы, 9 ил.
Изобретение относится к технологии и технике добычи углеводородов и может быть использовано для изоляции негерметичного участка или нерабочего интервала перфорации ствола насосной, фонтанной, газлифтной, нагнетательной или пьезометрической скважины.
Известна насосная установка для эксплуатации скважины (патент РФ 2300668), содержащая спущенное в скважину на колонне труб насосное устройство, состоящее в основном из насоса с приемной сеткой и погружного электродвигателя с силовым кабелем, и установленные в стволе либо один пакер с кабельным вводом между насосом и изолируемым интервалом (негерметичным участком или нерабочим интервалом перфорации) либо два пакера с кабельным вводом соответственно, один из них расположен выше изолируемого интервала, а другой – между насосом и изолируемым интервалом.
Известна скважинная пакерная установка с насосом (патент РФ 2331758), включающая спущенные в скважину на колонне труб насос и два пакера с кабельным вводом соответственно, один из них установлен выше изолируемого интервала, а другой – между насосом и изолируемым интервалом, а также два перепускных устройства с радиальными и продольными каналами, расположенными ниже и выше пакеров, при этом во внутрь колонны труб спущена заданной длины труба меньшего диаметра и она герметично соединена снизу и сверху с соответствующими перепускными устройствами для стравливания свободного газа из подпакерной зоны.
Эти установки не позволяют при низких пластовых (статических) давлениях в насосных скважинах определять герметичность посадки пакера между насосом и изолируемым интервалом (негерметичным участком или нерабочим интервалом перфорации) ствола, поскольку пласты интенсивно поглощают жидкость (воду) при опрессовке пакера и соответственно уровень жидкости в стволе скважины не поднимается до устья, а значит, поднять избыточное давление в колонне труб до нужного значения не удается.
Известен пакер ПРС (Буровой портал, www.drillings.ru/prs), состоящий из трех основных частей, верхнего и нижнего уплотнительных узлов рукавного типа, и между ними клапанного узла. Этот пакер не может быть использован при эксплуатации скважины, то есть он предназначен только для технологических операций при ремонте скважин, таких как направленная обработка призабойной зоны пласта и отключение обводнявшегося пласта методом тампонирования цементом или другими вяжущими материалами, после которого он извлекается из скважины.
Известна также двухпакерная компоновка или система (ЮГСОН Сервис, www.yugson.ru/izn/html; ЗАО «Завод ИЗМЕРОН, www.izmeron.inc.ru) для изоляции зоны негерметичности эксплуатационной колонны, включающая спущенные в скважину одновременно два пакера, один из которых устанавливают выше, а другой ниже зоные негерметичности. Они имеют относительно большую аварийность, поскольку между пакерами отсутствует разъединитель колонны и они освобождаются одновременно из-за их жесткой связи, а также перед их срывом затрубное и внутритрубное давления между пакерами не уравновешиваются.
Целью изобретения является повышение эффективности способа при монтаже подземного оборудования и эксплуатации насосных, фонтанных, газлифтных, нагнетательных и пьезометрических скважин.
Технологический, технический результат и экономический эффект от использования предлагаемых решений для добывающей, нагнетательной и пьезометрической скважин достигается, в частности, за счет сокращения затрат на проведение мероприятий; сокращения времени на проведение ремонтных работ на скважине; увеличения срока службы скважины и подземного оборудования; повышения добычи продукции.
Способ по варианту 1 и 2 включает в себя спуск в скважину на колонне труб насосной установки для добычи нефти, по крайней мере, из одного эксплуатируемого продуктивного пласта, и посадку выше нее при спрессованной (герметичной) колонне труб одного или нескольких пакеров (механического, импульсного, опорного, гидравлического, гидромеханического или электрического действия). При этом пакер или пакеры либо оснащены кабелем или кабелями либо они выполнены кабельными вводами (например, для насосной установки типа УЭЦН), либо у них отсутствуют кабеля или кабельные вводы (например, для насосной установки типа УШГН).
Способ по варианту 3 включает в себя спуск в фонтанную, газлифтную, насосную, нагнетательную или пьезометрическую скважину на колонне труб, по меньшей мере, двух пакеров, над верхним из которых размещен разъединитель колонны труб, при этом один из пакеров спускают выше, а другой ниже негерметичного участка эксплуатационной колонны или интервала перфорации неэксплуатируемого (непродуктивного, то есть нерабочего интервала перфорации) пласта, причем после их посадки и проверки (опрессовки) на герметичность рассоединяют над верхним пакером колонну труб от него, а затем либо ее оставляют в скважине либо извлекают из нее и спускают скважинную установку в скважину для эксплуатации, исследования или закачки жидкости.
При этом цель способа по варианту 1 достигается тем, что оба пакера в любой комбинации размещают в стволе скважины между насосом и негерметичным участком эксплуатационной колонны или интервалом перфорации неэксплуатируемого (например, непродуктивного) пласта, а между ними устанавливают, по крайней мере, один перепускной элемент (с гидравлическими каналами) в виде скважинной камеры без или со съемным элементом, или в виде патрубка с отверстиями, или обратного клапана, или дифференциального клапана, или механического клапана, или циркуляционного узла, причем после посадки пакеров проверяют их герметичность, создавая заданное избыточное давление в колонне труб и соответственно в кольцевом пространстве между пакерами через гидравлический канал перепускного элемента, либо путем запуска насосной установки при закрытом устье скважины, либо с помощью устьевого насосного агрегата, причем при остановке насосной установки или агрегата, если происходит падение значения избыточного давления в колонне труб, то принимают посадку обоих пакеров негерметичной и поднимают их и насосную установку из скважины для ревизии, а если, наоборот, падение избыточного давления не происходит, то принимают посадку пакеров герметичной и при открытом устье запускают насосную установку и соответственно продуктивный пласт в эксплуатацию с последующим контролем количества воды и нефти в добываемой продукции, причем в случае значительного роста воды или падения нефти повторяют проверку герметичности пакеров путем создания и выдержки избыточного давления в колонне труб и соответственно в кольцевом пространстве между пакерами, с помощью насосной установки при закрытом устье скважины.
Также для эффективности и надежности способа по варианту 1 могут быть выполнены в зависимости от условий эксплуатации дополнительные операции:
– производят опрессовку колонны труб во время посадки или перед посадкой пакеров, причем для этого на колонне труб выше пакеров спускают ниппель под съемный обратный клапан;
– ниже пакеров над насосной установкой устанавливают либо несъемный обратный клапан либо ниппель для съемного обратного клапана, либо ниппель со съемным обратным клапаном;
– производят опрессовку колонны труб во время посадки или перед посадкой пакеров, причем для этого между пакерами в скважинной камере временно устанавливают с помощью канатной техники, съемный элемент в виде глухой пробки или обратного клапана;
– после запуска насосной установки и вывода скважины на режим извлекают с помощью канатной техники съемный обратный клапан из ниппеля для возможной обратной циркуляции жидкости через насос;
– между пакерами в скважинную камеру устанавливают с помощью канатной техники съемный элемент в виде автономного манометра для возможности измерения затрубного и/или трубного давления до посадки, во время посадки и после посадки пакеров, а также при работе насосной установки;
– устанавливают пакеры в скважине до или после извлечения съемного элемента из скважинной камеры между пакерами;
– между пакерами в скважинную камеру устанавливают с помощью канатной техники съемный элемент в виде обратного или газлифтного клапана для возможности проверки пакеров на герметичность и/или исключения утечек добываемой жидкости при нарушении герметичности хотя бы одного пакера;
– после посадки пакеров и проверки их на герметичность устанавливают с помощью канатной техники в скважинную камеру съемный элемент в виде глухой пробки для повышения герметичности пакеров при эксплуатации скважины;
– на колонне труб спускают дополнительный пакер и размещают его над негерметичным участком или интервалом перфорации неэксплуатируемого (непродуктивного) пласта;
– либо кабель или кабеля от пакеров соединяют с силовым кабелем от насосной установки типа УЭЦН либо силовой кабель от насосной установки типа УЭЦН пропускают через кабельные вводы пакеров;
– нижний пакер выполнен импульсным, а верхний или верхние пакеры опорными;
– на колонне труб выше пакеров спускают либо несъемный сливной или сбивной клапан либо устанавливают, по меньшей мере, одну скважинную камеру со съемным элементом в виде глухой пробки, газлифтного или обратного клапана, циркуляционного или ингибиторного клапана, или автономного прибора для возможности промывки, глушения скважины, закачки ингибитора или реагента в скважину, измерения давления и температуры на его глубине;
– на колонне труб ниже пакеров либо устанавливают съемный или несъемный струйный насос, или несъемный перепускной обратный узел свободного газа для стравливания свободного газа в колонну труб из подпакерной зоны, либо устанавливают, по крайней мере, одну скважинную камеру со съемным элементом в виде глухой пробки, газлифтного или обратного клапана, циркуляционного или ингибиторного клапана, или автономного прибора для возможности проверки нижнего пакера на герметичность снизу, стравливания свободного газа в колонну труб из подпакерной зоны, промывки, глушения скважины, закачки ингибитора или реагента в продуктивный пласт, измерения давления и температуры на его глубине;
– нижний пакер и под него несъемный перепускной обратный узел или скважинную камеру со съемным элементом в виде газлифтного или обратного клапана спускают в скважину на расчетную глубину, где давление свободного газа под нижним пакером больше, чем давление жидкости в колонне труб при стационарной работе насоса для возможности отравления свободного газа из затрубного пространство в колонну труб;
– работу насосной установки периодически останавливают для снижения трубного давления выше насоса и соответственно стравливания свободного газа в нее из подпакерной зоны, а затем насос запускают и, тем самым, повышается трубное давление выше насоса и закрывается под нижним пакером перепускной обратный узел или обратный клапан при эксплуатации скважины;
– пакеры оснащают изнутри осевым или неосевым перепускным каналом, соединяющим гидравлически выше и ниже его затрубное пространство с подпакерной зоной для стравливания свободного газа;
– выше пакеров устанавливают съемный струйный насос, а изнутри их оснащают осевым или неосевым перепускным каналом, связывающим гидравлически струйный насос с подпакерной зоной для стравливания свободного газа при работе насосной установки.
Цель способа по варианту 2 достигается тем, что в стволе скважины между насосом и негерметичным участком эксплуатационной колонны или интервалом перфорации неэксплуатируемого (например, непродуктивного пласта) устанавливают один пакер, выполненный с двумя наборами манжет, между которыми на стволе выполняют, по меньшей мере, один гидравлический канал, без или с обратным узлом, и размещают опорную втулку с перепускными каналами, при этом после посадки пакера проверяют его герметичность, создавая заданное избыточное давление в колонне труб и соответственно в кольцевом пространстве между наборами манжет пакера через гидравлический канал, либо путем запуска насосной установки при закрытом устье скважины, либо с помощью устьевого насосного агрегата, причем при остановке насоса, если происходит падение значения избыточного давления в колонне труб, то принимают посадку пакера негерметичным и поднимают его и насосную установку из скважины для ревизии, а если, наоборот падение избыточного давления не происходит, то принимают посадку пакера герметичным и при открытом устье запускают насосную установку и соответственно продуктивный пласт в эксплуатацию с последующим контролем количества воды и нефти в добываемой продукции, причем в случае значительного роста воды или падения нефти повторяют проверку герметичности пакера путем создания и выдержки избыточного давления в колонне труб и соответственно в кольцевом пространстве между наборами манжет пакера с помощью насосной установки при закрытом устье скважины.
Также для эффективности и надежности способа по варианту 2 могут быть выполнены в зависимости от условий эксплуатации дополнительные операции:
– на колонне труб спускают дополнительный пакер и размещают его над негерметичным участком эксплуатационной колонны или интервалом перфорации неэксплуатируемого (непродуктивного) пласта;
– производят опрессовку колонны труб во время посадки или перед посадкой пакера или пакеров, причем для этого на колонне труб выше пакера или пакеров спускают ниппель под съемным обратным клапаном;
– производят опрессовку колонны труб во время посадки или перед посадкой пакера или пакеров, причем для этого ниже пакера или пакеров над насосной установкой устанавливают либо несъемный обратный клапан либо ниппель для съемного обратного клапана, либо ниппель со съемным обратным клапаном;
– после запуска насосной установки и вывода скважины на режим извлекают с помощью канатной техники съемный обратный клапан из ниппеля для возможности обеспечения обратной циркуляции через насос;
– на колонне труб выше пакера или пакеров спускают либо несъемный сливной или сбивной клапан, либо устанавливают, по меньшей мере, одну скважинную камеру со съемным элементом в виде глухой пробки, газлифтного или обратного клапана, циркуляционного или ингибиторного клапана, или автономного прибора (манометра, термометра) для возможности промывки, глушения скважины, закачки ингибитора или реагента в скважину, измерения давления и температуры на его глубине;
– на колонне труб ниже пакера либо устанавливают съемный или несъемный струйный насос, или несъемный перепускной обратный узел свободного газа для стравливания свободного газа в колонну труб из подпакерной зоны, либо устанавливают, по крайней мере, одну скважинную камеру со съемным элементом в виде глухой пробки, газлифтного или обратного клапана, циркуляционного или ингибиторного клапана, или автономного прибора для возможности проверки пакера снизу на герметичность, стравливания свободного газа в колонну труб из подпакерной зоны, промывки, глушения скважины, закачки ингибитора или реагента в пласт, измерения давления и температуры на его глубине;
– пакер и под него несъемный перепускной обратный узел или скважинную камеру со съемным элементом в виде газлифтного или обратного клапана спускают в скважину на расчетную глубину, где давление свободного газа под нижним пакером больше, чем давление жидкости в колонне труб при стационарной работе насоса для возможности отравления свободного газа из затрубного пространство в колонну труб;
– работу насосной установки периодически останавливают для снижения трубного давления выше насоса и соответственно стравливания свободного газа в нее из подпакерной зоны, а затем насос запускают и тем самым повышается трубное давление выше насоса и закрывается под нижним пакером перепускной обратный узел или обратный клапан при эксплуатации скважины;
– пакер или пакеры оснащают изнутри осевым или неосевым перепускным каналом, соединяющим гидравлически выше и ниже его затрубное пространство с подпакерной зоной для стравливания свободного газа;
– выше пакера или пакеров устанавливают съемный струйный насос, а изнутри его или их оснащают осевым или неосевым перепускным каналом, связывающим гидравлически струйный насос с подпакерной зоной для стравливания свободного газа при работе насосной установки;
– либо кабель от пакера или пакеров соединяют с силовым кабелем от насосной установки типа УЭЦН либо силовой кабель от насосной установки типа УЭЦН пропускают через кабельный ввод пакера или пакеров;
– пакер между насосом и негерметичным участком или интервалом перфорации непродуктивного пласта выполнен импульсным;
– после проверки герметичности посадки пакера между наборами его манжет разобщают механическим или гидравлическим путем гидравлический канал ствола от полости колонны труб для надежности и герметичности пакера при эксплуатации скважины.
Цель способа по варианту 3 достигается тем, что при спуске колонны труб между пакерами размещают дополнительный разъединитель колонны труб механического или гидравлического действия для возможности раздельного спуска-подъема пакеров, и скважинную камеру со съемным элементом в виде глухой пробки или автономного прибора для возможности перед срывом пакеров уравнивания трубного и затрубного давления между ними, путем извлечения из скважинной камеры с помощью канатной техники, съемной глухой пробки или автономного прибора. Автономным прибором между пакерами измеряют давление на негерметичном участке эксплуатационной колонны или интервале перфорации непродуктивного пласта.
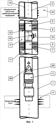
Установки для реализации способа приводятся на фиг.1-9, в частности на фиг.1, 2, 3 – варианты насосной установки с двумя пакерами, между которыми установлен перепускной элемент; фиг.4 – насосная установка с одним пакером, имеющим два набора манжет и между ними перепускной канал; на фиг.5 – трехпакерная насосная установка; на фиг.6 – пакерная насосная установка с возможностью перепуска свободного газа; на фиг.7 – пакерная насосная установка со струйным насосом; на фиг.8 – пакер с двумя наборами манжет; на фиг.9 – установка с двумя пакерами, между которыми установлены разъединитель колонны и скважинная камера со съемным элементом.
Способ по варианту 1 и 2 применяется в основном для скважин с низкими пластовыми давлениями, то есть когда происходит интенсивное поглощение жидкости продуктивным пластом или изолируемыми водяными зонами (негерметичным участком или нерабочим, непродуктивным интервалом перфорации) в скважине. При этом невозможно спрессовать герметичность посадки пакера над насосом. При неопределенности герметичности посадки пакера выше насоса после монтажа подземного оборудования преждевременно снимают со скважины подъемную установку и бригаду ПРС, а затем в процессе эксплуатации скважины из-за значительного роста процента воды в добываемой продукции выявляется негерметичность посадки пакера. Это приводит к дополнительным энерго- и трудозатратам, поскольку заново на скважине монтируется подъемная установка и проводится бригадой ПРС повторный подъем-спуск колонны труб с насосом и пакером.
Способ по варианту 1 и 2 включает в себя спуск в скважину 1 на колонне труб 2 насосной установки 3 для добычи нефти, по крайней мере, из одного эксплуатируемого продуктивного пласта 4, и посадки выше нее при герметичной колонне труб 2, по меньшей мере, двух пакеров 5 и 6 с соответствующими наборами манжет 7 и 8 (см. фиг.1, 2, 3, 5, 6, 7), или же одного пакера 5 с двумя наборами манжет 7 и 8 (например, см. фиг.4). При этом пакер 5 или пакеры 5 и 6 являются механического, импульсного, опорного, гидравлического, гидромеханического или электрического действия, причем пакеры могут быть оснащены кабелем 9 или кабелями 9, 10 (см. фиг.2), или выполнены с кабельными вводами 11, 12 (см. фиг.1), либо для соединения кабеля 9 или кабелей 9, 10 с силовым кабелем 13, либо для прохождения через кабельный ввод 11, 12 силового кабеля 13 от насосной установки 3 типа УЭЦН. Пакер 5 или пакеры 5, 6 также могут быть не оснащены кабелями 9, 10 или выполнены без кабельных ввод 11, 12 для насосной установки 3 типа УШГН.
При реализации способа по варианту 1 оба пакера 5 и 6 (в любой комбинации по их действию) размещают в стволе скважины 1 между насосом 3 и негерметичным (водяным) участком эксплуатационной колонны или нерабочим интервалом перфорации неэксплуатируемого (например, непродуктивного) пласта 14. При этом между пакерами 5 и 6 устанавливают, по крайней мере, один перепускной элемент 15 (с гидравлическими каналами) в виде скважинной камеры (см. фиг.1, 3) или патрубка с отверстиями, или обратного клапана, или дифференциального клапана, или механического клапана, или циркуляционного узла (см. фиг.2, 5, 6, 7). Здесь скважинная камера 15 может быть со съемным элементом 16 или без него. После спуска оборудования в скважину 1 устанавливают пакеры 5, 6 и проверяют их герметичность, создавая заданное избыточное давление в колонне труб 2 и соответственно в кольцевом пространстве 17 между наборами манжет 7 и 8 пакеров 5, 6 через каналы перепускного элемента 15 или 17. При этом избыточное давление создают либо путем запуска насосной установки 3 при закрытом устье скважины 1 либо с помощью передвижного устьевого насосного агрегата. Причем при остановке подачи жидкости, если происходит падение значения избыточного давления в колонне труб 2, то принимают посадку обоих пакеров 5, 6 негерметичной (несмотря на то, что один из них может быть герметичным) и поднимают их и насосную установку 3 из скважины 1 для ревизии, а если, наоборот, при выдержанном избыточном давлении принимают посадку пакеров 5, 6 герметичной и запускают насосную установку 3 при открытом устье и соответственно скважину 1 в эксплуатацию с последующим контролем количества воды в добываемой продукции. Причем в случае значительного роста воды повторяют проверку герметичности пакеров 5, 6 путем создания и выдержки избыточного давления в колонне труб 2 и соответственно в кольцевом пространстве 17 между пакерами с помощью насосной установки 3 при закрытом устье скважины 1.
При реализации способа по варианту 2 (см. фиг.4, 8) между насосом 3 и негерметичным (водяным) участком эксплуатационной колонны или нерабочим интервалом перфорации неэксплуатируемого (например, непродуктивного) пласта 14 устанавливают один пакер 5, выполненный с двумя наборами манжет 7 и 8, между которыми на стволе 18 (фиг.8) выполняют один или несколько гидравлических каналов 19 (без или с обратным узлом, например, в виде резины 20 на фиг.8 для исключения обратного перетока жидкости при негерметичности набора манжет 8 пакера 5) и размещают опорную втулку 21 с перепускными каналами 22 (фиг.4, 8). При этом после посадки пакера 5 проверяют его герметичность, создавая заданное избыточное давление жидкости «Ж» в колонне труб 2 и соответственно в кольцевом пространстве 17 между наборами манжет 7 и 8 пакера 5 через гидравлические каналы 19. При этом избыточной давление «Ж» создают либо путем запуска насосной установки 3 при закрытом устье скважины 1 либо с помощью передвижного устьевого агрегата. Причем при остановке подачи, если происходит падение значения избыточного давления «Ж» в колонне труб 2, то принимают посадку пакера 5 негерметичной и поднимают его и насосную установку 3 из скважины 1 для ревизии, а если, наоборот, при выдержанном избыточном давлении «Ж» принимают посадку пакера 5 герметичной и запускают насосную установку 3 при открытом устье и соответственно скважину 1 в эксплуатацию с последующим контролем количества воды в добываемой продукции, причем в случае ее значительного роста повторяют проверку герметичности пакера 5 путем создания и выдержки избыточного давления «Ж» в колонне труб 2 и соответственно в кольцевом пространстве 17 между наборами манжет 7 и 8 пакера 5 с помощью насосной установки 3 при закрытом устье скважины 1.
Также для эффективности и надежности способа по варианту 1 и 2 могут быть выполнены в зависимости от условий эксплуатации дополнительные операции, в частности герметичность колонны труб 2 определяют во время посадки или перед посадкой пакера 5 или пакеров 5 и 6. То есть на колонне труб 2 выше пакера 5 (см. фиг.4) или 6 (см. фиг.2) спускают ниппель 23 для установки в него с помощью канатной техники съемного обратного клапана при проверке колонны труб 2 на герметичность или исключения обратного перетока жидкости. Между пакерами 5 и 6 в скважинной камере (перепускной элемент) 15 может быть установлен с помощью канатной техники, съемный элемент 16 (см. фиг.1, 3) в виде глухой пробки, газлифтного или обратного клапана для проверки колонны труб 2 на герметичность как перед посадкой пакеров 5 и 6, так и после их посадки, а также во время эксплуатации скважины 1. Ниже пакера 5 или пакеров 5, 6 над насосной установкой 3 может быть установлен несъемный обратный клапан 24 (см. фиг.3) или ниппель 25 без или со съемным обратным клапаном 26 (см. фиг.1, 2) для возможности проверки колонны труб 2 на герметичность и/или исключения обратного перетока жидкости после остановки насосной установки 3. Также после запуска насосной установки 3 и вывода скважины 1 на режим может быть извлечен с помощью канатной техники, съемный обратный клапан 26 из его ниппель 25, например, для возможности создания обратного перетока или циркуляции жидкости через насос 3 (например, для промывки насоса 3, обработки призабойный зоны продуктивного пласта 4 и пр.). Кроме того, между пакерами 5 и 6 в скважинную камеру 15 может быть установлен с помощью канатной техники съемный элемент 16 в виде автономного манометра, для возможности измерения затрубного и/или трубного давления до посадки, во время посадки и после посадки пакеров 5 и 6, а также при работе насосной установки 3. После посадки пакеров 5, 6 и их опрессовки может быть установлен с помощью канатной техники в скважинную камеру 15 съемный элемент 16 в виде глухой пробки, газлифтного или обратного клапана, для повышения надежности и герметичности пакеров 5, 6 при эксплуатации скважины 1. На колонне труб 2 может быть спущен дополнительный пакер 27 (например, см. фиг.5, 6) и размещен над негерметичным участком или нерабочим интервалом перфорации 14 ствола скважины 1.
На колонне труб 2 ниже пакера 5 могут быть спущены съемный или несъемный струйный насос, или несъемный перепускной обратный узел свободного газа, или скважинная камера 28 для стравливания свободного газа «Г» из подпакерной зоны 29 (например, см. фиг.3). Скважинная камера 28 оснащена съемным элементом 30 (например, виде глухой пробки, обратного или газлифтного клапана, циркуляционного или ингибиторного клапана, или автономного манометра) для возможности промывки, глушения, закачки ингибитора или реагента, измерения давления и температуры на его глубине, возможности опрессовки пакера 5 снизу, а также для стравливания свободного газа «Г» в колонну труб 2 из подпакерной зоны 29. При этом перепуск свободного газа проводится путем периодической остановки работы насосной установки 3 с целью снижения трубного давления выше насоса 3 и соответственно стравливания свободного газа «Г» в нее из подпакерной зоны 29. Затем насос 3 запускают и тем самым повышается трубное давление выше насоса 3 и закрывается обратный узел 28 или клапан 30 при эксплуатации скважины 1.
Также на колонне труб 2 выше верхнего пакера 6 могут быть спущены несъемный сливной или сбивной клапан 31 (фиг.3, 4) и/или скважинная камера 32 (фиг.3) со съемным элементом 33 (например, виде глухой пробки, обратного или газлифтного клапана, циркуляционного или ингибиторного клапана, или автономного манометра), для возможности промывки, глушения, закачки ингибитора или реагента, измерения давления и температуры на его глубине.
Пакер 5 или пакеры 5, 6, а также 27 могут быть оснащены изнутри осевым или неосевым перепускным каналом 34 (например, см. фиг.6), соединяющим выше и ниже их затрубное пространство 35 с подпакерной зоной 29 для стравливания свободного газа «Г». Также выше пакера 5 или пакеров 5, 6 может быть установлен съемный или несъемный струйный насос 36 (например, см. фиг.7), а изнутри их оснащают осевым или неосевым перепускным каналом 34, связывающим струйный насос 36 с подпакерной зоной 29 для стравливания свободного газа «Г» при работе насосной установки 3.
Также после проверки герметичности посадки пакера 5 между наборами его манжет 7 и 8 (фиг.8) разобщают механическим или гидравлическим путем (например, перемещением втулки 37) гидравлические каналы 19 ствола 18 от полости колонны труб для повышения герметичности пакера 5 при эксплуатации скважины.
Способ по варианту 3 включает в себя спуск в фонтанную, газлифтную, насосную, нагнетательную или пьезометрическую скважину 1 на колонне труб 2, по меньшей мере, двух пакеров 5 и 6, над верхним из которых размещен разъединитель колонны труб 38, при этом один из пакеров 6 спускают выше, а другой 5 ниже негерметичного участка или нерабочего интервала перфорации 14, причем после их посадки и опрессовки рассоединяют над верхним пакером 6 колонну труб 2 от него с помощью отсоединения ствола от корпуса (или наоборот) разъединителя колонны труб 38, а затем либо ее оставляют в скважине 1 либо извлекают из нее и спускают скважинную установку (например, УЭЦН, УШГН и пр.) для эксплуатации, исследования или закачки.
При реализации способа по варианту 3 выполняют следующие операции. При спуске колонны труб 2 между пакерами 5 и 6 размещают дополнительный разъединитель колонны труб 39 механического и/или гидравлического действия для возможности раздельного спуска-подъема пакеров 5, 6 и скважинную камеру 40 со съемным элементом 41 в виде глухой пробки или автономного манометра для возможности перед срывом пакеров 6 и 5 уравнивания трубного (Рт) и затрубного (Рз) давления между ними путем извлечения из скважинной камеры 40 с помощью канатной техники съемного элемента 41. При этом съемный элемент 41 в виде автономного манометра между пакерами 5 и 6 может измерять давления на негерметичном участке или нерабочем интервале перфорации 14 ствола скважины 1 как до посадки, так и во время и после посадки пакеров 5 и 6, а также в процессе эксплуатации скважины 1 для определения (после его извлечения из скважинной камеры 40) герметичности пакеров 5 и 6 в процессе эксплуатации, а также уточнения динамики пластового (горного) давления.
Формула изобретения
1. Способ изоляции негерметичного участка эксплуатационной колонны или интервала перфорации неэксплуатируемого пласта скважины, включающий спуск в скважину на колонне труб пакеров и насосной установки для добычи нефти, по крайней мере, из одного эксплуатируемого продуктивного пласта, и посадки выше насоса при спрессованной колонне труб, по меньшей мере, двух пакеров – механического, импульсного, опорного, гидравлического, гидромеханического или электрического действия для разобщения приема насоса от негерметичного участка эксплуатационной колонны или интервала перфорации неэксплуатируемого пласта, при этом пакера либо оснащены или не оснащены кабелем или кабелями, либо выполнены без или с кабельными вводами, отличающийся тем, что оба пакера в любой комбинации размещают в стволе скважины между насосом и негерметичным участком эксплуатационной колонны или интервалом перфорации неэксплуатируемого, например, непродуктивного, пласта, а между ними устанавливают, по крайней мере, один перепускной элемент с гидравлическими каналами в виде скважинной камеры без или со съемным элементом, или в виде патрубка с отверстиями, или обратного клапана, или дифференциального клапана, или механического клапана, или циркуляционного узла, причем после посадки пакеров проверяют их герметичность, создавая заданное избыточное давление в колонне труб и, соответственно, в кольцевом пространстве между пакерами через гидравлические каналы перепускного элемента, либо путем запуска насосной установки при закрытом устье скважины, либо с помощью устьевого насосного агрегата, причем при остановке насосной установки или агрегата, если происходит падение значения избыточного давления в колонне труб, то принимают посадку обоих пакеров негерметичной и поднимают их и насосную установку из скважины для ревизии, а если наоборот – падение избыточного давления не происходит, то принимают посадку пакеров герметичной и при открытом устье запускают насосную установку и, соответственно, продуктивный пласт в эксплуатацию с последующим контролем количества воды и нефти в добываемой продукции, причем в случае значительного роста воды или падения нефти повторяют проверку герметичности пакеров путем создания и выдержки избыточного давления в колонне труб и, соответственно, в кольцевом пространстве между пакерами, с помощью насосной установки при закрытом устье скважины.
2. Способ по п.1, отличающийся тем, что производят опрессовку колонны труб во время посадки или перед посадкой пакеров, причем для этого на колонне труб выше пакеров спускают ниппель под съемный обратный клапан.
3. Способ по п.1 или 2, отличающийся тем, что ниже пакеров над насосной установкой устанавливают либо несъемный обратный клапан, либо ниппель для съемного обратного клапана, либо ниппель со съемным обратным клапаном.
4. Способ по п.1 или 2, отличающийся тем, что производят опрессовку колонны труб во время посадки или перед посадкой пакеров, причем для этого между пакерами в скважинной камере временно устанавливают, с помощью канатной техники, съемный элемент в виде глухой пробки или обратного клапана.
5. Способ по п.3, отличающийся тем, что после запуска насосной установки и вывода скважины на режим извлекают, с помощью канатной техники, съемный обратный клапан из ниппеля для возможности обратной циркуляции жидкости через насос.
6. Способ по п.1, отличающийся тем, что между пакерами в скважинную камеру устанавливают, с помощью канатной техники, съемный элемент в виде автономного прибора, для возможности измерения затрубного и/или трубного давления до посадки, во время посадки и после посадки пакеров, а также при работе насосной установки.
7. Способ по п.1, отличающийся тем, что устанавливают пакера в скважине до или после извлечения съемного элемента из скважинной камеры между пакерами.
8. Способ по п.1, отличающийся тем, что между пакерами в скважинную камеру устанавливают, с помощью канатной техники, съемный элемент в виде обратного или газлифтного клапана, для возможности проверки пакеров на герметичность и/или исключения утечек добываемой жидкости при нарушении герметичности хотя бы одного пакера.
9. Способ по п.1, отличающийся тем, что после посадки пакеров и проверки их на герметичность устанавливают, с помощью канатной техники, в скважинную камеру съемный элемент в виде глухой пробки, для повышения герметичности пакеров при эксплуатации скважины.
10. Способ по п.1, отличающийся тем, что на колонне труб спускают дополнительный пакер и размещают его над негерметичным участком или интервалом перфорации неэксплуатируемого пласта.
11. Способ по п.1 или 10, отличающийся тем, что либо кабель или кабеля от пакеров соединяют с силовым кабелем от насосной установки типа УЭЦН, либо силовой кабель от насосной установки типа УЭЦН пропускают через кабельные вводы пакеров.
12. Способ по п.11, отличающийся тем, что нижний пакер выполнен импульсным, а верхний или верхние пакера опорными.
13. Способ по п.11, отличающийся тем, что на колонне труб выше пакеров спускают либо несъемный сливной или сбивной клапан, либо устанавливают, по меньшей мере, одну скважинную камеру со съемным элементом в виде глухой пробки, газлифтного или обратного клапана, циркуляционного или ингибиторного клапана, или автономного прибора, для возможности промывки, глушения скважины, закачки ингибитора или реагента в скважину, измерения давления и температуры на его глубине.
14. Способ по п.11, отличающийся тем, что на колонне труб ниже пакеров устанавливают съемный или несъемный струйный насос, или несъемный перепускной обратный узел свободного газа, для отравления свободного газа в колонну труб из подпакерной зоны, и/или, по крайней мере, одну скважинную камеру со съемным элементом виде глухой пробки, газлифтного или обратного клапана, циркуляционного или ингибиторного клапана, или автономного прибора, для возможности проверки нижнего пакера на герметичность снизу, стравливания свободного газа в колонну труб из подпакерной зоны, промывки, глушения скважины, закачки ингибитора или реагента в продуктивный пласт, измерения давления и температуры на его глубине.
15. Способ по п.14, отличающийся тем, что нижний пакер и под него несъемный перепускной обратный узел или скважинную камеру со съемным элементом в виде газлифтного или обратного клапана спускают в скважину на расчетную глубину, где давление свободного газа под нижним пакером больше, чем давление жидкости в колонне труб при стационарной работе насоса для возможности отравления свободного газа из затрубного пространства в колонну труб.
16. Способ по п.14, отличающийся тем, что работу насосной установки периодически останавливают для снижения трубного давления выше насоса и, соответственно, стравливания свободного газа в нее из подпакерной зоны, а затем насос запускают и, тем самым, повышается трубное давление выше насоса и закрывается под нижним пакером перепускной обратный узел или обратный клапан при эксплуатации скважины.
17. Способ по п.1 или пункту 10, отличающийся тем, что пакера оснащают изнутри осевым или неосевым перепускным каналом, соединяющим гидравлически выше и ниже его затрубное пространство с подпакерной зоной для стравливания свободного газа.
18. Способ по п.1 или пункту 10, отличающийся тем, что выше пакеров устанавливают съемный струйный насос, а изнутри их оснащают осевым или неосевым перепускным каналом, связывающим гидравлически струйный насос с подпакерной зоной для стравливания свободного газа при работе насосной установки.
19. Способ изоляции негерметичного участка эксплуатационной колонны или интервала перфорации неэксплуатируемого пласта скважины, включающий спуск на колонне труб в скважину, по меньшей мере, одного пакера и насосной установки, для добычи нефти, по крайней мере, из одного эксплуатируемого продуктивного пласта, и посадку выше насоса при спрессованной колонне труб пакера – механического, импульсного, гидравлического, гидромеханического или электрического действия для разобщения приема насоса от негерметичного участка эксплуатационной колонны или интервала перфорации неэксплуатируемого пласта, при этом пакер либо оснащен или не оснащен кабелем, либо выполнен без или с кабельным вводом, отличающийся тем, что в стволе скважины между насосом и негерметичным участком эксплуатационной колонны или интервалом перфорации неэксплуатируемого, например, непродуктивного, пласта устанавливают один пакер, выполненный с двумя наборами манжет, между которыми на стволе выполняют, по меньшей мере, один гидравлический канал, без или с обратным узлом, и размещают опорную втулку с перепускными каналами, при этом после посадки пакера проверяют его герметичность, создавая заданное избыточное давление в колонне труб и, соответственно, в кольцевом пространстве между наборами манжет пакера через гидравлический канал, либо путем запуска насосной установки при закрытом устье скважины, либо с помощью устьевого насосного агрегата, причем при остановке насоса, если происходит падение значения избыточного давления в колонне труб, то принимают посадку пакера негерметичным и поднимают его и насосную установку из скважины для ревизии, а если, наоборот – падение избыточного давления не происходит, то принимают посадку пакера герметичным и при открытом устье запускают насосную установку и, соответственно, продуктивный пласт в эксплуатацию с последующим контролем количества воды и нефти в добываемой продукции, причем в случае значительного роста воды или падения нефти повторяют проверку герметичности пакера путем создания и выдержки избыточного давления в колонне труб и, соответственно, в кольцевом пространстве между наборами манжет пакера с помощью насосной установки при закрытом устье скважины.
20. Способ по пункту 19, отличающийся тем, что на колонне труб спускают дополнительный пакер и размещают его над негерметичным участком эксплуатационной колонны или интервалом перфорации неэксплуатируемого пласта.
21. Способ по п.19 или 20, отличающийся тем, что производят опрессовку колонны труб во время посадки или перед посадкой пакера или пакеров, причем для этого на колонне труб выше пакера или пакеров спускают ниппель под съемным обратным клапаном.
22. Способ по п.19 или 20, отличающийся тем, что производят опрессовку колонны труб во время посадки или перед посадкой пакера или пакеров, причем для этого ниже пакера или пакеров над насосной установкой устанавливают либо несъемный обратный клапан, либо ниппель для съемного обратного клапана, либо ниппель со съемным обратным клапаном.
23. Способ по п.19 или 20, отличающийся тем, что после запуска насосной установки и вывода скважины на режим извлекают, с помощью канатной техники, съемный обратный клапан из ниппеля для возможности обеспечения обратной циркуляции через насос.
24. Способ по п.19 или 20, отличающийся тем, что на колонне труб выше пакера или пакеров спускают либо несъемный сливной или сбивной клапан, либо устанавливают, по меньшей мере, одну скважинную камеру со съемным элементом виде глухой пробки, газлифтного или обратного клапана, циркуляционного или ингибиторного клапана, или автономного прибора (манометра, термометра) для возможности промывки, глушения скважины, закачки ингибитора или реагента в скважину, измерения давления и температуры на его глубине.
25. Способ по п.19, отличающийся тем, что на колонне труб ниже пакера устанавливают съемный или несъемный струйный насос, или несъемный перепускной обратный узел свободного газа, для стравливания свободного газа в колонну труб из подпакерной зоны, и/или, по крайней мере, одну скважинную камеру со съемным элементом в виде глухой пробки, газлифтного или обратного клапана, циркуляционного или ингибиторного клапана, или автономного прибора, для возможности проверки пакера снизу на герметичность, стравливания свободного газа в колонну труб из подпакерной зоны, промывки, глушения скважины, закачки ингибитора или реагента в пласт, измерения давления и температуры на его глубине.
26. Способ по п.25, отличающийся тем, что пакер и под него несъемный перепускной обратный узел или скважинную камеру со съемным элементом в виде газлифтного или обратного клапана спускают в скважину на расчетную глубину, где давление свободного газа под пакером больше, чем давление жидкости в колонне труб при стационарной работе насоса для возможности отравления свободного газа из затрубного пространства в колонну труб.
27. Способ по п.25, отличающийся тем, что работу насосной установки периодически останавливают для снижения трубного давления выше насоса и, соответственно, стравливания свободного газа в нее из подпакерной зоны, а затем насос запускают и, тем самым, повышается трубное давление выше насоса и закрывается под нижним пакером перепускной обратный узел или обратный клапан при эксплуатации скважины.
28. Способ по п.19 или 20, отличающийся тем, что пакер или пакера оснащают изнутри осевым или неосевым перепускным каналом, соединяющим гидравлически выше и ниже его затрубное пространство с подпакерной зоной для стравливания свободного газа.
29. Способ по п.19 или 20, отличающийся тем, что выше пакера или пакеров устанавливают съемный струйный насос, а изнутри его или их оснащают осевым или неосевым перепускным каналом, связывающим гидравлически струйный насос с подпакерной зоной для стравливания свободного газа при работе насосной установки.
30. Способ по п.19 или 20, отличающийся тем, что либо кабель от пакера или пакеров соединяют с силовым кабелем от насосной установки типа УЭЦН, либо силовой кабель от насосной установки типа УЭЦН пропускают через кабельный ввод пакера или пакеров.
31. Способ по п.19, отличающийся тем, что после проверки герметичности посадки пакера между наборами его манжет разобщают механическим или гидравлическим путем гидравлический канал ствола от полости колонны труб для надежности и герметичности пакера при эксплуатации скважины.
32. Способ изоляции негерметичного участка эксплуатационной колонны или интервала перфорации неэксплуатируемого пласта скважины, включающий спуск в фонтанную, газлифтную, насосную, нагнетательную или пьезометрическую скважину на колонне труб, по меньшей мере, двух пакеров, над верхним из которых размещен разъединитель колонны труб, при этом один из пакеров спускают выше, а другой ниже негерметичного участка эксплуатационной колонны или интервала перфорации неэксплуатируемого, например, непродуктивного, пласта, причем после их посадки и проверки на герметичность рассоединяют над верхним пакером колонну труб от него, а затем либо ее оставляют в скважине, либо извлекают из нее и спускают скважинную установку, для эксплуатации, исследования или закачки жидкости, отличающийся тем, что при спуске колонны труб между пакерами размещают дополнительный разъединитель колонны труб механического или гидравлического действия, для возможности раздельного спуск-подъема пакеров, и скважинную камеру со съемным элементом в виде глухой пробки или автономного прибора, для возможности перед срывом пакеров уравнивания трубного и затрубного давления между ними, путем извлечения из скважинной камеры с помощью канатной техники съемной глухой пробки или автономного прибора.
33. Способ по п.32, отличающийся тем, что автономным прибором между пакерами измеряют давление на негерметичном участке эксплуатационной колонны или интервале перфорации непродуктивного пласта.
РИСУНКИ
|
|