|
|
(21), (22) Заявка: 2008151309/03, 23.12.2008
(24) Дата начала отсчета срока действия патента:
23.12.2008
(46) Опубликовано: 10.03.2010
(56) Список документов, цитированных в отчете о поиске:
US 3500908 А, 17.03.1970. SU 1506073 A1, 07.09.1989. SU 1645453 A1, 30.04.1991. SU 1583585 A1, 07.08.1990. RU 2205937 C2, 27.02.1996. US 4574888 A, 11.03.1986. US 4658901 A, 21.04.1987.
Адрес для переписки:
423236, Республика Татарстан, г. Бугульма, ул. М. Джалиля, 32, “ТатНИПИнефть”, сектор создания и развития промышленной собственности
|
(72) Автор(ы):
Махмутов Ильгизар Хасимович (RU), Страхов Дмитрий Витальевич (RU), Зиятдинов Радик Зяузятович (RU), Асадуллин Марат Фагимович (RU), Оснос Владимир Борисович (RU)
(73) Патентообладатель(и):
Открытое акционерное общество “Татнефть” им. В.Д. Шашина (RU)
|
(54) УСТЬЕВОЕ УСТРОЙСТВО ДЛЯ ОСВОБОЖДЕНИЯ КОЛОННЫ ТРУБ ИЗ СКВАЖИНЫ
(57) Реферат:
Изобретение относится к нефтегазодобывающей промышленности, в частности к устьевым устройствам для освобождения аварийной колонны труб, прихваченной в скважине. Техническим результатом является простота конструкции и повышение эффективности извлечения из скважины прихваченной колонны труб. Устьевое устройство для освобождения колонны труб из скважины содержит демпфер и генератор вертикальных импульсов. Демпфер выполнен в виде вертикального герметичного цилиндра с поршнем, подпоршневая полость которого заполнена газом, а генератор выполнен в виде трубчатого корпуса, состоящего из последовательно соединенных силовых цилиндров. Силовые цилиндры снабжены поршнями, соединенными последовательно полыми штоками так, что подпоршневые полости силовых цилиндров сообщены между собой и через распределитель с поршневым бесклапанным насосом. Распределитель состоит из цилиндрического корпуса с двумя камерами, разделенными перегородкой, которая оснащена прямым и обратным подпружиненными клапанами, при этом усилие поджатия пружиной обратного клапана выше, чем усилие поджатия пружиной прямого клапана. 1 ил.
Изобретение относится к нефтегазодобывающей промышленности, в частности к устьевым устройствам для освобождения аварийной колонны труб, прихваченной в скважине.
Известна устьевая установка генерации и передачи акустической энергии для освобождения прихваченной колонны труб в буровой скважине (US 4429743, Е21В 37/08; Е21В 41/00, опубл. 07.02.1974 г.), включающая орбитальный массовый генератор, предназначенный для генерации акустической энергии с резонатором, соединенный на устье с колонной труб, подъемник и демпфер, установленный между генератором и подъемником и выполненный в виде поршневого вертикального амортизатора, заполненного жидкостью или газожидкостной смесью.
Недостатками данной устьевой установки являются:
– во-первых, сложность конструкции, обусловленная большим количеством узлов и деталей;
– во-вторых, высокая стоимость изготовления и металлоемкость (орбитальный массовый генератор предназначен для генерации акустической энергии с резонатором).
Наиболее близким по технической сущности является устьевое устройство для освобождения колонны труб из скважины (патент US 3500908, Е21В 37/08; Е21В 41/00, опубл. 07.02.1974 г.), включающее демпфер, установленный между подъемником и генератором вертикальных импульсов, который снизу соединен с колонной труб, причем демпфер выполнен в виде верхней и нижней горизонтальных пластин с вертикальными телескопически вставленными друг в друга цилиндром и штоком, между упорами которых установлены пружины, а генератор вертикальных импульсов выполнен в виде установленных в корпусе пар соединенных вертикальных зубчатых колес со смещенным центром тяжести, подобранных так, что при вращении зубчатых колес их суммарный импульс был направлен по оси колонны труб.
Недостатками данной устьевой установки являются:
во-первых, сложность конструкции, обусловленная большим количеством узлов и деталей;
во-вторых, высокая точность изготовления зубчатых колес, напрямую влияющая на дороговизну устройства в изготовлении, в обратном случае может произойти заклиниванне зубчатых колес в процессе работы;
в-третьих, усилие по оси колонны, создаваемое на прихваченную колонну труб, равнозначно по усилию вверх и вниз, кроме того создаются удары металлических частей оборудования друг об друга, что снижает эффективность извлечения прихваченной колонны труб из скважины.
Задачей изобретения является упрощение конструкции устройства, снижение стоимости его изготовления, снижение металлоемкости, а также безударного вибрационного воздействия.
Поставленная задача решается устьевым устройством для освобождения колонны труб из скважины, включающим демпфер, установленный между подъемником и генератором вертикальных импульсов, который снизу соединен с колонной труб.
Новым является то, что демпфер выполнен в виде вертикального герметичного цилиндра с поршнем, внутренняя полость под поршнем которого заполнена газом, а генератор вертикальных импульсов выполнен в виде трубчатого корпуса, состоящего из последовательно соединенных силовых цилиндров и соединенного сверху со штоком поршня демпфера, силовые цилиндры снабжены силовыми поршнями, соединенными последовательно полыми штоками так, что подпоршневые полости силовых цилиндров сообщены между собой и через распределитель с поршневым бесклапанным насосом, а нижний шток, заглушенный снизу, соединен с колонной труб, причем распределитель, состоящий из цилиндрического корпуса с двумя камерами, разделенными перегородкой, которая оснащена прямым для подачи жидкости от насоса и обратным для сброса жидкости из силовых цилиндров подпружиненными клапанами, при этом усилие поджатия пружиной обратного клапана выше, чем усилие поджатия пружиной прямого клапана.
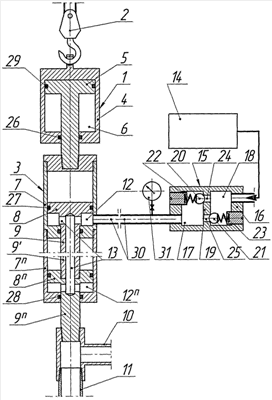
На чертеже изображено предлагаемое устьевое устройство для освобождения колонны труб из скважины в продольном разрезе.
Устьевое устройство для освобождения колонны труб из скважины (не показано) включает демпфер 1, установленный между подъемником 2 (условно показан крюкоблок) и генератором вертикальных импульсов 3.
Демпфер 1 выполнен в виде пары вертикального герметичного цилиндра 4 с герметично вставленным в него поршнем 5, внутренняя полость 6 которого заполнена газом (например, азотом под давлением 30,0 МПа).
Генератор вертикальных импульсов 3 выполнен в виде нескольких соединенных между собой силовых цилиндров 7 7n (например, из пяти соединенных между собой гидроцилиндров), внутри которых размещены соединенные между собой поршни 8 8n со штоками 9; 9′ 9n, причем все штоки кроме нижнего штока 9n, который заглушен снизу и посредством тройника 10 соединен с верхним концом прихваченной колонны труб 11, выполнены полыми и гидравлически сообщают подпоршневые полости 12 12n силовых цилиндров 7 7n между собой посредством каналов 13. Сверху генератор вертикальных импульсов соединен с демпфером 1, а подпоршневая полость 12 одного из силовых цилиндров, например 7, выполнена с возможностью сообщения с поршневым бесклапанным насосом 14.
Подпоршневые полости 12 12n силовых цилиндров 7 7n сообщены между собой и через распределитель 15 с поршневым бесклапанным насосом 14, а нижний шток 9n заглушен снизу и соединен с колонной труб 11.
Распределитель 15 состоит из цилиндрического корпуса 16 с двумя камерами 17 и 18, разделенными перегородкой 19, которая оснащена прямым клапаном 20 для подачи жидкости от поршневого бесклапанного насоса 14 и обратным клапаном 21 для сброса жидкости из силовых цилиндров 7 7n, подпружиненными посредством пружин 22 и 23 соответственно, при этом усилие поджатия пружиной 23 обратного клапана 21 выше, чем усилие поджатия пружиной 22 прямого клапана 20.
Прямой клапан 20 перекрывает отверстие 24, а обратный клапан 21 перекрывает отверстие 25, выполненные в перегородке 19 распределителя 13.
Несанкционированные перетоки жидкости исключаются уплотнительными элементами 26, 27, 28, 29.
Устьевое устройство для освобождения колонны труб из скважины работает следующим образом.
Устройство собирают на устье скважины, как показано на чертеже, при этом пружины 22 и 23 соответственно прямого 20 и обратного 21 клапанов регулируют путем поджатия регулировочных винтов на определенное давление (например, гидравлическое давление срабатывания прямого клапана Рп=1 атм = 0,1 МПа; и гидравлическое давление срабатывания обратного клапана Рп=50 атм = 5 МПа.)
С помощью подъемника 2 (см. чертеж) производят натяжку устройства и соответственно прихваченной в скважине колоны труб 11.
Приводят в действие поршневой бесклапанный насос 14.
В процессе работы поршни (не показано) поршневого бесклапанного насоса 14 движутся, например, слева направо, нагнетая рабочую жидкость (например, техническую воду) в распределитель 15. Рабочая жидкость сначала попадает в камеру 18 распределителя 15, откуда через отверстие 24 и прямой клапан 20, отжав его пружину 22 (при достижении гидравлического давления Рп=1 атм = 0,1 МПа в камере 18 распределителя), попадает в камеру 17 распределителя 15, из которой посредством гидравлической линии 30 нагнетается насосом 14 в подпоршневую полость 12 гидроцилиндра 7.
Из подпоршневой полости 12 гидроцилиндра 7 рабочая жидкость по каналам 13 перетекает в подпоршневые полости 12′ 12n других гидроцилиндров 7′ 7n.
В результате поршни 8 8n со штоками 9; 9′ 9n под действием гидравлического давления, создаваемого насосом 14 в подпоршневых полостях 12 12n гидроцилиндров 7 7n, перемещаются вверх, вытягивая за собой прихваченную колонну труб 11 относительно перемещающихся вниз силовых цилиндров 7 7n генератора вертикальных импульсов 3, при этом во внутренней полости 6 демпфера 1 происходит сжатие газа поршнем 5, герметично вставленным в цилиндр 4, и происходит гашение ударного усилия, направленного вниз, воспринимаемого подъемником 2.
Движение поршней 8 8n со штоками 9; 9′ 9n вверх (импульс) и соответственно резкое вытягивание прихваченной колонны труб 11 происходит до тех пор, пока поршни в поршневом бесклапанном насосе 14 не дойдут до крайней правой точки, что будет соответствовать максимальному давлению, например Pmax=200 атм = 20 МПа, определяемому манометром 31, что соответствует окончанию нагнетания рабочей жидкости в силовые цилиндры 7 7n.
Далее направление перемещения поршней поршневого бесклапанного насоса 14 меняется на противоположное (справа налево), и давление в подпоршневых полостях 12 12n гидроцилиндров 7 7n падает за счет веса прихваченной колонны труб 11, поршни 8 8n со штоками 9; 9′ 9n перемещаются вниз относительно перемещающихся вверх гидроцилиндров 7 7n генератора вертикальных импульсов 3, при этом рабочая жидкость под весом прихваченной колонны труб 11 начинает перетекать из подпоршневых полостей 12′ 12n гидроцилиндров 7′ 7n по гидравлической линии 30 в распределитель 15
В генераторе вертикальных импульсов 3 поршень 5 под действием давления газа во внутренней полости 6 демпфера 1 возвращается в исходное положение (см.чертеж) и происходит гашение усилия, направленного вверх, воспринимаемого подъемником 2.
Достигнув распределителя 15, рабочая жидкость сначала попадает в камеру 17 распределителя 15, откуда через отверстие 25 и обратный клапан 21, отжав его пружину 23, попадает в камеру 18 распределителя 15, откуда перетекает в поршневую полость поршневого бесклапанного насоса 14, поскольку поршни последнего перемещаются слева направо, вследствие чего увеличивается объем поршневой полости поршневого бесклапанного насоса 14.
Перетекание рабочей жидкости из подпоршневых полостей 12′ 12n гидроцилиндров 7′ 7n по гидравлической линии 30 в распределитель 15 и из распределителя 15 в поршневую полость поршневого бесклапанного насоса 14 прекращается при закрытии обратного клапана 21 в момент достижения в камере 17 распределителя 15 гидравлического давления Рп=50 атм = 5 МПа.
Таким образом, в гидравлической системе насос-распределитель – силовые гидроцилиндры гидравлическое давление не снижается ниже 5 МПа, что позволяет находиться прихваченной колонне труб 11 в натянутом положении, то есть вес колонны не разгружается на место прихвата, поэтому импульс усилия всегда направлен вверх.
Демпфер 1 служит для гашения знакопеременной нагрузки, передающейся в процессе работы предлагаемого устройства на подъемник 2.
Таким образом, происходит один цикл работы устьевого устройства для освобождения колонны труб из скважины.
В дальнейшем цикл повторяется до освобождения прихваченной колонны труб, как описано выше, при этом происходит безударное вибрационное воздействие на прихваченную колонну труб.
При необходимости в любой момент в процессе освобождения при наличии циркуляции можно произвести промывку прихваченной колонны труб 11 через тройник 10.
Предлагаемое устьевое устройство для освобождения колонны труб из скважины имеет простую конструкцию и сравнительно с прототипом дешево в изготовлении и имеет меньшую металлоемкость, при этом конструкция устройства позволяет производить безударное вибрационное воздействие, что повышает эффективность извлечения из скважины прихваченной колонны труб.
Формула изобретения
Устьевое устройство для освобождения колонны труб из скважины, включающее демпфер, установленный между подъемником и генератором вертикальных импульсов, который снизу соединен с колонной труб, отличающееся тем, что демпфер выполнен в виде вертикального герметичного цилиндра с поршнем, внутренняя полость под поршнем которого заполнена газом, а генератор вертикальных импульсов выполнен в виде трубчатого корпуса, состоящего из последовательно соединенных силовых цилиндров и соединенного сверху со штоком поршня демпфера, силовые цилиндры снабжены силовыми поршнями, соединенными последовательно полыми штоками так, что подпоршневые полости силовых цилиндров сообщены между собой и через распределитель с поршневым бесклапанным насосом, а нижний шток, заглушенный снизу, соединен с колонной труб, причем распределитель состоит из цилиндрического корпуса с двумя камерами, разделенными перегородкой, которая оснащена прямым для подачи жидкости от насоса и обратным для сброса жидкости из силовых цилиндров подпружиненными клапанами, при этом усилие поджатия пружины обратного клапана выше, чем усилие поджатия пружины прямого клапана.
РИСУНКИ
|
|