Патент на изобретение №2383709

Published by on




РОССИЙСКАЯ ФЕДЕРАЦИЯ



ФЕДЕРАЛЬНАЯ СЛУЖБА
ПО ИНТЕЛЛЕКТУАЛЬНОЙ СОБСТВЕННОСТИ,
ПАТЕНТАМ И ТОВАРНЫМ ЗНАКАМ
(19) RU (11) 2383709 (13) C2
(51) МПК

E05D15/10 (2006.01)

(12) ОПИСАНИЕ ИЗОБРЕТЕНИЯ К ПАТЕНТУ

Статус: по данным на 28.09.2010 – действует

(21), (22) Заявка: 2007139104/12, 08.03.2006

(24) Дата начала отсчета срока действия патента:

08.03.2006

(30) Конвенционный приоритет:

23.03.2005 JP 2005-083286

(43) Дата публикации заявки: 27.04.2009

(46) Опубликовано: 10.03.2010

(56) Список документов, цитированных в отчете о
поиске:
WO 2004/099540 А, 18.11.2004. JP 4101491 U, 02.09.1992. US 5832668 А, 10.11.1998. RU 2107798 C1, 27.03.1998.

(85) Дата перевода заявки PCT на национальную фазу:

23.10.2007

(86) Заявка PCT:

JP 2006/304451 20060308

(87) Публикация PCT:

WO 2006/100910 20060928

Адрес для переписки:

129090, Москва, ул.Б.Спасская, 25, стр.3, ООО “Юридическая фирма Городисский и Партнеры”, пат.пов. А.В.Мицу, рег. 364

(72) Автор(ы):

МАСУДА Хироюки (JP)

(73) Патентообладатель(и):

СУГАЦУНЕ КОГИО КО., ЛТД. (JP)

(54) НАПРАВЛЯЮЩЕЕ УСТРОЙСТВО ДЛЯ ПЛАСТИНЧАТОГО ОБЪЕКТА

(57) Реферат:

Изобретение относится к направляющему устройству для направления одного или множества пластинчатых объектов, таких как двери. Направляющее устройство для направления перемещения пластинчатого объекта относительно основного корпуса между установленным положением и подготовительным положением перед или позади установленного положения и между подготовительным положением и неустановленным положением влево или вправо от подготовительного положения. Устройство содержит поворачивающуюся направляющую удлиненной формы, горизонтально проходящую в направлении вправо и влево. Направляющая поддерживается посредством упомянутого основного корпуса так, что может поворачиваться вокруг первой оси поворота, проходящей в направлении вправо и влево, между первым положением поворота и вторым положением поворота. При этом направляющая включает в себя приемный паз, проходящий в ее продольном направлении. Одна боковая часть приемного паза предусмотрена в качестве дорожки качения. Кроме того, направляющее устройство содержит: элемент качения, поддерживаемый посредством пластинчатого объекта таким образом, что элемент качения может качаться вокруг второй оси поворота, параллельной первой оси поворота; соседний элемент, размещенный рядом с поворачивающейся направляющей и имеющий вспомогательную дорожку. При этом упомянутая вспомогательная дорожка проходит в направлении вправо и влево. Кроме того, направляющее устройство дополнительно содержит отклоняющий элемент, отклоняющий направляющую во второе положение поворота, и ограничительный элемент для удержания направляющей во втором положении поворота напротив упомянутого отклоняющего элемента. При этом направляющая включает в себя приемное отверстие, открывающееся в левом и правом концах направляющей. На основном корпусе установлена пара узлов поддержки направляющей так, чтобы содержать между собой направляющую и поддерживать ее с возможностью поворота. Каждый из узлов поддержки направляющей включает в себя несущую часть, вставленную в приемное отверстие поворачивающейся направляющей. При этом отклоняющий элемент принимается в приемном отверстии в положение глубже несущей части. Заявленная группа изобретений позволяет надежно удерживать поворачивающуюся направляющую в положении, в котором она может принимать пластинчатый объект повторно после того, как пластинчатый объект покинул поворачивающуюся направляющую. 2 н. и 6 з.п. ф-лы, 21 ил.

Область техники, к которой относится изобретение

Данное изобретение относится к направляющему устройству для направления одного или множества пластинчатых объектов в левом и правом направлении.

Уровень техники

Патентный документ 1 раскрывает направляющее устройство для множества раздвижных дверей (пластинчатых объектов), открывающее и закрывающее проем основного корпуса, такого как окно или мебель. Множество раздвижных дверей размещаются заподлицо друг с другом, когда все из них находятся в закрытом положении (установленное положение). Направляющее устройство направляет раздвижные двери из закрытого положения в открытое подготовительное положение (подготовительное положение) перед или позади закрытого положения и из открытого подготовительного положения в открытое положение (неустановленное положение), размещенное слева или справа от открытого подготовительного положения.

Направляющее устройство по Патентному документу 1, как проиллюстрировано на фиг.21-30 Патентного документа 1, содержит в качестве основного направляющего механизма множество поворачивающихся направляющих, поддерживаемых в нижней краевой части проема основного корпуса, и ролик (элемент качения), поддерживаемый в нижней краевой части каждой из раздвижных дверей.

Множество поворачивающихся направляющих выполнены с горизонтально удлиненной формой и проходят в направлении вправо и влево. Поворачивающиеся направляющие размещены в направлении вправо и влево, чтобы сформировать прямую линию, и поддерживаются с возможностью поворота вокруг первой оси поворота, проходя в направлении вправо и влево, между горизонтальным лежачим положением (первым положением поворота) и вертикальным стоячим положением (вторым положением поворота).

Каждая из поворачивающихся направляющих включает в себя приемный паз, проходящий в продольном направлении поворачивающейся направляющей. Одна боковая часть (боковая часть ближайшая к оси поворота) приемного паза служит в качестве дорожки качения. Поворачивающаяся направляющая дополнительно включает в себя вспомогательную дорожку, отстоящую от дорожки качения на 90 градусов вокруг первой оси поворота.

Ролик поддерживается с возможностью качания вокруг второй оси поворота, которая параллельна первой оси поворота.

Когда раздвижная дверь находится в закрытом положении, соответствующая поворачивающаяся направляющая находится в горизонтальном лежачем положении, а ролик принимается в приемном пазе поворачивающейся направляющей.

Когда раздвижная дверь находится в открытом подготовительном положении, соответствующая поворачивающаяся направляющая находится в вертикальном стоячем положении, а ролик, принятый в приемном пазе поворачивающейся направляющей, катится по дорожке качения.

Когда раздвижная дверь перемещается из открытого подготовительного положения в открытое положение, ролик переходит с дорожки качения соответствующей поворачивающейся направляющей на вспомогательную дорожку другой поворачивающейся направляющей рядом с соответствующей поворачивающейся направляющей.

Чтобы дать возможность раздвижной двери вернуться в открытое подготовительное положение из открытого положения, соответствующая поворачивающаяся направляющая должна поддерживаться в вертикальном стоячем положении. Чтобы удовлетворять этому требованию, направляющее устройство по Патентному документу 1 включает в себя структуру для поддержания поворачивающейся направляющей в вертикальном стоячем положении. Как показано на фиг.24 Патентного документа 1, структура удерживания направляющей включает в себя шарик, принимаемый в приемном отверстии поворачивающейся направляющей, и цилиндрическую пружину сжатия, толкающую шарик в выступающем направлении. Шарик зацепляется в выемке узла поддержки направляющей бока основного корпуса, тем самым поддерживая поворачивающуюся направляющую в стоячем положении.

Патентный документ 1: Международная публикация WO2004/099540.

Сущность изобретения

Проблемы, решаемые изобретением

В структуре удержания направляющей по Патентному документу 1 после того как шарик расцепляется с выемкой узла поддержки направляющей посредством внешней силы, поворачивающаяся направляющая не может вернуться в стоячее положение. Это является проблемой, поскольку не допускает возврат раздвижной двери в открытое подготовительное положение.

Средство разрешения проблем

Настоящее изобретение осуществлено для того, чтобы разрешить вышеупомянутую проблему. Согласно настоящему изобретению, предусмотрено направляющее устройство для направления перемещения пластинчатого объекта (3) относительно основного корпуса (1) между установленным положением и подготовительным положением перед или позади зафиксированной позиции и между подготовительным положением и неустановленным положением влево или вправо от подготовительного положения, содержащее: поворачивающуюся направляющую (20) удлиненной формы, горизонтально проходящую в направлении вправо и влево и поддерживаемую посредством основного корпуса так, что упомянутая поворачивающаяся направляющая может поворачиваться вокруг первой оси (L1) поворота, проходящей в направлении вправо и влево между первым положением поворота и вторым положением поворота, при этом поворачивающаяся направляющая включает в себя приемный паз (25), проходящий в продольном направлении поворачивающейся направляющей, причем одна боковая часть приемного паза служит в качестве дорожки (25b) качения; элемент (40) качения, поддерживаемый посредством пластинчатого объекта таким образом, что элемент качения может качаться вокруг второй оси (L2) поворота, параллельной первой оси (L1) поворота; и соседний элемент (20), размещенный рядом с поворачивающейся направляющей и имеющий вспомогательную дорожку (26), при этом вспомогательная дорожка проходит в направлении вправо и влево, причем вспомогательная дорожка становится непрерывной с дорожкой качения поворачивающейся направляющей, когда поворачивающаяся направляющая находится во втором положении поворота. Когда пластинчатый объект (3) находится в установленном положении, поворачивающаяся направляющая (20) находится в первом положении поворота, а элемент (40) качения принимается в приемном пазе (25) поворачивающейся направляющей. Когда пластинчатый объект находится в подготовительном положении, поворачивающаяся направляющая находится во втором положении поворота, а элемент качения принимается в приемном пазе поворачивающейся направляющей и катится по дорожке (25b) качения. Когда пластинчатый объект перемещается из подготовительного положения в неустановленное положение, элемент качения переносится с дорожки качения на вспомогательную дорожку (26). Направляющее устройство дополнительно содержит: отклоняющий элемент (18), отклоняющий поворачивающуюся направляющую (20) ко второму положению поворота; и ограничительный элемент (13) для удержания поворачивающейся направляющей (20) во втором положении поворота напротив отклоняющего элемента.

Согласно другому объекту настоящего изобретения предусмотрено направляющее устройство для направления перемещения каждого из множества пластинчатых объектов (3) относительно основного корпуса (1) между установленным положением и подготовительным положением перед или позади установленного положения и между подготовительным положением и неустановленным положением влево или вправо от подготовительного положения, причем множество пластинчатых объектов размещаются заподлицо друг к другу, когда все из множества пластинчатых объектов находятся в установленных положениях и размещены в направлении вправо и влево, при этом направляющее устройство содержит: множество поворачивающихся направляющих (20) удлиненной формы, проходящих в направлении вправо и влево, размещенных в направлении вправо и влево так, чтобы сформировать прямую линию, и поддерживаемых посредством основного корпуса так, что каждая из поворачивающихся направляющих может поворачиваться вокруг первой оси (L1) поворота, проходящей в направлении вправо и влево между первым положением поворота и вторым положением поворота; и элемент (40) качения, поддерживаемый посредством каждого из множества пластинчатых объектов так, что элемент качения может качаться вокруг второй оси (L2) поворота, параллельной первой оси (L1) поворота. Каждая из поворачивающихся направляющих включает в себя: приемный паз (25), проходящий в продольном направлении поворачивающейся направляющей, причем одна боковая часть приемного паза служит в качестве дорожки (25b) качения. Каждая из поворачивающихся направляющих дополнительно включает в себя вспомогательную дорожку (26), отстоящую от дорожки качения на тот же угол, что и угол между первым положением поворота и вторым положением поворота вокруг первой оси поворота. Когда каждый из множества пластинчатых объектов (3) находится в установленном положении, соответствующая одна из поворачивающихся направляющих (20) находится в первом положении поворота, а элемент (40) качения принимается в приемном пазу (25) соответствующей поворачивающейся направляющей. Когда каждый из пластинчатых объектов находится в подготовительном положении, соответствующая одна из поворачивающихся направляющих находится во втором положении поворота, а элемент качения принимается в приемном пазу и катится по дорожке (25b) качения соответствующей поворачивающейся направляющей. Когда каждый из пластинчатых объектов перемещается из подготовительного положения в неустановленное положение, элемент качения переносится с дорожки качения соответствующей поворачивающейся направляющей на вспомогательную дорожку (26) другой из поворачивающихся направляющих рядом с соответствующей поворачивающейся направляющей. Направляющее устройство дополнительно содержит отклоняющий элемент (18), отклоняющий поворачивающуюся направляющую (20) во второе положение поворота; и ограничительный элемент (13) для удержания поворачивающейся направляющей (20) во втором положении поворота напротив отклоняющего элемента.

В двух объектах настоящего изобретения, упомянутых выше, когда пластинчатый объект находится в неустановленном положении, даже если поворачивающаяся направляющая поворачивается из второго положения поворота к первому положению поворота посредством внешней силы, поворачивающаяся направляющая может быть немедленно возвращена во второе положение поворота посредством отклоняющего элемента. Следовательно, пластинчатый объект может быть возвращен из неустановленного положения в установленное положение.

Предпочтительно, поворачивающаяся направляющая (20) включает в себя приемное отверстие (21), открытое на левом и правом концах поворачивающейся направляющей. Пара узлов (11) поддержки направляющей установлены на основном корпусе (1) так, чтобы размещать между собой поворачивающуюся направляющую (20) и поддерживать с возможностью поворота поворачивающуюся направляющую (20), причем каждый из узлов поддержки направляющей включает в себя несущую часть (12b), вставленную в приемное отверстие поворачивающейся направляющей. Отклоняющий элемент (18) принимается в приемном отверстии в положении глубже несущей части.

В этой компоновке отклоняющий элемент принимается в приемном отверстии и, следовательно, может предотвращаться его износ.

Предпочтительно, отклоняющий элемент содержит пружину (18) кручения, причем один конец пружины кручения захватывается в концевой поверхности несущей части (12b), а другой ее конец захватывается во внутренней окружности приемного отверстия (21).

В этой компоновке отклоняющий элемент может иметь простую структуру, и структура для захватывания отклоняющего элемента также может быть простой.

Предпочтительно, опорный штифт (19), имеющий фланец (19а) на своем дальнем конце, крепится к узлу (11) поддержки направляющей, при этом опорный штифт выступает из концевой поверхности несущей части (12b) вдоль первой оси (L1) поворота, причем опорный штифт проходит через пружину (18) кручения внутри приемного отверстия (21) поворачивающейся направляющей (20), причем пружина кручения размещена между несущей частью и фланцем опорного штифта. Захватный паз (22), проходящий в продольном направлении поворачивающейся направляющей (20), сформирован на внутренней поверхности приемного отверстия (21) поворачивающейся направляющей (20), причем другой конец пружины (18) кручения вставлен в захватный паз.

Эта компоновка позволяет пружине кручения просто и надежно быть собранной в поворачивающуюся направляющую.

Предпочтительно, направляющее устройство дополнительно содержит удлиненный амортизатор (90), принятый в приемном отверстии (21) поворачивающейся направляющей (20), причем амортизатор включает в себя шток (91), трубчатый элемент (92), размещенный по внешней поверхности штока, и материал с вязкостным сопротивлением, заполняющий зазор между внешней поверхностью штока и внутренней поверхностью трубчатого элемента. Шток (91) крепится к узлу (11) поддержки направляющей и выступает из торца несущей части 12b вдоль первой оси (L1) поворота, причем шток (91) проходит через пружину (18) кручения. Трубчатый элемент (92) удерживается от поворота относительно внутренней поверхности приемного отверстия поворачивающейся направляющей.

В этой компоновке, когда пластинчатый объект перемещается между установленным положением и подготовительным положением, воздействие вследствие веса пластинчатого объекта может поглощаться посредством амортизатора.

Предпочтительно, когда поворачивающаяся направляющая (20) находится во втором положении поворота, дорожка (25b) качения размещается, в общем, непосредственно над первой осью (L1) поворота. В этой компоновке, когда пластинчатый объект находится в подготовительном положении, поворачивающаяся направляющая во втором положении поворота не затрагивается за счет момента веса пластинчатого объекта и может надежно удерживаться во втором положении поворота посредством отклоняющего элемента.

Предпочтительно, поворачивающаяся направляющая имеет конфигурацию плоского поперечного сечения, лежит горизонтально, когда находится в первом положении поворота, и стоит вертикально, когда находится во втором положении поворота. Предпочтительно, элемент качения имеет плоскую конфигурацию, лежит горизонтально, когда поворачивающаяся направляющая находится в первом положении поворота, и стоит вертикально, когда поворачивающаяся направляющая находится во втором положении поворота.

Предпочтительно, секция (2х) проема, соответствующая пластинчатому объекту (3), сформирована в основном корпусе (1), причем пластинчатый объект закрывает секцию проема, когда находится в установленном положении, и пластинчатый объект открывает секцию проема, когда находится в неустановленном положении.

Более предпочтительно, основной направляющий механизм (5) размещен в одной верхней и нижнее краевых частей секции (2х) проема, а вспомогательный направляющий механизм (6) размещен в другой из верхней и нижней краевых секций проема. Основной направляющий механизм включает в себя поворачивающуюся направляющую (20), размещенную в одной из верхней и нижней краевых частей секции проема, и элемент (40) качения, размещенный в одной из верхней и нижней краевой частей пластинчатого объекта (3). Вспомогательный направляющий механизм включает в себя первый направляющий канал (65), размещенный в другой из верхней и нижней краевой части секции проема, при этом первый направляющий канал проходит в направлении вперед и назад, второй направляющий канал (61g), проходящий в направлении влево и вправо, пересекающийся с первым направляющим каналом, и ползун (70), размещенный в другой из верхней и нижней краевой части пластинчатого объекта (3). Элемент качения направляется посредством первого направляющего канала, чтобы выполнять перемещение в направлении вперед и назад с вертикальными сдвигом, когда пластинчатый объект перемещается между установленным положением и подготовительным положением, и элемент качения направляется посредством второго направляющего канала, чтобы перемещаться в направлении вправо и влево, когда пластинчатый объект перемещается между подготовительным положением и неустановленным положением.

Эта компоновка позволяет надежно направляться пластинчатому объекту.

Преимущество изобретения

Согласно данному изобретению, поворачивающаяся направляющая может надежно удерживаться во втором положении поворота, которая позволяет пластинчатому объекту в незафиксированной позиции быть надежно возвращенным в подготовительную позицию.

Краткое описание чертежей

Фиг.1 – вид спереди перегородки, оснащенной направляющим устройством согласно одному варианту осуществления настоящего изобретения.

Фиг.2 – увеличенное вертикальное сечение направляющего устройства по фиг.1 вдоль линии II-II, показывающее раздвижную дверь в закрытом положении.

Фиг.3 – увеличенное вертикальное сечение направляющего устройства, показывающее раздвижную дверь в открытом подготовительном положении.

Фиг.4 – увеличенное вертикальное сечение направляющего устройства, показывающее одну раздвижную дверь в закрытом положении, а другую раздвижную дверь в открытом положении, причем эти раздвижные двери перекрывают друг друга.

Фиг.5 – увеличенный вид спереди нижней структуры направляющего устройства, показывающий поворачивающуюся направляющую в вертикально стоящем положении и раздвижную дверь в открытом подготовительном положении.

Фиг.6 – увеличенный вид спереди нижней структуры направляющего устройства, показывающий поворачивающуюся направляющую в вертикальном стоящем положении и раздвижную дверь в открытом положении.

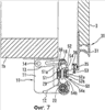
Фиг.7 – увеличенное поперечное сечение механизма позиционирования, когда раздвижная дверь находится в открытом подготовительном положении.

Фиг.8 – увеличенный вид сверху, частично показанный в поперечном сечении, механизма позиционирования, когда раздвижная дверь находится в открытом подготовительном положении.

Фиг.9 – увеличенный вид сзади ролика и его опорного механизма, когда раздвижная дверь находится в закрытом положении, а поворачивающаяся направляющая находится в горизонтальном лежачем положении.

Фиг.10 – покомпонентный вид сбоку поворачивающейся направляющей и ее опорного механизма.

Фиг.11 – покомпонентный вид спереди, частично показанный в поперечном сечении, опорного механизма для поворачивающейся направляющей и пружины кручения.

Фиг.12 – укрупненный вид спереди верхней поверхности направляющего устройства.

Фиг.13 – вид сверху раздвижной двери.

Фиг.14 иллюстрирует каждый компонент верхней структуры направляющего устройства. Фиг.14(A) – поперечное сечение первой направляющей; фиг.14(B) – вид сбоку соединительного металлического элемента, размещенного на противостоящих краях первой направляющей; фиг.14(C) – вид сбоку соединительного металлического элемента, размещенного в промежуточной части первой направляющей; а фиг.14(D) – поперечное сечение второй направляющей.

Фиг.15(A) – вид сверху соединительного металлического элемента, размещенного на противостоящих концах первой направляющей;

фиг.15(B) – вид сверху соединительного металлического элемента, размещенного в промежуточной части первой направляющей.

Фиг.16 – покомпонентный вид спереди опорного механизма для поворачивающейся направляющей и пружины кручения направляющего устройства согласно второму варианту осуществления настоящего изобретения.

Фиг.17 – поперечный разрез опорного механизма в сборе для поворачивающейся направляющей и пружины кручения направляющего устройства согласно второму варианту осуществления настоящего изобретения.

Фиг.18 – поперечное сечение поворачивающейся направляющей, используемой во втором варианте осуществления.

Описание ссылочных номеров

1 – рама

2х – открывающаяся секция

3 – раздвижная дверь (пластинчатый объект)

11 – опорный кронштейн (узел поддержки направляющей)

12b – несущая часть

18 – пружина кручения (отклоняющий элемент)

19 – опорный штифт

19а – фланец

20 – поворачивающаяся направляющая

21 – приемное отверстие

22 – захватный паз

25 – приемный паз

25b – дорожка качения

26 – вспомогательная дорожка

40 – ролик (элемент качения)

60 – направляющая в сборе

65 – зазор (первый направляющий канал)

61g – направляющий паз (второй направляющий канал)

70 – ползун

90 – амортизатор

91 – шток

92 – трубчатый элемент

L1 – первая ось поворота

L2 – вторая ось поворота

Оптимальный режим осуществления изобретения

Далее описывается один вариант осуществления настоящего изобретения со ссылкой на чертежи. Перегородка, показанная на фиг.1, используется для разделения пространства, например, в комнате. Перегородка включает в себя горизонтальную длинную прямоугольную раму 1 (основной корпус). Рама 1 состоит из верхней части 1a рамы и нижней части 1b рамы, обе из которых проходят горизонтально, и левой и правой частей 1c, 1d рамы, проходящих вертикально. Левая и правая части 1c, 1d рамы продолжаются вниз так, чтобы служить в качестве опорных стоек, при этом нижние концы частей рамы крепятся на основаниях (не показаны), размещенных на полу.

Горизонтальный длинный проем 2, образованный рамой 1, закрывается посредством множества, например, четырех раздвижных дверей 3 (пластинчатых объектов), расположенных в правом и левом направлениях. Раздвижные двери 3 изготовлены из вертикальных длинных прямоугольных пластин одинаковых размеров. Область проема 2, соответствующая каждой из раздвижных дверей 3, упоминается как секция 2x проема. Четыре секции 2x проема являются непрерывными. В этом варианте осуществления, раздвижные двери 3 могут перемещаться из левого в правый конец рамы 1.

Когда все раздвижные двери 3 находятся в закрытых положениях, они размещаются в одной вертикальной поверхности, заподлицо друг с другом. Раздвижные двери 3 направляются так, чтобы открываться и закрываться посредством направляющего устройства раздвижных дверей.

Сначала описывается нижняя структура 5 (основной направляющий механизм) направляющего устройства раздвижной двери. Нижняя структура 5 содержит поворачивающуюся направляющую 20, размещенную в части нижнего края каждой из секций 2x проема, т.е. нижней части 1b рамы, и пару из левого и правого роликов 40 (бегунков), размещенных в части нижнего края каждой из раздвижных дверей 3.

Четыре поворачивающихся направляющих 20 протяженно проходят в направлении вправо и влево и размещены на прямой линии. Как показано на фиг.2-4, каждая из поворачивающихся направляющих 20 поддерживается с возможностью поворота вокруг первой оси (L1) поворота посредством механизма 10 поддержки направляющей.

Механизм 10 поддержки направляющей содержит пару из левого и правого опорных кронштейнов 11, размещенных для каждой из секций 2x проема, отделенных, в общем, на ширину секции 2x проема, и опорные блоки 12, установленные на опорных кронштейнах 11. Опорные кронштейны 11 взаимодействуют с опорными блоками 12, чтобы служить в качестве узла поддержки направляющей.

Как показано на фиг.10, опорный кронштейн 11 сформирован посредством сгибания металлической пластины и включает в себя горизонтальную часть 11a крепления, закрепленную на нижней поверхности нижней части 1b рамы, вертикальную часть 11b, проходящую вертикально от горизонтальной части 11a крепления, и выступ 11c, выступающий горизонтально вперед (передняя сторона на фиг.1, правая сторона на фиг.2-4) из вертикальной части 11b. Опорные кронштейны 11 для присоединения секций 2x проема размещаются рядом друг с другом встык.

Как показано на фиг.10 и 11, опорный блок 12, имеющий продолговатую конфигурацию, поддерживается в выступе 11c опорного кронштейна 11. Опорный блок 12 включает в себя корпус 12a, несущую часть 12b, имеющую цилиндрическую конфигурацию и проходящую из боковой поверхности одной торцевой части корпуса 12a, и часть 12c дорожки, сформированную в верхней поверхности одной торцевой части корпуса 12a. Как показано на фиг.11, прорезь 12d сформирована в корпусе 12a, а выступ 11c опорного кронштейна 11 вставлен в прорезь 12d. Прорезь 12d связана с внутренним пространством несущей части 12b посредством отверстия 12e и открывается к боковой поверхности корпуса 12a на противоположной стороне к несущей части 12b через отверстие 12f.

Как показано на фиг.10, опорное отверстие 11x сформировано в верхнем и заднем конце вертикальной части 11b опорного кронштейна 11. Как показано на фиг.2-4, одна торцевая часть рычага 13 (ограничительного элемента) соединена с возможностью поворота с опорным кронштейном 11 посредством штифта 14, вставленного в опорное отверстие 11x. Рычаг 13 сформирован в продолговатой конфигурации и включает в себя прорезь 13a, проходящую в его продольном направлении. Прорезь 13a продолжается до другой торцевой части рычага 13.

Поворачивающаяся направляющая 20 сформирована, как показано на фиг.10, из экструдированного материала, такого как экструдированный алюминий, имеющий конфигурацию с плоским поперечным сечением. Поворачивающаяся направляющая сформирована в удлиненной конфигурации, горизонтально проходящей в направлении вправо и влево и имеющей длину немного короче ширины раздвижной двери 3. Поворачивающаяся направляющая 20 сформирована в одной торцевой части в направлении ее ширины, с приемным отверстием 21, имеющим конфигурацию с круговым поперечным сечением и проходящим в продольном направлении, и захватным пазом 22, соединенным с внутренней поверхностью приемного отверстия 21.

Как показано на фиг.11, несущие части 12b опорных блоков 12 вставлены в приемное отверстие 21 на противостоящих концах поворачивающейся направляющей 20, тем самым делая поворачивающуюся направляющую 20 поддерживаемой с возможностью поворота посредством опорных блоков 12 и тем самым поддерживаемой с возможностью поворота посредством нижней рамы 1b. Как показано на фиг.2, ось L1 поворота поворачивающейся направляющей 20 находится перед рамой 1.

Как показано на фиг.10, отверстие 23 сформировано в другой концевой части поворачивающейся направляющей 20, противостоящей оси L1 поворота. Как показано на фиг.2-4, посредством штифта 16, проходящего через отверстие 23, и прорези 13а рычага 13, другая концевая часть поворачивающейся направляющей 20 соединена с рычагом 13 так, что поворачивающаяся направляющая 20 поворачивается относительно рычага 13 и подвижна в продольном направлении рычага 13.

Штифт 16 захватывается в дальнем конце прорези 13а рычага 13, тем самым делая поворачивающуюся направляющую 20 захваченной в горизонтальном лежачем положении (первое поворотное положение), как показано на фиг.2, и вертикальной стоящей позиции (второе поворотное положение). Скольжение штифта 16 в прорези 13а позволяет поворачивающейся направляющей 20 поворачиваться между горизонтальным лежачим положением и вертикальным стоячим положением.

Как показано на фиг.2-4 и фиг.11, поворачивающаяся направляющая 20 постоянно сдвигается в направлении вертикального стоячего положения посредством пары из правой и левой пружин 18 кручения (отклоняющих элементов). Пружины 18 кручения принимаются в приемном отверстии 21 поворачивающейся направляющей 20. Один конец пружины 18 кручения вставляется и захватывается посредством захватного отверстия 12х, сформированного в торцевой поверхности несущей части 12b опорного блока 12. Другой конец пружины кручения захватывается посредством захватного паза 22 поворачивающейся направляющей 20.

Как показано на фиг.11, опорные штифты 19 также принимаются в противостоящих концах приемного отверстия 21 поворачивающейся направляющей 20. Опорный штифт 19 проходит через несущую часть 12b опорного блока 12 и пружины 18 кручения. Одна концевая часть опорного штифта 19 крепится посредством чеканки к фиксирующему отверстию 11y, сформированному в дистальной концевой части выступа 11 с опорного кронштейна 11, тем самым крепя опорный блок 12 к опорному кронштейну 11.

Пружина 18 кручения размещается между фланцем 19а, сформированным в другом конце опорного штифта 19, и торцом несущей части 12b, и надежно удерживается здесь.

Как показано на фиг.10, поворачивающаяся направляющая 20

дополнительно включает в себя приемный паз 25 для приема роликов 40. Приемный паз 25 проходит в продольном направлении поворачивающейся направляющей 20 и открыт у противостоящих краев поворачивающейся направляющей 20. Приемный паз 25 также открыт на верхней стороне, когда поворачивающаяся направляющая 20 находится в горизонтальном лежачем положении (передней стороне, когда в вертикальном стоячем положении). Как описано далее, нижняя поверхность (противостоящие боковые части в направлении ширины нижней поверхности в данном варианте осуществления) приемного паза 25 предусмотрены в качестве опорных поверхностей 25a для поддержки роликов 40, а боковая поверхность приемного паза 25 рядом с осью L1 поворота предусмотрена в качестве дорожки 25b качения.

Вспомогательная дорожка 26 сформирована на одной концевой части поворачивающейся направляющей 20 рядом с осью L1 поворота в положении 90 градусов от дорожки 25b качения. Когда поворачивающаяся направляющая 20 находится в горизонтальном лежачем положении, как показано на фиг.2, вспомогательная дорожка 26 обращена вверх и становится непрерывной с частями 12c дорожек опорных блоков 12. Когда поворачивающаяся направляющая 20 находится в вертикальном стоячем положении, как показано на фиг.3, вспомогательная дорожка 26 обращена вперед.

Как показано на фиг.2-4, ролик 40 имеет плоскую дисковую конфигурацию и поддерживается с помощью раздвижной двери 3 с возможностью качания вокруг второй оси L2 поворота посредством опорного механизма 30 ролика (опорного механизма элемента качения). Вторая ось L2 поворота проходит параллельно первой оси L1 поворота.

Опорный механизм 30 ролика включает в себя опорную раму 31 и две пары кронштейнов 32, 33. Опорная рама 31 сформирована из экструдированного материала, проходит в направлении влево и вправо, и имеет длину, равную ширине раздвижной двери 3. Опорная рама 31 включает в себя фиксированную часть 31a, крепящуюся к нижней краевой части раздвижной двери 3, вертикальную часть 31b, проходящую вертикально от заднего края фиксированной части 31a, и часть 31c ручки, проходящую вниз от переднего края фиксированной части 31a. Часть 31c ручки имеет конфигурацию поперечного сечения, подходящую для захвата пальцами пользователя.

Как описано ниже, приемная выемка 31d для приема верхней части ролика 40 сформирована между частью 31c ручки и вертикальной частью 31b. Поскольку опорная рама 31 сформирована из экструдированного материала, часть 31c ручки и приемная выемка 31d проходят в продольном направлении опорной рамы 31 (в направлении вправо и влево).

Как показано на фиг.2 и 9, вертикальная часть 31b опорной рамы 31 проходит дальше вниз, чем часть 31c ручки, а пара из левого и правого кронштейнов 32 крепится к нижней краевой части вертикальной части 31b. Более конкретно, паз, проходящий в продольном направлении, сформирован в вертикальной части 31b, а кронштейны 32 крепятся к вертикальной части 31b посредством гаек 35, принимаемых в пазе, и винтов 36.

Как показано на фиг.9, кронштейны 32, 33 имеют опорные части 32a, 33a на своих противолежащих концах. Штифт 37 проходит через опорные части 32a, 33a, тем самым соединяя кронштейн 33 с кронштейном 32 так, что кронштейн 33 поворачивается вокруг оси L2 поворота.

Ролик 40 поддерживается с возможностью поворота в центральной части кронштейна 33 посредством элемента 38 вала. Ось поворота ролика 40 ортогональна оси L2 поворота кронштейна 33.

Как показано на фиг.5, механизм 50 позиционирования размещается между парой из левого и правого роликов 40 в центральной части нижней краевой части каждой из раздвижных дверей 3. Механизм 50 позиционирования предусмотрен для позиционирования раздвижной двери 3 относительно поворачивающейся направляющей 20 и, как показано на фиг.7 и 8, включает в себя соединительную пластину 51, крепящуюся к поворачивающейся направляющей 20, и соединительный ролик 52, который должен входить в соединительную пластину 51.

Соединительная пластина 51 изготовляется из магнитного материала, такого как железная пластина, входит в отверстие 29, сформированное в центральной части поворачивающейся направляющей 20, и крепится к поворачивающейся направляющей 20. Соединительная пластина 51 включает в себя дугообразную соединительную выемку 51a в ее центральной части.

Соединительный ролик 52 поддерживается посредством опорной рамы 31 с помощью двух кронштейнов 53, 54. Более конкретно, кронштейн 53 имеет форму, аналогичную форме кронштейна 32 опорного механизма 30 ролика, описанного выше, и крепится к опорной раме 31 с помощью пары из гайки 35 и винта 36. Кронштейн 54 поддерживается с возможностью поворота посредством кронштейна 53 с помощью штифтов 55 на противолежащих концах кронштейна 54. Ось поворота кронштейна 54 находится на той же прямой линии, что и ось L2 поворота.

Соединительный ролик 52 состоит из дискового магнита 52a и пары дисковых опорных пластин 52b, размещенных так, чтобы заключать между собой магнит 52a. Диаметр опорной пластины 52b немного превышает диаметр магнита 52a.

Соединительный ролик 52 размещается между парой частей 54a опорных пластин кронштейна 54. Штифт 56 проходит через центральную часть соединительного ролика 52. Противолежащие концевые части штифта 56 вставляются в удлиненные отверстия 54b, сформированные в паре частей 54a опорных пластин, тем самым поддерживая соединительный ролик 52 посредством кронштейна 54 так, что соединительный ролик 52 может поворачиваться относительно кронштейна 54 и может выступать из него и отводиться в него. Штифт 56 размещается ортогонально штифту 55.

Далее описывается верхняя структура 6 (вспомогательный направляющий механизм) направляющего устройства. Верхняя структура 6 включает в себя, как показано на фиг.2, направляющую 60 в сборе, помещенную на части 1a верхней рамы, и ползуны 70, размещенные в верхней краевой части раздвижной двери 3 посредством опорных кронштейнов 81.

Направляющая 60 в сборе, как показано на фиг.14, состоит из четырех типов элементов, т.е. первой направляющей 61, вторых направляющих 62 и соединительных металлических элементов 63, 64.

Как показано на фиг.1 и 12, первая направляющая 61 и вторая направляющая 62 проходят вдоль части 1a верхней рамы. Первая направляющая 61 имеет длину, в общем, равную сумме ширины четырех раздвижных дверей 3 (длине верхней части 1a рамы). Вторая направляющая 62 короче ширины раздвижной двери 3 и помещается для каждой из открывающих секций 2x проема.

Как показано на фиг.2 и 14, первая направляющая 61 изготовлена из экструдированного материала, имеющего, в общем, конфигурацию треугольного поперечного сечения, а вторая направляющая 62 изготовлена из экструдированного материала, имеющего, в общем, конфигурацию трапециевидного поперечного сечения. Первая направляющая 61 и вторая направляющая 62 размещаются так, чтобы противостоять друг другу на противоположных сторонах наклонного зазора 65 и формировать вместе прямоугольное поперечное сечение. Зазор 65 наклоняется вверх по мере того, как он проходит вперед. Области зазора 65, соответствующие противолежащим концевым частям второй направляющей 62 в ее продольном направлении, служат в качестве первых направляющих каналов для ползунов 70, которые описываются ниже.

Как показано на фиг.2 и 14(A), первая направляющая 61 включает в себя облегчающую полость 61a, сформированную в угловой части первой направляющей, два резьбовых отверстия 61b, соединенных с облегчающей полостью 61a, наклонную поверхность 61c, наклоненную рядом с облегчающей полостью 61a, пару выступов 61d, сформированных вдоль противолежащих краев в направлении ширины наклонной поверхности 61c, и соединительные пазы 61e, образованные между выступами 61d и наклонной поверхностью 61c. Первая направляющая 61 дополнительно включает в себя вертикальную поверхность 61f на задней стороне первой направляющей и направляющий паз 61g (второй направляющий канал) в верхней концевой части передней стороны первой направляющей 61.

Как показано на фиг.2 и 14(D), задняя поверхность второй направляющей 62 сформирована в качестве вертикальной поверхности 62a, а верхняя поверхность второй направляющей 62 сформирована в качестве наклонной поверхности 62b. Пара соединительных пазов 62c сформирована в нижней части передней стороны второй направляющей 62. Наклонный зазор 65 сформирован между наклонной поверхностью 61c первой направляющей 61 и наклонной поверхностью 62b второй направляющей 62. Зазор 66, соединенный с наклонным зазором 65, сформирован между вертикальной поверхностью 61f первой направляющей 61 и вертикальной поверхностью 62a второй направляющей 62. Противолежащие концевые части зазора 66 предусмотрены в качестве приемных выемок для ползунов 70, которые описаны ниже.

Как показано на фиг.12, противолежащие концы первой направляющей 61 крепятся к противолежащим концам верхней части 1a рамы с помощью соединительных металлических элементов 63. Как более четко показано на фиг.14(B) и 15(A), соединительный металлический элемент 63 сформирован посредством сгибания металлической пластины. Соединительный металлический элемент 63 включает в себя фиксирующую пластинчатую часть 63a, проходящую горизонтально, которая должна крепиться к верхней поверхности верхней части 1a рамы, вертикальную крепежную пластинчатую часть 63b, изогнутую на 90 градусов относительно соединительной пластинчатой части 63a, первую соединительную пластинчатую часть 63c, сформированную посредством разрезания и сгибания на 90 градусов крепежной пластинчатой части 63b, и вторую соединительную пластинчатую часть 63d, проходящую от края фиксирующей пластинчатой части 63a на противолежащей стороне к крепежной пластинчатой части 63b. Первая соединительная пластинчатая часть 63с наклонена. Вторая соединительная пластинчатая часть 63d проходит горизонтально и размещена выше фиксирующей пластинчатой части 63a над верхней поверхностью верхней части 1a рамы.

Каждый из противолежащих краев первой направляющей 61 крепится к верхней части 1a рамы посредством соединительного металлического элемента 63 путем вставки первой соединительной пластинчатой части 63c в пространство между парой выступов 61d первой направляющей 61 и путем завинчивания винтов в концевые части резьбовых отверстий 61b через отверстия 63x, сформированные в крепежной пластинчатой части 63b.

Как показано на фиг.12, первая направляющая 61 поддерживается посредством верхней части рамы 1a с помощью других соединительных металлических элементов 64 в промежуточной части первой направляющей 61. Как показано на фиг.14(C) и 15 (B), соединительный металлический элемент 64, как и в случае с соединительным металлическим элементом 63, включает в себя фиксирующую пластинчатую часть 64a, которая должна быть прикреплена к верхней части 1a рамы, крепежную пластинчатую часть 64b, первую соединительную пластинчатую часть 64c и вторую соединительную пластинчатую часть 64d. Тем не менее, крепежная пластинчатая часть 64b соединительного металлического элемента 64 меньше крепежной пластинчатой части 63b соединительного металлического элемента 63 и не имеет части, идущей выше, чем соединительная пластинчатая часть 64c, так что крепежная пластинчатая часть 64b может не пересекаться с первой направляющей 61. Первая соединительная пластинчатая часть 64c непрерывна с крепежной пластинчатой частью 64b посредством вставной пластинчатой части 64e, помещенной немного ниже, чем первая соединительная пластинчатая часть 64c.

Как показано на фиг.2 и 12, промежуточная часть первой направляющей 61 поддерживается посредством установки первых соединительных пластинчатых частей 64c соединительных металлических элементов в соединительный паз 61e первой направляющей 61. В этом установленном состоянии вставная пластинчатая часть 64e соединительных металлических элементов 64 вставлена между выступами 61d первой направляющей 61.

Опорный механизм для вторых направляющих 62 описывается далее со ссылками на фиг.2 и 12. Вторые направляющие 62, размещенные в правом и левом конце верхней части 1a рамы, поддерживаются посредством различных видов соединительных металлических элементов 63, 64, заключающих между собой вторые направляющие 62. Вторые соединительные пластинчатые части 63d, 64d соединительных металлических элементов 63, 64 устанавливаются в противолежащие концевые части соединительного паза 62c второй направляющей 62.

Вторая направляющая 62 в середине поддерживается посредством одного типа соединительных металлических элементов 64, 64, заключающих между собой вторые направляющие 62. Вторые соединительные пластинчатые части 64d, 64d соединительных металлических элементов 64, 64 устанавливаются в противолежащие концевые части соединительного паза 62c второй направляющей 62.

Пара соединительных металлических элементов 63, 64 или соединительных металлических элементов 64, 64, спаренных для каждой секции 2x проема, другими словами, для каждой раздвижной двери 3, разделены расстоянием, в общем, таким же, как ширина раздвижной двери 3. Соединительные металлические элементы 64, 64 для соединения секций 2x проема размещаются встык с крепежными пластинчатыми частями 64b, 64b, соприкасаясь друг с другом.

Как упоминалось выше, поскольку длина второй направляющей 62 меньше ширины секции 2x проема и ширины раздвижной двери 3, как показано на фиг.12, между противолежащими краями второй направляющей 62 и крепежными пластинчатыми частями 63b, 64b соединительных металлических элементов 63, 64 сформировано приемное пространство 67.

Далее описываются этапы установки направляющей 60 в сборе. Сначала части 64c первой соединительной пластины всех (шести в данном варианте осуществления) соединительных металлических элементов 64 вставляются в соединительный паз 61e первой направляющей 61 с одного конца или противолежащих концов соединительного паза 61e. Соединительные металлические элементы 64 помещаются в промежуточную часть первой направляющей 61, являясь разнесенными друг с другом. Первая соединительная пластинчатая часть 63c одного из соединительных металлических элементов 63 устанавливается в пространство между парой выступов 61d первой направляющей 61, а соединительный металлический элемент 63 крепится к одному концу первой направляющей 61 винтами.

Далее, все вторые направляющие 62 присоединяются к первой направляющей 61 посредством вставки вторых соединительных пластинчатых частей 63d, 64d соединительных металлических элементов 63, 64 в противолежащие концы соединительного паза 62c второй направляющей 62. В это время вторая направляющая 62, размещенная на стороне другого конца первой направляющей 61, поддерживается посредством соединительного металлического элемента 64 только с одного конца.

В завершение, другой соединительный металлический элемент 63 крепится к другой концевой стороне первой направляющей 61. В то же время, часть 63d второй соединительной пластины соединительного металлического элемента 63 крепится к другой концевой стороне соединительного паза 62c второй направляющей 62.

Направляющая 60 в сборе собирается вышеописанным способом. Сборка может выполняться в различном порядке. Например, сначала соединительный металлический элемент 63 может крепиться к одному концу первой направляющей 61, далее вторые направляющие 62 и пара соединительных металлических элементов 64 могут попеременно крепиться к первой направляющей 61 и в завершение соединительный металлический элемент 63 может крепиться к другому концу первой направляющей 61.

Направляющая 60 в сборе, собранная вышеописанным способом, размещается на верхней части 1a рамы, а фиксирующие пластинчатые части 63a, 64a соединительных металлических элементов 63, 64 крепятся к верхней поверхности верхней части 1a рамы винтами. Направляющая 60 в сборе имеет одну длинную первую направляющую 61, а остальные компоненты крепятся к первой направляющей 61. Эта конструкция упрощает размещение всех компонентов, поскольку каждый компонент должен быть позиционирован только относительно первой направляющей 61. Эта конструкция также упрощает монтажные работы, поскольку направляющая 60 в сборе собрана заранее.

Как показано на фиг.3 и 13, опорные кронштейны 81 крепятся на правом и левом краях верхней краевой части раздвижной двери 3. Опорный кронштейн 81 сформирован посредством сгибания металлической пластины и включает в себя фиксирующую пластинчатую часть 81a, которая должна быть прикреплена к задней поверхности раздвижной двери 3, первую горизонтальную часть 81b, проходящую горизонтально назад от нижнего края фиксирующей пластинчатой части 81a, вертикальную часть 81c, проходящую вертикально вниз от заднего края первой горизонтальной части 81b, вторую горизонтальную часть 81d, проходящую горизонтально назад от нижнего края вертикальной части 81c, и вертикальную часть 81e, проходящую вертикально вверх от заднего края второй горизонтальной части 81d. Правый и левый концы вертикальной части 81e выступают.

Горизонтальные части 81b, 81d и вертикальная часть опорного кронштейна 81 имеют одинаковую ширину и выполнены с возможностью быть принятыми и выходить из приемного пространства 67 направляющей 60 в сборе, как описано ниже.

Пара половинок ползуна 70 крепится к вертикальной части 81e опорного кронштейна 81. Ползун 70 проходит горизонтально, параллельно первой направляющей 61. Противоположные концевые части 70a ползуна 70 выступают в направлении вправо и влево из опорного кронштейна 81. Ползун 70 немного длиннее приемного пространства 67 в направлении вправо и влево.

Далее описывается работа направляющего устройства, имеющего вышеупомянутую конструкцию. Сначала, как показано на фиг.1 и 2, когда все четыре секции 2x проема закрыты посредством раздвижных дверей 3, верхняя и нижняя краевые части раздвижной двери 3, соответственно, примыкают или находятся близко через небольшой промежуток к передним поверхностям верхней и нижней частей 1a, 1b рамы 1. Передние поверхности всех раздвижных дверей 3, размещенных в направлении вправо и влево, помещены в одной вертикальной плоскости и заподлицо друг с другом.

Когда раздвижная дверь 3 находится в закрытом положении (установленном положении), как описано выше, в нижней структуре 5, поворачивающаяся направляющая 20 находится в горизонтальном лежачем положении (первом положении поворота), а ролики 40 также находятся горизонтально внизу и приняты в приемном пазу 25 поворачивающейся направляющей 20. Вес раздвижной двери 3 принимается в поворачивающейся направляющей 20 посредством опорного механизма 30 роликов и роликов 40. В горизонтальном лежачем положении сила тяжести раздвижной двери 3 действует на точки, в которых опорные поверхности 25a приемного паза 25 и ролики 40 примыкают. Эти точки примыкания размещены сзади оси L1 поворота поворотной направляющей 20, и, следовательно, момент в направлении против часовой стрелки на фиг.2 прикладывается к поворачивающейся направляющей 20. Поскольку момент против часовой стрелки больше момента по часовой стрелке, вследствие силы упругости пружин 18 кручения, поворачивающаяся направляющая 20 пытается поворачиваться в направлении против часовой стрелки. Тем не менее, поворачивающаяся направляющая 20 удерживается в горизонтальном лежачем положении, поскольку она захвачена посредством рычага 13. Поворачивающаяся направляющая 20 также удерживается в горизонтальном лежачем положении посредством примыкания выступа сзади вспомогательной дорожки 26 к вертикальной части 31b опорной рамы 31.

Когда все раздвижные двери 3 находятся в закрытом положении, вспомогательные дорожки 26 всех поворачивающихся направляющих 20 расположены на одной прямой линии, чтобы сформировать непрерывную дорожку.

Когда раздвижные двери 3 находятся в закрытом положении, в верхней структуре 6 опорные кронштейны 81 приняты в приемном пространстве 67 направляющей 60 в сборе, и правая либо левая торцевая часть ползунка 70 принята в торцевой части зазора 66 (приемной выемки). Эта компоновка запрещает перемещение верхней концевой части раздвижной двери 3 в направлении вперед и назад.

Далее описывается перемещение при открытии выбранной одной из раздвижных дверей 3. Захватывается часть 31c ручки опорной рамы 31, и раздвижная дверь 3 выдвигается в открытое подготовительное положение, расположенное впереди. Когда раздвижная дверь 3 выдвинута, как показано на фиг.3, ролики 40 зацепляются с приемным пазом 25 поворачивающейся направляющей 20, тем самым делая поворачивающуюся направляющую 20 повернутой на 90 градусов вперед вокруг оси L1 поворота, чтобы принять вертикальное стоячее положение (второе положение поворота). В это время ролики 40 также качаются на 90 градусов вокруг оси L2 поворота, чтобы принять вертикальное стоячее положение. Это заставляет ролики 40 катиться по дорожке 25b качения приемного паза 25 поворачивающейся направляющей 20.

Чтобы выдвинуть раздвижную дверь 3 в открытое подготовительное положение, как упомянуто выше, изначально требуется усилие большее, чем момент вследствие веса раздвижной двери 3. Момент вследствие веса раздвижной двери 3, тем не менее, снижается по мере того, как раздвижная дверь 3 толкается ближе к открытому подготовительному положению. В определенной точке момент по часовой стрелке, вследствие пружин 18 кручения, становится больше момента, вследствие веса раздвижной двери 3, заставляя раздвижную дверь 3 автоматически переместиться в открытое подготовительное положение.

Когда поворачивающаяся направляющая 20 находится в стоячем положении, дорожка 25b качения размещается непосредственно над осью L1 поворота, и, как результат, не создается момента из-за веса раздвижной двери 3. Хотя момент по часовой стрелке вследствие силы упругости пружин 18 кручения прикладывается к поворачивающейся направляющей 20, поворачивающаяся направляющая 20 удерживается в стоячем положении, поскольку она захвачена или заблокирована рычагом 13.

Ось L2 поворота роликов 40 перемещается вверх из положения, в общем, непосредственно позади оси L1 поворота поворачивающейся направляющей 20. Следовательно, раздвижная дверь 3 смещается вверх по мере того, как она перемещается в открытое подготовительное положение.

Как упоминалось выше, когда раздвижная дверь 3 перемещается из закрытого положения в открытое подготовительное положение, она смещается вверх по мере того, как перемещается вперед. Это заставляет левую или правую торцевую часть ползунов 70 выходить из зазора 66, перемещаться наклонно вдоль торцевой части (первого направляющего канала) наклонного зазора 65 и в завершение входить в направляющий паз 61g (второй направляющий канал).

Затем раздвижная дверь 3 перемещается из открытого подготовительного положения в открытое положение (неустановленное положение) влево или вправо. В это время, как показано на фиг.4, ролики 40 раздвижной двери 3 катятся по дорожке 25b качения соответствующей поворачивающейся направляющей 20 в стоячем положении и переносятся на вспомогательную дорожку 26 другой поворачивающейся направляющей 20 (соседней направляющей или соседнего элемента) рядом с соответствующей поворачивающейся направляющей 20.

В то время как раздвижная дверь 3 перемещается в открытое положение, как описано выше, ползуны 70 раздвижной двери 3 движутся в направляющем пазу 61g первой направляющей 61.

Как показано на фиг.4, когда раздвижная дверь 3 находится в открытом положении, ролики 40 катятся по вспомогательной дорожке 26. Верхние части роликов 40 принимаются в приемной выемке 31d, сформированной в опорной раме 31 раздвижной двери 3 в закрытом положении, посредством чего надежно предотвращается выпадение роликов 40.

Как показано на фиг.4, раздвижная дверь 3 в открытом положении перекрывается с одной из других раздвижных дверей 3 в закрытом положении. Раздвижная дверь 3 может перемещаться от левого конца к правому концу рамы 1.

Поворачивающаяся направляющая 20, оставленная раздвижной дверью 3, которая переместилась в открытое положение, удерживается в стоячем положении посредством механизма удержания, состоящего из пружин 18 кручения и рычагов 13. Это позволяет раздвижной двери 3, когда она возвращается в открытое подготовительное положение из открытого положения, плавно переноситься со вспомогательной дорожки 26 соседней поворачивающейся направляющей 20 в лежачем положении на дорожку 25b качения соответствующей поворачивающейся направляющей 20 в стоячем положении.

Даже если поворачивающаяся направляющая 20 немного поворачивается в направлении горизонтального лежачего положения посредством внешней силы, приложенной к раздвижной двери 3, поворачивающаяся направляющая 20 может быть возвращена в стоячее положение посредством силы упругости пружин 18 кручения.

Когда раздвижная дверь 3 возвращается в открытое подготовительное положение, раздвижная дверь 3 позиционируется посредством механизма 50 позиционирования. Более конкретно, соединительный ролик 52, установленный на кронштейне 54 раздвижной двери 3, перемещается так, чтобы быть установленным в соединительную выемку 51a соединительной пластины 51 поворачивающейся направляющей 20 посредством магнитной силы, действующей между магнитом 52a соединительного ролика 52 и соединительной пластиной 51. Как результат, раздвижная дверь 3 размещается в одном положении с поворачивающейся направляющей 20 в направлении вправо и влево.

Чтобы вернуть раздвижную дверь 3 из открытого подготовительного положения в закрытое положение, раздвижная дверь 3 должна быть прижата к раме 1 против пружин 18 кручения. В этой же точке момент поворота против часовой стрелки вследствие веса раздвижной двери 3 становится больше момента поворота по часовой стрелке вследствие пружин 18 кручения, заставляя раздвижную дверь 3 автоматически вернуться в закрытое положение, при котором поворачивающаяся направляющая 20 и ролики 40 возвращены в горизонтальные лежачие положения, как показано на фиг.2.

Далее описывается второй вариант осуществления настоящего изобретения со ссылкой на фиг.16-18. Одинаковые ссылочные номера используются для того, чтобы обозначать элементы, соответствующие элементам в первом варианте осуществления, и подробные пояснения к этим элементам опущены.

Во втором варианте осуществления, известный амортизатор 90, вместо опорного штифта 19 первого варианта осуществления, принимается в приемном отверстии 21 поворачивающейся направляющей 20. Амортизатор 90 включает в себя шток 91 и трубчатый элемент 92, имеющий дно в одном конце трубчатого элемента 92.

Шток 91 неразъемно включает в себя штифтовую часть 91a и рабочую часть 91b, имеющую больший диаметр и размещенную коаксиально с штифтовой частью 91a. Как в случае опорного штифта 19 первого варианта осуществления, штифтовая часть 91a проходит через пружину 18 кручения и опорный блок 12. Часть дальнего конца меньшего диаметра штифтовой части 91a проходит через фиксирующее отверстие 11y опорного кронштейна 11 и зачеканивается, тем самым делая шток 91 закрепленным без возможности поворота к опорному кронштейну 11.

Штифтовая часть 91a штока 91 проходит через пружину 18 кручения. Пружина 18 кручения расположена между несущей частью 12b и рабочей частью 91b.

Захватный паз 91c и приемный паз 91d, оба из которых имеют кольцеобразную конфигурацию, сформированы на внешней поверхности торцевой части рабочей части 91b штока 91 рядом с штифтовой частью 91a.

В трубчатом элементе 92 сформировано множество защелок 92a на конце отверстия трубчатого элемента. Защелки 92a размещены разнесенными в направлении окружности. Защелка 92a захватывается посредством захватного паза 91c штока 91, тем самым трубчатый элемент 92 крепится к штоку 91.

Небольшой зазор сформирован между внешней поверхностью рабочей части 91b штока 91 и внутренней поверхностью трубчатого элемента 92. Вязкая жидкость заполняет зазор. Уплотнительное кольцо 93 принимается в приемном пазе 91d штока 91. Уплотнительное кольцо 93 не допускает вытекания вязкой жидкости.

Выступ 92b, проходящий в осевом направлении, сформирован во внешней поверхности трубчатого элемента 92. В поворачивающейся направляющей 20, как показано на фиг.18, сформирован захватный паз 22, проходящий в продольном направлении поворачивающейся направляющей 20. Выступ 92b трубчатого элемента 92 принимается в захватном пазе 22. Как результат, не допускается вращение трубчатого элемента 92 относительно поворачивающейся направляющей 20, и он перемещается вместе с поворачивающейся направляющей 20.

По мере того как раздвижная дверь 3 перемещается из открытого подготовительного положения в закрытое положение, поворачивающаяся направляющая 20 поворачивается из стоячего положения в лежачее положение. Это заставляет трубчатый элемент 92 амортизатора 90 поворачиваться относительно штока 91. В ходе этого относительного поворота действие амортизатора обеспечивается посредством сопротивления жидкости, помещенной между рабочей частью 91b и трубчатым элементом 92. Соответственно, увеличение скорости поворота поворачивающейся направляющей 20 вследствие веса раздвижной двери 3 ограничивается, давая возможность избежать удара поворачивающейся направляющей 20, достигающей лежачего положения.

Хотя конкретные варианты осуществления изобретения подробно описаны для целей иллюстрации, могут быть сделаны различные модификации и усовершенствования могут без отступления от идеи и объема изобретения. Например, основной направляющий механизм и вспомогательный направляющий механизм, имеющие аналогичную структуру с механизмами, использованными в вышеописанных вариантах осуществления, могут быть установлены вверх дном в вертикально переставленных положениях.

Применение раздвижной двери и направляющего устройства не ограничено перегородкой. Они могут быть использования для открывания и закрывания окна в доме или проема мебели.

Пружина кручения может располагаться только на одном конце поворачивающейся направляющей.

Узел поддержки направляющей может быть сформирован как неразъемная часть основного корпуса.

Направляющее устройство может быть использовано для одной раздвижной двери 3. В этом случае фиксированная направляющая (соседняя направляющая или соседний элемент) может быть размещена рядом с поворачивающейся направляющей. Фиксированная направляющая может иметь вспомогательную дорожку, которая должна быть непрерывна в прямой линии с дорожкой качения поворачивающейся направляющей в стоячем положении.

Промышленная применимость

Данное изобретение может быть применено к направляющему устройству для пластинчатых объектов, такие как перегородка, мебель, раздвижная дверь в окне и т.д.

Формула изобретения

1. Направляющее устройство для направления перемещения пластинчатого объекта (3) относительно основного корпуса (1) между установленным положением и подготовительным положением перед или позади установленного положения и между подготовительным положением и неустановленным положением влево или вправо от подготовительного положения, содержащее: поворачивающуюся направляющую (20) удлиненной формы, горизонтально проходящую в направлении вправо и влево и поддерживаемую посредством упомянутого основного корпуса так, что упомянутая поворачивающаяся направляющая может поворачиваться вокруг первой оси (L1) поворота, проходящей в направлении вправо и влево, между первым положением поворота и вторым положением поворота, при этом поворачивающаяся направляющая включает в себя приемный паз (25), проходящий в продольном направлении упомянутой поворачивающейся направляющей, причем одна боковая часть упомянутого приемного паза предусмотрена в качестве дорожки (25b) качения; элемент (40) качения, поддерживаемый посредством упомянутого пластинчатого объекта таким образом, что упомянутый элемент качения может качаться вокруг второй оси (L2) поворота, параллельной упомянутой первой оси (L1) поворота; и соседний элемент (20), размещенный рядом с упомянутой поворачивающейся направляющей и имеющий вспомогательную дорожку (26), при этом упомянутая вспомогательная дорожка проходит в направлении вправо и влево, причем упомянутая вспомогательная дорожка становится непрерывной с упомянутой дорожкой качения поворачивающейся направляющей, когда упомянутая поворачивающаяся направляющая находится во втором положении поворота; при этом, когда упомянутый пластинчатый объект (3) находится в установленном положении, упомянутая поворачивающаяся направляющая (20) находится в первом положении поворота, а упомянутый элемент (40) качения принимается в приемном пазу (25) упомянутой поворачивающейся направляющей; когда упомянутый пластинчатый объект находится в подготовительном положении, упомянутая поворачивающаяся направляющая находится во втором положении поворота, а упомянутый элемент качения принимается в упомянутом приемном пазу упомянутой поворачивающейся направляющей и катится по упомянутой дорожке (25b) качения; и, когда упомянутый пластинчатый объект перемещается из подготовительного положения в неустановленное положение, упомянутый элемент качения переносится с упомянутой дорожки качения на упомянутую вспомогательную дорожку (26); кроме того, упомянутое направляющее устройство дополнительно содержит: отклоняющий элемент (18), отклоняющий упомянутую поворачивающуюся направляющую (20) во второе положение поворота; и ограничительный элемент (13) для удержания упомянутой поворачивающейся направляющей (20) во втором положении поворота напротив упомянутого отклоняющего элемента; при этом упомянутая поворачивающаяся направляющая (20) включает в себя приемное отверстие (21), открывающееся в левом и правом концах поворачивающейся направляющей; и на упомянутом основном корпусе (1) установлена пара узлов (11) поддержки направляющей так, чтобы содержать между собой упомянутую поворачивающуюся направляющую (20) и поддерживать с возможностью поворота упомянутую поворачивающуюся направляющую (20), причем каждый из упомянутых узлов поддержки направляющей включает в себя несущую часть (12b), вставленную в упомянутое приемное отверстие упомянутой поворачивающейся направляющей; причем упомянутый отклоняющий элемент (18) принимается в упомянутом приемном отверстии (21) в положении глубже упомянутой несущей части.

2. Направляющее устройство для направления перемещения каждого из множества пластинчатых объектов (3) относительно основного корпуса (1) между установленным положением и подготовительным положением перед или позади установленного положения и между подготовительным положением и неустановленным положением влево или вправо от подготовительного положения, причем упомянутое множество пластинчатых объектов размещаются заподлицо друг к другу, когда все из упомянутого множества пластинчатых объектов находятся в установленных положениях и размещены в направлении вправо и влево, при этом упомянутое направляющее устройство содержит: множество поворачивающихся направляющих (20) удлиненной формы, проходящих в направлении вправо и влево, размещенных в направлении вправо и влево так, чтобы сформировать прямую линию, и поддерживаемых посредством упомянутого основного корпуса так, что каждая из упомянутых поворачивающихся направляющих может поворачиваться вокруг первой оси (L1) поворота, проходящей в направлении вправо и влево между первым положением поворота и вторым положением поворота; и элемент (40) качения, поддерживаемый посредством каждого из упомянутого множества пластинчатых объектов так, что упомянутый элемент качения может качаться вокруг второй оси (L2) поворота, параллельной упомянутой первой оси (L1) поворота; в котором каждая из упомянутых поворачивающихся направляющих включает в себя приемный паз (25), проходящий в продольном направлении упомянутой поворачивающейся направляющей, причем одна боковая часть упомянутого приемного паза предусмотрена в качестве дорожки (25b) качения; в котором каждая из упомянутых поворачивающихся направляющих дополнительно включает в себя вспомогательную дорожку (26), отстоящую от упомянутой дорожки качения на тот же угол, что и угол между первым положением поворота и вторым положением поворота вокруг упомянутой первой оси поворота; при этом, когда каждый из упомянутых пластинчатых объектов (3) находится в установленном положении, соответствующая одна из упомянутых поворачивающихся направляющих (20) находится в первом положении поворота, а упомянутый элемент (40) качения принимается в упомянутом приемном пазу (25) упомянутой соответствующей поворачивающейся направляющей; когда каждый из упомянутых пластинчатых объектов находится в подготовительном положении, соответствующая одна из упомянутых поворачивающихся направляющих находится во втором положении поворота, а упомянутый элемент качения принимается в упомянутом приемном пазу и катится по упомянутой дорожке (25b) качения упомянутой соответствующей поворачивающейся направляющей; и, когда каждый из упомянутых пластинчатых объектов перемещается из подготовительного положения в неустановленное положение, упомянутый элемент качения переносится с упомянутой дорожки качения соответствующей поворачивающейся направляющей на упомянутую вспомогательную дорожку (26) другой из упомянутых поворачивающихся направляющих, смежной с упомянутой соответствующей поворачивающейся направляющей; при этом упомянутое направляющее устройство дополнительно содержит: отклоняющий элемент (18), отклоняющий каждую из упомянутых поворачивающихся направляющих (20) во второе положение поворота; и ограничительный элемент (13) для удержания каждой их упомянутых поворачивающихся направляющих (20) во втором положении поворота напротив упомянутого отклоняющего элемента; при этом упомянутая поворачивающаяся направляющая (20) включает в себя приемное отверстие (21), открывающееся в левом и правом концах поворачивающейся направляющей; на упомянутом основном корпусе (1) установлена пара узлов (11) поддержки направляющей так, чтобы содержать между собой упомянутую поворачивающуюся направляющую (20) и поддерживать с возможностью поворота упомянутую поворачивающуюся направляющую (20), причем каждый из упомянутых узлов поддержки направляющей включает в себя несущую часть (12b), вставленную в упомянутое приемное отверстие упомянутой поворачивающейся направляющей; упомянутый отклоняющий элемент (18) принимается в упомянутом приемном отверстии (21) в положении глубже упомянутой несущей части.

3. Направляющее устройство по п.1 или 2, в котором упомянутый отклоняющий элемент содержит пружину (18) кручения, причем один конец упомянутой пружины кручения захватывается в концевой поверхности упомянутой несущей части (12b), другой конец упомянутой пружины кручения захватывается во внутренней поверхности упомянутого приемного отверстия (21).

4. Направляющее устройство по п.3, в котором: опорный штифт (19), имеющий фланец (19а) на своем дальнем конце, крепится к упомянутому узлу (11) поддержки направляющей, при этом опорный штифт выступает из торцевой поверхности упомянутой несущей части (12b) вдоль упомянутой первой оси (L1) поворота, причем упомянутый опорный штифт проходит через упомянутую пружину (18) кручения внутри упомянутого приемного отверстия (21) упомянутой поворачивающейся направляющей (20), причем упомянутая пружина кручения размещена между упомянутой несущей частью и упомянутым фланцем упомянутого опорного штифта; и захватный паз (22), проходящий в продольном направлении упомянутой поворачивающейся направляющей (20), сформирован на упомянутой внутренней поверхности упомянутого приемного отверстия (21) упомянутой поворачивающейся направляющей (20), причем упомянутый другой конец упомянутой пружины (18) кручения вставлен в упомянутый захватный паз.

5. Направляющее устройство по п.3, дополнительно содержащее: удлиненный амортизатор (90), принятый в упомянутое приемное отверстие (21) упомянутой поворачивающейся направляющей (20), причем упомянутый амортизатор включает в себя шток (91), трубчатый элемент (92), помещенный на внешнюю поверхность упомянутого штока, и материал с вязкостным сопротивлением, заполняющий зазор между упомянутой внешней поверхностью упомянутого штока и внутренней поверхностью упомянутого трубчатого элемента; при этом упомянутый шток (91) крепится к упомянутому узлу (11) поддержки направляющей и выступает из упомянутого торца упомянутой несущей части (12b) вдоль упомянутой первой оси (L1) поворота, причем упомянутый шток (91) проходит через упомянутую пружину (18) кручения; и при этом упомянутый трубчатый элемент (92) удерживается от поворота относительно упомянутой внутренней поверхности упомянутого приемного отверстия упомянутой поворачивающейся направляющей.

6. Направляющее устройство по п.1 или 2, в котором когда упомянутая поворачивающаяся направляющая (20) находится во втором положении поворота, упомянутая дорожка (25b) качения размещается, в общем, непосредственно над упомянутой первой осью (L1) поворота.

7. Направляющее устройство по п.1 или 2, в котором в упомянутом основном корпусе (1) сформирована секция (2х) проема, соответствующая упомянутому пластинчатому объекту (3), причем упомянутый пластинчатый объект закрывает упомянутую секцию проема, когда находится в установленном положении, упомянутый пластинчатый объект открывает упомянутую секцию проема, когда находится в неустановленном положении.

8. Направляющее устройство по п.7, в котором: основной направляющий механизм (5) размещен в одной из верхней и нижней краевых частей упомянутой секции (2х) проема, а вспомогательный направляющий механизм (6) размещен в другой из упомянутых верхней и нижней краевых частей упомянутой секции (2х) проема; упомянутый основной направляющий механизм включает в себя упомянутую поворачивающуюся направляющую (20), размещенную в одной из упомянутых частей верхней и нижней краевых частей упомянутой секции проема, и упомянутый элемент (40) качения, размещенный в одной из частей верхнего и нижнего края упомянутого пластинчатого объекта (3); упомянутый вспомогательный направляющий механизм включает в себя первый направляющий канал (65), размещенный в упомянутой другой из упомянутых верхней и нижней краевых частей упомянутой секции проема, при этом упомянутый первый направляющий канал идет в направлении вперед и назад, второй направляющий канал (61g), идущий в направлении влево и вправо, пересекающийся с упомянутым первым направляющим каналом, и ползун (70), размещенный в другой из упомянутых верхней и нижней краевых частей упомянутого пластинчатого объекта (3); и упомянутый элемент качения направляется посредством упомянутого первого направляющего канала, чтобы выполнять перемещение в направлении вперед и назад с вертикальными сдвигом, когда упомянутый пластинчатый объект перемещается между установленным положением и подготовительным положением, а упомянутый элемент качения направляется посредством упомянутого второго направляющего канала, чтобы перемещаться в направлении вправо и влево, когда упомянутый пластинчатый объект перемещается между подготовительным положением и неустановленным положением.

РИСУНКИ

Categories: BD_2383000-2383999