|
|
(21), (22) Заявка: 2008132175/03, 04.08.2008
(24) Дата начала отсчета срока действия патента:
04.08.2008
(46) Опубликовано: 10.03.2010
(56) Список документов, цитированных в отчете о поиске:
SU 326338 A1, 19.01.1971. SU 737609 A1, 05.06.1980. DE 19836763 A1, 22.07.1999. SU 987064 A1, 17.01.1981. SU 836326 A1, 07.06.1981.
Адрес для переписки:
190005, Санкт-Петербург, 2-я Красноармейская, д.4, ГОУ ВПО СПбГАСУ, ОИС
|
(72) Автор(ы):
Пеньковский Георгий Фаустинович (RU), Сахаров Игорь Игоревич (RU), Ершов Андрей Владимирович (RU)
(73) Патентообладатель(и):
ГОУ ВПО “Санкт-Петербургский государственный архитектурно-строительный университет” (RU)
|
(54) СЕЙСМОСТОЙКОЕ ЗДАНИЕ
(57) Реферат:
Изобретение относится к области строительства, а именно к возведению зданий и сооружений в сейсмоопасных районах. Сейсмостойкое здание включает каркас, фундаментную плиту, подвешенную на жестких в вертикальном направлении тягах к объемлющему ее, опирающемуся на грунт основания фундаментному стакану и прослойку из демпфирующего материала. При этом подошва фундаментной плиты соприкасается с прослойкой из демпфирующего материала, уложенной на дно фундаментного стакана, а в днище фундаментного стакана вмонтированы датчики для измерения вертикального давления здания, величина которого регулируется вращением гаек на концах тяг. Технический результат заключается в повышении надежности и сейсмостойкости здания за счет регулирования трения, возникающего при действии горизонтальной сейсмической нагрузки между подошвой фундаментной плиты здания и прослойкой из демпфирующего материала. 1 ил.
Предлагаемое изобретение относится к области строительства и может быть использовано при возведении зданий и сооружений в сейсмоопасных районах.
Известно сейсмостойкое здание, содержащее здание и фундаментную плиту, подвешенную к фундаменту на стержнях (Патент на изобретение РФ 2129644 от 30.10.1996 г., Е04Н 9/00).
Недостатком указанного сейсмостойкого здания является повышенная трудоемкость работ, связанная с монтажом упругого подвеса, устанавливаемого между фундаментной плитой и перекрытием нижнего этажа здания.
Наиболее близким техническим решением к предлагаемому изобретению является сейсмостойкое здание, включающее каркас, фундаментную плиту, подвешенную на тягах к объемлющему ее фундаментному стакану и прослойку из демпфирующего материала (авт. свид. СССР 326338, Бюл. 4 от 19.01.1972 г., Е04Н 9/02, E02D 27/34).
Недостатком указанного изобретения является отсутствие возможности регулирования горизонтальных сейсмических нагрузок, передаваемых на каркас здания.
Задачей, на решение которой направлено настоящее изобретение, является повышение надежности и сейсмостойкости здания за счет регулирования трения, возникающего при действии горизонтальной сейсмической нагрузки между подошвой фундаментной плиты здания и прослойкой из демпфирующего материала.
Сущность изобретения заключается в том, что сейсмостойкое здание включает каркас, фундаментную плиту, подвешенную на тягах к объемлющему ее фундаментному стакану и прослойку из демпфирующего материала. При этом фундаментный стакан имеет днище со встроенными датчиками давления, на которое укладывают слой демпфирующего материала.
Фундаментная плита подвешивается на жестких в вертикальном направлении тягах к объемлющему ее фундаментному стакану, заглубленному в грунт. Подошва фундаментной плиты соприкасается с демпфирующим слоем, уложенным на дно фундаментного стакана. Вертикальное давление, передаваемое от здания на демпфирующий слой, регулируется с помощью вращения гаек на концах вертикальных тяг и измеряется с помощью датчиков давления, вмонтированных в днище фундаментного стакана. Регулирование вертикального давления от здания позволяет варьировать силу трения, возникающую между фундаментной плитой и демпфирующим слоем при горизонтальных сейсмических нагрузках. Снижая силу трения, снижают горизонтальную сейсмическую нагрузку, передаваемую на каркас здания. Полное исключение силы трения нецелесообразно, поскольку при этом возникает возможность резонанса.
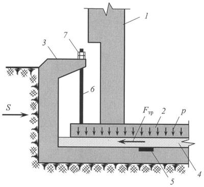
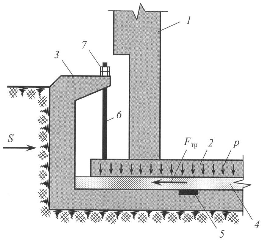
Изобретение поясняется чертежом, где изображен узел сопряжения фундаментной плиты здания с фундаментным стаканом.
Изобретение заключается в следующем. Сейсмостойкое здание состоит из каркаса 1, фундаментной плиты 2, фундаментного стакана 3 и прослойки из демпфирующего материала 4. Фундаментный стакан 3 заглубляется в грунтовое основание. В днище фундаментного стакана 3 размещаются датчики давления 5. Фундаментная плита 2 подвешивается на жестких в вертикальном направлении тягах 6 к фундаментному стакану 3. Подошва фундаментной плиты 2 соприкасается с демпфирующим слоем 4, укладываемым на дно фундаментного стакана 3. Вертикальное давление p, передаваемое от каркаса здания 1 на демпфирующий слой 4, регулируется вращением гаек 7 на концах тяг 6 и измеряется датчиками давления 5. Регулируя вертикальное давление p, варьируют силу трения Fтр, возникающую между фундаментной плитой 2 и демпфирующим слоем 4 при действии горизонтальной сейсмической нагрузки S. Снижая силу трения Fтр, снижают горизонтальную сейсмическую нагрузку, передаваемую на каркас здания 1.
Формула изобретения
Сейсмостойкое здание, включающее каркас, фундаментную плиту, подвешенную на жестких в вертикальном направлении тягах к объемлющему ее, опирающемуся на грунт основания фундаментному стакану и прослойку из демпфирующего материала, отличающееся тем, что подошва фундаментной плиты соприкасается с прослойкой из демпфирующего материала, уложенной на дно фундаментного стакана, а в днище фундаментного стакана вмонтированы датчики для измерения вертикального давления здания, величина которого регулируется вращением гаек на концах тяг.
РИСУНКИ
|
|