|
(21), (22) Заявка: 2007112227/03, 03.04.2007
(24) Дата начала отсчета срока действия патента:
03.04.2007
(30) Конвенционный приоритет:
04.04.2006 DE 102006016879.8
(43) Дата публикации заявки: 27.02.2009
(46) Опубликовано: 10.03.2010
(56) Список документов, цитированных в отчете о поиске:
ЕР 0369197 А1, 23.05.1990. DE 19544548 C2, 05.06.1997. DE 19629660 C1, 20.11.1997. RU 2148138 C1, 27.04.2000. ЕР 0311876 A2, 19.04.1989.
Адрес для переписки:
101000, Москва, М.Златоустинский пер., 10, кв.15, “ЕВРОМАРКПАТ”, пат.пов. И.А.Веселицкой, рег. 11
|
(72) Автор(ы):
РАЙХЛЕ Эрхард (DE), БРЕХТ Юрген (DE)
(73) Патентообладатель(и):
ППС ДИТЛЕ ИНТЕРНАЦИОНАЛЬ ГМБХ (DE)
|
(54) СОЕДИНИТЕЛЬНОЕ УСТРОЙСТВО ДЛЯ СОЕДИНЕНИЯ ДВУХ ЭЛЕМЕНТОВ ОПАЛУБКИ
(57) Реферат:
В заявке описано соединительное устройство (10), предназначенное для соединения двух элементов (50) опалубки, преимущественно для соединения соединительных ригелей (56) балочной опалубочной системы или для соединения рамных элементов рамной опалубочной системы, и имеющее несущий элемент (12), два зажимных элемента (14, 16), по меньшей мере один из которых установлен с возможностью поворота вокруг соответствующей оси (S) поворота, и приводное устройство (20, 22), предназначенное для поворота по меньшей мере одного зажимного элемента и имеющее по меньшей мере один эксцентрик (20) с окружной поверхностью (22), который установлен на несущем элементе с возможностью поворота вокруг соответствующей оси (D) поворота. Согласно изобретению ось (D) поворота эксцентрика (20) перпендикулярна оси (S) поворота по меньшей мере одного зажимного элемента, а окружная поверхность (22) эксцентрика (20) взаимодействует с зажимным элементом таким образом, что поворот эксцентрика (20) сопровождается поворотом зажимного элемента (14, 16). 14 з.п. ф-лы, 7 ил.
Настоящее изобретение относится к соединительному устройству, предназначенному для соединения двух элементов опалубки, преимущественно для соединения соединительных ригелей балочной опалубочной системы или для соединения рамных элементов рамной опалубочной системы, и имеющему несущий элемент, два зажимных элемента, по меньшей мере один из которых установлен с возможностью поворота вокруг соответствующей оси поворота, и приводное устройство, предназначенное для поворота по меньшей мере одного зажимного элементами, имеющее по меньшей мере один эксцентрик с окружной поверхностью, который установлен на несущем элементе с возможностью поворота вокруг соответствующей оси поворота.
Соединительное устройство указанного выше типа известно, например, из публикации ЕР 0369197 А1. Описанное в этой публикации соединительное устройство предназначено для соединения между собой двух опалубочных щитов, имеющих по периметру краевые профили, прежде всего полые профили. Для этого такое известное соединительное устройство имеет два поворотных зажимных кулачка, поворачивающихся при повороте рычага. Этот рычаг снабжен эксцентриком, ось поворота которого параллельна оси поворота обоих зажимных кулачков. При повороте рычага его эксцентриковая часть упирается в несущий элемент или держатель соединительного устройства, в результате чего поворотная опора рычага смещается в перпендикулярном опалубочному щиту направлении. Поворотная опора рычага расположена на боковых частях обоих зажимных кулачков и поэтому ее перемещение сопровождается поворотом зажимных кулачков.
Один из недостатков такого соединительного устройства состоит в его относительно сложной конструкции. Так, в частности, необходима точная пригонка друг к другу поворотной опоры рычага и боковых частей зажимных кулачков. Подобная конструкция не обладает высокой эксплуатационной надежностью, поскольку загрязнение ее перемещающихся одна в другой деталей может привести к ухудшению или нарушению ее работоспособности.
Еще один недостаток этого известного соединительного устройства состоит в отчасти затрудненном доступе к рычагу для зажима зажимных кулачков. Так, в частности, для приложения к рычагу необходимого для его поворота усилия имеется лишь узкий промежуток между опалубочным щитом и рычагом. Поэтому приложение к рычагу необходимого для его поворота усилия существенно затруднено. С такой же проблемой приходится сталкиваться и при разжиме соединительного устройства. В этом случае рабочему также затруднительно прикладывать к рычагу необходимое для ослабления соединительного устройства усилие с использованием простых средств, например только с использованием молотка.
Наряду с соединительным устройством этого типа из уровня техники известны и другие соединительные устройства, например из публикации ЕР 0311876 А2. В описанном в этой публикации соединительном устройстве для поворота зажимных кулачков используется клин. Подобный способ приведения в действие зажимных кулачков является наиболее распространенным, однако также обладает целым рядом недостатков, связанных с неудобством работы с таким соединительным устройством на стройплощадке.
Так, в частности, в таких соединительных устройствах очень сложно вбивать клинья над головой, например на уровне перекрытия, Поскольку клин необходимо вставлять и забивать сверху. Без лестницы или подмостей сделать это рабочему невозможно.
Еще один недостаток подобного распространенного решения состоит в том, что соединительное устройство состоит из по меньшей мере двух частей, а именно из собственно соединительного устройства и забиваемого в него клина. Именно клинья можно легко потерять, что увеличивает стоимость такого соединительного устройства. Помимо этого и необходимость оперирования с несколькими деталями на стройплощадке так же, как очевидно, создает неудобства.
Исходя из вышеизложенного в основу настоящего изобретения была положена задача усовершенствовать соединительное устройство указанного в начале описания типа, упростив его применение на стройплощадке и, кроме того, удешевив его.
Эта задача в отношении соединительного устройства указанного в начале описания типа решается благодаря тому, что ось поворота эксцентрика перпендикулярна оси поворота по меньшей мере одного зажимного элемента, а окружная поверхность эксцентрика взаимодействует с зажимным элементом таким образом, что поворот эксцентрика сопровождается поворотом зажимного элемента.
Иными словами, эксцентрик в рабочем состоянии располагается параллельно опалубочному щиту и легко доступен спереди для того, чтобы рабочий мог ударять по нему молотком. При повороте эксцентрика его окружная поверхность непосредственно воздействует или нажимает на поворотный зажимной элемент, который в результате автоматически приводится в действие. Однако между эксцентриком и зажимным элементом не имеется жесткой связи.
Подобное соединительное устройство имеет исключительно простую конструкцию и поэтому требует сравнительно малых затрат на его изготовление. Помимо этого оно обладает высокой надежностью в работе и не чувствительно к загрязнениям, что позволяет гарантировать его исправное функционирование даже в наиболее неблагоприятных условиях.
Еще одно преимущество предлагаемого в изобретении соединительного устройства состоит в том, что оно выполнено в виде единого узла и поэтому рабочему требуется оперировать с ним только как с одной деталью. Благодаря этому упрощается и ускоряется работа с таким соединительным устройством, что в свою очередь обеспечивает экономические преимущества, поскольку основная работа при сборке рамных опалубок заключается в установке и затягивании соединительных устройств.
В одном из предпочтительных вариантов по меньшей мере один эксцентрик имеет по меньшей мере один выступ, который ориентирован в направлении оси поворота эксцентрика и предусмотрен для возможности приложения крутящего момента к эксцентрику вручную.
Иными словами, на эксцентрике предусмотрен элемент в виде бруска, соответственно в более общем случае предусмотрена поверхность, которая выдается вперед и служит для рабочего поверхностью, по которой можно ударять соответствующим инструментом, т.е. представляет собой поверхность, рассчитанную на восприятие ударной нагрузки. Более предпочтительно предусматривать на эксцентрике несколько таких выступов.
Преимущество этого варианта состоит в дальнейшем упрощении работы с предлагаемым в изобретении соединительным устройством. Подобное соединительное устройство прежде всего позволяет рабочему при установке соединительного устройства на уровне перекрытия обходиться без лестницы или подмостей, поскольку предусмотренный на эксцентрике выступ легко доступен спереди. В этом состоит существенное отличие от соединительных устройств с клиньями, которые требуется вставлять и забивать сверху.
В следующем предпочтительном варианте эксцентрик имеет такой эксцентриситет, при котором обеспечивается самоторможение эксцентрика при удержании им зажимного элемента в положении, в котором он зажат на элементе опалубки.
Преимущество этого варианта состоит в том, что обеспечиваемый соединительным устройством зажим остается устойчивым и надежным даже при передаче на соединительное устройство вибрации, которая возникает при бетонировании.
В еще одном предпочтительном варианте один из двух зажимных элементов неподвижно закреплен на несущем элементе, а другой зажимной элемент выполнен поворотным.
Преимущество этого варианта, который относится к соединительным устройствам, используемым для соединения рамных элементов рамной опалубочной системы, состоит в простом конструктивном исполнении таких соединительных устройств.
В целом в строительстве известно несколько опалубочных систем, наиболее распространены из которых рамная и балочная опалубочные системы. В рамных опалубочных системах, которые используются в основном для бетонирования стен и перекрытий, их основу образуют рамные элементы, состоящие из прочно сваренной на заводе рамы и закрепленного на ней опалубочного щита. Рамы таких рамных элементов изготавливают, например, из полых профилей, в стенках которых предусматривают углубления, за стенки которых зацепляются зажимные элементы. Для соединения двух подобных рамных элементов соединительное устройство помещают на примыкающие друг к другу профили двух соседних рамных элементов и зажимают на них. В результате оба рамных элемента прочно соединены или стянуты друг с другом.
Элемент балочной опалубки, которая используется для бетонирования стен, колонн или перекрытий, состоит из опалубочных балок, обычно деревянных, к которым крепится опалубочный щит. Опалубочные балки, соответственно их элементы соединяют друг с другом ригельными элементами, соответственно соединительными ригелями.
В еще одном предпочтительном варианте оба зажимных элемента установлены на несущем элементе с возможностью поворота, а также предусмотрено два поворачиваемых независимо друг от друга эксцентрика, каждый из которых функционально связан соответственно с одним из зажимных элементов.
Такое соединительное устройство может использоваться для соединения соединительных ригелей балочной опалубочной системы. При этом оба зажимных элемента взаимодействуют со съемно или несъемно закрепленными на соединительных ригелях элементов балочной опалубки штырями.
Существенное преимущество подобного соединительного устройства для балочных опалубочных систем состоит в том, что его работа основана на том же принципе, что и работа описанного выше соединительного устройства для рамных опалубочных систем. Тем самым такие соединительные устройства исключительно просты в обращении с ними, что имеет важное значение в первую очередь для неквалифицированного персонала. Поэтому при применении подобных соединительных устройств практически полностью исключаются ошибки в обращении с ними, которые могли бы привести к ненадежному соединению между собой двух соединительных ригелей.
При использовании известных на сегодняшний день соединительных устройств в соединяемые между собой соединительные ригели необходимо было помещать отдельный элемент, который после забивания различных клиньев соединял друг с другом оба соединительных ригеля. Клинья требовалось при этом вставлять по-разному, поскольку они должны были воспринимать либо растягивающие либо сжимающие усилия. Правильно же вставить клинья на стройплощадке удавалось очень редко.
Еще одно преимущество подобного соединительного устройства для балочных опалубочных систем состоит также в том, что при его использовании оперировать требуется только с ним, благодаря чему прежде всего сокращается время на установку такого соединительного устройства.
Кроме того, для применения предлагаемых в изобретении соединительных устройств требуется лишь минимальное переоборудование существующих балочных опалубочных систем, на соединительных ригелях которых необходимо только закрепить штыри, с которыми взаимодействуют зажимные элементы соединительных устройств. Никакие иные меры для возможности использования предлагаемых в изобретении соединительных устройств в существующих балочных опалубочных системах принимать не требуется.
В следующем предпочтительном варианте несущий элемент имеет опорную поверхность, которая в зажатом состоянии соединительного устройства опирается на соединительный ригель.
Иными словами, соединяемые между собой соединительные ригели балочной опалубочной системы при зажиме соединительного устройства притягиваются к этой опорной поверхности и в результате выравниваются в одну линию.
В еще одном предпочтительном варианте несущий элемент соединительного устройства выполнен регулируемой длины для возможности изменения расстояния между обоими его зажимными элементами. В этом отношении у несущего элемента предпочтительно предусмотреть рейку с углублениями, на которой с возможностью перемещения смонтирована несущая один из зажимных элементов часть несущего элемента, на которой предусмотрен по меньшей мере один выступ, который в зажатом состоянии соединительного устройства утоплен в одно из указанных углублений и таким путем фиксирует подвижную часть несущего элемента от перемещения.
Преимущество этих вариантов состоит в возможности исключительно легкой подгонки соединительного устройства для балочных опалубочных систем под различные фактически имеющиеся условия. Так, например, при необходимости соединения друг с другом соединительных ригелей с оставлением между ними увеличенного зазора предлагаемое в изобретении соединительное устройство можно адаптировать к этому требованию, “раздвинув” оба зажимных элемента или соответствующие части несущего элемента.
Указанный выше вариант выполнения предлагаемого в изобретении соединительного устройства с рейкой и углублениями на ней, которая обеспечивает своего рода стопорение подвижных частей соединительного устройства друг относительно друга, является лишь одним из множества возможных решений, позволяющих обеспечить подобную подвижность. Специалистам в данной области известны и другие возможные решения.
В еще одном предпочтительном варианте по меньшей мере один эксцентрик имеет на своей окружной поверхности обращенное своим дном радиально внутрь углубление.
Преимущество этого варианта состоит в том, что указанное углубление позволяет существенно увеличить возможный угол поворота зажимного элемента при его отводе в нерабочее положение, благодаря чему облегчается установка соединительного устройства на соединяемые между собой элементы опалубки. Наличие подобной возможности предпочтительно именно у соединительных устройств для балочных опалубочных систем.
Другие преимущества и варианты осуществления изобретения рассмотрены в последующем описании и представлены на прилагаемых к описанию чертежах.
Очевидно, что описанные выше и рассмотренные в последующем описании отличительные особенности изобретения можно использовать не только в их конкретно указанных, но и в любых других комбинациях между собой, не выходя при этом за объем изобретения.
Ниже изобретение более подробно рассмотрено на примере некоторых вариантов его осуществления со ссылкой на прилагаемые чертежи, на которых показано:
на фиг.1 – соединительное устройство для рамных опалубочных систем в трех проекциях,
на фиг.2 – схематичный вид рамной опалубки,
на фиг.3 – вид в аксонометрии показанного на фиг.1 соединительного устройства,
на фиг.4 – схематичный вид соединительного устройства для балочных опалубочных систем в разжатом состоянии,
на фиг.5 – схематичный вид показанного на фиг.4 соединительного устройства в зажатом или затянутом состоянии,
на фиг.6 – соединительное устройство регулируемой длины для балочных опалубочных систем и
на фиг.7 – схематичный вид элемента балочной опалубки.
В последующем описании рассмотрены соединительные устройства, которые можно использовать для различных опалубочных систем. Как уже указывалось выше, из всех опалубочных систем наиболее часто на практике используются рамная и балочная опалубки. Поскольку конструкция и принцип работы рамной и балочной опалубочных систем хорошо известны специалистам в данной области, они более детально в настоящем описании не рассматриваются.
Элементы рамной опалубочной системы состоят в основном из рамы, которая выполнена из полых профилей и на которой закреплен наложенный на нее опалубочный щит. Два опалубочных элемента соединяют друг с другом за счет скрепления соответствующих прилегающих друг к другу рам. Балочные опалубочные системы состоят из балочных элементов, на которых закреплен опалубочный щит, а поперек параллельно расположенных балок закреплен соединительный ригель. Количество соединительных ригелей зависит от назначения опалубочного элемента. Опалубочные элементы скрепляют между собой соединительными устройствами, которые устанавливают на соединительных ригелях, располагающихся в одну линию.
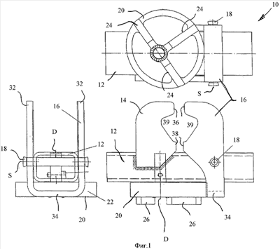
На фиг.1 показано соединительное устройство (называемое также опалубочным замком), обозначенное позицией 10. Это соединительное устройство 10 предназначено для применения в рамных опалубочных системах. Иными словами, соединительное устройство 10 служит для прочного соединения между собой двух прилегающих друг к другу полых профилей двух элементов рамной опалубки.
На фиг.2 в качестве примера схематично показана подобная рамная опалубочная система, оба соединяемых между собой элемента которой обозначены позицией 50. На этом чертеже показаны два опалубочных элемента 50, каждый из которых имеет расположенную по краю раму 52, на которой закреплен опалубочный щит 53. В раме 52 предусмотрены углубления 54, используемые для скрепления или стягивания друг с другом двух соседних опалубочных элементов.
Показанное на фиг.1 соединительное устройство 10, предназначенное для рамных опалубочных систем, имеет далее несущую или опорную трубу 12 с прямоугольным поперечным сечением. Такая опорная труба с прямоугольным поперечным сечением в увеличенном масштабе показана на фиг.3.
На опорной трубе 12 смонтированы две зажимные колодки 14, 16, из которых зажимная колодка 14 (левая на чертеже) закреплена на опорной трубе 12 неподвижно, а другая зажимная колодка 16 установлена на оси 18 с возможностью поворота вокруг оси S. Обе зажимные колодки 14, 16 имеют зажимные поверхности 36, 38, между которыми предусмотрено по углублению 39. Подобная конструкция хорошо известна и поэтому более детально не рассматривается.
Поворотная зажимная колодка 16 имеет П-образную форму с двумя боковыми частями 32 и соединяющей их поперечной частью 34. В показанных на фиг.1 проекциях хорошо видно, что поперечная часть 34 поворотной зажимной колодки расположена под опорной трубой 12, а обе боковые части 32 поворотной зажимной колодки проходят параллельно друг другу слева, соответственно справа от опорной трубы 12 вверх и с противоположной стороны выступают за ее пределы. Другая зажимная колодка 16 состоит из двух идентичных частей, которые неподвижно закреплены на опорной трубе 12 с ее левой и правой сторон, например приварены к ней.
С нижней стороны опорной трубы 12 установлен эксцентрик 20, который может поворачиваться вокруг оси D. Ось D проходит при этом перпендикулярно оси S, вокруг которой может поворачиваться зажимная колодка 16. Помимо этого ось D поворота в смонтированном состоянии соединительного устройства проходит перпендикулярно опалубочному щиту 53 опалубочного элемента 50.
Эксцентрик 20 имеет периферийную или окружную поверхность 22, которой он взаимодействует с поперечной частью 34 зажимной колодки 16. Иными словами, при повороте эксцентрика 20 его окружная поверхность 22 входит в контакт с поперечной частью 34 зажимной колодки 16 и затем поворачивает ее вокруг оси S, в результате чего зажимные поверхности 36, 38 обеих зажимных колодок 14, 16 перемещаются навстречу друг другу, соответственно приближаются друг к другу.
Эксцентрик 20 выполнен с таким эксцентриситетом, чтобы в прижатом к поперечной части поворотной зажимной колодки состоянии имело место самоторможение эксцентрика 20, исключающее тем самым возможность его самопроизвольного поворота (например, из-за вибрации в процессе бетонирования) и обусловленного этим ослабления крепления.
Помимо этого эксцентрик должен иметь такой эксцентриситет, который обеспечивал бы возможность перемещения зажимной колодки 16 достаточно близко к противоположной зажимной колодке 14, а также возможность их достаточного широкого для установки соединительного устройства 10 на рамы соединяемых между собой элементов рамной опалубки раскрытия.
В рассматриваемом примере эксцентрик 20 имеет три спицы 24 с выступами 26, которые выступают в осевом направлении над краем окружной поверхности 22 эксцентрика. Эти выступы выполнены с расчетом на восприятие их боковыми поверхностями ударной нагрузки. В соответствии с этим рабочий на стройплощадке может, ударяя молотком сбоку по выступам 26, прикладывать к эксцентрику 20 необходимый для его поворота крутящий момент.
На фиг.4 и 5 показано имеющее иное конструктивное исполнение соединительное устройство, обозначенное позицией 60. В отличие от рассмотренного выше соединительного устройства 10 это соединительное устройство 60 служит для соединения соединительных ригелей балочной опалубочной системы (показанной в качестве примера на фиг.7). Однако принцип работы у обоих этих соединительных устройств практически идентичен, в связи с чем их конструктивно и/или функционально одинаковые элементы обозначены одними и теми же позициями. Поэтому в последующем описании такие элементы повторно более подробно не рассматриваются.
В принципе в соединительном устройстве 60, предназначенном для балочной опалубочной системы, также используется эксцентрик, окружная поверхность которого взаимодействует с зажимной колодкой и может тем самым поворачивать ее вокруг оси S.
Соединительное устройство 60 имеет, в частности, несущий элемент (держатель) 80, который может быть выполнен, например, в виде опорной трубы. Очевидно, что он может иметь и иное исполнение. На обеих продольных сторонах несущего элемента 80 закреплено, как показано на фиг.5, по опорному бруску 68 с соответствующей опорной поверхностью, проходящему по всей длине несущего элемента.
На несущем элементе 80 смонтированы две расположенные зеркально-симметрично друг относительно друга зажимные колодки 14, 16, которые проходят с нижней стороны несущего элемента 80 вверх и заканчиваются крюкообразными частями 64. Эти крюкообразные части 64 обеих зажимных колодок обращены друг к другу своими вогнутыми участками.
Обе зажимные колодки 14, 16 установлены также на осях 18 с возможностью поворота на них, при этом оси их поворота в смонтированном состоянии соединительного устройства проходят параллельно опалубочному щиту 53.
Обе зажимные колодки 14, 16 имеют по нажимной поверхности 66, взаимодействующей с окружной поверхностью 22 соответствующего эксцентрика 20. Как показано на фиг.4, на несущем элементе 80 смонтировано в общей сложности два эксцентрика 20, каждый из которых может поворачиваться вокруг соответствующей оси D, не создавая помех повороту другого эксцентрика, и каждый из которых функционально связан с одной из зажимных колодок 14 соответственно 16. При повороте эксцентрика 20 он тем самым может поворачивать взаимодействующую с ним зажимную колодку 14 соответственно 16 вокруг оси S (на оси 18). В соответствии с этим обе зажимные колодки 14, 16 могут поворачиваться независимо одна от другой.
В подобном соединительном устройстве 60 его эксцентрики 20 имеют такое же конструктивное исполнение, что и в соединительном устройстве, показанном на фиг.1, даже если отдельные конструктивные особенности этих эксцентриков и не представлены в явном виде на фиг.4 и 5. Так, например, оба эксцентрика 20 соединительного устройства 60 также имеют выступы 26, которые выполнены с расчетом на восприятие их боковыми поверхностями ударной нагрузки.
Однако в отличие от эксцентрика 20, показанного на фиг.1 соединительного устройства, оба эксцентрика 20 соединительного устройства 60 необязательно могут иметь на своих окружных поверхностях 22 углубления 62, обращенные своим дном радиально внутрь. Размеры таких углублений в окружном направлении согласованы с размерами нажимных поверхностей 66 обеих зажимных колодок 14, 16. Подобные углубления 62 позволяют увеличить возможный угол поворота зажимных колодок 14, 16 при их отводе в нерабочее положение для возможности тем самым максимально широкого разведения крюкообразных участков 64 во взаимно противоположные стороны.
Обе зажимные колодки 14, 16 выполнены с короткими рычагообразными удлиняющими их частями (рукоятками) 65, которые обеспечивают возможность поворота обеих зажимных колодок 14, 16 вручную. Обе эти рычагообразные удлиняющие части 65 ориентированы таким образом перпендикулярно осям D поворота, образованным осями 18.
Ниже кратко поясняется принцип работы такого соединительного устройства 60.
Как уже указывалось в начале описания, в балочных опалубочных системах отдельные их элементы соединяют друг с другом соединительными ригелями. На фиг.4 и 5 такие соединительные ригели обозначены позицией 56. На этих соединительных ригелях 56 закреплены штыри 58, которые могут быть либо несъемными либо съемными. Подобные штыри 58 позволяют, таким образом, путем их закрепления на уже существующих соединительных ригелях 56 легко адаптировать их под предлагаемое в изобретении соединительное устройство.
Соединительные ригели 56 имеют опорные поверхности 59, в которые своей опорной поверхностью упирается опорный брусок 68 несущего элемента 80.
Для соединения друг с другом двух соединительных ригелей 56 обе зажимные колодки 14, 16 путем поворота обоих эксцентриков 20 поворачивают в закрытое положение, в ходе чего крюкообразные участки 64, перемещаясь своей вогнутой поверхностью по штырям 58, притягивают их, а вместе с ними и соединительные ригели 56 друг к другу. Вследствие этого опорные поверхности 59 обоих ригелей 56 прижимаются к опорной поверхности опорного бруска 68 соединительного устройства 60, обеспечивая таким путем выравнивание соединительных ригелей в одну линию. Помимо этого за счет взаимодействия крюкообразных участков 64 со штырями 58 обеспечивается также фиксация соединительных ригелей 56 в их продольном направлении.
На фиг.5 соединительное устройство 60 показано в зажатом или затянутом состоянии.
Для демонтажа соединительного устройства 60 необходимо повернуть оба эксцентрика 20 в обратном направлении и отвести таким путем зажимные колодки 14, 16 в обратную сторону в их исходное (нерабочее) положение.
Преимущество подобного соединительного устройства 60 для балочных опалубочных систем состоит в том, что оно является исключительно простым в обращении с ним и не требует применения нескольких деталей, например клиньев или иных деталей. Помимо этого, совершенно очевидно, что принцип работы этого соединительного устройства для балочных опалубочных систем соответствует принципу работы соединительного устройства для рамных опалубочных систем, что дополнительно упрощает на стройплощадке работу с такими соединительными устройствами для неквалифицированного персонала.
Поскольку расстояние между соединяемыми соединительными ригелями 56 в балочных опалубочных системах может варьироваться, соединительное устройство 60 можно дополнить удлиняющим элементом, позволяющим регулировать расстояние между обеими зажимными колодками 14, 16.
Пример такого удлиняющего элемента 70 представлен на фиг.6. Очевидно, однако, что возможны и иные решения.
Удлиняющий элемент 70 имеет рейку 71, которая на своем верхнем продольном участке выполнена с волнистой кромкой 72 и которая может, например, являться частью несущего элемента 80. С этой волнистой кромкой 72 взаимодействует выполненная соответствующей формы волнистая кромка элемента 74, расположенного параллельно рейке 71. Обе волнистые кромки можно смещать друг относительно друга, при этом элемент 74 закреплен на зажимной колодке 14 соответственно 16, а рейка 71 с волнистой кромкой 72 закреплена на несущем элементе 80, что, однако, на фиг.6 не показано.
При нахождений обеих волнистых кромок на некотором расстоянии друг от друга их можно перемещать друг относительно друга в продольном направлении. При повороте же зажимных колодок 14, 16 в затянутое положение элемент 74 своей волнистой кромкой зацепляется с волнистой кромкой 72 рейки 71 и таким путем обеспечивает фиксацию элемента 74 и рейки 71 друг относительно друга в продольном направлении.
В показанном на фиг.6 варианте обе зажимные колодки 14, 16 выполнены с возможностью их перемещения в продольном направлении (т.е. перемещения друг к другу и друг от друга). Однако в принципе вполне достаточно выполнить перемещаемой в продольном направлении только одну зажимную колодку.
Резюмируя все сказанное выше, можно констатировать, что в изобретении предлагается исключительно простое в применении соединительное устройство, которое помимо этого имеет простую конструкцию и тем самым невысокую стоимость. Кроме того, работа обоих соединительных устройств (для рамных Опалубочных систем и для балочных опалубочных систем) основана на одинаковом принципе, что упрощает обращение с ними на стройплощадке.
Формула изобретения
1. Соединительное устройство (10; 60), предназначенное для соединения двух элементов (50) опалубки, преимущественно для соединения соединительных ригелей (56) балочной опалубочной системы или для соединения рамных элементов рамной опалубочной системы, и имеющее несущий элемент (12; 80), два зажимных элемента (14, 16), по меньшей мере один из которых установлен с возможностью поворота вокруг соответствующей оси (S) поворота, и приводное устройство (20, 22), предназначенное для поворота по меньшей мере одного зажимного элемента и имеющее по меньшей мере один эксцентрик (20) с окружной поверхностью (22), который установлен на несущем элементе с возможностью поворота вокруг соответствующей оси (D) поворота, отличающееся тем, что ось (D) поворота эксцентрика (20) перпендикулярна оси (S) поворота по меньшей мере одного зажимного элемента, а окружная поверхность (22) эксцентрика (20) взаимодействует с зажимным элементом таким образом, что поворот эксцентрика (20) сопровождается поворотом зажимного элемента (14, 16).
2. Соединительное устройство по п.1, отличающееся тем, что по меньшей мере один эксцентрик (20) имеет по меньшей мере один выступ (26), который ориентирован в направлении оси поворота эксцентрика и предусмотрен для возможности приложения крутящего момента к эксцентрику (20) вручную.
3. Соединительное устройство по п.1, отличающееся тем, что эксцентрик (20) имеет эксцентриситет, при котором обеспечивается самоторможение эксцентрика (20) при удержании им зажимного элемента в положении, в котором он зажат на элементе опалубки.
4. Соединительное устройство по п.2, отличающееся тем, что эксцентрик (20) имеет эксцентриситет, при котором обеспечивается самоторможение эксцентрика (20) при удержании им зажимного элемента в положении, в котором он зажат на элементе опалубки.
5. Соединительное устройство по п.2, отличающееся тем, что эксцентрик (20) имеет по меньшей мере три спицы (24) с выполненными на них выступами.
6. Соединительное устройство по одному из пп.1-4, отличающееся тем, что один из двух зажимных элементов (14) неподвижно закреплен на несущем элементе, а другой зажимной элемент (16) выполнен поворотным.
7. Соединительное устройство по п.6, отличающееся тем, что оба зажимных элемента выполнены симметричными в зажимной части и имеют по две зажимные поверхности и по углублению между ними.
8. Соединительное устройство по одному из пп.1-5, отличающееся тем, что оба зажимных элемента (14, 16) установлены на несущем элементе с возможностью поворота и предусмотрено два поворачиваемых независимо друг от друга эксцентрика (20), каждый из которых функционально связан соответственно с одним из зажимных элементов.
9. Соединительное устройство по п.8, отличающееся тем, что каждый из двух зажимных элементов имеет крюкообразный конец (64), взаимодействующий со съемно или несъемно закрепленным на соединительном ригеле (56) балочной опалубки (55) штырем (58).
10. Соединительное устройство по п.9, отличающееся тем, что несущий элемент имеет опорную поверхность (68), которая в зажатом состоянии соединительного устройства (10) опирается на соединительный ригель (56).
11. Соединительное устройство по п.8, отличающееся тем, что несущий элемент (80) выполнен регулируемой длины для возможности изменения расстояния между обоими зажимными элементами.
12. Соединительное устройство по п.11, отличающееся тем, что несущий элемент (80) имеет рейку с углублениями, на которой с возможностью перемещения смонтирована несущая один из зажимных элементов часть несущего элемента, на которой предусмотрен по меньшей мере один выступ, который в зажатом состоянии соединительного устройства утоплен в одно из указанных углублений и таким путем фиксирует подвижную часть несущего элемента от перемещения.
13. Соединительное устройство по п.1, отличающееся тем, что оно изготовлено из литейного материала.
14. Соединительное устройство по п.1, отличающееся тем, что по меньшей мере один эксцентрик (20) изготовлен ковкой.
15. Соединительное устройство по п.1, отличающееся тем, что по меньшей мере один эксцентрик (20) имеет на своей окружной поверхности (22) обращенное своим дном радиально внутрь углубление.
РИСУНКИ
|