|
|
(21), (22) Заявка: 2007138071/03, 23.11.2005
(24) Дата начала отсчета срока действия патента:
23.11.2005
(30) Конвенционный приоритет:
18.04.2005 FI 20050397
(43) Дата публикации заявки: 27.05.2009
(46) Опубликовано: 10.03.2010
(56) Список документов, цитированных в отчете о поиске:
US 3697032 A, 10.10.1972. GB 23405294 A, 23.02.2000. JP 7224526 A, 22.08.1995. RU 1622562 A1, 23.01.1991.
(85) Дата перевода заявки PCT на национальную фазу:
19.11.2007
(86) Заявка PCT:
FI 2005/050433 20051123
(87) Публикация PCT:
WO 2006/111603 20061026
Адрес для переписки:
191002, Санкт-Петербург, а/я 5, ООО “Ляпунов и партнеры”, пат.пов. Е.Г.Ильмеру, рег. 1144
|
(72) Автор(ы):
КЕТТУНЕН Уско (FI)
(73) Патентообладатель(и):
КЕТТУНЕН Уско (FI)
|
(54) ПЕРЕДВИЖНЫЕ ПОДМОСТИ
(57) Реферат:
Изобретение относится к передвижным подмостям. Передвижные подмости с одной или более фиксированными рабочими платформами, причем каркас подмостей содержит четыре установленных вертикально трубчатых угловых элемента, соединенных трубчатыми поперечными элементами, причем на нижнем конце каждого трубчатого углового элемента предусмотрено колесо, позволяющее перемещать подмости, причем подмости снабжены элементами для регулировки их высоты. Между каждым трубчатым угловым элементом и колесом на его нижнем конце предусмотрены вертикальные регулировочные элементы, позволяющие выполнить индивидуальную вертикальную регулировку каждого колеса относительно связанного с ним трубчатого углового элемента во время перемещения подмостей, что позволяет безопасно передвигать подмости даже по неровной поверхности, при этом элементы вертикальной регулировки содержат механизм вертикальной регулировки, содержащий оболочку, прикрепленную к каркасу подмостей, и спускоподъемный элемент, способный перемещаться в продольном направлении относительно оболочки, а также регулировочную трубу, соединенную с колесом и размещенную внутри трубчатого углового элемента для перемещения в продольном направлении относительно трубчатого углового элемента, причем на нижнем конце спускоподъемного элемента имеются направляющие, предназначенные для перемещения колеса и связанной с ним регулировочной трубы относительно трубчатого углового элемента в процессе перемещения спускоподъемного элемента относительно оболочки. Технический результат: безопасность перемещения подмостей и исключение их переворачивания. 3 з.п. ф-лы, 3 ил.
Настоящее изобретение относится к передвижным подмостям типа раскрытых в ограничительной части пункта 1 формулы изобретения.
В прототипах подмостей, четыре угла которых снабжены регулировочными приспособлениями, такими как, например, в подмостях, описанных в американском патенте US 4293054, имеющих способную вертикально перемещаться подъемную платформу, элементы вертикальной регулировки подмостей состоят из регулируемых ножек, не допускающих смещение подмостей во время или после процедуры регулировки. Применяя такие подмости, отключение/использование регулировочного приспособления на неровной местности вызывает переворачивание подмостей.
Целью настоящего изобретения является устранение данного недостатка и обеспечение подмостей, которые можно было бы перемещать, одновременно регулируя с четырех углов, даже на местности с большими перепадами высот. При перемещении подмости безопасны и не переворачиваются.
Согласно настоящему изобретению эта цель может быть достигнута при использовании подмостей, описание которых дано в отличительной части пункта 1 формулы изобретения.
Теперь настоящее изобретение будет описано более подробно со ссылками на сопровождающие чертежи.
На фиг.1 схематически показаны одни подмости, выполненные согласно настоящему изобретению, в вертикально поднятом состоянии.
На фиг.2 показан один структурный элемент, предназначенный для подмостей из фиг.1.
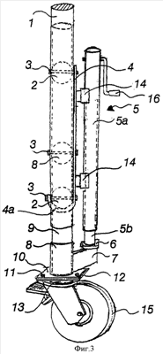
На фиг.3 показан более детально один механизм вертикальной настройки, применяемый в подмостях настоящего изобретения.
Показанные на фиг.1 подмости 20 состоят из трубчатых угловых элементов 1, соединенных друг с другом на концах подмостей практически горизонтальными трубчатыми поперечными элементами 2, предпочтительно методом сварки, таким образом создавая торцевые элементы 23 (смотри фиг.2). Материалом для труб предпочтительно служит алюминий, например алюминиевый сплав Т6. В данном примере диаметр алюминиевой трубы равен 50 мм, а толщина стенок 2 мм. Торцевые элементы 23, расположенные на противоположных концах подмостей, соединены друг с другом рабочими платформами 21 и практически горизонтальными, образующими заднюю стенку трубами 2b и размещенными по диагонали, образующими переднюю стенку трубчатыми расчалками 2b. Переход между рабочими платформами, расположенными на различных уровнях, обеспечивается посредством лестниц 22, проходящих вблизи рабочих платформ между торцевыми элементами 23 в пределах каркасной конструкции, образованной трубчатыми угловыми элементами 1 и соединяющими их трубчатыми поперечными элементами 2, 2а, 2b. На нижнем конце каждого трубчатого углового элемента предусмотрено колесо 15, позволяющее перемещать подмости. Когда подмости находятся в вертикально поднятом положении, колеса заблокированы, что предотвращает случайное смещение подмостей. В дополнение, подмости могут быть оснащены дополнительными регулируемыми выносными опорами 24 для того, чтобы гарантировать, что возведенные подмости стоят надежно в вертикальном положении, особенно в случае высоких подмостей, и/или для предотвращения их случайного перемещения. Подмости предназначены для использования как снаружи помещения, с верхней рабочей платформой, размещенной на высоте 8 м согласно стандарту EN 1004, так и внутри помещения, с верхней рабочей платформой на высоте 12 м согласно стандарту EN 1004. Для стабилизации подмостей предназначен балласт, обозначенный номером 25.
Вертикальная регулировка между колесом 15 и связанным с ним трубчатым угловым элементом 1 во время возведения подмостей и/или во время перемещения подмостей в другое местоположение на неровном основании осуществляется посредством механизма 5 вертикальной регулировки, изображенного более подробно на фиг.3. Как показано на фиг.3, механизм вертикальной регулировки содержит оболочку 5а, прикрепленную к торцевому элементу 23 подмостей 20, и спускоподъемный элемент 5b, выполненный с возможностью перемещаться в продольном направлении вдоль оболочки. Перемещение спускоподъемного элемента 5b относительно оболочки 5а может производиться, например, с помощью механического или гидравлического привода. К оболочке 5 присоединена предпочтительно посредством сварки соединительная деталь 14, к которой, в свою очередь, присоединен, предпочтительно также посредством сварки, крепежный элемент 4, нижний конец которого снабжен скобой 4а, предназначенной для поддержания снизу практически горизонтального трубчатого поперечного элемента 2 торцевого элемента подмостей. Крепежный элемент 4 приспособлен для фиксации на по меньшей мере одном трубчатом поперечном элементе 2 посредством зажимных средств 3, например болта, причем для этой цели в крепежном элементе 4 и трубчатом поперечном элементе 2 просверлены необходимые отверстия. В изображенном воплощении крепежный элемент 4 соединен с тремя самыми нижними трубчатыми поперечными элементами 2 торцевого элемента подмостей. В приведенном в качестве примера случае высота механизма 5 вертикальной регулировки равна 114 мм, его высота подъема составляет 760 мм, а подъемная нагрузка 900 кг максимум. В приведенном в качестве примера случае крепежный элемент 4 выполнен из стали и имеет длину, равную 750 мм, толщину – 10 мм и ширину 50 мм.
Колесо 15 соединено с регулировочной трубой 9, выполненной предпочтительно из стали и размещенной внутри трубчатого углового элемента 1 для перемещения в продольном направлении относительно трубчатого углового элемента. В качестве примера, регулировочная труба имеет диаметр, равный 45 мм, длину 1800 мм и стенку 3 мм, а также имеет приваренный к ней стальной фланец 10, причем на углах указанного фланца просверлены отверстия. Колесо 15 имеет станину 13, снабженную фланцем 12 с соответствующими ответными отверстиями, просверленными на ее углах. Фланцы 10, 12 соединены друг с другом болтами 11. На нижнем конце спускоподъемного элемента 5b предусмотрены направляющие 6-8, предназначенные для перемещения колеса 15 и связанной с ним регулировочной трубы 9 относительно трубчатого углового элемента 1 в процессе перемещения спускоподъемного элемента 5b относительно оболочки 5а. Расположенные на нижнем конце спускоподъемного элемента 5b направляющие включают трубчатый элемент 8, изготовленный предпочтительно из стали, соединенный, например, посредством Т-образного держателя 7 с пластиной 6, установленной на нижнем конце спускоподъемного элемента. Регулировочная труба 9 проходит через трубчатый элемент 8 внутрь трубчатого углового элемента 1. В приведенном в качестве примера случае трубчатый элемент имеет диаметр, равный 51 мм, высоту 100 мм и толщину стенок 3 мм.
В процессе движения подмостей механизм 5 вертикальной регулировки, предусмотренный на каждом углу, может быть приведен в действие, когда это необходимо, с помощью рукоятки 16, причем регулировочная труба 9 движется внутри трубчатого углового элемента вверх или вниз в зависимости от направления вращения рукоятки 16, и одновременно колесо 15 движется относительно каркаса подмостей, таким образом приспосабливая колесо 15 к неровностям поверхности местности для поддержания подмостей всегда практически в вертикальном положении на протяжении всего процесса перемещения.
Подмости предназначены для медленного движения со скоростью пешехода посредством человеческого усилия, в силу чего задействованная для перемещения бригада имеет время реагировать на изменения местности.
Формула изобретения
1. Передвижные подмости с одной или более фиксированными рабочими платформами, причем каркас подмостей содержит четыре установленных вертикально трубчатых угловых элемента, соединенных трубчатыми поперечными элементами, причем на нижнем конце каждого трубчатого углового элемента предусмотрено колесо, позволяющее перемещать подмости, причем подмости снабжены элементами для регулировки их высоты, отличающиеся тем, что между каждым трубчатым угловым элементом и колесом на его нижнем конце предусмотрены вертикальные регулировочные элементы, позволяющие выполнить индивидуальную вертикальную регулировку каждого колеса относительно связанного с ним трубчатого углового элемента во время перемещения подмостей, что позволяет безопасно передвигать подмости даже по неровной поверхности, при этом элементы вертикальной регулировки содержат механизм вертикальной регулировки, содержащий оболочку, прикрепленную к каркасу подмостей, и спускоподъемный элемент, способный перемещаться в продольном направлении относительно оболочки, а также регулировочную трубу, соединенную с колесом и размещенную внутри трубчатого углового элемента для перемещения в продольном направлении относительно трубчатого углового элемента, причем на нижнем конце спускоподъемного элемента имеются направляющие, предназначенные для перемещения колеса и связанной с ним регулировочной трубы относительно трубчатого углового элемента в процессе перемещения спускоподъемного элемента относительно оболочки.
2. Передвижные подмости по п.1, отличающиеся тем, что направляющие, расположенные на нижнем конце спускоподъемного элемента, содержат трубчатый элемент, через который проходит регулировочная труба, причем трубчатый элемент соединен посредством держателя с пластиной, установленной на нижнем конце спускоподъемного элемента.
3. Передвижные подмости по п.1 или 2, отличающиеся тем, что оболочка механизма вертикальной регулировки соединена с крепежным элементом, на нижнем конце которого предусмотрена скоба, поддерживающая снизу один из практически горизонтальных трубчатых поперечных элементов подмостей, причем крепежный элемент выполнен с возможностью фиксации на по меньшей мере одном трубчатом поперечном элементе с помощью крепежных средств.
4. Передвижные подмости по п.1 или 2, отличающиеся тем, что спускоподъемный элемент механизма вертикальной регулировки выполнен с возможностью перемещения относительно оболочки с помощью механического или гидравлического привода.
РИСУНКИ
|
|