|
|
(21), (22) Заявка: 2008140621/03, 13.10.2008
(24) Дата начала отсчета срока действия патента:
13.10.2008
(46) Опубликовано: 10.03.2010
(56) Список документов, цитированных в отчете о поиске:
RU 2194825 C2, 20.12.2002. KR 20060102872 A, 28.09.2006. JP 3235845 A, 21.10.1991.
Адрес для переписки:
445027, Самарская обл., г. Тольятти, а/я 3151, ЗАО “Фирма “Приоритет”
|
(72) Автор(ы):
Анпилов Сергей Михайлович (RU), Анпилов Михаил Сергеевич (RU)
(73) Патентообладатель(и):
Анпилов Сергей Михайлович (RU)
|
(54) СТЫКОВОЕ СОЕДИНЕНИЕ МОНОЛИТНОГО ПЕРЕКРЫТИЯ С КОЛОННОЙ
(57) Реферат:
Изобретение относится к области строительства, в частности к стыковому соединению монолитного перекрытия с колонной. Технический результат заключается в уменьшении металлоемкости пластин путем снижения их веса, упрощении конструкции и снижении веса всего узла в целом без снижения его надежности и несущей способности. Стыковое соединение монолитного перекрытия с колонной 1 содержит колонну 1 и плиту перекрытия 2. Колонна 1 и плита перекрытия 2 содержат арматурные каркасы 3 и 4 соответственно. На арматурном каркасе плиты перекрытия 2 установлены пластины 5 в направлении от колонны 1 к плите перекрытия 2. Пластины 5 выполнены в виде гнутых профилей и снабжены элементами жесткости 6. Элементы жесткости 6 установлены вдоль каждой пластины 5 попарно с двух сторон, по меньшей мере, по верхнему и нижнему торцам пластины 5. 1 з.п. ф-лы, 6 ил.
Изобретение относится к области строительства, а именно к сооружению сборных железобетонных перекрытий, и может быть использовано в сооружениях опорных конструкций безбалочных перекрытий.
Известно стыковое соединение капители безбалочного железобетонного перекрытия с колонной по авторскому свидетельству СССР 876907, кл. Е04В 5/43, 1981 г. Оно содержит центральную часть плиты с расширяющимся книзу отверстием и арматурные выпуски колонны и плиты, в отверстие для пропуска колонны помещен арматурный каркас, выступающий из-под плоскости капители в форме усеченной пирамиды или усеченного конуса и присоединенный к выпускам арматуры колонны и капители, причем колонна в зоне стыка выполнена профилированной с чередующимися пазами и гребнями, а полость стыка омоноличена.
Недостатками этого стыкового соединения являются высокие трудозатраты и материалоемкость узла соединения колонны с плитой перекрытия.
Известно стыковое соединение безбалочного железобетонного перекрытия с колонной по патенту Российской Федерации 2194825, кл. Е04В 5/43, 2002 г., принятое заявителем за прототип. Оно содержит колонну и плиту перекрытия, арматурные каркасы колонны и плиты перекрытия, напротив каждой грани колонны симметрично относительно осей колонны, на арматурном каркасе нижней и верхней сетки плиты перекрытия жестко закреплены пластины в направлении от колонны к плите перекрытия, пластины выполнены длиной не менее 2h+2a, где h – толщина плиты перекрытия, а – толщина защитного слоя бетона колонны, и установлены на ребро, причем один конец каждой пластины выполнен прямоугольной формы и установлен за гранью колонны на расстоянии не менее 2а, а другой имеет скос под углом 45 градусов, расположенный перпендикулярно к боковой поверхности призмы продавливания плиты.
Однако такое соединение колонны с плитой перекрытия требует значительного расхода металла, что прямо связано с увеличением веса конструкции.
Технической задачей изобретения является уменьшение металлоемкости пластин путем снижения их веса и упрощения конструкции, а также снижение веса всего узла в целом без снижения его надежности и несущей способности.
Поставленная задача решается тем, что в предлагаемом техническом решении пластины выполнены в виде гнутых профилей и снабжены элементами жесткости, причем элементы жесткости установлены вдоль каждой пластины попарно с двух сторон, по меньшей мере, по верхнему и нижнему торцам пластины.
Кроме того, гнутый профиль пластин выполнен в виде или синусоиды, или прямоугольника, или трапеции, а элементы жесткости выполнены или из арматуры, или полосы, или уголка, или швеллера и скреплены с пластиной посредством сварки или крепежных элементов.
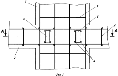
На фиг.1 изображено соединение колонны с плитой перекрытия с использованием пластин в виде гнутых профилей (верхняя и нижняя сетки арматурного каркаса плиты перекрытия условно не показаны);
на фиг.2 – сечение А-А на фиг.1;
на фиг.3 – пластины, снабженные элементами жесткости, выполненными из арматуры и соединенными с ней посредством сварки;
на фиг.4 – виды гнутых профилей пластины;
на фиг.5 – примеры элементов жесткости;
на фиг.6 – крепление элементов жесткости к пластине посредством или сварки, или крепежных элементов.
Стыковое соединение безбалочного железобетонного перекрытия с колонной включает в себя колонну 1 и плиту перекрытия 2, внутри которых размещены арматурные каркасы, соответственно: 3 – арматурный каркас колонны и 4 – арматурный каркас плиты перекрытия. Напротив каждой грани колонны 1 симметрично относительно осей колонны и плиты перекрытия 2 жестко закреплены пластины 5 в направлении от колонны 1 к плите перекрытия 2. Все пластины 5, по меньшей мере, по две напротив каждой грани колонны, установлены на ребро. Причем каждая пластина 5 размещена между верхней и нижней сетками арматурного каркаса 4 плиты перекрытия и жестко с ними соединена. А также каждая пластина 5 выполнена в виде гнутого профиля и снабжена элементами жесткости 6, которые установлены вдоль каждой пластины 5 попарно с двух сторон, по меньшей мере, по верхнему и нижнему торцам. Такая конструкция пластины значительно тоньше и требует меньше металла, намного легче плоской и превосходит аналог по несущей способности. При выполнении очень ответственной конструкции здания, требующей более усиленной плиты перекрытия с повышенной несущей способностью, возможно дополнительное размещение элементов жесткости 6 по высоте пластины 5 между ее верхним и нижним торцами.
Гнутый профиль пластины может быть представлен несколькими видами кривых, например: в виде синусоиды, прямоугольника, трапеции, треугольника и других подобных фигур. А элементы жесткости 6 могут быть выполнены, например: из арматуры, прутка, полосы, уголка или швеллера и им подобных. Крепление элементов жесткости 6 с пластиной 5 осуществляют посредством, например: контактной сварки, вязальной проволоки, сквозных хомутов или других крепежных элементов 7.
Монтаж стыкового соединения осуществляют следующим образом.
На опалубку, подведенную под перекрытие (условно не показана), укладывают нижнюю сетку арматурного каркаса 4 плиты перекрытия 2, при этом арматурный каркас 3 колонны 1 уже выведен над опалубкой. Затем подготовленные пластины 5 устанавливают на ребро и прикрепляют к нижней сетке арматурного каркаса 4 плиты перекрытия 2.
Предварительная подготовка пластин заключается в следующем. К пластине, выполненной расчетной длины, толщины и с выбранным профилем, по верхнему и нижнему торцам ее прикрепляют попарно элементы жесткости 6, также рассчитанные из предлагаемого ряда в зависимости от требуемой несущей способности и наличия на строительной площадке тех или иных элементов жесткости 6. Кроме того, сборку пластин 5 с элементами жесткости 6 можно совместить с установкой их на арматурном каркасе 4 плиты перекрытия 2 непосредственно на строительном объекте.
После этого устанавливают верхнюю сетку арматурного каркаса 4 плиты перекрытия 2 и также скрепляют ее с пластинами 5. Соединение готово к заполнению бетоном.
Пластины, имеющие гнутый профиль, более устойчивы к длительной статической нагрузке. Кроме выгод, извлекаемых из технологии производства, ребро с синусоидальным профилем имеет преимущество перед прямым из-за устранения местной деформации, свойственной плоским пластинам. Благодаря профилированной пластине конструкция эффективно гасит изгибающие нагрузки. В условиях статической нагрузки пластина рассчитывается по схеме, в которой изгибающие моменты и нормальные силы передаются только через полки: после соединения с элементами жесткости пластина принимает вид двутавровой балки, у которой элементы жесткости служат полками балки, а поперечные силы распределяются только через диагонали и вертикали образованной балки – в данном случае через гофрированную стенку.
Использование предлагаемого технического решения позволило без снижения надежности и несущей способности создать стыковой узел монолитного перекрытия с колонной, позволивший в среднем до 40% уменьшить металлоемкость пластин, снизить вес строительных конструкций, сэкономить используемый металл благодаря достаточной несущей способности пластин в виде гнутых профилей, снабженных элементами жесткости и представляющих собой балки. А также использование предлагаемого технического решения позволяет снизить себестоимость производимых работ и повысить их производительность.
Формула изобретения
1. Стыковое соединение монолитного перекрытия с колонной, содержащее колонну и плиту перекрытия, арматурные каркасы колонны и плиты перекрытия, установленные на арматурном каркасе плиты перекрытия в направлении от колонны к плите перекрытия пластины, отличающееся тем, что пластины выполнены в виде гнутых профилей и снабжены элементами жесткости, причем элементы жесткости установлены вдоль каждой пластины попарно с двух сторон, по меньшей мере, по верхнему и нижнему торцам пластины.
2. Стыковое соединение по п.1, отличающееся тем, что гнутый профиль пластин выполнен в виде или синусоиды, или прямоугольника, или трапеции, а элементы жесткости выполнены или из арматуры, или полосы, или уголка, или швеллера и скреплены с пластиной посредством сварки или крепежных элементов.
РИСУНКИ
|
|