Патент на изобретение №2383689

Published by on




РОССИЙСКАЯ ФЕДЕРАЦИЯ



ФЕДЕРАЛЬНАЯ СЛУЖБА
ПО ИНТЕЛЛЕКТУАЛЬНОЙ СОБСТВЕННОСТИ,
ПАТЕНТАМ И ТОВАРНЫМ ЗНАКАМ
(19) RU (11) 2383689 (13) C2
(51) МПК

E03C1/04 (2006.01)

(12) ОПИСАНИЕ ИЗОБРЕТЕНИЯ К ПАТЕНТУ

Статус: по данным на 28.09.2010 – действует

(21), (22) Заявка: 2006129801/03, 23.02.2005

(24) Дата начала отсчета срока действия патента:

23.02.2005

(30) Конвенционный приоритет:

25.02.2004 DE 102004010327.5

(43) Дата публикации заявки: 27.03.2008

(46) Опубликовано: 10.03.2010

(56) Список документов, цитированных в отчете о
поиске:
FR 2651814 A1, 15.03.1991. DE 9001977 U1, 07.06.1990. US 3737107 A, 05.06.1973. AT 006137 U1, 26.05.2003.

(85) Дата перевода заявки PCT на национальную фазу:

25.09.2006

(86) Заявка PCT:

EP 2005/001857 20050223

(87) Публикация PCT:

WO 2005/080697 20050901

Адрес для переписки:

191186, Санкт-Петербург, а/я 230, “АРС-ПАТЕНТ”, пат.пов. М.В.Хмаре, рег. 771

(72) Автор(ы):

ГЛУНК Гюнтер (DE),
КУБЕ Рейнхард (DE)

(73) Патентообладатель(и):

Хансгроэ АГ (DE)

(54) ДУШЕВОЕ УСТРОЙСТВО

(57) Реферат:

Изобретение относится к области водоснабжения. Душевое устройство содержит плоский профиль, задняя сторона которого выполнена с возможностью опоры на поверхность стены, скрытые арматурные детали, расположенные на участке задней стороны профиля и закрытые профилем, которые могут быть приведены в действие с передней стороны профиля, и по меньшей мере одну душевую головку. При этом во внутренней части профиля размещены трубы, на его задней стороне имеется вырез для обеспечения пространства для скрытых арматурных деталей, а скрытые арматурные детали заключены в скрытой коробке и частично выступают в профиль. Технический результат заключается в снижении риска повреждения выступающими частями душевого устройства. 9 з.п. ф-лы, 8 ил.

Область техники, к которой относится изобретение

Настоящее изобретение относится к душевому устройству, содержащему закрепляемый на поверхности стены удлиненный профиль. Профиль служит для целей размещения средств для подвода воды и частей арматурных деталей.

Уровень техники

В известной конструкции указанного типа (ЕР 422972) передняя сторона профиля снабжена выступом, так что санитарно-техническая арматурная деталь может быть расположена в пределах профиля, где также размещается концевая часть трубопровода. Профиль предназначен для установки на поверхности.

Также обычным приемом является использование пластины для закрытия выполненного в стене канала. В этом канале скрытым образом устанавливают санитарно-технические арматурные детали.

Раскрытие изобретения

Задачей изобретения является создание душевого устройства, которое было бы плоским для применения в условиях ограниченного пространства. Кроме того, задача состоит в снижении риска повреждения выступающими частями душевого устройства. Далее, необходима возможность использования профиля для изготовления таких душевых устройств, которые могли бы быть с легкостью укорочены по различным длинам и размерам.

Для решения поставленных задач изобретение предлагает душевое устройство, охарактеризованное признаками пункта 1. Варианты осуществления изобретения охарактеризованы в зависимых пунктах.

Согласно изобретению используется комбинация плоского профиля, имеющего постоянное поперечное сечение по всей своей длине, и скрытой арматуры, размещаемой в выполненном в стене канале или в отверстии пустотелой стены и полностью закрываемой профилем с лицевой стороны. В результате создается элегантный вид душевого устройства без выступающих частей, за исключением самой душевой головки.

В предпочтительном варианте осуществления изобретения арматурные детали закреплены на профиле. Очевидна также возможность дополнительной фиксации и закрепления арматурных деталей с помощью трубопроводного оборудования здания.

В следующем варианте осуществления изобретения душевое устройство снабжено скрытой коробкой, которая защищает и закрывает арматурные детали от доступа снаружи, а также дополнительно предотвращает просачивание конденсированной воды в стену.

Скрытая коробка обычно закреплена на стене, например, сбоку на канале, в котором она установлена. Скрытую коробку также можно закрепить на ее основании в канале. Согласно изобретению предусмотрено, что скрытая коробка может быть дополнительно закреплена на профиле или прикреплена только к профилю, иными словами, профиль может быть зафиксирован на скрытой коробке.

Очевидна возможность закрепления арматурных деталей как на скрытой коробке, так и на профиле.

В дальнейшем варианте осуществления изобретения предусмотрено боковое удлинение скрытое коробки и/или арматурной детали, размер которого меньше ширины профиля. Это обеспечивает закрытие профилем арматурных деталей или корпуса арматурной детали, так чтобы их не было видно.

Поскольку профиль имеет определенную толщину или высоту, для размещения трубы или подобных элементов изобретение предусматривает, что скрытые арматурные детали выступают до некоторой степени во внутреннюю часть профиля. Это компенсирует изменения толщины штукатурки.

Согласно изобретению душевое устройство может содержать ручной душ и предназначенный для него держатель, причем ручной душ подсоединен к шлангу. Подача воды к этому шлангу осуществляется через внутреннее пространство профиля по образованному там каналу и/или по шлангу, проложенному в профиле.

Могут быть предусмотрены гидравлические соединения между профилем и арматурными деталями, выполненные в виде соединений хомутом, которые замыкают при установке профиля на арматурные детали.

В альтернативном варианте изобретение предлагает жесткое соединение арматурных деталей с профилем и их соединение хомутом с трубопроводным оборудованием, проведенным внутри стены.

Такое соединение компенсирует толщину штукатурки и в то же время может быть выполнено в качестве элемента отделки стены. В результате обеспечивается особенно простая установка. В случае необходимости технического обслуживания это предоставляет особые преимущества для ремонтников.

В варианте, предусматривающем закрепление профиля на скрытой коробке или арматурных деталях, вместо винтового соединения может быть использовано байонетное или аналогичное быстро реализуемое соединение.

В любом случае предусмотрена возможность углового смещения между закрепленными в стене частями и профилем.

Профиль или душевое устройство имеют по меньшей мере одну, предпочтительно несколько боковых душевых головок. Эти боковые душевые головки лишь незначительно выступают над поверхностью профиля, так что размер требуемого пространства невелик. Согласно изобретению предусмотрено, что несколько боковых душевых головок индивидуальным образом снабжаются водой под управлением арматурных деталей.

Краткое описание чертежей

Дальнейшие особенности, детали и преимущества изобретения вытекают из дальнейшего описания предпочтительных вариантов осуществления, формулы изобретения и реферата, формулировки которых основаны на содержании описания, а также на чертежах, где

фиг.1 схематически представляет вид сбоку душевого устройства согласно изобретению,

фиг.2 представляет вид спереди устройства по фиг.1,

фиг.3 представляет в увеличенном виде поперечное сечение профиля,

фиг.4 схематически представляет в увеличенном виде соединительные части между арматурой и профилем,

фиг.5 представляет в увеличенном виде возможность закрепления скрытой коробки на профиле,

фиг.6 представляет поперечное сечение крепления боковой душевой головки,

фиг.7 представляет вид боковой душевой головки снаружи профиля,

фиг.8 в упрощенном виде представляет соединение хомутом между арматурой и трубопроводным оборудованием.

Осуществление изобретения

На фиг.1 показан вид сбоку душевого устройства согласно изобретению. Душевое устройство содержит плоский профиль 1 с плоской задней стороной 2. Передняя сторона 3, обращенная от задней стороны 2, может быть выполнена с несколько выпуклым поперечным сечением. Профиль 1 монтируют таким образом, чтобы его задняя сторона 2 прилегала к поверхности стены. Профиль может быть прикреплен с помощью известных средств. Вытянутый по длине профиль 1 обычно устанавливают вертикально. В самой верхней области передней стороны 3 профиля предусмотрен крепежный кронштейн 4 для ручного душа. Кронштейн 4 может быть установлен с возможностью регулирования в продольном направлении, то есть сверху вниз, и наоборот.

Приблизительно в средней области по длине профиля 1, то есть на половине его высоты, установлены органы 5, 6 управления и регулировки для санитарно-технической арматуры, размещенной на участке задней стороны 2 профиля. Санитарно-техническая арматура заключена в скрытой коробке 7 для цели ее защиты.

В нижней и средней частях передней стороны 3 профиля 1 установлены индивидуальные боковые душевые головки 8, которые приводятся в действие посредством органов 5, 6 управления.

На фиг.2 показан вид спереди душевого устройства. Ширина профиля 1 выбрана такой, чтобы исключить обзор скрытой коробки 7 с санитарно-технической арматурой, когда она не установлена. Участок, на котором предусмотрены управляющие органы 5, 6, может иметь дополнительную розетку 9. На нижнем конце профиля 1 предусмотрено соединение 11 для шланга 12 душевых головок, приводимых в действие органами 5, 6 управления. К концу шланга 12 присоединен ручной душ, который может быть подвешен обычным образом на крепежном кронштейне 4.

На передней стороне профиля 1, приблизительно посередине между двумя продольными краями его верхней части, выполнена прорезь 13, в которой смещаемым образом размещен крепежный кронштейн 4.

Боковые душевые головки 8 расположены симметрично с боковым смещением от центральной линии.

Изображенное душевое устройство устанавливают таким образом, что скрытая коробка с арматурой размещается в выполненном в стене канале, так что задняя сторона 2 профиля 1 прилегает к стеновой поверхности. В этом положении устройство закрепляют. Преимущество устройства заключается в том, что оно очень плоское. Толщина профиля 1 определяется из условия необходимости размещения в нем труб и крепежных кронштейнов.

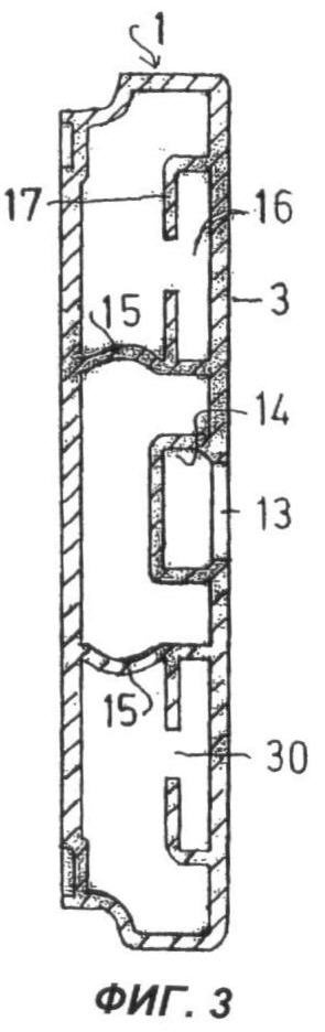
На фиг.3 в увеличенном виде показано поперечное сечение конструкции профиля 1. Профиль имеет плоскую заднюю сторону 2, см. также фиг.1. Передняя сторона 3 в представленном примере также выполнена плоской. В альтернативном варианте она имеет кривизну, то есть может быть выпуклой или вогнутой, исходя из задач дизайна. Приблизительно посередине между двумя продольными краями с задней поверхности передней стороны 3 выполнен канал 14, доступ в который осуществляется с передней стороны через упомянутую прорезь 13. Прорезь 13 имеет меньшую ширину, чем канал 14, так что края прорези 13 подрезаны с внутренней стороны. При такой конструкции крепежный кронштейн 4 для ручного душа может быть установлен путем зажима. Канал 14 выполнен непрерывным по всей длине профиля. Прорезь 3 может быть выполнена фрезерованием по завершении профильного участка. Как видно на фиг.2, прорезь 13 присутствует только на верхнем участке профиля. Однако канал 14 продолжается по всей его длине.

Передняя сторона 3 и задняя сторона 2 соединены между собой посредством двух перемычек 15. Перемычки 15 выполнены несколько выпуклыми, чтобы обеспечить размещение трубы. Они также проходят по всей длине профиля и делят его внутреннее пространство на три отделения.

На задней поверхности передней стенки 3 внутри двух отделений образованы дополнительные плоские каналы 16, которые ограничены параллельной стенкой 17 с прорезью. Каналы 16 предназначены для размещения боковых душевых головок и описываются в дальнейшем.

На фиг.4 представлен в увеличенном масштабе тот же вид, что и на фиг.1, где показано соединение между скрытой коробкой 7 и профилем 1. В скрытой коробке 7 размещены соединительный блок 20, корпус 21 штуцера и две соответствующие арматурные детали 22, 23. Одна арматурная деталь 22 может представлять собой, например, регулятор потока, а другая может быть переключателем между различными душевыми головками. Арматурные элементы 22, 23 выступают в профиль 1.

На участке скрытой коробки 7 задняя стенка 2 профиля 1 имеет вырез, чтобы обеспечить пространство для арматурных деталей. Вырез также выполнен на передней стенке 3 для размещения розетки. Розетка обычно устанавливается на арматурных деталях, так что профиль должен быть выполнен с учетом этой задачи.

Скрытая коробка 7 имеет основание 24 и боковую стенку 25, от которой наружу отходит фланец 26. Фланец 26 предназначен для фиксации скрытой коробки 7 на стене.

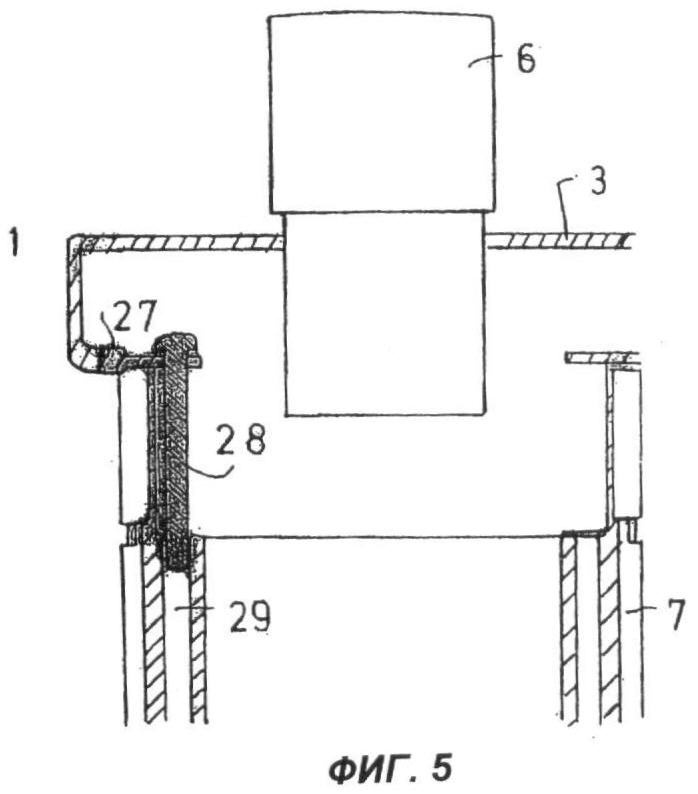
На фиг.5 представлен разрез в направлении, перпендикулярном направлению по фиг.4. Видно, что задняя стенка 2 профиля вырезана. На боковом участке 27 задней стенки 2 профиль 1 прикреплен к скрытой коробке 7. Для этой цели использован винт 28, который пропущен через отверстие в задней стенке 2 и завинчен в гнездо 29 скрытой коробки 7. Гнездо 29, представляющее собой относительно длинное отверстие, может иметь резьбу. Однако, также возможно, чтобы винт 28 сам нарезал резьбу. Таким образом, профиль может быть установлен на скрытой коробке 7, которая в свою очередь закреплена в стене. Кроме того, коробка может быть зафиксирована между корпусом 21 штуцера и профилем 1.

На фиг.6 показано закрепление боковой душевой головки 8 на профиле 1. В том месте, где должна быть установлена душевая головка 8, в передней стенке 3 профиля просверливается отверстие с выравниванием относительно прорези 30 в параллельной стенке 17. С задней поверхности в прорезь 30 вставляют ответную деталь 31 (фиг.7), снабженную направленным вперед отверстием. В это отверстие вставляют с запиранием корпус 32 боковой душевой головки 8. На корпусе 32 закрепляют корпус 33 форсунки, имеющий распылительные выходные отверстия на передней стороне. Будучи установлен на корпусе 32 приблизительно сферической формы, корпус 33 форсунки может поворачиваться до определенной степени. Ответная деталь 31 боковой душевой головки 8 имеет два боковых удлинения 34, 35, которые сообщаются со сквозным отверстием 36 в корпусе 32 боковой душевой головки 8. Одно боковое удлинение 35 служит для присоединения шланга. Другое боковое удлинение 34 может либо использоваться для дальнейшего прохождения шланга, либо может быть закрыто заглушкой. Таким образом, возможно последовательное соединение нескольких боковых душевых головок (фиг.2) при помощи шланга. Далее, все боковые душевые головки 8, например, одного ряда, могут быть одновременно приведены в действие посредством санитарно-технической арматурной детали. Также возможно, в зависимости от вида используемого переключателя, приведение в действие боковых душевых головок по отдельности или группами.

В представленном варианте осуществления, показанном в резко упрощенном виде на фиг.8, основная арматурная деталь 20, соединяемая с трубопроводным оборудованием здания, имеет разомкнутые соединения, которые могут быть введены или вставлены в соответствующие части арматурной детали 21. Для цели упрощения, на чертеже не показаны уплотнения, крепежные и подобные детали. При такой конструкции должно иметь место соединение основной арматурной детали 20 и трубопроводного оборудования здания, расположенное также в скрытой коробке. В конце монтажа блок, состоящий из профиля и закрепленных на нем арматурных деталей, размещают вблизи стены с выполненным в ней каналом и вводят в установленную арматурную деталь 20. Такая процедура монтажа характеризуется простотой и легкостью осуществления. Кроме того, очевидны также преимущества в случае необходимости замены арматурных деталей.

Формула изобретения

1. Душевое устройство, содержащее плоский профиль (1), задняя сторона (2) которого выполнена с возможностью опоры на поверхность стены; скрытые арматурные детали, расположенные на участке задней стороны (2) профиля (1) и закрытые профилем (1), которые могут быть приведены в действие с передней стороны профиля; и по меньшей мере одну душевую головку (8), при этом во внутренней части профиля размещены трубы, на его задней стороне имеется вырез для обеспечения пространства для скрытых арматурных деталей, а скрытые арматурные детали заключены в скрытой коробке (7) и частично выступают в профиль (1).

2. Душевое устройство по п.1, отличающееся тем, что арматурные детали закреплены на профиле (1).

3. Душевое устройство по п.1, отличающееся тем, что скрытая коробка (7) закреплена на профиле (1).

4. Душевое устройство по п.1, отличающееся тем, что скрытая коробка (7) и/или скрытая арматурная деталь (20, 21, 22, 23) имеют боковое удлинение, размер которого меньше ширины профиля (1).

5. Душевое устройство по п.1, отличающееся тем, что содержит ручной душ и предусмотренный для него крепежный кронштейн, причем к ручному душу подсоединен шланг (12).

6. Душевое устройство по п.5, отличающееся тем, что подача воды к ручному душу осуществляется через внутреннее пространство профиля (1) по каналу, образованному внутри профиля, и/или по шлангу.

7. Душевое устройство по п.1, отличающееся тем, что содержит по меньшей мере одну боковую душевую головку (8).

8. Душевое устройство по п.7, отличающееся тем, что боковые душевые головки (8) выполнены с возможностью раздельного управления в случае необходимости при помощи скрытых арматурных деталей.

9. Душевое устройство по п.1, отличающееся тем, что предусмотрены соединения хомутом для гидравлического соединения труб профиля с арматурными деталями.

10. Душевое устройство по п.1, отличающееся тем, что содержит присоединенные к профилю арматурные детали, выполненные с возможностью соединения хомутом с трубопроводным оборудованием здания.

РИСУНКИ

Categories: BD_2383000-2383999