|
|
(21), (22) Заявка: 2008118961/15, 13.05.2008
(24) Дата начала отсчета срока действия патента:
13.05.2008
(43) Дата публикации заявки: 20.11.2009
(46) Опубликовано: 10.03.2010
(56) Список документов, цитированных в отчете о поиске:
ОВЧИННИКОВ В.И. и др., Производство капролактама. – М.: Химия, 1977, с.60-63. SU 274101 А1, 24.06.1970. SU 390713 A1, 11.07.1973. SU 358837 А1, 03.11.1972. RU 2296741 C1, 10.04.2007. GB 1160457 A, 06.08.1969.
Адрес для переписки:
445007, Самарская обл., г. Тольятти, ул. Новозаводская, 6, ОАО “КуйбышевАзот”, Управление информации
|
(72) Автор(ы):
Кузнецов Сергей Николаевич (RU), Ардамаков Сергей Витальевич (RU), Садивский Сергей Ярославович (RU)
(73) Патентообладатель(и):
Открытое акционерное общество “КуйбышевАзот” (RU)
|
(54) УСТАНОВКА КАСКАДНОГО ОКИСЛЕНИЯ ЦИКЛОГЕКСАНА
(57) Реферат:
Изобретение может быть использовано для проведения химического взаимодействия жидкости с газообразной средой. Установка каскадного окисления циклогексана выполнена в виде каскада, по меньшей мере, из двух реакторов 1 и 2. Реакторы 1 и 2 снабжены штуцерами 3 и 4 ввода циклогексана и реакционной смеси. Ввод воздуха во внутренний объем реакторов осуществлен по штуцерам 7 и 8, оснащенным многоярусными распределителями – барботерами воздуха 9 и 10. Для вывода реакционной смеси из аппаратов предназначены нижние штуцеры 11 и 12. Штуцер 11 соединен с трубопроводом 13 передачи смеси на вторую ступень каскада окисления. В трубопровод передачи 13 перед штуцером 4 реактора 2 введен промежуточный сборник 14 с арматурой регулирования расхода 15. Промежуточный сборник 14 снабжен трубопроводом перелива 16. Изобретение позволяет повысить производительность выработки циклогексанона и циклогесанола. 7 з.п. ф-лы, 4 ил.
Изобретение относится к установкам, специально приспособленным для проведения химического взаимодействия жидкости с газообразной средой, а более конкретно к установкам каскадного окисления циклогексана кислородом воздуха в барботажных реакторах (на одной из основных технологических стадий производства капролактама и полиамидных пластмасс).
Известные установки аналогов – установки некаскадного – «одноступенчатого» окисления циклогексана в одном барботажном реакторе, разработанные институтом ГИАП, см. работу Фурмана М.С., Бадриана А.С., Гольдмана A.M. и др. «Производство циклогексанона и адипиновой кислоты окислением циклогексана». М., Химия, 1967 г., стр.81-84, рис.25, стр.84.
Конструкция установки-аналога (рис.25, стр.84) состоит из одного реактора – вертикального цилиндрического реакционного аппарата, работающего под внутренним давлением. К верхней части реактора присоединен штуцер подачи циклогексана на размещенную внутри аппарата перфорированную тарелку. Нижняя часть аппарата снабжена штуцером и трубным распределителем подачи воздуха (воздушным барботером), а также штуцером вывода готовой реакционной смеси (оксидата). Также внутри реактора расположены встроенные теплообменные устройства в виде сплошного змеевика (для съема тепла реакции окисления).
Работа одноступенчатой установки аналога, включающего однообъемный (односекционный) реактор, заключается в следующем. Подогретый циклогексан С6Н12 (сокращенно ЦГ) направляется в верхнюю часть реактора в штуцер подачи ЦГ на перфорированную тарелку, обеспечивающую равномерное распределение ЦГ по всему поперечному сечению конструкции. Поступающий в нижнюю часть аппарата воздух, распределяемый по перечному сечению трубным распределителем (барботером), пробулькивает – барботирует через всю заполненную циклогексаном высоту корпуса. Во всем объеме заполнения кислород воздуха вступает в реакцию окисления ЦГ. В результате реакции образуются конечные целевые продукты окисления – циклогексанон (сокращенно ЦГН – С6Н10О) и циклогексанол (сокращенно ЦГЛ – С6Н11ОН). (Однако общая доля окисленных продуктов в общем объеме реактора достаточно низка). «Чистым» ЦГ реакционный объем аппарата заполнен только в первый – начальный момент времени пуска агрегата. В остальное время, после подачи воздуха, реакционный объем содержит дифференцированную по высоте сложную реакционную смесь (PC) или реакционную жидкость (РЖ) с все увеличивающимся содержанием ЦГН и ЦГЛ. Конструктивно заданному направлению потока «сверху – вниз» от «свежего» ЦГ к реакционной жидкости с все повышающимся содержанием ЦГН и ЦГЛ способствует изменение в результате реакции основного физического свойства – удельного веса продукта. Оба окисленных продукта, ЦГН и ЦГЛ, являются более «тяжелыми», чем ЦГ. Поэтому естественно перемещение-оседание вновь образующихся ЦГН и ЦГЛ вниз с максимальным увеличением (концентрацией) окисленных продуктов в нижней части корпуса аппарата. По окончании процесса (набору оптимально установленного времени контактирования порции ЦГ с порцией воздуха в условно-дискретном представлении), с достижением нижними слоями РЖ максимального содержания ЦГН и ЦГЛ их выводят через нижний штуцер на разделение с последующим возвратом в цикл (в оборотную часть) неокисленного ЦГ и направлением на дальнейшее использование (переработку) целевых продуктов окисления. Конверсия ЦГ за проход, т.е. доля окисленных продуктов в общем потоке выходной смеси, составляет всего 5÷12%. Выделяющееся тепло реакции «снимается» подводом во встроенный внутренний змеевик охлаждающего конденсата, превращаемого в пар. Причем добавление «свежего» оборотного ЦГ осуществляется только в верхнюю входную часть реактора (специально предназначенную для подачи ЦГ). К тому же, благодаря верхней перфорированной решетке и разнице плотностей с ЦГН и ЦГЛ вводимые порции ЦГ не «падают» сразу вниз, разбавляя нижние слои уже готового оксидата, а равномерно распределяются вверху, опускаясь вниз по мере вывода (снизу) готовой смеси.
Недостатками установки-аналога являются пониженная производительность выработки оксидата и повышенное образование побочных продуктов.
Основная причина пониженной производительности выработки оксидата обусловлена односекционностью аппарата с вводом окисляющего воздуха только в одном месте (в одном поперечном сечении). Отсутствие нескольких ступеней аппаратов – или нескольких секций в одном аппарате, а соответственно (как минимум) и такого же посекционного числа вводов «свежего» воздуха, пропорционально снижает объем продукта, находящегося в активной зоне.
Активной зоной реакции окисления условно считаем определенную высоту по вертикали, отсчитываемую вверх от зоны ввода «свежего» воздуха – от барботера. Протяженность этой высоты – до границы активной зоны – определяется свободным – нестесненным образованием окисленных продуктов в поверхностных слоях «газ – жидкость» каждого всплывающего пузырька. Затем поверхностные слои воздуха каждого пузырька обедняются кислородом, а смежные слои жидкости преобразуются в прослойки – жидкие пленки окисленных продуктов. И в следующие моменты времени, за границей зоны, реакция окисления затухает. Для ее активации требуется перемещение – сбрасывание окисленных прослоек и диффузия кислорода от ядра пузырька к поверхности.
При множественных вводах воздуха по высоте одного или нескольких аппаратов объемы каждой активной зоны суммируются в один общий объем, который во столько же раз больше объема одной зоны (с единственным вводом), во столько раз больше число вводов.
Та же самая причина – отсутствие многократных – повторяющихся контактов реакционной смеси (PC) со «свежими» струями воздуха, по существу, является основной и в повышенном образовании наиболее нежелательных побочных продуктов, состоящих из тяжелокипящих смолистых веществ. Отсутствие многоконтактной – многократной суммирующейся по высоте (и объему) зоны активной реакции окисления заставляет удлинять время пребывания смеси в реакторе, сдерживая скорость вывода готового оксидата и ввода «свежего» ЦГ (для достижения требуемой концентрации ЦГН и ЦГЛ). А это увеличивает объемы смолообразования, чему также способствует продувка всей (нераздробленной на ярусы) массы реакционно-активного кислорода воздуха (подаваемого в реактор) только через нижние, уже максимально окисленные слои практически полностью готового к выведению оксидата.
Наиболее близкой по технологической сущности установкой, принятой за прототип, является установка каскадного окисления циклогексана, включающая два двухсекционных реактора барботажного типа, размещенные двумя ступенями (с образованием самотечно-переточного каскада) и предназначенные для жидкофазного окисления циклогексана при производстве капролактама, см. работу Бадриана А.С., Кокулина Ф.Г. и др., «Производство капролактама», под ред. В.И.Овчинникова и В.Р.Ручинского. М., Химия, 1977 г., стр.60÷63, рис.16. Каждая ступень каскада включает по одному барботажному реактору окисления циклогексана. Реактор (каждой ступени) – вертикальный сосуд, работающий под давлением, состоящий из двух последовательно размещенных по высоте секций – одной верхней и одной нижней. Секции разделены сплошной поперечной перегородкой. (Принципиально, каждую секцию можно рассматривать как отдельный реакционный аппарат). Каждая секция реактора включает расположенные в нижней части кольцевой распределитель подачи воздуха и штуцер вывода реакционной жидкости. В верхней части каждой секции выполнены штуцер подачи сырьевого продукта с терморегулирующим доводом циклогексана и штуцер подачи воздуха. Установки прототипа много лет эксплуатируются в цехах окисления производства капролактама ОАО «КуйбышевАзот».
Работа установок, принятых за прототип, заключается в последовательном, ступенчато-посекционном с перерывами окислении циклогексана С6Н12.
Движение окисляемого продукта от «свежего» ЦГ до реакционной жидкости с максимальным содержанием окисленных – целевых продуктов (оксидата) производится самотечным перетоком от секции обоих реакторов (из верхней секции 1-го реактора до нижней секции 2-го). Начинается процесс с верхней части первой секции первого реактора, куда подается «свежий» подогретый ЦГ, одновременно подаваемый в кольцевой распределитель воздух барботирует через реакционный объем, заполненный жидкостью. Кислород воздуха вступает в реакцию окисления (с ЦГ). Образуются окисленные – целевые продукты: циклогексанон С6Н10О (сокращенно ЦГН) и циклогексанол С6Н11ОН (сокращенно ЦГЛ). Содержание их по мере опускания порций смеси вниз (в условно дискретном представлении процесса) повышается. Длительность окисления – контакта – регулируется расходом – подачей «свежего» ЦГ. Образующаяся смесь ЦГ, ЦГН и ЦГЛ – реакционная жидкость (РЖ) самотечным перетоком переводится в следующую – верхнюю секцию второго реактора. В следующих секциях обоих реакторов процесс окисления ЦГ, содержащегося в РЖ, принципиально не отличается от описанного окисления «свежего» ЦГ в первой секции первого реактора, а поэтому условно далее не приводится. В отличие от установки аналога, «свежий» воздух контактирует с каждой (условно дискретной) порцией ЦГ или PC в четырех секциях – четыре раза, четырехкратно увеличивая объем активной зоны. Перед каждым новым контактом со «свежим» воздухом происходит гидравлическая перестройка PC – перелив по трубопроводу и наполнение другой – следующей секции. Суммарная конверсия ЦГ за проход в четырех секциях двух реакторов составляет приблизительно 4÷5% (с исходных 0,15÷0,30% в «свежем» ЦГ). Такое низкое (4÷5%) окончательное содержание окисленных продуктов в смеси принято для снижения доли образующихся тяжелокипящих – смолистых веществ, не пригодных к дальнейшей переработке и выгодной реализации.
Выделяющееся тепло реакции в каждой секции каждого реактора снимается испарением части ЦГ из РЖ. Восполнение испаренного объема ЦГ и охлаждающее (понижающее) регулирование температуры в реакционном объеме каждой отдельной секции каскада реакторов осуществляется подачей через штуцер (ввода) определенного дополнительного количества «свежего» (оборотного) ЦГ, добавляемого в линию перетока от предыдущей секции посредством подключенной к ней перемычки от трубопровода терморегулирующего довода продукта. Окончательно готовая РЖ – оксидат из последней нижней секции второго реактора выводится в нижней штуцер реактора и направляется на нейтрализацию (в технологический процесс разделения смеси – выделения целевых продуктов).
Недостатком установки, принятой за прототип, является пониженный выход готовых целевых (ЦГН и ЦГЛ) продуктов, связанный с введением дополнительных объемов «свежего» (оборотного) ЦГ в каждую секцию обоих реакторов (для снятия выделяющегося тепла окислительной реакции и регулирования температуры). По существу, введение дополнительного «свежего» (оборотного) ЦГ в любую секцию просто разбавляет РЖ по уже имеющемуся содержанию окисленных продуктов. То есть напрямую уменьшает долю (выход) окисленных продуктов из внутреннего объема каждой секции, вплоть до последней с оксидатом, выводимым на разделение (что прямо противоположно направлению реакции и цели самого производственного процесса).
Также бесспорно, что поток доводимого в разные секции (на испарение и терморегуляцию) сырьевого ЦГ, условно выделенный из общего объема ЦГ, подаваемого в процесс, не создает «планового» объема (процента) целевых продуктов, установленного для основного потока. В связи с чем с позиции результативной «химии» образования окисленных компонентов его можно условно считать «паразитным» – бесполезно циркулирующим сырьевым контуром схемы получения ЦГН (и ЦГЛ) в производстве капролактама.
Изложенные выше представления в наиболее отчетливом (рельефном) виде проявляются на примере последней – заключительной секции (второго ректора). Именно здесь особенно нецелесообразно (и нелогично) добавление сырьевого ЦГ в готовый оксидат с одновременным выводом разбавленного потока на разделение.
Целью заявляемого технического решения является гарантированное повышение производительности выработки окисленных продуктов (циклогесанона и циклогексанола).
Указанная цель достигается тем, что в известной установке каскадного окисления циклогексана, включающей каскад, по меньшей мере, из двух последовательно соединенных реакторов с трубопроводом передачи смеси, трубопровод передачи смеси дооснащен промежуточным сборником, снабженным трубопроводом перелива и арматурой регулирования расхода на выходе, сообщенным с входом второго и последующих реакторов. Рабочий объем промежуточного сборника, по меньшей мере, равен объему максимальной порции жидкости, единовременно довводимой в реактор для терморегуляции. Блок управления арматурой регулирования расхода связан с датчиком температуры смеси внутри второго реактора. Блок управления арматурой регулирования расхода связан с датчиком расхода воздуха на подаче во второй реактор. Блок управления арматурой регулирования расхода связан с реле времени. В качестве арматуры регулирования расхода принята запорная арматура с выполненным в запорном элементе проходным каналом минимальной пропускной способности. Введенный промежуточный сборник дооснащен наружными теплообменными устройствами. При дополнительном размещении на трубопроводе передачи смеси одного или нескольких отдельных теплообменников, промежуточный сборник расположен после них (по ходу потока).
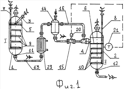
Заявляемое техническое решение поясняется Фиг.1, 2, 3, 4.
На Фиг.1 приведена схема предложенной установки в виде каскада из двух ректоров с размещенными на трубопроводе передачи промежуточным сборником и отдельным теплообменником. Блок управления арматурой регулирования расхода связан с датчиком температуры во втором реакторе.
I – первая ступень каскада;
II – вторая.
На Фиг.2 – то же, что и на Фиг.1, но без отдельного теплообменника и с блоком управления арматуры, связанным с датчиками расхода воздуха.
На Фиг.3 – представлена схема продольного вида промежуточного сборника с полутрубным наружным теплообменным устройством.
На Фиг.4 – дано схематичное изображение задвижки с выполненным проходным каналом в запорном элементе.
Предложенная установка каскадного окисления ЦГ выполнена в виде каскада, по меньшей мере, из двух: I-й и II-й ступеней с реакторами 1 и 2. Реакторы 1 и 2 снабжены штуцерами 3 и 4 ввода ЦГ («свежего» – полученного с гидрирования бензола, или оборотного – после выделения окисленных продуктов) и реакционной смеси соответственно. Подача жидкости (ЦГ или PC) в аппараты произведена на распределительные тарелки 5 и 6. Ввод воздуха во внутренний объем реакторов осуществлен по штуцерам 7 и 8, оснащенным многоярусными распределителями – барботерами воздуха 9 и 10. Для вывода реакционной смеси из аппаратов предназначены нижние штуцеры 11 и 12. Причем штуцер 11 соединен с трубопроводом 13 передачи смеси на вторую ступень каскада окисления. В трубопровод передачи 13 перед штуцером 4 реактора 2 введен промежуточный сборник 14 с арматурой регулирования расхода 15. Промежуточный сборник 14 снабжен трубопроводом перелива 16 и теплообменными устройствами 17 (показано в варианте на Фиг.3 наружными в виде полутрубного «змеевика» для охлаждения смеси). В качестве арматуры регулирования расхода 15 по варианту Фиг.4 принята задвижка с запорным элементом 18, в котором выполнен проходной – сквозной канал 19. Блок управления 20 арматурой регулирования расхода 15 связан с датчиком температуры 21 (Фиг.1) или датчиком расхода воздуха 22 (Фиг.2).
Возможно использование реле времени (не показано).
В варианте по Фиг.1 в схеме использован отдельный теплообменник 23, размещенный на трубопроводе передачи 13, перед промежуточным сборником 14.
Работа предложенной установки каскадного окисления циклогексана заключается в следующем. «Свежий» (с гидрирования бензола) или оборотный (после выделения из оксидата) ЦГ через штуцер 3 непрерывно подается на распределительную тарелку 5 реактора 1 и растекается по ней слоем определенной (квазиравновесной) толщины. Местного перемешивания верхних слоев в зоне возможного заглубления струи не происходит. В любой момент эксплуатации реактор полностью заполнен жидкостью. Чистым ЦГ реактор 1 заполнен только в первый момент времени (при пуске). В остальное время, после подачи воздуха по штуцеру 7 и барботерам 9 (при пуске предварительно подается смесь азота с кислородом), реакционный объем аппарата содержит дифференцированную по высоте сложную реакционную смесь (PC) или реакционную жидкость (РЖ), состоящую из ЦГ; ЦГН; ЦГЛ, промежуточных и побочных продуктов реакции.
Сущность процесса контактирования фаз состоит в том, что в поступающий сверху вниз поток реакционной жидкости (РЖ) с составом от «свежего»-оборотного ЦГ до РЖ, приближающейся к оксидату, вбрасываются воздушные струи (принципиальных отличий в процессе контактирования газа с жидкостью во втором и в любом последующем реакторе нет). Причем через распределители-барботеры 9 «свежий» воздух вбрасывается в одну и ту же опускающуюся порцию реакционной смеси (в условно дискретном представлении) несколько раз – по числу ярусов – барботеров 9 (и 10 – на Фиг.1, 2 их показано по четыре). Вбрасываемые струи воздуха в жидкой фазе превращаются – дробятся в цепочки воздушных микрообъемов – всплывающих пузырьков. (Поясним также, что скорость всплытия пузырьков значительно выше скорости опускания условной порции жидкости РЖ вниз, поэтому процесс относительного движения рассматривается упрощенно, как «всплытие».) В поверхностных слоях жидкости, окружающих каждый воздушный микрообъем, протекает реакция окисления. Длительность реакции, протекающей в свободной – нестесненной форме, или условная высота активной зоны реакции окисления (отсчитываемая вверх – по ходу движения – всплытия пузырьков от точек их образования – дробления) невелика. На границе этой активной зоны приповерхностные слои воздуха уже обеднены кислородом, а смежные с ними слои жидкости уже окислены, образуя поверхностные жидкие прослойки – пленки. Поэтому в следующий момент времени для активации реакции требуется замена контактных окисленных пленок на ЦГ и диффузия кислорода из ядра микрообъема к поверхности, или же вброс (впрыск) новых «свежих» струй воздуха на следующем ярусе барботеров 9 и 10. Причем вброс новых «свежих» струй воздуха является не только инициатором новых активных центров окисления, но и причиной частичной «реанимации» окислительных процессов на «старых» газовых потоках за счет сброса уже окисленных поверхностных прослоек и повторного дробления пузырьков при реализации слоевого барботажного перемешивания.
Непосредственно «химия» процесса окисления ничем не отличается от процесса в прототипе, т.е. остается неизменной и представляет собой сложный многостадийный комплекс превращений с образованием промежуточных – временно существующих продуктов реакции, который подробно описан в работе Бадриана А.С., Кокоулина Ф.Г. и др. «Производство капролактама». М., Химия, 1977 г., стр.35-40. Опустившиеся вниз реактора 1 слои реакционной смеси с максимальным для первой ступени содержанием окисленных продуктов выводятся через нижний штуцер 11 и по трубопроводу 13 попадают в промежуточный сборник 14 и далее через арматуру регулирования расхода 15 или, минуя ее, по переливной трубе 16 в реактор 2 второй ступени каскада окисления. В реакторе 2 второй ступени каскада описанные выше процессы барботажного контактирования повторяются, степень окисления – доля окисленных продуктов в PC возрастает, и через нижний штуцер 12 готовый оксидат отводится на выделение из смеси готовых продуктов (ЦГН и ЦГЛ).
Отличие в работе предложенной установки от работы прототипа состоит во введении-организации в каскаде новой схемы терморегулирующего доввода продукта, компенсирующего тепловой нагрев и испарение.
По предложенному решению в реакторе 1 (каскада окисления) компенсирующий испарение доввод «свежего» или оборотного ЦГ производится через тот же «штатный» штуцер 3 ввода ЦГ в верхнюю часть аппарата на распределительную тарелку 5 (так же, как и в первую секцию первого реактора прототипа или в одноступенчатый реактор – аналог). А вот в реактор 2 доввод компенсирующей испарение добавки производится не «свежим» или оборотным ЦГ (от трубопровода терморегулирующего доввода, как в прототипе), а реакционной смесью PC, уже первично обработанной в реакционной зоне реактора 1 и специально накопленной во введенном промежуточном сборнике 14. Объем промежуточного сборника 14 принимается из условия возможности временного накопления максимальной (по объему) порции продукта, единовременно необходимого для компенсации испарения и охлаждения. Промежуточный сборник 14 является проточно-переточным, т.е. часть продукта непрерывно обновляется, поступая через него транзитом из реактора 1 в реактор 2. Арматура регулирования расхода 15 настроена на постоянный минимально действующий проток – минимальную пропускную способность. В случае использования в качестве арматуры регулирования расхода 15, запорной арматуры с запорным элементом 18, в нем выполняется проходной сквозной канал 19, обеспечивающий непрерывный проток. Дополнительная страховка непрерывного протока осуществляется также введенной линией перелива 16 (гарантирующей межреакторный транспорт реакционной смеси для единовременной терморегуляции объема). По сигналу датчика 21 о повышении температуры внутри реактора 2 или датчика 2 подачи увеличенного объема воздуха (или просто по сигналу реле времени) срабатывает блок управления 20 регулирующей арматурой 15, и проходной канал ее полностью или частично открывается, «доливая» внутренний объем реактора 2 необходимой дополнительной порцией PC (компенсирующей реакционное испарение части ЦГ из продукта и его нагрев). В случае использования запорной арматуры Фиг.4 в этот момент задвижка открывается на полный проход, сечение которого в несколько раз превышает сечение выполненного канала 19. (И в реактор 2 вливается порция смеси, компенсирующая испарение и нагрев). Объемы вводимых в реактор 2 порций смеси могут быть уменьшены за счет снижения температуры вводимой жидкости. Для этого промежуточный сборник 14 может быть дооснащен теплообменными устройствами 17 (Фиг 3) с подачей охлаждающего агента. Если в трубопровод 13 введен, например, один дополнительный отдельный теплообменник 23 для промежуточного охлаждения смеси (Фиг.1), промежуточный сборник 14 установлен «за ним» по ходу потока.
Принципиально, рабочая схема с одним (Фиг.1) или несколькими (не показано) отдельными теплообменниками 23 может (и должна) быть отработана на режим, когда входящий поток PC во второй (и каждый последующий), реактор будет одновременно и охлаждать продукт реакционного объема и компенсировать испарение части его. Однако гарантированно поддерживать режим автокомпенсации в периоды настройки, возникновения внешних воздействий (и т.д.) без работы (использования) промежуточного сборника 14 невозможно.
Благодаря предложенному решению гарантирована повышенная производительность выработки окисленных продуктов (циклогексанона и циклогексанола) – повышено их содержание в выходном оксидате.
Указанная цель достигнута за счет исключения существовавшего в установках прототипа фактического регулировочного разбавления полуготовой и готовой реакционной смеси во второй, третьей и четвертой секциях «чистым» («свежим» или оборотным ЦГ), подаваемым в трубопроводы – перемычки при перетоке смеси из предыдущих секций. Следует подчеркнуть, что компенсация испарения части ЦГ и нагрева продукта (вызываемого выделением реакционного тепла) в любой секции прототипа осуществлялась только «чистым» ЦГ» поэтому не требовались отдельные накопители-сборники. В предложенной установке регулировочная компенсация испарения производится не добавлением «чистого» ЦГ, а добавлением специально сформированного объема – порции реакционной смеси, имеющей тот же состав, что и подаваемый на вход аппарата продукт. Цепочка – каскад реакторов может включать и четыре, и шесть аппаратов, но в каждой перемычке между ними устанавливается соответствующий промежуточный сборник, формирующий необходимую по единовременно подаваемому объему компенсационно-регулирующую порцию своей реакционной смеси.
Настроечная подача необходимого терморегулирующего – возмещающего испарение и нагрев порционного объема, сформированного в промежуточном сборнике резерва продукта, производится строго дозированно, то есть по минимально необходимой объемной границе, от сигналов соответствующих датчиков температуры жидкости, расхода воздуха или реле времени. Регулировочное дозирование по минимальной границе также способствует гарантированному повышению концентрации окисленных продуктов в реакционной смеси. При этом обеспечено постоянное обновление резервного объема путем постоянного протока реакционной жидкости. Объем протока соответствует обычному рабочему перетоку – штатной расходной производительности каскада. В предложенной установке любое введение в верхние части каскадных реакторов специально сформированных индивидуальных – резервных порций смеси для терморегулирующей компенсации испарения ЦГ (и нагрева) не производит разбавления продукта. То есть не вызывает процесса, обратного увеличению концентрации. Вводимые порции, попадая только вверх на распределительные тарелки, полностью соответствуют составу находящейся там штатной смеси. При этом из нижней части каждого реактора извлекается готовая смесь с максимальным (неразбавленным) содержанием окисленных продуктов. Тем не менее эффект терморегулирующей компенсации, реализуемой в общем реакционном объеме, являющимся единым, в любой момент времени гарантированно достигнут. Температура смеси понижена, испарившаяся часть замещена.
Сохранена высокая безопасность процесса окисления, то есть всегда «наготове» имеется порция «холодной» реакционной смеси, которая по сигналу может быть введена в каждый реактор в любой момент времени – при любом возникающем увеличении температуры в нем (свидетельствующем о нарушении управляемости окисления – «горения продукта»).
Повышение выработки окисленных продуктов всего на 7% в масштабах производства ОАО «КуйбышевАзот» позволяет в абсолютном выражении увеличить годовой объем производства капролактама более чем на 10 тысяч тонн, что является технически и экономически выгодным.
Формула изобретения
1. Установка каскадного окисления циклогексана, включающая каскад, по меньшей мере, из двух последовательно соединенных реакторов с трубопроводом передачи смеси, отличающаяся тем, что трубопровод передачи смеси дооснащен промежуточным сборником, снабженным трубопроводом перелива и арматурой регулирования расхода на выходе, сообщенным с входом второго и последующих реакторов.
2. Установка каскадного окисления циклогексана по п.1, отличающаяся тем, что рабочий объем промежуточного сборника, по меньшей мере, равен объему максимальной порции жидкости, единовременно довводимой в реактор для терморегуляции.
3. Установка каскадного окисления циклогексана по п.1, отличающаяся тем, что блок управления арматурой регулирования расхода связан с датчиком температуры смеси внутри второго реактора.
4. Установка каскадного окисления циклогексана по п.1, отличающаяся тем, что блок управления арматурой регулирования расхода связан с датчиком расхода воздуха на подаче во второй реактор.
5. Установка каскадного окисления циклогексана по п.1, отличающаяся тем, что блок управления арматурой регулирования расхода связан с реле времени.
6. Установка каскадного окисления циклогексана по п.1, отличающаяся тем, что в качестве арматуры регулирования расхода принята запорная, с выполненным в запорном элементе проходным каналом минимальной пропускной способности.
7. Установка каскадного окисления циклогексана по п.1, отличающаяся тем, что введенный промежуточный сборник дооснащен наружными теплообменными устройствами.
8. Установка каскадного окисления циклогексана по п.1, отличающаяся тем, что при дополнительном размещении на трубопроводе передачи смеси одного или нескольких отдельных теплообменников промежуточный сборник расположен после них по ходу потока.
РИСУНКИ
|
|