|
|
(21), (22) Заявка: 2006116190/04, 15.11.2004
(24) Дата начала отсчета срока действия патента:
15.11.2004
(30) Конвенционный приоритет:
18.11.2003 US 10/716,232
(43) Дата публикации заявки: 27.12.2007
(46) Опубликовано: 10.03.2010
(56) Список документов, цитированных в отчете о поиске:
HYDROCARBON PROCESSING, 2003.03 pages 70-126, HOUSTON. EP 0421701 A, 10.04.1991. US 5162595 A, 10.11.1992. US 4458096 A, 03.07.1984.
(85) Дата перевода заявки PCT на национальную фазу:
19.06.2006
(86) Заявка PCT:
US 2004/038213 20041115
(87) Публикация PCT:
WO 2005/049534 20050602
Адрес для переписки:
129090, Москва, ул. Б.Спасская, 25, стр.3, ООО “Юридическая фирма Городисский и Партнеры”, пат.пов. Е.Е.Назиной
|
(72) Автор(ы):
САМНЭ Чарльз (US)
(73) Патентообладатель(и):
ЛАММУС ТЕКНОЛОДЖИ ИНК. (US)
|
(54) ПРОИЗВОДСТВО ПРОПИЛЕНА ПРИ ПАРОФАЗНОМ КРЕКИНГЕ УГЛЕВОДОРОДОВ, В ЧАСТНОСТИ ЭТАНА
(57) Реферат:
Изобретения относится к двум вариантам способа получения пропилена из этана, один из которых включает стадии: а) парофазного крекинга этанового или главным образом этанового исходного сырья, содержащего 70% или более этана, с получением, таким образом, продукта крекинга, содержащего этилен, водород, этан, метан, ацетилен и С3 и более тяжелые углеводороды; b) переработки упомянутого продукта крекинга в секции извлечения этиленовой установки, в том числе удаления из него упомянутых водорода, метана и С3 и более тяжелых углеводородов и превращения присутствующего в нем упомянутого ацетилена главным образом в этилен с получением, таким образом, подвергнутого переработке продукта крекинга, содержащего главным образом этилен и этан, и в том числе фракционирования упомянутого подвергнутого переработке продукта крекинга в С2 фракционирующей колонне и получения этиленовой фракции, состоящей из химического этилена, характеризующейся уровнем содержания этилена, меньшим 99% (об.), и этановой фракции в виде кубового остатка; с) отправления упомянутой этановой фракции в виде кубового остатка на рецикл на упомянутый парофазный крекинг; d) проведения реакции по механизму димеризации в секции димеризации для первой части упомянутой этиленовой фракции с получением, таким образом, потока, обогащенного бутеном; е) проведения реакции по механизму метатезиса в секции метатезиса между бутеном в упомянутом потоке, обогащенном бутеном, и второй частью упомянутой этиленовой фракции с получением, таким образом, потока, обогащенного пропиленом, содержащего пропилен, этилен и этан; f) отделения пропилена от упомянутого этилена и этана в упомянутом потоке, обогащенном пропиленом, и g) отправления, по меньшей мере, части упомянутых этилена и этана из упомянутого потока, обогащенного пропиленом, на рецикл в упомянутую C2 фракционирующую установку. Кроме того, изобретение относится к способу получения пропилена из углеводородного сырья. Применение предлагаемых способов позволяет улучшить и сделать более рентабельным способ получения пропилена из углеводородного исходного сырья. 3 н. и 36 з.п. ф-лы, 6 ил.
Настоящее изобретение относится к способу получения пропилена из потока углеводородного исходного сырья, включающему проведение парофазного крекинга углеводорода, а после этого переработку этилена, который будет получен, с получением пропилена. Изобретение является в особенности подходящим для использования в случае потока исходного сырья, которое целиком или главным образом представляет собой этан.
Значение пропилена все время увеличивается, и в настоящее время он занимает второе по важности место по объему получения в нефтехимической промышленности в мире. Пропилен характеризуется наличием широкого ассортимента сфер последующего применения, таких как полипропилен и пропиленоксид, и, как предполагается, потребности в нем будут возрастать при темпах в диапазоне от 5% до 6% каждый год. Поэтому на рынке нефтехимической продукции большой интерес представляют новые малозатратные способы получения пропилена. В настоящее время основную часть пропилена производят либо в виде основного побочного продукта в установках парофазного крекинга, которые главным образом производят этилен, либо в качестве побочного продукта из установок каталитического крекинга со взвешенным катализатором, которые главным образом производят бензин. Как для установки парофазного крекинга, так и для установки каталитического крекинга со взвешенным катализатором при получении значительных количеств продукта пропилена в качестве исходного сырья требуется лигроин, хотя меньшие количества пропилена можно получить и при подаче в установку парофазного крекинга пропана или бутана. В то время как потребность в бензине остается значительной, потребность в этилене предположительно будет расти при годовых темпах роста в диапазоне только от 3% до 4%, что ниже темпов роста для пропилена. В дополнение к этому, много новых мощностей по проведению парофазного крекинга в качестве основы своего исходного сырья будут использовать этан. Использование этана в качестве исходного сырья для установки парофазного крекинга обычно приводит к получению только этилена в качестве конечного продукта. Несмотря на присутствие углеводородов, более тяжелых в сопоставлении с этиленом, обычно количества являются чрезмерно низкими с точки зрения гарантированного извлечения, а пропилена по существу не образуется. Данные два фактора – повышенные темпы роста потребности в продукте пропилене и пониженное количество пропилена, попутно получаемого из новых установок парофазного крекинга, – проявляются и будут проявляться в нехватке поставок пропилена и в повышенных стоимостях продукта пропилена (HYDROCARBON PROCESSING, March 2003, стр.70-126, Houston).
Основная причина того, почему много новых установок парофазного крекинга используют в качестве исходного сырья этан, обусловливается тем, что этан является попутным продуктом при добыче природного газа, и его ценность в сферах применения, отличных от применения в качестве исходного сырья для установки парофазного крекинга, является ограниченной. Поскольку потребность в природном газе и объемы его добычи возрастают, что обусловливается его подачей для удовлетворения потребностей электростанций и отопления зданий, доступность этана возрастает до уровня, превышающего региональную потребность в нем. Поскольку этан нельзя простым либо рентабельным образом транспортировать, важное значение приобретают региональные потребности в нем, и там, где его доступность превышает региональные потребности в нем, его цена уменьшается. Во многих регионах затраты на этановое исходное сырье составляют от 25% до 50% затрат на другие типы исходного сырья для установок парофазного крекинга, такие как пропан, бутан или лигроин. Это создает большие преимущества для получения этилена при использовании малоценного этанового исходного сырья. В дополнение к этому, в случае установки парофазного крекинга, использующей этановое исходное сырье, затраты энергии и капиталовложения будут намного ниже в сопоставлении с затратами в случае использования в качестве исходного сырья пропана, бутана или лигроина.
Одна коммерческая операция, действительно, позволяет получить пропилен для полимеризации в результате получения бутана из этилена для полимеризации в димеризационной установке, а после этого использования полученного бутена для проведения реакции с другой порцией этилена для полимеризации с получением в установке метатезиса пропилена для полимеризации. Однако в данной операции используют жидкое исходное сырье, которое подвергают крекингу с получением как этилена, так и пропилена, при этом получение пропилена только дополняется превращением этилена для полимеризации в пропилен. Данная операция не включает крекинг свежего этанового исходного сырья с получением этилена, а после этого использование этилена в реакциях метатезиса и димеризации как единственного источника получения пропилена. Возможность получения пропилена при использовании этанового исходного сырья в настоящее время на практике в коммерческих масштабах не реализована.
Способность обеспечивать эффективное получение пропилена при использовании этанового или главным образом этанового исходного сырья будет позволять добиваться значительного уменьшения затрат на исходное сырье, расхода энергии и требуемых капиталовложений точно так же, как это имеет место при получении этилена. Создание способа получения пропилена из этанового исходного сырья будет также обеспечивать и лучшее использование доступного этанового исходного сырья. Как уже упоминалось выше, единственный современный способ использования этана, попутно получаемого при добыче природного газа, заключается в его использовании в качестве исходного сырья при получении этилена, что придает остроту проблемам избыточности поставок продукта этилена и влияния, которое будет оказываться на ценообразование для этилена и потребность в нем. Таким образом, некоторые производители не используют все доступное количество этана. Создание способа получения пропилена из этанового исходного сырья будет способствовать обеспечению высокой степени использования этана во всех регионах.
Краткое изложение изобретения
Цель настоящего изобретения заключается в создании улучшенного, более рентабельного способа получения пропилена из углеводородного исходного сырья. Изобретение в своей наиболее широкой форме включает парофазный крекинг углеводородного исходного сырья в целях получения этиленсодержащего потока, который подвергают переработке в секции извлечения этиленовой установки, включающей С2 фракционирующую колонну, с получением этилена для полимеризации и/или химического этилена и этана, отправляемого на рецикл. После этого этилен вводят в реакцию метатезиса с бутеном для получения продукта пропилена. В одном варианте реализации изобретения, когда углеводородное исходное сырье представляет собой нечто, отличное от чистого этана или главным образом этана, химический этилен подвергают переработке по механизму метатезиса с получением пропилена, а продувочные газы со стадии метатезиса подвергают переработке в секции извлечения этиленовой установки, предпочтительно в С2 фракционирующей колонне.
В еще одном варианте реализации изобретения углеводородное исходное сырье является либо чистым этаном, либо главным образом этаном. В данном варианте реализации часть этилена из С2 фракционирующей колонны подвергают переработке по механизму димеризации с получением бутена, а другую часть этилена вводят в реакцию по механизму метатезиса с данным бутеном с получением продукта пропилена. Все секции, выбираемые из секции извлечения этиленовой установки, секции димеризации и секции метатезиса, объединены для проведения переработки продувочных и других технологических потоков.
Фиг.1 представляет собой принципиальную схему технологического процесса, демонстрирующую обычно используемый способ предшествующего уровня техники, включающий парофазный крекинг этана с получением продукта этилена.
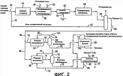
Фиг.2 представляет собой принципиальную схему технологического процесса, иллюстрирующую один вариант реализации настоящего изобретения, включающий парофазный крекинг этана с получением продукта пропилена.
Фиг.3 представляет собой принципиальную схему технологического процесса, подобную фигуре 2, но иллюстрирующую модификацию способа.
Фиг.4 представляет собой принципиальную схему технологического процесса, иллюстрирующую дополнительную модификацию изобретения.
Фиг.5 представляет собой принципиальную схему технологического процесса, подобную фигуре 3, но исключающую использование секции димеризации.
Фиг.6 представляет собой принципиальную схему технологического процесса, подобную фигуре 4, но исключающую использование секции димеризации.
Получение этилена из этанового исходного сырья в установке парофазного крекинга практикуется в широких масштабах (HYDROCARBON PROCESSING, March 2003, стр.70-126, Houston). Фиг.1 иллюстрирует такой обычно используемый способ с участием установки парофазного крекинга при использовании этана в качестве единственного исходного сырья. Исходное сырье в виде свежего этана 10, обычно получаемое в результате выделения из природного газа, и поток этана, отправляемого на рецикл, 12 подают в крекинг-печь 14, где в присутствии водяного пара этан нагревают, что в результате приводит к образованию этилена и водорода в качестве основных продуктов и образованию метана, С3 и более тяжелых углеводородов в качестве вторичных продуктов. Одноразовая конверсия этана варьируется в диапазоне от 50 до 80%, при этом большинство коммерческих установок функционируют в области конверсии 60-75%. Поток продуктов из установки парофазного крекинга после этого подвергают переработке в секции извлечения этиленовой установки, где его сначала охлаждают в позиции 16. а после этого подвергают сжатию в позиции 18. В позиции 20 подвергнутый сжатию поток затем замораживают для отделения углеводородных конденсатов от легких газов 22, таких как водород и СО, а углеводородные конденсаты подвергают деметанизации для отделения метана 24. Кубовый остаток из колонны деметанизации 26 перетекает в колонну деэтанизации 28, где С3 и более тяжелые углеводороды отделяют в кубовом остатке 30, а углеводороды С2 извлекают в виде дистиллята 32. Дистиллят из колонны деэтанизации 32 после этого подвергают селективному гидрированию в позиции 34 для превращения ацетилена в этилен, после чего смесь C2 перетекает в С2 фракционирующую колонну 36. В С2 фракционирующей колонне 36 этилен для полимеризации обычно отбирают в виде дистиллятного продукта 38, а в виде кубового продукта отбирают поток, обогащенный этаном, 12. Кубовый продукт, обогащенный этаном, 12 отправляют на рецикл обратно в крекинг-печь 14. Этилен для полимеризации можно отбирать в виде прямого дистиллятного продукта или в альтернативном варианте его можно отбирать в виде бокового продукта на несколько тарелок разделения ниже верха фракционирующей колонны, при этом верхние тарелки в данном случае функционируют в качестве секции пастеризации, обеспечивающей концентрирование легких газов, таких как водород и метан, в небольшом потоке отходящего газа, отбираемого из верха колонны.
В большинстве из данных установок крекинга этана предшествующего уровня техники С3 и более тяжелые углеводороды не извлекают в качестве химических продуктов, а вместо этого используют в качестве топливных продуктов. Это обусловливается тем, что количество данных соединений в случае установки крекинга чистого этана является небольшим. В очень большой установке крекинга этана или в установке крекинга этана, где происходит также крекинг и пропана, извлечение пропилена, а, может быть, также и других более тяжелых продуктов с целью использования в химии могло бы оказаться рентабельным. Но обычно извлеченные не являющиеся топливом продукты, более тяжелые в сравнении с этиленом, образуются все-таки в небольших количествах.
В одном варианте реализации настоящего изобретения установка парофазного крекинга этана или главным образом этана (определяемого через содержание 70% или более этана) проектируют для получения этилена. Этилен извлекают и некоторую часть димеризуют с образованием бутена. После этого полученный бутен вводят в реакцию с дополнительным количеством этилена, извлеченного из установки парофазного крекинга, с получением пропилена. Таким образом, комплекс на основе установки крекинга этана может обеспечить получение как продукта этилена, так и продукта пропилена. В контексте всех имеющихся принципиальных схем технологического процесса для улучшения показателей рентабельности возможны несколько вариантов объединения процессов.
Фиг.2 иллюстрирует первый вариант реализации изобретения, где исходное сырье в виде свежего этана или главным образом этана 40 и поток этана, отправляемого на рецикл, 42 подвергают крекингу, охлаждению и сжатию в позиции 44. Подвергнутый сжатию поток, содержащий этилен, водород, метан и С3 и более тяжелые углеводороды, точно так же, как и на предшествующем уровне техники, проиллюстрированном на фиг.1, после этого замораживают и подвергают деметанизации в позиции 46, удаляя легкие газы 48 и метан 50. Кубовый остаток из колонны деметанизации после этого подвергают деэтанизации в позиции 52, где отделяют С3 и более тяжелые углеводороды 54. Дистиллят из колонны деэтанизации после этого подвергают селективному гидрированию в позиции 56 для превращения ацетилена главным образом в этилен. Затем смесь С2 подвергают фракционированию в позиции 58 для отделения этана, отправляемого на рецикл, 42 и продукта этилена 60. Несмотря на то, что это не показано, С2 фракционирующая колонна 58 будет включать обычный подогреватель и шлемовый конденсатор и сепаратор для получения флегмы. Колонну деметанизации 46, колонну деэтанизации 52 и C2 фракционирующую колонну 58 называют секцией извлечения этиленовой установки. В качестве опции для данной секции извлечения этиленовой установки сначала можно расположить колонну деэтанизации, за ней будет следовать установка гидрирования ацетилена, а после этого будет идти колонна деметанизации. Кубовой остаток из колонны деметанизации после этого будет перетекать в С2 фракционирующую колонну 58. Продукт этилен 60 затем разделяют на часть 62, отправляемую на реакцию димеризации 64, и на другую часть 66, отправляемую на реакцию метатезиса 68.
Возможность получения пропилена в результате проведения реакции между бутеном и этиленом представляет собой то, что в промышленности известно несмотря на отсутствие широкой распространенности реализации на практике в коммерческих масштабах. Данный маршрут реализации способа использует механизм реакции, называемый метатезисом олефинов. Свежий этилен 66 и этилен, отправляемый на рецикл, 70 и бутены 72 с описанной далее стадии реакции димеризации 64 перетекают в реактор метатезиса 68, где они вступают в реакцию с образованием равновесной смеси пропилена, этилена и бутенов, а также небольших количеств С5 и более тяжелых олефинов. Степень превращения этилена обычно составляет величину, меньшую 50% за один проход. Реакция метатезиса, в том числе температуры, давления и катализаторы, хорошо известна на современном уровне техники. Поток продуктов из реактора 74 перетекает в колонну деэтанизации 75, где C2 отбирают в виде дистиллята в позиции 76, а С3 и более тяжелые углеводороды присутствуют в кубовом продукте. Основная часть C2 образует поток, отправляемый на рецикл, 70 обратно в реактор 68. В порядке продувки отбирается небольшой поток 80 для ограничения образования инертных компонентов, главным образом этана. Кубовый остаток из колонны деэтанизации 78 перетекает в колонну депропанизации 82, где происходит отгонка в виде дистиллята в позиции 84 конечного пропилена для полимеризации. Обычно отбирают два кубовых продукта. Один представляет собой боковой поток 86, содержащий главным образом бутены, которые отправляют на рецикл обратно в реактор метатезиса 68. Поток кубового остатка 87 также отбирают в порядке продувки для ограничения образования инертных компонентов, главным образом н-бутана, а также для отбрасывания С5 и более тяжелых продуктов, образованных в реакторе.
В промышленности также известна и возможность получения бутена, либо бутена-1, либо бутена-2, в результате проведения реакции этилена с самим собой, что называют димеризацией. Димеризацию этилена с предпочтительным получением бутена-2 реализуют на практике в коммерческих масштабах и используют в настоящем изобретении в качестве источника исходного сырья для метатезиса. Бутен-2 в присутствии катализатора вводят в реакцию с этиленом с получением пропилена. Степень превращения этилена составляет величину, меньшую 100%, а обычно равную приблизительно 80% или более. Поток продуктов 90 из реактора димеризации 64 перетекает в колонну деэтанизации 92, где не вступивший в реакцию этилен и этан в дистилляте 94 отделяют от бутена в кубовом остатке 96. Дистиллят 94 главным образом отправляют на рецикл в позиции 98 обратно в реактор 64 и отбирают небольшой поток в порядке продувки 100, опять-таки в порядке контроля образования инертных компонентов, главным образом этана. Кубовый остаток из колонны деэтанизации 96 перетекает на стадию отделения бутена 88, где отбирают продукт бутен 72 и поток, отбираемый в порядке продувки, 102. После этого продукт 72 поступает на стадию реакции метатезиса 68 для получения пропилена. Отбираемые в порядке продувки потоки 80 и 100 из колонн деэтанизации 75 и 92 можно отправить на рецикл обратно в секцию извлечения этиленовой установки, то есть обратно в колонну деметанизации 46 или колонну деэтанизации 52 или предпочтительно в С2 фракционирующую колонну 58. В альтернативном варианте их можно отправить на рецикл обратно в компрессор загрузки газа, хотя это и менее предпочтительно.
Фиг.3 иллюстрирует еще один вариант реализации изобретения, в котором для димеризации и метатезиса используют характеризующийся меньшей степенью чистоты химический этилен. Этилен для полимеризации характеризуется степенью чистоты, обычно превышающей 99%, типично 99,5% плюс, или более часто 99,9% плюс, в то время как данный вариант реализации изобретения использует химический этилен, степень чистоты в котором составляет величину, меньшую 99%, а обычно находящуюся в диапазоне от 90 до 95%, при этом остаток по существу составляет этан. Продукт химический этилен 60 в данном случае отбирают в виде бокового потока с нижней тарелки С2 фракционирующей колонны 58. В качестве источника этилена для получения полимера также можно отбирать и поток этилена для полимеризации 61.
Преимущество от использования этилена, характеризующегося меньшей степенью чистоты, заключается в уменьшении капиталовложений и эксплуатационных расходов, связанных с комплексом этиленовой установки. Разделение этилена и этана требует значительных капиталовложений и расхода энергии. Более рентабельными были бы получение продукта химического этилена, характеризующегося меньшей степенью чистоты, а после этого превращение некоторого количества из данного имеющегося в наличии этилена в бутены в секции димеризации и в пропилен в секции метатезиса. Затем получающуюся в результате смесь этилен-этан подвергают очистке до достижения степени чистоты химического этилена.
В данном варианте реализации с фиг.3 имеет место объединение секций димеризации, метатезиса и этиленовой установки. Характеризующийся меньшей степенью чистоты химический этилен используют как в реакции димеризации, так и в реакции метатезиса. Не вступивший в реакцию этилен и имеющийся в наличии этан с обеих данных реакций отправляют на рецикл, непосредственно или опосредованно, обратно в секцию извлечения этиленовой установки, предпочтительно обратно в С2 фракционирующую колонну или менее предпочтительно в колонну деэтанизации или колонну деметанизации.
Продукт бутен 90, поступающий с реакции димеризации 64 и содержащий не вступивший в реакцию этилен и имеющийся в наличии этан, подают непосредственно на стадию отделения бутена 88, а не в колонну деэтанизации, как на фиг.2. Не вступившие в реакцию С2 извлекают в виде верхнего продукта сепаратора бутена в результате проведения совместной абсорбции в свежих и отправляемых на рецикл С4 с подачей в реактор метатезиса, что устраняет необходимость использования колонны деэтанизации 92, как на фиг.2. Колонна депропанизации 82 будет обеспечивать получение продукта пропилена 84, как на фиг.2, и одного кубового продукта 86. Кубовый продукт из колонны депропанизации 82, содержащий в основном бутены, а также другие бутановые и более тяжелые углеводороды, после этого подают на стадию отделения бутена 88. Отбираемый в порядке продувки поток 102 удаляют и комбинированный продукт бутен 72 подают на стадию реакции метатезиса 68. Пропиленсодержащий поток продуктов реакции метатезиса 74 перетекает в колонну деэтанизации 75, где C2, остающиеся как после реакции димеризации, так и после реакции метатезиса, удаляют в виде дистиллята 76. Дистиллят охлаждают и частично конденсируют в позиции 104 и в позиции 106 разделяют с получением флегмы 108.
Получающийся в результате дистиллят 110 предпочтительно возвращают в С2 фракционирующую колонну 58. Получающийся в результате дистиллят 110 поступает в С2 фракционирующую колонну 58 на той тарелке, которая необязательно является той же самой, что и тарелка для исходного сырья от установки парофазного крекинга, что позволяет сделать эксплуатацию данной колонны более эффективной. Поток этилена, отправляемый на рецикл обратно в реактор, после этого имеет ту же самую степень чистоты, что и продукт химический этилен. Никакого образования этана не происходило, что приводило к более высокому парциальному давлению этилена в реакторах при постоянном рабочем давлении в реакторе. Не требовалось никакой независимой продувки для удаления инертных компонентов из контуров реакторов. Вместо этого, инертные компоненты в порядке продувки отводят в виде по существу чистого этана из куба C2 фракционирующей колонны, ограничивая потери этилена. Использование данной характеристики способа могло также привести в результате к получению меньшего рабочего давления реактора метатезиса. Флегмовое число и подвод тепла к отгонной секции для колонны деэтанизации 75 уменьшают, если C2 сепарирующую колонну можно эксплуатировать при меньшем давлении. Требуется охлаждение, но это может обеспечить система охлаждения, присутствующая в этиленовой установке в отдельном шлемовом конденсаторе, при подходящем уровне давления в колонне и температуры охлаждения.
В альтернативном варианте, в особенности в случае использования химического этилена, колонну деэтанизации 75 можно полностью объединить с этиленовой фракционирующей колонной 58 и проводить эксплуатацию при том же самом давлении. Не требуется никаких отдельных конденсатора, барабана-сепаратора или флегмовых насосов. Это продемонстрировано на фиг.4, которая отображает полное объединение, а не частичное объединение, представленное на фиг.3. В данной концепции колонна деэтанизации в модуле метатезиса не имеет системы, формирующей из дистиллята флегму. Вместо этого весь дистиллят из системы данной колонны непосредственно перетекает в С2 фракционирующую колонну. Продукт химический этилен из С2 фракционирующей колонны после этого образует как поток свежего исходного сырья, так и поток, отправляемый на рецикл в реакторы метатезиса, а также образует флегму для отделения потока С2 от потока более тяжелых компонентов в колонне деэтанизации секции метатезиса. Очевидно, что в сопоставлении с фиг.3 для технологической схемы фиг.4 будет требоваться меньшее количество единиц технологического оборудования. Совокупное потребление энергии и совокупные размеры капиталовложений для двух технологических схем будут зависеть от специфических характеристик способа, реализуемого на практике при конкретном техническом исполнении. Однако обе технологические схемы представляют собой очевидное усовершенствование в сопоставлении с предшествующим уровнем техники, где используют этилен для полимеризации и где отсутствует непосредственное объединение с этиленовой фракционирующей колонной. В установках метатезиса предшествующего уровня техники колонна деэтанизации функционировала приблизительно при 400 фунт/дюйм2 при охлаждении дистиллята, которое обеспечивала система пропиленового охлаждения, при этом обычные рабочие условия выдерживали на уровне приблизительно от -20°F до +10°F. В варианте реализации изобретения фиг.4 данная колонна деэтанизации 75 может функционировать при том же самом давлении, что и C2 фракционирующая колонна 58. Пар совокупного дистиллята 76 перетекает в С2 фракционирующую колонну. Флегма 112, подаваемая в колонну деэтанизации, представляет собой часть совокупного химического этилена 60 из С2 фракционирующей колонны.
Основные коммерческие рынки для данного объединенного способа, как представляется, относятся к сфере парофазного крекинга этана с получением продуктов в виде этилена для полимеризации и пропилена для полимеризации. Однако объединение этиленовой фракционирующей колонны и установок метатезиса может быть применено для олефиновых установок вне зависимости от используемого исходного сырья. Предлагаются две концепции объединения установки парофазного крекинга, секции извлечения этиленовой установки и колонн деэтанизации секций димеризации и метатезиса, и обе данные концепции изобретения могут быть применены к объединению этиленовых установок и установок метатезиса при каком бы то ни было исходном сырье для установки парофазного крекинга и какой бы то ни было технологической конфигурации установки парофазного крекинга.
Если в существенной мере будет протекать крекинг пропана и более тяжелых компонентов, то тогда станет возможной и в коммерческих масштабах будет реализована на практике установка колонны депропанизации в качестве первой колонны удаления углеводородов. Зачастую при использовании данной технологической конфигурации в верхней части колонны депропанизации размещают модуль гидрирования ацетилена. После этого дистиллят колонны депропанизации будет перетекать либо в колонну деметанизации, либо в колонну деэтанизации. Если вторая колонна удаления углеводородов будет представлять собой колонну деметанизации, то тогда кубовый остаток деметанизации будет перетекать в колонну деэтанизации, а дистиллят колонны деэтанизации будет перетекать в С2 фракционирующую колонну. Концепции настоящего изобретения также будут применимы и к данной технологической конфигурации. Подобным же образом дистиллят колонны депропанизации может перетекать в колонну деэтанизации, после этого дистиллят колонны деэтанизации может перетекать в колонну деметанизации. После этого кубовый остаток колонны деметанизации будет перетекать в С2 фракционирующую колонну. Концепции настоящего изобретения также будут применимы и к данной технологической конфигурации.
Изобретение в вариантах либо частичного, либо полного объединения делает возможной эксплуатацию модулей димеризации и метатезиса при относительно высокой концентрации этилена в своих контурах реакции при одновременном получении только этилена, характеризующегося степенью чистоты химического этилена, а не этилена, характеризующегося степенью чистоты этилена для полимеризации. В варианте полного объединения оно также делает возможным проведение деэтанизации в установке метатезиса при намного меньшем давлении и потенциально при меньшем количестве единиц оборудования. На участке метатезиса данная деэтанизация при меньшем давлении, кроме того, делает возможным протекание при меньшем давлении самой реакции метатезиса, что позволяет уменьшить стоимость оборудования.
В изобретении, представленном на фиг.3 и 4, никакого непосредственного отправления на рецикл из колонны деэтанизации 75 в секции метатезиса в реактор метатезиса 68 не практикуется. Не вступивший в реакцию этилен подвергают переработке в этиленовой фракционирующей колонне этиленовой установки 58, а химический этилен отправляют на рецикл в реакторы. На практике, в случае варианта реализации фиг.3 некоторое количество из не вступившего в реакцию этилена, извлеченного из верхней части колонны деэтанизации установки метатезиса 75, можно отправлять в реакторы метатезиса и димеризации, а остальное количество отправляемого на рецикл этилена отправить на переработку в С2 фракционирующей колонне 58.
Чертежи демонстрируют этиленовую фракционирующую колонну 58, которая будет иметь секцию пастеризации, расположенную выше секции основной ректификации, а все продукты будут получать в виде боковых потоков. Вместо секции пастеризации для разделения легких компонентов также можно использовать вторую колонну деметанизации. В данной операции дистиллят этиленовой фракционирующей колонны в виде жидкости перетекает во вторую колонну деметанизации, которой обычно является отгонная колонна. Легкие газы плюс ассоциированный этилен отбирают из верха колонны, а кубовый остаток представляет собой продукт этилен для полимеризации. Дистиллят можно отправлять на рецикл обратно в колонну деметанизации низкого давления для извлечения С2 или в альтернативном варианте в компрессор загрузки газа этиленовой установки.
В установке с передней колонной деэтанизации или передней колонной депропанизации может не потребоваться ни секция пастеризации, ни вторичная колонна деметанизации. Однако концепции частичного или полного объединения С2 фракционирующей колонны и секций димеризации и метатезиса все еще будут применяться. Таким образом, изобретение при незначительных изменениях деталей будет применимо вне зависимости от того, какой могла бы быть принципиальная схема технологического процесса, и оно также будет применимо вне зависимости от того, какое исходное сырье для крекинга могло бы быть использовано.
Комбинация технологических стадий настоящего изобретения образует уникальный способ получения пропилена из этанового или главным образом этанового исходного сырья. Данный способ является намного менее затратным способом получения пропилена (1) вследствие использования этанового исходного сырья, менее дорогостоящего в сопоставлении с пропановым, бутановым, лигроиновым или газойлевым исходным сырьем, используемым в установках парофазного крекинга, или с тяжелым нефтяным исходным сырьем, используемым в установках каталитического крекинга со взвешенным катализатором; (2) вследствие того, что в данном случае потребляется меньше энергии в сопоставлении с получением пропилена из установок парофазного крекинга; и (3) вследствие того, что при данном получении пропилена для полимеризации требуется меньше капиталовложений в сопоставлении либо с установками парофазного крекинга, функционирующими при использовании тяжелого исходного сырья, либо с установками каталитического крекинга со взвешенным катализатором. Он также в меньшей степени приводит к образованию газообразных выбросов, обусловливающих возникновение парникового эффекта, и поэтому это более рациональный способ с точки зрения экологии.
Использование химического этилена из установки парофазного крекинга и использование метатезиса и димеризации обсуждались выше. Данные концепции также будут применимы и к установкам парофазного крекинга, функционирующим при использовании любого углеводородного исходного сырья. Например, увеличения количества полученного пропилена можно добиться при использовании как димеризации, так и метатезиса в случае смешанного этан/пропанового исходного сырья, содержащего менее 70% этана, или даже пропанового исходного сырья. В случае бутанового и более тяжелого углеводородного исходного сырья, подаваемого в установку парофазного крекинга, и в случае большинства установок парофазного крекинга, которые используют пропановое исходное сырье, экономические соображения обосновывают предпочтительность использования являющихся побочными продуктами крекинга C4 в качестве источника бутенов для метатезиса. Таким образом, в случае данных установок секция димеризации этилена требоваться не будет. Будут необходимы только установка парофазного крекинга вместе с секцией извлечения этиленовой установки и секцией метатезиса. Извлечение бутена из подвергнутых крекингу потоков C4 и с других технологических стадий, подходящих для получения бутена, пригодного для использования в качестве источника бутена для метатезиса, хорошо известно специалистам в соответствующей области. Однако стадии объединения, описанные на фиг.3 и 4, являются новыми и их также можно использовать для данной конфигурации установки.
Фиг.5 отображает концепции объединения, представленные на фиг.3, для случая использования в установке парофазного крекинга, включающей секцию метатезиса, в целях увеличения количества полученного пропилена. Исходным сырьем, подаваемым в установку парофазного крекинга, может быть любой углеводород в диапазоне от этана до вакуумного газойля. Этиленовая фракционирующая колонна 58 позволяет получать продукт со степенью чистоты для полимеризации 61 и продукт со степенью чистоты химического продукта 60. Продукт со степенью чистоты химического продукта перетекает в секцию реакции метатезиса 68 вместе со свежим бутеновым исходным сырьем 63 и потоком бутенов, отправляемых на рецикл, 86. Источник 65 потока свежего бутена 63 может быть образован ненасыщенными С4, присутствующими в потоке 54, и/или потенциально другими ненасыщенными С4, такими как потоки отходящих газов с нефтеперерабатывающих заводов или потоки с каталитического дегидрирования. Поток 74 выходит из секции реакции метатезиса 68, и он состоит из равновесной или близкой к равновесной смеси пропилена, этилена и бутенов, включающей главным образом парафиновые инертные компоненты и небольшое количество С5 и более тяжелых компонентов. Данный поток после этого перетекает в колонну деэтанизации и подвергается переработке, описанной для конфигурации на фиг.3. Получающийся в результате дистиллят 40 возвращают обратно в этиленовую фракционирующую колонну 58 в системе извлечения этиленовой установки. Никакого отдельного отправления этилена на рецикл в секцию реакции метатезиса 68, указанного в виде потока 70 на фиг.2, на практике обычно не реализуют. Вместо этого для потока этилена однократно проводят реакцию метатезиса. Кубовый остаток из колоны деэтанизации 78 перетекает в колонну депропанизации 82. Пропилен для полимеризации отбирают в виде потока 84, и при его объединении с пропиленом, извлеченным из потока 54, с очевидностью будет иметь место увеличение совокупного количества пропилена, полученного в установке. Отправляемые на рецикл C4 удаляют в виде бокового потока 86 поблизости от нижней части фракционирующей секции колонны депропанизации и отправляют в секцию метатезиса 68, как описывалось ранее. Поток 87 в порядке продувки отбирают из нижней части колонны депропанизации для удаления C5 и более тяжелых компонентов и для ограничения нарастания концентрации бутана.
Преимущество концепции объединения заключается в уменьшении эксплуатационных расходов и капиталовложений для установки в целом в сопоставлении с использованием в качестве исходного сырья для секции метатезиса этилена для полимеризации. Получение химического этилена в сопоставлении с получением этилена для полимеризации требует меньших капиталовложений и является более эффективным. Однако в случае химического этилена в секции метатезиса может происходить увеличение концентрации этана, если производить отправление на рецикл непосредственно из колонны деэтанизации обратно в секцию реакции метатезиса. Данное объединение делает возможным использование химического этилена при одновременном предотвращении возрастания концентрации этана.
Подобным же образом фиг.6 отображает концепции объединения, представленные на фиг.4, для случая использования в системе, включающей только секцию метатезиса, в целях увеличения количества полученного пропилена. Свежее исходное сырье 40, подаваемое в секцию крекинга, может представлять собой любое исходное сырье, обычно используемое для установки парофазного крекинга, в диапазоне от этана до вакуумного газойля. Технологические стадии в секции извлечения этиленовой установки вплоть до этиленовой фракционирующей колонны представляют собой то, что было описано ранее и в общем случае известно специалистам в соответствующей области. Этиленовая фракционирующая установка 58 производит поток химического этилена 60, который перетекает в секцию реакции метатезиса 68. Здесь еще раз его объединяют со свежим бутеновым исходным сырьем 63 и потоком бутена, отправляемым на рецикл, 86. После выхода из реактора метатезиса поток 74 перетекает в колонну деэтанизации 75, где С2 отбирают в качестве дистиллята в виде потока 76. Данный поток перетекает непосредственно в С2 фракционирующую колонну 58. Колонна деэтанизации не имеет шлемового конденсатора. Вместо этого поток 112, отбираемый из потока бокового погона, образуемого химическим этиленом, 60 из C2 фракционирующей колонны 58, обеспечивает подачу флегмы в колонну деэтанизации 75. Поток кубового остатка колонны деэтанизации 78 перетекает в колонну депропанизации 82, а последующая переработка подобна той, что представлена на фиг.5.
Преимущество данной технологической схемы заключаются в меньших капиталовложениях и меньших эксплуатационных расходах для установки в целом в сопоставлении с использованием этилена для полимеризации для подачи в качестве исходного сырья в установку метатезиса. Экономия касается необходимых единиц оборудования в сопоставлении со схемой фиг.5, где также используют химический этилен, и капиталовложения для данной схемы должны быть ниже, чем в случае схемы фиг.5.
Формула изобретения
1. Способ получения пропилена из этана, включающий стадии: а. парофазного крекинга этанового или главным образом этанового исходного сырья, содержащего 70% или более этана, с получением, таким образом, продукта крекинга, содержащего этилен, водород, этан, метан, ацетилен и С3 и более тяжелые углеводороды; b. переработки упомянутого продукта крекинга в секции извлечения этиленовой установки, в том числе удаления из него упомянутых водорода, метана и С3 и более тяжелых углеводородов и превращения присутствующего в нем упомянутого ацетилена главным образом в этилен с получением, таким образом, подвергнутого переработке продукта крекинга, содержащего главным образом этилен и этан, и в том числе фракционирования упомянутого подвергнутого переработке продукта крекинга в C2 фракционирующей колонне и получения этиленовой фракции, состоящей из химического этилена, характеризующейся уровнем содержания этилена, меньшим 99 об.%, и этановой фракции в виде кубового остатка; с. отправления упомянутой этановой фракции в виде кубового остатка на рецикл на упомянутый парофазный крекинг; d. проведения реакции по механизму димеризации в секции димеризации для первой части упомянутой этиленовой фракции с получением, таким образом, потока, обогащенного бутеном; е. проведения реакции по механизму метатезиса в секции метатезиса между бутеном в упомянутом потоке, обогащенном бутеном, и второй частью упомянутой этиленовой фракции с получением, таким образом, потока, обогащенного пропиленом, содержащего пропилен, этилен и этан; f. отделения пропилена от упомянутого этилена и этана в упомянутом потоке, обогащенном пропиленом, и g. отправления, по меньшей мере, части упомянутых этилена и этана из упомянутого потока, обогащенного пропиленом, на рецикл в упомянутую С2 фракционирующую установку.
2. Способ по п.1, где упомянутое этановое или главным образом этановое исходное сырье включает смешанное этан/пропановое исходное сырье, содержащее, по меньшей мере, 70% этана.
3. Способ по п.1, где упомянутая этиленовая фракция характеризуется уровнем содержания этилена 90-95%.
4. Способ по п.1, где отделение упомянутого пропилена от упомянутых этилена и этана в упомянутом потоке, обогащенном пропиленом, протекает в колонне деэтанизации секции метатезиса.
5. Способ по п.4, где вторую часть упомянутых этилена и этана, отделенных от пропилена в упомянутой колонне деэтанизации секции метатезиса, конденсируют и возвращают в качестве флегмы в упомянутую колонну деэтанизации секции метатезиса.
6. Способ по п.1, где упомянутый поток, обогащенный бутеном, полученный в упомянутой секции димеризации, содержит этилен и этан, и где упомянутые этилен и этан удаляют из упомянутого потока, обогащенного бутеном, в колонне деэтанизации секции димеризации.
7. Способ по п.6, где первую часть упомянутых этилена и этана, удаленных из упомянутого потока, обогащенного бутеном, отправляют на рецикл в упомянутую секцию димеризации, а вторую часть в порядке продувки отбирают и отправляют на рецикл в упомянутую секцию извлечения этиленовой установки.
8. Способ по п.7, где упомянутую вторую часть упомянутых этилена и этана, удаленных из упомянутого потока, обогащенного бутеном, отправляют на рецикл в упомянутую С2 фракционирующую колонну.
9. Способ по п.6, где упомянутый подвергнутый деэтанизации поток, обогащенный бутеном, содержит более тяжелые углеводороды, и где упомянутые более тяжелые углеводороды отделяют от упомянутого бутена в сепараторе бутена.
10. Способ по п.4, где все количество упомянутых этилена и этана, удаленных из упомянутого потока, обогащенного пропиленом, в упомянутой колонне деэтанизации секции метатезиса, отправляют на рецикл непосредственно в упомянутую C2 фракционирующую колонну.
11. Способ по п.10, где третью часть упомянутой этиленовой фракции из упомянутой C2 фракционирующей колонны подают в качестве флегмы в упомянутую колонну деэтанизации секции метатезиса.
12. Способ по п.10, где упомянутый поток, обогащенный бутеном, в упомянутой секции димеризации содержит более тяжелые углеводороды и этилен и этан, и где упомянутые более тяжелые углеводороды отделяют в сепараторе бутена от упомянутого потока, обогащенного бутеном, а остающийся поток, обогащенный бутеном, содержащий упомянутые этилен и этан совместно с упомянутым бутеном, подают в упомянутую секцию метатезиса.
13. Способ по п.12, где поток, обогащенный пропиленом, подвергнутый деэтанизации на стадии метатезиса, содержит бутен и другие С4 и более тяжелые углеводороды, и где упомянутые бутен и другие С4 и более тяжелые углеводороды отделяют от него и подают в упомянутый сепаратор бутена в упомянутой секции димеризации.
14. Способ по п.13, где упомянутое этановое или главным образом этановое исходное сырье включает смешанное этан/пропановое исходное сырье, содержащее, по меньшей мере, 70% этана.
15. Способ получения пропилена из этана, включающий стадии: а. парофазного крекинга этанового или главным образом этанового исходного сырья содержащего 70% или более этана с получением, таким образом, продукта крекинга, содержащего этилен, водород, этан, метан, ацетилен и С3 и более тяжелые углеводороды; b. переработки упомянутого продукта крекинга в секции извлечения этиленовой установки, в том числе удаления из него упомянутых водорода, метана и С3 и более тяжелых углеводородов и превращения присутствующего в нем упомянутого ацетилена главным образом в этилен с получением, таким образом, подвергнутого переработке продукта крекинга, содержащего главным образом этилен и этан, и в том числе фракционирования упомянутого подвергнутого переработке продукта крекинга в С2 фракционирующей колонне и получения фракции химического этилена, характеризующейся уровнем содержания этилена, меньшим 99 об.%, фракции этилена для полимеризации, характеризующейся уровнем содержания этилена, по меньшей мере, равным 99,5 об.%, и этановой фракции в виде кубового остатка; с. отправления упомянутой этановой фракции в виде кубового остатка на рецикл на упомянутый парофазный крекинг; d. проведения реакции по механизму димеризации в секции димеризации для первой части упомянутой фракции химического этилена с получением, таким образом, потока, обогащенного бутеном; е. проведения реакции по механизму метатезиса в секции метатезиса между бутеном в упомянутом потоке, обогащенном бутеном, и второй частью упомянутой фракции химического этилена с получением, таким образом, потока, обогащенного пропиленом, содержащего пропилен, этилен и этан; f. отделения пропилена от упомянутого этилена и этана в упомянутом потоке, обогащенном пропиленом, и g. отправления, по меньшей мере, части упомянутых этилена и этана из упомянутого потока, обогащенного пропиленом, на рецикл в упомянутую С2 фракционирующую установку.
16. Способ по п.15, где отделение упомянутого пропилена от упомянутых этилена и этана в упомянутом потоке, обогащенном пропиленом, протекает в колонне деэтанизации секции метатезиса.
17. Способ по п.16, где вторую часть упомянутых этилена и этана, отделенных от пропилена в упомянутой колонне деэтанизации секции метатезиса, конденсируют и возвращают в качестве флегмы в упомянутую колонну деэтанизации секции метатезиса.
18. Способ по п.15, где упомянутое этановое или главным образом этановое исходное сырье включает смешанное этан/пропановое исходное сырье, содержащее, по меньшей мере, 70% этана.
19. Способ по п.16, где вторую часть упомянутых этилена и этана, отделенных от упомянутого потока, обогащенного пропиленом, в упомянутой колонне деэтанизации секции метатезиса, конденсируют и возвращают в качестве флегмы в упомянутую колонну деэтанизации секции метатезиса.
20. Способ по п.16, где третью часть упомянутой фракции химического этилена из упомянутой С2 фракционирующей колонны подают в качестве флегмы в упомянутую колонну деэтанизации секции метатезиса.
21. Способ по п.16, где упомянутый поток, обогащенный бутеном, полученный в упомянутой секции димеризации, содержит более тяжелые углеводороды и этилен и этан, и где упомянутые более тяжелые углеводороды отделяют в сепараторе бутена от упомянутого потока, обогащенного бутеном, а остающийся поток, обогащенный бутеном, содержащий упомянутые этилен и этан совместно с упомянутым бутеном, подают в упомянутую секцию метатезиса.
22. Способ по п.21, где подвергнутый деэтанизации поток, обогащенный пропиленом, содержит бутен и другие С4 и более тяжелые углеводороды, и где упомянутые бутен и другие C4 и более тяжелые углеводороды отделяют от него и подают в упомянутый сепаратор бутена в упомянутой секции димеризации.
23. Способ по п.16, где вторую часть упомянутых этилена и этана, отделенных от упомянутого пропилена в упомянутой колонне деэтанизации секции метатезиса, конденсируют и возвращают в качестве флегмы в упомянутую колонну деэтанизации секции метатезиса.
24. Способ по п.16, где все количество упомянутых этилена и этана, удаленных из упомянутого потока, обогащенного пропиленом, в упомянутой колонне деэтанизации секции метатезиса, отправляют на рецикл в упомянутую C2 фракционирующую колонну.
25. Способ по п.24, где третью часть упомянутой фракции химического этилена из упомянутой C2 фракционирующей колонны подают в качестве флегмы в упомянутую колонну деэтанизации секции метатезиса.
26. Способ по п.24, где упомянутый поток, обогащенный бутеном, полученный в упомянутой секции димеризации, содержит более тяжелые углеводороды и этилен и этан, и где упомянутые более тяжелые углеводороды отделяют в сепараторе бутена от упомянутого потока, обогащенного бутеном, а остающийся поток, обогащенный бутеном, содержащий упомянутые этилен и этан совместно с упомянутым бутеном, подают в упомянутую секцию метатезиса.
27. Способ по п.26, где подвергнутый деэтанизации поток, обогащенный пропиленом, содержит бутен и другие C4 и более тяжелые углеводороды, и где упомянутые бутен и другие C4 и более тяжелые углеводороды отделяют от него и подают в упомянутый сепаратор бутена в упомянутой секции димеризации.
28. Способ получения пропилена из углеводородного исходного сырья, включающий стадии: а. парофазного крекинга упомянутого углеводородного исходного сырья с получением, таким образом, продукта крекинга, содержащего этилен, водород, этан, метан, ацетилен и С3 и более тяжелые углеводороды; b. переработки упомянутого продукта крекинга в секции извлечения этиленовой установки, в том числе удаления из него упомянутых водорода, метана и С3 и более тяжелых углеводородов и превращения присутствующего в нем упомянутого ацетилена в этилен с получением, таким образом, подвергнутого переработке продукта крекинга, содержащего главным образом этилен и этан, и в том числе фракционирования упомянутого подвергнутого переработке продукта крекинга в C2 фракционирующей колонне и получения фракции химического этилена, характеризующейся уровнем содержания этилена, меньшим 99 об.%, и этановой фракции в виде кубового остатка; с. отправления упомянутой этановой фракции в виде кубового остатка на рецикл на упомянутый парофазный крекинг; d. проведения реакции по механизму метатезиса в секции метатезиса между упомянутой фракцией химического этилена и бутеном с получением, таким образом, потока, обогащенного пропиленом, содержащего пропилен, этилен и этан; е. удаления упомянутых этилена и этана из пропилена в упомянутом потоке, обогащенном пропиленом, в колонне деэтанизации секции метатезиса; f. отправления, по меньшей мере, части упомянутых удаленных этилена и этана на рецикл в упомянутую С2 фракционирующую колонну.
29. Способ по п.28, где все количество упомянутых удаленных этилена и этана отправляют на рецикл непосредственно в упомянутую C2 фракционирующую колонну.
30. Способ по п.28, где вторую часть упомянутых удаленных этилена и этана из упомянутой колонны деэтанизации секции метатезиса конденсируют и возвращают в качестве флегмы в упомянутую колонну деэтанизации секции метатезиса.
31. Способ по п.28, где третью часть упомянутой фракции химического этилена из упомянутой С2 фракционирующей колонны подают в качестве флегмы в упомянутую колонну деэтанизации секции метатезиса.
32. Способ по п.28, где дополнительный пропиленовый продукт получают из ненасыщенных С3, полученных в установке парофазного крекинга.
33. Способ по п.28, где дополнительную этиленовую фракцию получают на упомянутой стадии фракционирования упомянутого подвергнутого переработке продукта крекинга, и где упомянутая дополнительная этиленовая фракция представляет собой продукт этилен для полимеризации, характеризующийся уровнем содержания этилена, превышающим 99 об.%.
34. Способ по п.33, где вторую часть упомянутых удаленных этилена и этана из упомянутой колонны деэтанизации секции метатезиса конденсируют и возвращают в качестве флегмы в упомянутую колонну деэтанизации секции метатезиса.
35. Способ по п.33, где все количество упомянутых этилена и этана, удаленных из упомянутого потока, обогащенного пропиленом, в упомянутой колонне деэтанизации секции метатезиса, отправляют на рецикл непосредственно в упомянутую С2 фракционирующую колонну.
36. Способ по п.33, где вторую часть упомянутой фракции химического этилена из упомянутой C2 фракционирующей колонны подают в качестве флегмы в упомянутую колонну деэтанизации секции метатезиса.
37. Способ по п.28, где упомянутый бутен, предназначенный для участия в реакции в упомянутой секции метатезиса, включает бутен, извлеченный из упомянутых более тяжелых углеводородов в упомянутом продукте крекинга.
38. Способ по п.28, где упомянутый бутен, предназначенный для участия в реакции в упомянутой секции метатезиса, включает бутен из источника, выбираемого из продуктов процессов нефтеперерабатывающих заводов и каталитического дегидрирования бутанов.
39. Способ по п.28, где упомянутая этиленовая фракция характеризуется уровнем содержания этилена 90-95%.
РИСУНКИ
|
|