|
(21), (22) Заявка: 2008124052/11, 11.06.2008
(24) Дата начала отсчета срока действия патента:
11.06.2008
(46) Опубликовано: 10.03.2010
(56) Список документов, цитированных в отчете о поиске:
RU 2114328 C1, 27.06.1998. RU 2295601 C1, 20.03.2007. JP 2008013977 A, 24.01.2008. US 2007235551 A1, 11.10.2007.
Адрес для переписки:
440028, г.Пенза, ул. Г. Титова, 28, Пензенский государственный университет архитектуры и строительства
|
(72) Автор(ы):
Нежданов Алексей Кириллович (RU), Нежданов Кирилл Константинович (RU), Кузьмишкин Алексей Александрович (RU)
(73) Патентообладатель(и):
Государственное образовательное учреждение высшего профессионального образования Пензенский государственный университет архитектуры и строительства (ПГУАС) (RU)
|
(54) ЗАМКОВОЕ СОЕДИНЕНИЕ РЕЛЬСА С РАСШИРИТЕЛЕМ ЕГО ПОДОШВЫ
(57) Реферат:
Изобретение относится к транспортным конструкциям с надежным закреплением рельсов на подкрановых балках и на главных балках железнодорожных мостов. Подрельсовая подкладка выполнена непрерывной по всей длине рельса, снабжена двумя боковыми главами для восприятия горизонтальных воздействий от направляющих роликов крана и фиксирующими ее на верхнем поясе подкрановой балки. Рельсовый блок содержит рельс, закрепленный упругими клеммами на подрельсовой подкладке с симметричными продольными гребнями, имеющей отверстия для крепления подошвы подрельсовой подкладки к подкрановой балке заклепками с внедряемыми сердечниками. Головка каждой клеммы выполнена с односторонним упором снизу и с заостренным крюком. Заостренный крюк западает в соответствующее овальное отверстие в гребне на подрельсовой подкладке. Продольные гребни подрельсовой подкладки симметричны относительно рельса. Свободный конец каждой клеммы снабжен крюком. Подрельсовая подкладка имеет боковые главы для восприятия горизонтальных усилий Т от направляющих роликов кранов. Достигается повышение долговечности как самого узла, так и подкрановой балки в зоне под рельсом, автоматизация процесса монтажа, демонтажа и замены рельсов без остановки производственного процесса, а также увеличение ремонтопригодности рельсов. 1 ил.
Предлагаемое изобретение относится к транспортным конструкциям с интенсивным, тяжелым 8К, 7К режимом эксплуатации и накоплением 0,7 0,75 млн циклов локальных нагружений в подрельсовой зоне подкрановых балок в год, в частности, к надежному без проскальзывания закреплению рельсов на подкрановых балках и на главных балках железнодорожных мостов.
Подкрановые конструкции предназначены для восприятия подвижных динамических воздействий от колес кранов, катящихся по рельсам. Рельсы в первую очередь воспринимают эти воздействия и предназначены для более равномерного плавного распределения их на подрельсовую зону балок и поэтому являются макрорегуляторами. Ближайшим прототипом подкрановых конструкций являются железнодорожные, так как они также воспринимают подвижные динамические воздействия от колес движущихся составов.
Однако воздействия колес кранов во много раз более мощные, чем воздействия колес локомотивов и вагонов.
Парадоксально, но мостовые краны лишены каких-либо амортизирующих устройств. Представить такую ситуацию на железнодорожном транспорте невозможно, так как это привело бы к быстрому выходу из строя и локомотивов, и вагонов, и рельсов, и шпал и мостов. Именно это и происходит с подкрановыми конструкциями.
Наблюдая за движением состава по рельсовому пути, легко заметить волны деформаций, возникающих под колесами, причем эти волны бегут вперед вместе с колесами подобно волнам океана.
Волны деформаций вызывают волны колебаний напряжений в подрельсовой зоне балок, циклически нагружая ее. Эти волны колебаний имеют максимумы и минимумы.
Причиной возникновения усталостных трещин в подрельсовой зоне являются волнообразные колебания локальных сдвигающих напряжений. Эти волны движутся вместе с катящимися колесами кранов. Опасность возникновения усталостных трещин возрастает по мере увеличения амплитуд колебаний ± a и высоты волн, равной удвоенной амплитуде колебаний локальных сдвигающих напряжений от минимума до максимума на опасных площадках:
2 a= max– min,
где ± a – амплитуда колебаний локальных сдвигающих напряжений.
Амплитуды колебаний локальных сдвигающих напряжений ± a характеризуют динамическую составляющую и зависят от сосредоточенных сил Р и T от колес кранов, приложенных с эксцентриситетом, и возникающих от них в подрельсовой зоне локальных крутящих моментов Мкр.
Колебания же напряжений, возникающие от этих воздействий, зависят от мощности рельса и верхнего пояса и, следовательно, от моментов инерции при изгибе рельса JX peл и пояса Jx пояса и кручения рельса Jкр рел и кручения пояса Jкр пояса.
Известно крепление рельсов к подкрановым балкам [1, с.203, рис.10.37]. Рельс, предназначен для восприятия вертикальных сил Р от колес и горизонтальных сил Т сил от гребней колес или направляющих роликов крана. Затем рельс передает эти силы на подкрановую балку. Стандартный рельс имеет следующие недостатки: невозможно закрепить его на балке без проскальзывания, а горизонтальные силы Т передаются с эксцентриситетом, равным высоте рельса hp, поэтому возникают локальные крутящие моменты
Mкр=Thp.
Эти крутящие моменты приводят к интенсивному износу рельсов и креплений и возникновению усталостных трещин в подрельсовых зонах подкрановых балок [2].
Недостаток аналога – недостаточная величина мощности рельса и верхнего пояса и невозможность закрепления рельса на подкрановой балке неподвижно без проскальзывания. Это приводит к увеличению амплитуд ± a колебаний локальных сдвигающих напряжений от минимума до максимума на опасных площадках и преждевременному появлению усталостных трещин в подкрановых балках.
Другие недостатки – материал рельса нельзя учитывать в составе сечения подкрановой балки из-за его проскальзывания, что приводит к ее избыточной материалоемкости. Низка долговечность креплений, так как сварные швы и болты креплений разрушаются от усталости металла в этом напряженном узле.
Известно техническое решение, когда на подкрановой балке укладывается два параллельных рельса [3, Т2, с.312, рис.2.40], но в этом случае рельсы не объединяют в единую пару и также возможны их проскальзывания по отношению к подкрановым балкам [3, Т1, с.523].
За аналоги примем рельсовые блоки, разработанные Неждановым К.К. и др. [4, 5]. В первом аналоге конструкцию изготавливают следующим образом. Подрельсовую подкладку прокатывают износостойкой, аналогично железнодорожным подрельсовым подкладкам, такой же длины, как стандартный рельс. Рельс принудительно вдвигают с торца продольным перемещением, с помощью гидродомкратов, в клиновидное гнездо типа “ласточкин хвост” между нависающих гребней подрельсовой подкладки, образуя единый трехглавый рельс. Подрельсовую подкладку вместе с рельсом надвигают на верхний пояс балки также с торца, так как этот способ менее трудоемок [6, 7,].
Во втором аналоге два стандартных рельса объединены в единую пару, но подошвы рельсов требуют срезки заподлицо с боковой гранью главы рельса. Подрельсовая подкладка обеспечивает зажатие рельса между гребней и неподвижное соединение ее с рельсом в единый трехглавый рельс. Однако замена рельса затруднена. Напряжение клемм и замена изношенных рельсов в этих устройствах не автоматизировано. Поэтому применим способ автоматического напряжения креплений [8].
За прототип примем «Замковое соединение рельсов в блок», разработанное Неждановым К.К. и др. [9]. Это устройство содержит пару кососимметричных двухглавых рельсов, наклоненных к вертикальной оси симметрии под углом 15-20° и образующих арку. Затяжкой арки является подрельсовая подкладка (расширитель подошвы). Устройство снабжено упругими клеммами и непрерывными по длине рельсов эксцентриками. При взаимодействии хвостовиков двух эксцентриков с клином автоматического напрягающего устройства, подвешенного впереди транспортного средства, движущегося по рельсовым блокам, эксцентрики взаимодействуют с клеммами и автоматически напрягают и запирают замковое устройство, образуя монолитный рельсовый блок с аркой из двух кососимметричных рельсов.
К сожалению, изготовление кососимметричных рельсов не освоено промышленностью, поэтому необходимо разработать рельсовый блок с автоматическим напряжением для рельсов, прокатываемых в настоящее время.
Технический результат изобретения – повышение долговечности как самого узла, так и подкрановой балки в зоне под рельсом, автоматизация процесса монтажа, демонтажа и замены рельсов без остановки производственного процесса, а также увеличение ремонтопригодности рельсов.
Технический результат реализован тем, что рельсовый блок содержит рельс, закрепленный упругими клеммами на подрельсовой подкладке с симметричными продольными гребнями, имеющей отверстия для крепления подошвы подрельсовой подкладки к подкрановой балке заклепками с внедряемыми сердечниками.
Отличие в том, что подрельсовая подкладка выполнена непрерывной по всей длине рельса, снабжена двумя боковыми главами для восприятия горизонтальных воздействий от направляющих роликов крана и фиксирующими ее на верхнем поясе подкрановой балки, а сталь ее износостойка.
Причем в каждом из гребней подрельсовой подкладки выполнены сквозные овальные отверстия, ориентированные большим размером продольно вдоль рельса, с расчетным шагом, обеспечивающим исключение сдвигов между подошвой рельса и подрельсовой подкладкой.
Каждая из клемм выполнена овальной, головка каждой клеммы выполнена с крюком, западающим под нависающий гребень подрельсовой подкладки и имеющим снизу односторонний упор, западающий в щель между краем подошвы рельса и гребнем подрельсовой подкладки и фиксирующий рельс по центру ее.
При этом свободный конец каждой клеммы снабжен крюком, имеющим выгиб по плавной кривой выпуклостью вверх и, образующий снизу гнездо для непрерывного по длине рельса эксцентрика с непрерывной ручкой, выступающей вверх.
Причем крюк хвостовика клеммы поддомкрачен снизу эксцентриком, а симметричные клеммы, поворачиваясь в отверстиях вокруг точек контакта их с гребнями в разные стороны, взаимодействуют головками с краями подошвы рельса, фиксируют его, объединяя рельс и подрельсовую подкладку в единый трехглавый рельс.
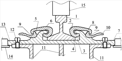
На чертеже показан рельсовый блок в разрезе.
1 – рельс; 2 – упругие клеммы, непрерывные по длине рельса, лоткообразные в сечении; 3 – эксцентрик клеммы; 4 – упор эксцентрика клеммы в край подошвы рельса; 5 – упор эксцентрика в гребень; 6 – гребень расширителя подошвы рельса; 7 – расширитель подошвы рельса; 8 – крюк клеммы; 9 – эксцентрик зажима; 10 – консольная ручка эксцентрика зажима; 11 – подкрановая балка; 12 – заклепки с внедряемым сердечником; 13 – боковые главы расширительной подошвы; 14 – направляющие ролики; 15 – основные колеса крана.
Рельсовый блок содержит рельс 1, неподвижно закрепленный упругими клеммами 2, овальными в сечении. Головка 3 каждой клеммы 2 выполнена с односторонним упором 4 снизу и с заостренным крюком 5, овальным в сечении.
Заостренный крюк 5 западает в соответствующее овальное отверстие в гребне 6 на подрельсовой подкладке 7. Продольные гребни 6 подрельсовой прокладки 7 симметричны относительно рельса 1. Подрельсовая подкладка 7 выполняет функции верхнего пояса подкрановой балки.
При этом свободный конец каждой клеммы 2 снабжен крюком 8, ориентированным вниз и образующим снизу гнездо для непрерывного по длине рельса эксцентрика 9 с непрерывной консольной ручкой 10, выступающей вверх.
Подрельсовая подкладка 7 имеет отверстия для неподвижного крепления подрельсовой подкладки 7 к подкрановой балке 11 заклепками 12 с внедряемыми сердечниками [9]. Подрельсовая подкладка 7 имеет боковые главы 13 для восприятия горизонтальных усилий Т от направляющих роликов 14 кранов. Направляющие ролики 14 кранов фиксируют краны на подкрановых балках 11 и исключают сход кранов с рельсов 1.
Рельсовый блок воспринимает вертикальные динамические воздействия Р от основных колес 15 кранов и горизонтальные циклические воздействия Т от направляющих роликов 14.
Сопоставление с аналогом и прототипом показывает следующие существенные отличия:
– в рельсовом блоке использованы стандартные рельсы, производство которых налажено;
– сход кранов с рельсов исключен;
– автоматизирован процесс монтажа, демонтажа и замены рельсов без остановки производственного процесса;
– увеличена ремонтопригодность рельса;
– рельс надежно, неподвижно без проскальзывания закреплен в подрельсовой подкладке, образуя единый трехглавый составной рельс;
– двигающие силы в соединении передаются с рельсов на подрельсовую подкладку посредством сил трения;
– гарантированный натяг соединения осуществлен посредством упругих клемм и эксцентриков, имеющих консольные ручки 10 с выгодным соотношением плеч;
– поворот непрерывных эксцентриков, поддомкрачивающих консольных концов клемм и замыкание рельсового блока в единое целое автоматизировано;
– соединение быстроразъемное, что обеспечивает быструю замену изношенных рельсов их продольным перемещением [2] без остановки работы мостовых кранов;
– ослабляющих отверстий в рельсах нет;
– рельсовый блок надежно без проскальзывания соединяется с подкрановой балкой и работает в составе ее сечения.
Экономический эффект возник из-за следующего:
– надежное без проскальзывания крепление стандартных рельсов на подрельсовой подкладке и рельсового блока на подкрановой балке позволило учитывать материал рельсов и подрельсовой подкладки в составе сечения подкрановой балки и этим исключить появление усталостных трещин в узле соединения рельсового блока с подкрановой балкой и снизить материалоемкость всей конструкции;
– исключения схода кранов с рельсов;
– снижения материалоемкости;
– автоматизации монтажа и демонтажа рельсов и значительного снижения трудоемкости этого процесса.
Список литературы
1. Металлические конструкции / Ред. Н.П.Мельников. Справочник проектировщика. 2-е издание. – М.: Стройиздат, 1980. – с.203.
2. Нежданов К.К.Совершенствование подкрановых конструкций и методов их расчета / Дисс. на соискание уч. степени доктора техн. наук. – Пенза, 1992.
3. Справочник по кранам: в 2 т.T.1. Характеристики материалов и нагрузки. / Ред. М.М.Гохберг. М.: Машиностроение, 1988 г. с.536. Т.2. Характеристики и конструктивные схемы кранов / Ред. М.М.Гохберг. – Л.: Машиностроение, 1988. – с.312.
4. Нежданов К.К., Нежданов А.К. Рельсовая подкрановая конструкция. Патент России 2053187. – Бюл. 3 от 27.01.1996.
5. Нежданов К.К. и др. Рельсовый блок. 2235677, В66С 7/08, Е01В 9/00. Бюл. 25 от 10.09.2004.
6. Нежданов К.К. и др. Способ замены кранового рельса. 358248. А.с. СССР.: В66С 7/08 Бюл. 33, 1972.
7. Нежданов К.К. и др. Способ замены рельса рельсового пути. А.с. СССР. 1146353: Е01В 29/16. Бюл. 11, 1985.
8. Нежданов К.К. Устройство для регулирования напряжения в рельсовых креплениях Патент России 922220, Е01В 29/24. Действует с 22.11.1993. Бюл. 15, 1982.
9. Нежданов К.К., Васильев А.В, Калмыков В.А., Нежданов А.К. Способ и устройство для неподвижного соединения. Патент России 2114328: Бюл. 18 от 27.06.1998.
Формула изобретения
Замковое соединение рельса с расширителем подошвы, снабженное подрельсовой подкладкой с продольными гребнями, неподвижно соединенной с подкрановой балкой заклепками с внедряемыми сердечниками, отличающееся тем, что расширитель подошвы выполнен непрерывным по всей длине рельса, износостойким, снабжен двумя боковыми главами для восприятия горизонтальных воздействий от направляющих роликов крана и замковыми соединениями, исключающими сдвиги между рельсом и расширителем подошвы и имеющим односторонний упор снизу, западающий в щель между краем подошвы рельса и гребнем подрельсовой подкладки и фиксирующий рельс по центру подрельсовой подкладки, при этом свободный конец каждой клеммы снабжен крюком, непрерывным по длине клеммы, с выгибом по плавной кривой выпуклостью вверх и образующим гнездо для непрерывного по длине клеммы эксцентрика, с непрерывной консольной ручкой, выступающей вверх, причем эксцентрик подпирает крюк хвостовика клеммы снизу, а симметричные клеммы, поворачиваясь в отверстиях вокруг точек контакта их с гребнями в разные стороны, взаимодействуют головками с краями подошвы рельса, фиксируют его, запирая замковые соединения и объединяя рельс и подрельсовую подкладку в единый трехглавый рельс.
РИСУНКИ
|