|
|
(21), (22) Заявка: 2006138707/11, 04.04.2005
(24) Дата начала отсчета срока действия патента:
04.04.2005
(30) Конвенционный приоритет:
03.04.2004 GB 0407653.5
(43) Дата публикации заявки: 10.05.2008
(46) Опубликовано: 10.03.2010
(56) Список документов, цитированных в отчете о поиске:
GB 2229689 А, 03.10.1990. GB 2139974 А, 21.11.1984. GB 2004823 А, 11.04.1979. ЕР 0825095 А2, 25.02.1998. US 5564750 А, 15.10.1996.
(85) Дата перевода заявки PCT на национальную фазу:
03.11.2006
(86) Заявка PCT:
GB 2005/001292 20050404
(87) Публикация PCT:
WO 2005/095188 20051013
Адрес для переписки:
129090, Москва, ул. Б.Спасская, 25, стр.3, ООО “Юридическая фирма Городисский и Партнеры”, пат.пов. С.А.Дорофееву, рег. 146
|
(72) Автор(ы):
ДАУНЗ Джон Энтони (GB)
(73) Патентообладатель(и):
СПРЕЙДАУН ЛИМИТЕД, GB (GB)
|
(54) УСТРОЙСТВО ДЛЯ ПРЕДОТВРАЩЕНИЯ ПОЯВЛЕНИЯ БРЫЗГ
(57) Реферат:
Устройство для предотвращения появления брызг от колес транспортных средств содержит панель (4), выполненную с возможностью ее установки по существу вертикально позади колеса транспортного средства и принимающую на свою первую сторону воду, поступающую от колеса при его вращении. Панель (4) включает в себя, по меньшей мере, один канал (6), проходящий от первой стороны к задней второй стороне панели (4). Канал (6), или каждый из каналов, является неперпендикулярным плоскости панели (4). Имеется, по меньшей мере, один водосборный карман (7А, 7В, 7С), проходящий сбоку канала (6), или каждого из каналов. При работе воздух и вода, поступающие в канал (6) или в каждый из каналов, разделяются таким образом, что воздух проходит через канал (6), или через каждый из каналов, и смешивается с окружающим воздухом на второй стороне панели, а вода собирается в водосборном кармане (7А, 7В, 7С) или в каждом из водосборных карманов. Достигается предотвращение брызг путем отделения воды от воздуха. 7 з.п. ф-лы, 4 ил.
Настоящее изобретение относится к устройству для предотвращения появления брызг от колес транспортных средств, движущихся по проезжей части в сырую погоду.
Когда транспортные средства (особенно такие крупные транспортные средства, как грузовики) движутся по проезжей части в сырую погоду, колеса создают брызги или водяную пелену, которые могут серьезно ухудшить видимость водителям транспортных средств, движущихся сзади. Это очень опасно и может стать причиной дорожно-транспортных происшествий.
Брызги возникают по той причине, что вода забирается вращающими шинами и отбрасывается на надколесную дугу. Вода, попадая на надколесную дугу, разбивается на мелкие капли и распыляется в воздухе, создавая тонко распыленную воду или водяную пелену. Эта распыленная вода затем выбрасывается по бокам из надколесной дуги. В крайних случаях эта распыленная вода может полностью нарушить видимость.
Известны технические решения по уменьшению выброса этой распыленной воды за счет выполнения в задней части надколесной дуги накладки, содержащей брызговик, поверхность которого имеет ворс или сетку, способствующие амортизации или уменьшению отражения воды, попадающей от колеса. Это решение помогает разбивать воду на мелкие частицы. Однако это техническое решение не обеспечивает отделение воды от воздуха.
В патенте UK 2229689 описан грязевой щиток колеса, предотвращающий появление распыленной воды. Этот щиток искривлен в форме задней половины надколесной дуги и состоит из нескольких продольных каналов между отражателями, чтобы направлять воду из области надколесной дуги и перенаправлять ее обратно на проезжую часть. При этом обнаружено, что это техническое решение должным образом не действует, так как когда транспортное средство идет на большой скорости, то воздух вынужденно поступает в верхнюю область каналов, создавая противодавление в каналах, проходя вниз по карманам, и поэтому распыленная вода не может входить в каналы.
Настоящее изобретение направлено на получение технического решения этой проблемы путем отделения воды от воздуха в распыленной воде, а не путем устранения ее образования.
Согласно изобретению создано устройство для предотвращения появления брызг от колес транспортных средств, содержащее панель, выполненную с возможностью ее установки по существу вертикально позади колеса транспортного средства и принимающую на свою первую сторону воду, поступающую от колеса при его вращении, причем панель включает в себя, по меньшей мере, один канал, проходящий от первой стороны к задней второй стороне панели, при этом канал, или каждый из каналов, является неперпендикулярным плоскости панели, и, по меньшей мере, один водосборный карман, проходящий сбоку канала, или каждого из каналов, при этом при работе воздух и вода, поступающие в канал, или в каждый из каналов, разделяются таким образом, что воздух проходит через канал, или через каждый из каналов, и смешивается с окружающим воздухом на второй стороне панели, а вода собирается в водосборном кармане или в каждом из водосборных карманов.
Панель, предпочтительно, образована из множества вертикальных отражателей, расположенных бок о бок и с каналами между ними. Предпочтительно, отражатели имеют по существу одинаковую форму. Предпочтительно, отражатели перекрывают друг друга. Предпочтительно, панель является по существу плоской.
Предпочтительно, канал, или каждый из каналов, является нелинейным. Предпочтительно, канал или каждый из каналов, имеет два изменения направления. Предпочтительно, водосборные карманы расположены с возможностью сбора воды после изменения направления в канале или в каждом из каналов.
Карман, или каждый из карманов, может являться стоком, проходящим по существу вертикально по его соответствующему отражателю, в результате чего при работе вода стекает с отражателей на поверхность, по которой движется колесо. Сток может быть выполнен по существу U-образным. В одном варианте осуществления изобретения на каждом отражателе выполнено по три кармана.
Варианты осуществления изобретения далее описаны более подробно со ссылкой на прилагаемые чертежи, на которых:
фиг.1 – вид в перспективе надколесной дуги транспортного средства с установленным в ней устройством согласно изобретению;
фиг.2 – вид в увеличенном масштабе вида с фиг.1;
фиг.3 – вид в сечении вида с фиг.1, схематически иллюстрирующий сквозной поток воздуха и распыленной воды; и
фиг.4 – вид в перспективе альтернативной конструкции устройства согласно изобретению.
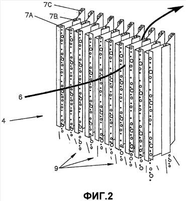
На фиг.1 показано транспортное средство 1 с надколесной дугой 2 над колесом 3. Под надколесной дугой, между колесом 3 и надколесной дугой 2, установлена по существу плоская панель 4, выполненная из множества одинаковых отражателей 5 с каналами 6, проходящими от первой стороны панели ко второй стороне панели, как наилучшим образом показано на фиг.2. Каждый отражатель имеет три водосборных кармана в виде вертикальных U-образных стоков 7А, 7В, 7С на стороне канала 6. При движении (как более подробно описано ниже) на мокрых дорожных поверхностях вода 8 отбрасывается колесом на первую сторону панели 4 и проходит с воздухом через канал 6, хотя существенное количество воды отделяется от воздуха силами инерции, собирается стоками 7А, 7В, 7С и падает в виде потока воды 9 со дна панели.
На фиг.2 и 3 показано, что отражатели 5 перекрывают друг друга таким образом, что канал имеет по существу искривленную конфигурацию прохождения через панель 4, то есть канал является неперпендикулярным плоскости панели и проходит через панель нелинейно.
Как показано на фиг.3, путь воды и воздуха отбрасывается на два отражателя. Левая часть пути отбрасывает воду и воздух в первый сток 7А, где будет собираться вода. Путь затем изменяет свое направление первый раз, следуя по каналу 6, что показано в местоположении «А». Когда вода изменяет направление, то, поскольку она тяжелее воздуха, частицы воды следуют по прямому пути и выходят из потока воздуха по касательной к нему в карман 7В, расположенный по касательной к изменению направления канала. Путь затем изменяет направление второй раз, как показано в положении «В», выходя из канала 6, и значительная часть воды, не собранная карманом 7В, выходит из потока воздуха по касательной в карман 7С, расположенный по касательной, во второе изменение направления канала 6. Воздух с намного уменьшенным содержанием воды в нем выходит из канала 6 и теперь он может смешиваться с воздухом окружающей среды.
Обнаружено, что за счет этого технического решения можно добиться хорошего отделения воды от воздуха.
Альтернативное выполнение отражателя показано на фиг.4. U-образные стоки 7A’, 7B’, 7C’ имеют скругленный профиль.
Когда вода и воздух входят в канал 9, они изменяют направление. Вода, будучи более тяжелой составляющей, входит в сток 7A’, а воздух протекает мимо. Вода, остающаяся в течении, в свою очередь захватывается стоками 7B’ и 7C’ соответственно, когда поток снова принудительно изменяет направление.
Предполагается, что панель может иметь и другую форму, отличающуюся от описываемой выше. Например, канал через панель может изменить направление только один раз или более двух раз. Карманы могут быть выполнены по-другому, то есть не в виде U-образных стоков.
Предполагается, что эту панель можно выполнить путем экструдирования отражателей и соединением отражателей бок о бок, например, в виде удлиненных горизонтальных стволов с установленными между отражателями распорками.
При этом специалистам в данной области техники будут очевидными и другие модификации, входящие в объем настоящего изобретения.
Формула изобретения
1. Устройство для предотвращения появления брызг от колес транспортных средств, содержащее панель (4), образованную из множества отражателей (5), расположенных бок о бок и перекрывающих друг друга для образования между ними, по меньшей мере, одного канала (6), проходящего от первой стороны панели, которая принимает воду, поступающую от колеса при его вращении, к задней второй стороне панели, при этом, по меньшей мере, часть канала, или каждый из каналов (6), является неперпендикулярной плоскости панели, и, по меньшей мере, имеет одно или более изменений направления от первой стороны до второй стороны панели, и, по меньшей мере, один водосборный карман (7А-7С), проходящий сбоку каждого канала, отличающееся тем, что панель (4) является, по существу, плоской для установки ее, по существу, вертикально позади колеса транспортного средства с, по существу, вертикальными отражателями (5), причем при работе указанные одно или более изменений направления вызывают поступление воздуха и воды в канал или в каждый канал, где они разделяются таким образом, что воздух проходит через канал, или через каждый из каналов, и смешивается с окружающим воздухом на второй стороне панели, а вода собирается в водосборном кармане, или в каждом из водосборных карманов, и выходит снизу панели.
2. Устройство по п.1, в котором отражатели (5) имеют, по существу, одинаковую форму.
3. Устройство по п.1, в котором канал, или каждый из каналов (6), является нелинейным.
4. Устройство по п.1, в котором водосборные карманы (7А-7С) расположены следуя каждому изменению направления в канале, или в каждом из каналов (6).
5. Устройство по п.1, в котором канал, или каждый из каналов (6), имеет два изменения направления.
6. Устройство по п.1, в котором карман, или каждый из карманов, является стоком, проходящим, по существу, вертикально вдоль его соответствующего отражателя (5), в результате чего при работе вода стекает с отражателей на поверхность, по которой движется колесо.
7. Устройство по п.6, в котором сток (7А-7С) выполнен, по существу, U-образным.
8. Устройство по одному из пп.1-7, в котором отражатели являются экструдированными, причем между ними предусмотрены распорки, поддерживаемые удлиненными стволами, которые при работе являются горизонтальными.
РИСУНКИ
|
|