Патент на изобретение №2383436

Published by on




РОССИЙСКАЯ ФЕДЕРАЦИЯ



ФЕДЕРАЛЬНАЯ СЛУЖБА
ПО ИНТЕЛЛЕКТУАЛЬНОЙ СОБСТВЕННОСТИ,
ПАТЕНТАМ И ТОВАРНЫМ ЗНАКАМ
(19) RU (11) 2383436 (13) C2
(51) МПК

B29B17/00 (2006.01)
B02C2/04 (2006.01)

(12) ОПИСАНИЕ ИЗОБРЕТЕНИЯ К ПАТЕНТУ

Статус: по данным на 28.09.2010 – может прекратить свое действие

(21), (22) Заявка: 2008100456/12, 09.01.2008

(24) Дата начала отсчета срока действия патента:

09.01.2008

(43) Дата публикации заявки: 20.07.2009

(46) Опубликовано: 10.03.2010

(56) Список документов, цитированных в отчете о
поиске:
RU 2017615 C1, 15.08.1994. SU 1353612 A1, 23.11.1987. RU 2153416 C1, 27.07.2000. US 4339087 A, 13.07.1982.

Адрес для переписки:

440028, г.Пенза, ул. Г.Титова, 28, Пензенский государственный университет архитектуры и строительства

(72) Автор(ы):

Салмин Владимир Васильевич (RU),
Салмина Ангелина Владимировна (RU),
Макаров Михаил Михайлович (RU),
Демьянова Валентина Серафимовна (RU),
Кураков Павел Андреевич (RU)

(73) Патентообладатель(и):

Федеральное агентство по образованию Государственное образовательное учреждение высшего профессионального образования Пензенский государственный университет архитектуры и строительства (ПГУАС) (RU)

(54) УСТАНОВКА ДЛЯ ПЕРЕРАБОТКИ ИЗНОШЕННЫХ АВТОМОБИЛЬНЫХ ПОКРЫШЕК

(57) Реферат:

Установка содержит подающее устройство и абразивный измельчитель. Абразивный измельчитель выполнен в форме усеченного конуса и закреплен на вертикально вращающемся валу в герметически замкнутом корпусе с диффузором. Над корпусом расположена траверса с упорами для возможности подачи автомобильных покрышек перпендикулярно оси вращения вала абразивного измельчителя. Причем герметичный корпус выполнен с гладкой поверхностью для возможности скатывания продукта переработки через диффузор в приемник за счет центробежных сил вращения. Установка позволяет получать различные размеры гранул резиновой пудры и осуществлять переработку автопокрышек всех типов, в том числе имеющих стальной корд и кевларовый бандаж. 2 ил.

Изобретение относится к оборудованию для измельчения полимерных материалов и может использоваться, например, в резинотехническом производстве.

Известна установка для переработки изношенных автомобильных покрышек по патенту Российской Федерации 2017615 (опубл. 15.08.1994). Эта установка для переработки изношенных автомобильных покрышек имеет наклонный лоток с вертикальным участком, цилиндры с режущими поверхностями, расположенные с зазором В между режущими поверхностями, над которыми установлены сопла для подачи транспортирующе-охлаждающей жидкости в зону резания, а также два установленных с возможностью вращения вала для перематывания фильтрующей ткани над емкостью для сбора жидкости и скребки, счищающие продукт переработки с фильтрующей ткани.

В данной установке достигается уменьшение размера частиц продукта переработки при однократном процессе переработки, не требующем сложной системы сепарирования и транспортирования частиц на повторную переработку всего объема автопокрышек любых типов, в том числе и армированных металлическим кордом. Данная установка по переработке изношенных автопокрышек наиболее близка к предлагаемой.

Недостатком этой установки является низкая эффективность процесса переработки, связанная с тем, что автопокрышки подаются под собственной силой тяжести по лотку, также отрицательно влияет на переработку зазор между режущими цилиндрами, который способствует образованию крупных кусков автомобильной покрышки, что препятствует максимально полной переработке автопокрышки, наличие жидкостной системы охлаждения и транспортирования влечет к возникновению сложности при сборе готового продукта и с последующей ее очисткой для дальнейшего использования.

Предлагаемым изобретением решается задача повышения эффективности процесса переработки изношенных автопокрышек, качества получаемого готового продукта, метода сбора резиновой пудры.

Для достижения указанного технического результата в установке для переработки изношенных автомобильных покрышек подающее устройство заменено на устройство подачи – траверсу, горизонтально расположенные с зазором режущие абразивные цилиндры заменены абразивным измельчителем, имеющим форму усеченного конуса, закрепленного на вертикально вращающемся валу привода, система жидкостного охлаждения и транспортирования исключена.

Отличительными признаками предлагаемой установки для переработки изношенных автомобильных покрышек от указанной выше известной, наиболее близкой к ней, являются наличие устройства подачи изношенных автомобильных покрышек – траверсы, наличие расположенного вертикально абразивного измельчителя в форме усеченного конуса на валу привода, отсутствие системы охлаждения – транспортирования готового продукта.

Благодаря наличию этих признаков установка для переработки изношенных автомобильных покрышек позволит при работе осуществлять подачу автопокрышки упорами траверсы перпендикулярно оси вращения вала абразивного измельчителя, создающими необходимое усилие на вращающийся вертикально расположенный абразивный измельчитель в форме усеченного конуса.

В результате производительность установки возрастает, готовая продукция не содержит крупных не переработанных кусков автопокрышки, отсутствие системы охлаждения и транспортирования позволяет резиновую пудру отправлять на упаковку без дополнительных затрат энергии на ее просушивание.

Предлагаемая установка для переработки изношенных автомобильных покрышек иллюстрируется фиг.1 и 2.

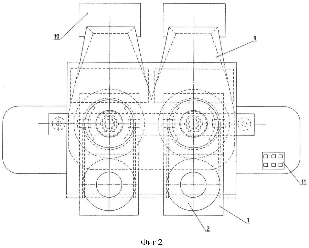
Установка для переработки изношенных автомобильных покрышек содержит устройство загрузки автомобильных покрышек 1, представляющее собой выдвижную каретку, оснащенную приводом для загрузки автопокрышки 2, абразивный измельчитель 6, закрепленный на валу привода абразивного измельчителя 7, расположенный в герметичном защитном корпусе 8, над которым расположено устройство подачи – упоры 4 траверсы, установленные на траверсе 3, перемещающиеся перпендикулярно оси вращения вала абразивного измельчителя за счет подъемного механизма 5 траверсы 3, диффузор 9, осуществляющий перемещение резиновой пудры в устройство приема резиновой пудры 10, пульт управления 11 процессом загрузки и переработки изношенных автомобильных покрышек.

Работа установка по переработке изношенных автомобильных покрышек осуществляется следующим образом. При нажатии на клавишу пульта управления 11 происходит выдвижение устройства загрузки-каретки 1, в которую помещается автомобильная покрышка 2, также посредством пульта управления 11 осуществляется перемещение каретки 1 с автопокрышкой в зону переработки. После загрузки при помощи пульта осуществляется подача покрышки 2 упорами траверсы 4 перпендикулярно оси вращения вала абразивного измельчителя 6, закрепленными на траверсе 3, посредством включения подъемного механизма 5 траверсы 3, непосредственно к абразивному измельчителю 6 имеющем форму усеченного конуса, закрепленному на вертикально-вращающемся валу привода абразивного измельчителя 7, расположенного в герметичном защитном корпусе 8. Резиновая пудра, полученная в процессе переработки автомобильной покрышки 2, скатываясь за счет центробежных сил вращения по гладкой поверхности герметичного корпуса 8 и диффузора 9, поступает в устройство приема резиновой пудры – контейнер 10.

Предлагаемая установка для переработки изношенных автомобильных покрышек повышает производительность и качество полученной резиновой пудры, позволяет получать различные размеры гранул резиновой пудры за счет изменения размеров зерна абразивного измельчителя при однократном процессе переработки, не требующем больших затрат времени, энергии, система водяного охлаждения, транспортирования и сепарирования резиновой пудры отсутствует, что позволяет осуществлять переработку автопокрышек всех типов, в том числе имеющих стальной корд и кевларовый бандаж.

Литература

1. Описание изобретения к патенту RU 2017615 С1.

2. Описание изобретения к патенту RU 2002631 С1.

Формула изобретения

Установка для переработки изношенных автомобильных покрышек, содержащая подающее устройство, абразивный измельчитель, отличающаяся тем, что абразивный измельчитель в форме усеченного конуса закреплен на вертикально вращающемся валу в герметически замкнутом корпусе с диффузором, над которым расположена траверса с упорами для возможности подачи автомобильных покрышек перпендикулярно оси вращения вала абразивного измельчителя, причем герметичный корпус выполнен с гладкой поверхностью для возможности скатывания продукта переработки через диффузор в приемник за счет центробежных сил вращения.

РИСУНКИ

Categories: BD_2383000-2383999