|
(21), (22) Заявка: 2008149405/02, 16.12.2008
(24) Дата начала отсчета срока действия патента:
16.12.2008
(46) Опубликовано: 10.03.2010
(56) Список документов, цитированных в отчете о поиске:
US 5272309 A, 21.12.1993. RU 2212067 C1, 10.09.2003. RU 2194615 C2, 20.12.2002. RU 2095206 C1, 10.11.1997. JP 63153514 A, 25.06.1988. JP 6155059 A, 03.06.1994. JP 1078122 A, 21.04.1986.
Адрес для переписки:
124482, Москва, г.Зеленоград, а/я 48, М.Ю.Андреевой
|
(72) Автор(ы):
Сапрыкин Леонид Григорьевич (RU), Кудрявцев Алексей Олегович (RU), Миленький Михаил Николаевич (RU)
(73) Патентообладатель(и):
Закрытое акционерное общество Научно-исследовательский институт Электронного специального технологического оборудования (RU)
|
(54) УСТРОЙСТВО ДЛЯ ЛАЗЕРНОЙ ОБРАБОТКИ МАТЕРИАЛОВ
(57) Реферат:
Изобретение относится к устройствам для лазерной обработки материалов и может быть использовано для сварки, пайки, резки металлов и сплавов, а также некоторых пластиков. Устройство содержит диодный лазерный источник излучения 1 с длиной волны 1, источник лазерного излучения 2 с длиной волны 2, коллиматор 3, поворотное зеркало 4, фокусирующую оптическую систему 5. Коллиматор 3 остановлен между диодным лазерным источником 1 и поворотным зеркалом и преобразует расходящийся пучок 6 диодного лазера в параллельный пучок 7, который в свою очередь поступает на поворотное зеркало 4, которое пропускает его, направляя на фокусирующую систему 5. Проходя через фокусирующую систему 5, пучок коллимированного излучения 7 падает на обрабатываемую поверхность 9. Источник лазерного излучения 2 генерирует пучок излучения 8 с длиной волны м. Указанный пучок излучения поступает на поверхность поворотного зеркала 4, отражается от него, поступая в фокусирующую систему 5, проходя через которую падает на обрабатываемую поверхность 9. Технический результат заключается в обеспечении возможности комбинации воздействия на обрабатываемую поверхность лазерных источников излучения с различными длинами волн, в получении на обрабатываемой поверхности пятен разной площади и с различной плотностью мощности, а также возможности изменения положения пятен друг относительно друга, что позволяет изменять режим обработки материала. 12 з.п. ф-лы., 3 ил.
Изобретение относится к устройствам для лазерной обработки материалов и может быть использовано для сварки, пайки, резки металлов и сплавов, а также некоторых пластиков.
В настоящее время известно устройство для лазерной обработки материалов по патенту РФ 2116180, МПК B23K 26/06, опубл. 27.07.1998 г., содержащее, по меньшей мере, два источника лазерного излучения и фокусирующую оптическую систему.
Получению требуемого технического результата препятствует использование различных фокусирующих систем для различных источников лазерного излучения.
Наиболее близким к изобретению по совокупности существенных признаков (прототипом) является техническое решение устройства для обработки металлических поверхностей лазерными пучками по патенту США 5272309 МПК B23K 26/00, опубл. 21.12.1993 г.
С существенными признаками заявляемого изобретения совпадают такие признаки прототипа, как наличие, по меньшей мере, двух источников лазерного излучения с различными длинами волн, один из которых выполнен в виде непрерывного лазерного источника излучения, фокусирующей оптической системы, поворотного зеркала, отражающего излучение с одной длиной волны и пропускающего с другой, направляющего излучения с различными длинами волн на фокусирующую оптическую систему.
Получению требуемого технического результата препятствуют недостаточные функциональные возможности устройства. Предлагаемые типы лазеров позволяют обрабатывать лишь ограниченный перечень материалов, воздействие лазерных источников на обрабатываемую поверхность управляется только по времени, но не пространственному положению пятен, образуемых источниками излучения, на обрабатываемой поверхности друг относительно друга.
Задачей, на решение которой направлено заявляемое изобретение, является создание устройства лазерной обработки материалов с расширенными функциональными возможностями режимов обработки материалов.
Технический результат заключается в обеспечении возможности комбинации воздействия на обрабатываемую поверхность лазерных источников излучения с различными длинами волн, в получении на обрабатываемой поверхности пятен разной площади и с различной плотностью мощности, а также возможности изменения положения пятен, друг относительно друга, что позволяет изменять режим обработки материала.
Для достижения вышеуказанного технического результата устройство для лазерной обработки материалов содержит, по меньшей мере, два источника лазерного излучения с различными длинами волн 1 и 2, первый из которых выполнен в виде диодного лазерного источника излучения с длиной волны 1, фокусирующую оптическую систему, поворотное зеркало, отражающее излучение с одной длиной волны и пропускающее с другой, направляющее излучения с различными длинами волн 1 и 2 на фокусирующую оптическую систему, причем между диодным лазерным источником и поворотным зеркалом установлен коллиматор.
Отличительными от наиболее близкого аналога (прототипа) признаками заявляемого изобретения являются следующие признаки: выполнение одного источника излучения в виде диодного лазерного источника излучения, установка коллиматора между диодным лазерным источником и поворотным зеркалом, отражающим излучение с одной длиной волны и пропускающим с другой.
В частном случае выполнения изобретения в устройстве для лазерной обработки материалов коллиматор выполнен с регулируемой расходимостью.
В частном случае выполнения изобретения в устройстве для лазерной обработки материалов поворотное зеркало выполнено с регулируемым углом отражения.
В частном случае выполнения изобретения в устройстве для лазерной обработки материалов поворотное зеркало выполнено пропускающим излучение в видимом диапазоне длин волн.
В частном случае выполнения изобретения устройство для лазерной обработки материалов дополнительно содержит, по меньшей мере, одно поворотное зеркало с регулируемым углом отражения, установленное между первым поворотным зеркалом и коллиматором и отражающее излучение диодного лазерного источника в направлении фокусирующей оптической системы. При этом дополнительное поворотное зеркало или дополнительные поворотные зеркала могут быть выполнены пропускающими излучение в видимом диапазоне длин волн.
В частном случае выполнения изобретения в устройстве для лазерной обработки материалов соотношение длин волн излучения лазерных источников 1/ 2=0,70-0,95.
В частном случае выполнения изобретения в устройстве для лазерной обработки материалов диодный лазерный источник излучения выполнен в виде диодного модуля с волоконным выходом излучения.
В частном случае выполнения изобретения в устройстве для лазерной обработки материалов диодный лазерный источник излучения выполнен в виде диода с волоконным выходом излучения.
В частном случае выполнения изобретения в устройстве для лазерной обработки материалов на оси фокусирующей оптической системы размещена система видеоконтроля.
В частном случае выполнения изобретения устройство для лазерной обработки материалов содержит два источника излучения, причем первый источник излучения выполнен в виде диодного лазерного источника с длиной волны 1=790-985 нм, а второй – в виде лазерного источника излучения с длиной волны 2=1030-1070 нм.
В частном случае выполнения изобретения в устройстве для лазерной обработки материалов в качестве второго лазерного источника излучения использован лазер с импульсной оптической накачкой.
В частном случае выполнения изобретения в устройстве для лазерной обработки материалов в качестве второго лазерного источника излучения использован лазер с непрерывной оптической накачкой.
Выполнение одного источника излучения в виде диодного лазерного источника излучения позволяет генерировать «точечный» источник лазерного излучения с расходящимся пучком с длиной волны 1. Установленный между диодным лазерным источником и поворотным зеркалом коллиматор преобразует расходящийся лазерный пучок в параллельный и направляет его в фокусирующую оптическую систему так, чтобы направление пучка с длиной волны 1 совпадало с направлением пучка от второго источника лазерного излучения с длиной волны 2, а максимальный размер поперечного сечения пучка с длиной волны 1 на входе в фокусирующую оптическую систему не превышал ее апертуру. Использование коллиматора регулируемой кратностью (расходимостью) позволяет изменять положение фокуса от диодного источника относительно обрабатываемой поверхности и тем самым изменять размеры пятна («глубину» фокусировки) излучения в зоне обработки и регулировать глубину прогрева материала. Использование поворотного зеркала с регулируемым углом отражения позволяет в плоскости обработки материала перемещать пятна от двух источников излучения длинами волны 1 и 2 относительно друг друга. Это позволяет, например, при шовной сварке (свариваемые детали при шовной сварке перемещаются относительно свариваемого пятна по направлению шва) смещать пятно от диодного лазерного источника относительно пятна второго лазера вдоль шва и таким образом осуществлять или предварительный нагрев зоны обработки (при смещении «впереди относительно направления движения) или отжиг (при смещении «назад»). Возможность регулирования расположения пятен позволяет, например, сваривать дисперсно-упрочняемые сплавы, требующие предварительного подогрева, или смягчить термоцикл для свариваемых металлов, за счет увеличения продолжительности нахождения метала в подогретом состоянии, и снимать напряжения, возникающие в шве и околошовной зоне.
При соотношение длин волн излучения лазерных источников 1/ 2=0,7-0,95 обеспечиваются минимальные потери на поворотном зеркале и оптические искажения (аберрации фокусирующего объектива).
Изобретение поясняется чертежами, где
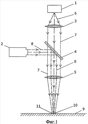
На фиг.1 представлена схема устройства с одним дихроичным зеркалом;
на фиг.2 представлена схема устройства с двумя дихроичными зеркалами.
На фиг.3 представлено расположение пятен от источников излучения на обрабатываемой поверхности,
Изобретение осуществляется следующим образом.
Устройство для лазерной обработки материалов содержит диодный лазерный источник излучения 1 с длиной волны 1, источник лазерного излучения 2 с длиной волны 2, коллиматор 3, поворотное зеркало 4, фокусирующую оптическую систему 5 (фиг.1, 2). Коллиматор 3 остановлен между диодным лазерным источником 1 и поворотным зеркалом и преобразует расходящийся пучок 6 диодного лазера в параллельный пучок 7. Источник лазерного излучения 2 генерирует пучок излучения 8 с длиной волны 2. Указанный пучок излучения поступает на поверхность поворотного зеркала 4, отражается от него, поступая в фокусирующую систему 5, проходя через которую падает на обрабатываемую поверхность 9, образуя на ней пятно 10 (рис.3). Диодный лазерный источник излучения 1 генерирует пучок излучения с длиной волны 1. Указанный пучок излучения попадает на коллиматор 3, где расходящееся излучение от диодного источника излучения преобразуется в коллимированное излучение 7, которое в свою очередь поступает на поворотное зеркало 4, которое пропускает его, направляя на фокусирующую систему 5. Коллиматор 3 формирует лазерный пучок 7 таким образом, чтобы направление распространения этого пучка после поворотного зеркала 4 при входе в оптическую систему 5 совпадало с направлением пучка источника лазерного излучения 2, а максимальный размер поперечного сечения пучка 7 на входе в оптическую систему 5 не превышал ее апертуру. Проходя через фокусирующую систему 5, пучок коллимированного излучения 7 падает на обрабатываемую поверхность 9, образуя на ней пятно 11 (рис.3).
В частном случае выполнения изобретения дополнительно содержится еще одно поворотное зеркало 12, установленное между первым поворотным зеркалом 4 и коллиматором 3 и отражающее излучение пучка 7 диодного лазерного источника в направлении фокусирующего объектива 5 (фиг 2).
В частном случае выполнения изобретения коллиматор 3 может быть выполнен с регулируемой кратностью, что позволят изменять расходимость пучка 7 и за счет этого изменять размер пятна 11 на обрабатываемой поверхности.
В частном случае зеркала 4 и 12 могут быть выполнены с регулируемым углом отражения. Это позволяет регулировать угол падения отраженного от зеркал излучения пучка 8 (фиг.1) или пучка 7 (фиг.2) на объектив 5 и за счет этого изменять относительно друг друга положение пятен 10 и 11 на обрабатываемой поверхности 9 (фиг.3).
В конкретных вариантах исполнения могут быть использованы одно линзовые или двух линзовые коллиматоры с фокусными расстояниями от 30 до 100 мм. Регулирование расходимости (кратности) осуществляется путем перемещения одной из линз коллиматора вдоль оптической оси.
В конкретных вариантах исполнения могут быть использованы диодные лазерные источники излучения, выполненные как в виде диодного чипа, так и в виде совокупности диодов с волоконным выходом излучения. В частности, могут быть использованы диоды с волоконным выходом FQ серии, диодные лазеры серии DLR с длинами волн в диапазонах 795-820 нм, 940-980 нм с выводом в оптическое волокно диаметром 100-400 микрон. Мощность лазерных диодов составляет 30-1000 Вт.
В качестве лазерных источников в устройстве могут быть использованы импульсные Nd:YAG твердотельные лазеры с ламповой накачкой с длиной волны излучения 1064 нм, непрерывные итербиевые волоконные лазеры с длиной волны излучения 1030-1070 нм. Лазерный источник излучения может быть выполнен с длиной волны 2 от 1030 до 1070 нм.
В устройстве могут быть использованы дихроичные 45-градусные поворотные зеркала, пропускающие более 95% излучение с длиной волны менее 980 нм и практически полностью отражающие излучение с длиной волны более 1030 нм. В качестве зеркала 12 (фиг.2) может быть использовано зеркало, полностью отражающее излучение диодного лазера. Наиболее оптимальные условия обработки материала достигаются при соотношении длин волн излучения лазерных источников 1/ 2=0,70-0,95, так как при данном соотношении длин волн одновременно обеспечиваются наименьшие потери на дихроичных зеркалах, минимальные аберрации фокусирующей системы 5 и эффективное взаимодействие лазерного излучения с обрабатываемым материалом. Выбор длин волн с указанным соотношением позволяет использовать в качестве фокусирующей система 5 относительно простые одно линзовые или двух линзовые объективы. Поворотные зеркала 4 и 12 прозрачны в видимом диапазоне спектра. Это позволяет использовать систему видеоконтроля, состоящую из объектива 14 и видеокамеры 15, для визуального контроля за процессом.
Устройство было использовано для гибридной сварки различных материалов. Испытания подтвердили, что конструкция предлагаемого устройства позволяет осуществлять широкий спектр различных режимов обработки материалов с высокой производительностью и качеством.
Формула изобретения
1. Устройство для лазерной обработки материалов, содержащее, по меньшей мере, два источника лазерного излучения с различными длинами волн 1 и 2, первый из которых выполнен в виде диодного лазерного источника излучения с длиной волны 1, фокусирующую оптическую систему и поворотное зеркало для отражения излучения с одной длиной волны, пропуска излучения с другой длиной волны и направления излучения с различными длинами волн 1 и 2 на фокусирующую оптическую систему, при этом между диодным лазерным источником и поворотным зеркалом установлен коллиматор.
2. Устройство для лазерной обработки материалов по п.1, отличающееся тем, что коллиматор выполнен с регулируемой расходимостью.
3. Устройство для лазерной обработки материалов по п.1, отличающееся тем, что поворотное зеркало выполнено с регулируемым углом отражения.
4. Устройство для лазерной обработки материалов по п.1, отличающееся тем, что поворотное зеркало выполнено пропускающим излучение в видимом диапазоне длин волн.
5. Устройство для лазерной обработки материалов по п.1, отличающееся тем, что дополнительно содержит, по меньшей мере, одно поворотное зеркало с регулируемым углом отражения, установленное между первым поворотным зеркалом и коллиматором и отражающее излучение диодного лазерного источника в направлении фокусирующей оптической системы.
6. Устройство для лазерной обработки материалов по п.5, отличающееся тем, что дополнительное поворотное зеркало или дополнительные поворотные зеркала выполнены пропускающими излучение в видимом диапазоне длин волн.
7. Устройство для лазерной обработки материалов по п.1, отличающееся тем, что отношение длин волн излучения лазерных источников 1/ 2=0,70-0,95.
8. Устройство для лазерной обработки материалов по п.1, отличающееся тем, что диодный лазерный источник излучения выполнен в виде диодного модуля с волоконным выходом излучения.
9. Устройство для лазерной обработки материалов по п.1, отличающееся тем, что диодный лазерный источник излучения выполнен в виде диода с волоконным выходом излучения.
10. Устройство для лазерной обработки материалов по п.1, отличающееся тем, что на оси фокусирующей оптической системы размещена система видеоконтроля.
11. Устройство для лазерной обработки материалов по п.1, отличающееся тем, что содержит два источника излучения, причем первый источник излучения выполнен в виде диодного лазерного источника с длиной волны 1=790-985 нм, а второй – в виде лазерного источника излучения с длиной волны 2=1030-1070 нм.
12. Устройство для лазерной обработки материалов по п.1 или 10, отличающееся тем, что в качестве второго лазерного источника излучения использован лазер с импульсной оптической накачкой.
13. Устройство для лазерной обработки материалов по п.1 или 10, отличающееся тем, что в качестве второго лазерного источника излучения использован лазер с непрерывной оптической накачкой.
РИСУНКИ
|