|
|
(21), (22) Заявка: 2008134437/03, 26.08.2008
(24) Дата начала отсчета срока действия патента:
26.08.2008
(46) Опубликовано: 10.03.2010
(56) Список документов, цитированных в отчете о поиске:
SU 1039555 A1, 07.09.1983. RU 2193447 C2, 27.11.2002. SU 667237 A1, 15.06.1979. SU 1505577 A1, 07.09.1989. FR 2467017 A3, 17.04.1981.
Адрес для переписки:
127018, Москва, 3-й пр-д Марьиной рощи, 40, ФГУП “НПО “ТЕХНОМАШ”, отд.701, А.В. Корнилову
|
(72) Автор(ы):
Моисеев Валерий Андреевич (RU), Андриенко Владимир Георгиевич (RU), Донченко Валерий Анатольевич (RU), Зарогатский Леонид Петрович (RU), Луценко Сергей Васильевич (RU)
(73) Патентообладатель(и):
Моисеев Валерий Андреевич (RU), Андриенко Владимир Георгиевич (RU), Зарогатский Леонид Петрович (RU)
|
(54) ПАРАБОЛИЧЕСКАЯ ВИБРОИМПУЛЬСНАЯ МЕЛЬНИЦА
(57) Реферат:
Изобретение относится к машинам для тонкого измельчения минералов и материалов растительного происхождения. Мельница содержит корпус с наружным конусом и размещенным на сферической опоре внутренним конусом с валом, на котором с помощью подшипника смонтирован приводной вибратор, а наружный и внутренний конусы снабжены бронями с разгрузочной зоной в нижней части мелющей камеры. Образующие броней в разгрузочной зоне мелющей камеры выполнены в виде параболы, касательные к которым в их середине проходят ниже центра сферы сферической опоры внутреннего дробящего конуса. Изобретение повышает степень измельчения материала и снижает энергозатраты. 2 ил.
Изобретение относится к машинам для тонкого измельчения минералов и материалов растительного происхождения и может быть наиболее широко использовано в производстве стройматериалов, в частности цемента.
Производство цемента и строительных смесей сопряжено с высокими эксплуатационными расходами, так как шаровые мельницы, используемые для этих целей, поглощают около 35 кВт·ч на 1 т продукта, крупность частиц которого мельче 0,071 мм. Кроме того, износ металла мелющих тел составляет в этом случае около 3 кг на 1 т продукта.
Затраты на процессы дробления и измельчения в экономическом балансе цементного завода поглощают 80% всех затрат. Поэтому создание мельниц, обеспечивающих энерго- и ресурсосбережение в этой отрасли является актуальной задачей.
Для снижения энергозатрат перед мельницами используют гидравлические пресс-валки, которые обеспечивают разрушение клинкера в толстом слое и снижают общие энергозатраты на 30%.
Существует новый тип машин, обладающих высокой степенью дробления: в среднем около 15. Мелющими телами этих машин являются конусы, а приводом внутреннего конуса – вибратор.
Известна конусная инерционная дробилка (патент США 4592517 от 03.06.1986 г.), включающая корпус с наружным конусом и опертый на сферическую опору внутренний конус с валом и размещенным на нем с помощью подшипника вибратором, подвешенным шарнирно к сферической опоре. Степень дробления такой дробилки не более 10, так как ее вибратор не может развивать дробящую силу, достаточную для получения порошков. Это объясняется тем, что подача масла в подшипник вибратора осуществляется снаружи в зазор между подшипниковой втулкой и валом конуса, то есть центробежная сила, направленная наружу, препятствует проходу в зазор масла. По этой причине такая дробилка может работать только для производства мелкого щебня и не может выступать в роли мельницы.
Известна принимаемая за прототип конусная инерционная дробилка (патент Франции 2467017 от 15.10.1979 г.), содержащая корпус с наружным конусом и размещенным на сферической опоре внутренним конусом с валом, на котором с помощью подшипника смонтирован приводной вибратор. Профиль броней конусов в разгрузочной параллельной зоне имеет образующую конической поверхности, исходящую из центра сферической опоры внутреннего конуса. Такой же профиль имеет предыдущий аналог.
Известная конструкция обеспечивает степень дробления до 15. Такое увеличение степени дробления возможно благодаря правильной подаче масла в подшипник вибратора, однако профиль дробящей полости не позволяет поднять степень дробления, что исключает использование такой машины в качестве мельницы.
Обе известные машины обеспечивают внутрислойное измельчение материала друг о друга. Однако материал внутри слоя разрушается за счет деформации сжатия и в минимальной степени за счет сдвига. Это объясняется коническим профилем дробящей полости и не позволяет использовать такую дробилку в качестве мельницы.
Задача настоящего изобретения – создание конструкции виброимпульсной дробилки-мельницы, которая обеспечивает степень измельчения до 30 и способна заменить шаровую мельницу при работе в замкнутом цикле.
Поставленная задача решена в параболической виброимпульсной мельнице, содержащей корпус с наружным конусом и размещенным на сферической опоре внутренним конусом с валом, на котором с помощью подшипника смонтирован приводной вибратор, а наружный и внутренний конусы снабжены бронями с разгрузочной зоной в нижней части мелющей камеры, в которой в соответствии с настоящим изобретением образующие броней в разгрузочной зоне мелющей камеры выполнены в виде параболы, касательные к которым в их середине проходят ниже центра сферы сферической опоры внутреннего дробящего конуса.
Предлагаемая конструкция из-за несовпадения параболической составляющей с центром сферической опоры создает условия не только сжатия слоя материала в разгрузочной зоне, но и сдвиг слоя, как в радиальном, так и в тангенциальном направлении. Такой эффект повышает степень измельчения вдвое в сравнении с прототипом.
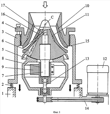
На фиг.1 показан продольный разрез предлагаемой мельницы, а на фиг.2 – увеличенный фрагмент разгрузочной зоны мелющей камеры.
Мельница содержит установленный на фундаменте 1 через эластичные амортизаторы 2 корпус 3 с наружным конусом 4 и размещенным на сферической опоре 5 внутренним конусом 6 с валом 7, на котором с помощью подшипника 8 смонтирован вибратор 9. Конусы 4 и 6 снабжены бронями 10 и 11 соответственно. Вибратор 9 соединен с двигателем 12 с помощью компенсационного вала 13 и клиноременной передачи 14. Нижняя часть броней 10 и 11 образует разгрузочную зону 15, сформированную параболическими образующими 16 и 17 упомянутых броней. Касательные к середине параболических образующих пересекают ось мельницы ниже центра «С» сферической опоры.
Мельница работает следующим образом. От двигателя 12 через клиноременную передачу 14 и компенсационный вал 13 крутящий момент передается вибратору 9, который получает вращение с помощью подшипника 8 на валу 7 и создает центробежную силу, заставляющую внутренний конус 6 совершать гирационное движение относительно центра «С» сферической опоры 5 внутреннего конуса 6.
Материал, поступающий самотеком из бункера в мелющую камеру, образованную бронями 10 и 11, разрушается внутри собственного слоя, друг о друга сжатием в момент сближения броней. При попадании материала в разгрузочную зону 15 между параболическими образующими 16 и 17 он подвергается не только сжатию, но и сдвигу как в радиальном, так и в тангенциальном направлении, что приводит к сдвиговым деформациям в слое материала и обеспечивает эффект перетирания частиц и почти вдвое повышает степень измельчения. Деформация сдвига сопровождается повышенным трением, которое носит дискретный характер. Некоторое торможение внутреннего конуса 6 при этом приводит к опережению вибратором 9 плоскости деформации слоя. При сбросе сопротивления вибратор сближается с упомянутой плоскостью, сила дробления при этом возрастает. Такие импульсы силы происходят примерно 60 раз за один оборот конуса, что придает деформации слоя импульсный характер, повышающий эффект дезинтеграции. Таким образом, при частоте вращения вибратора 1000 оборотов в минуту, что соответствует числу качаний внутреннего конуса, происходит 60 тысяч импульсных воздействий на слой или 1000 импульсов в секунду. Такое активное виброимпульсное разрушающее воздействие на слой позволяет получать при измельчении клинкера более 50% готового по крупности цемента, что близко к результатам работы шаровой мельницы. Однако при этом затраты энергии снижаются в 10 раз, а износ мелющих тел уменьшается в 50 раз.
Формула изобретения
Параболическая виброимпульсная мельница, содержащая корпус с наружным конусом и размещенным на сферической опоре внутренним конусом с валом, на котором с помощью подшипника смонтирован приводной вибратор, а наружный и внутренний конусы снабжены бронями с разгрузочной зоной в нижней части мелющей камеры, отличающаяся тем, что образующие броней в разгрузочной зоне мелющей камеры выполнены в виде параболы, касательные к которым в их середине проходят ниже центра сферы сферической опоры внутреннего дробящего конуса.
РИСУНКИ
|
|