|
|
(21), (22) Заявка: 2006141272/15, 13.05.2005
(24) Дата начала отсчета срока действия патента:
13.05.2005
(30) Конвенционный приоритет:
01.06.2004 IT RE2004A000066
(43) Дата публикации заявки: 20.07.2008
(46) Опубликовано: 10.03.2010
(56) Список документов, цитированных в отчете о поиске:
WO 03/076792 A1, 18.09.2003. US 6402943 B1, 11.06.2002. WO 0196731 A1, 20.12.2001. EP 0405447 A2, 02.01.1991. US 4522166 A, 11.06.1985.
(85) Дата перевода заявки PCT на национальную фазу:
09.01.2007
(86) Заявка PCT:
EP 2005/005386 20050513
(87) Публикация PCT:
WO 2005/118102 20051215
Адрес для переписки:
117342, Москва, ул. Миклухо-Маклая, 65, корп.4, кв.34, пат.пов. И.Л.Стояченко, рег. 23
|
(72) Автор(ы):
ДЖИРОНДИ Джиорджио (IT)
(73) Патентообладатель(и):
УФИ ФИЛТЕРЗ С.П.А. (IT)
|
(54) ТОПЛИВНЫЙ ФИЛЬТР ДЛЯ ДИЗЕЛЬНЫХ ДВИГАТЕЛЕЙ ВНУТРЕННЕГО СГОРАНИЯ
(57) Реферат:
Изобретение относится к фильтрующему блоку, предназначенному для использования с дизельными двигателями внутреннего сгорания, и, в частности, к фильтрующему блоку, снабженному комбинированным устройством для измерения параметров, которое позволяет контролировать и/или регулировать функциональные параметры двигателя. Блок содержит наружный корпус (2), пространство внутри которого разделено фильтрующей перегородкой (7) на две отдельные камеры. К камерам подведены соответственно входной топливопровод (4) и выходной топливопровод (5). Внутри корпуса смонтировано устройство (12), содержащее датчики (16) для измерения определенных параметров. Размещение всех датчиков внутри устройства позволяет легко и быстро заменять фильтр. Технический результат: снижение общей стоимости фильтрующего блока. 7 з.п. ф-лы, 3 ил.
Область техники.
Данное изобретение относится к фильтрующему блоку, предназначенному для использования с дизельными двигателями внутреннего сгорания, и, в частности, к фильтрующему блоку, снабженному комбинированным устройством для измерения определенных параметров, которое позволяет контролировать и/или регулировать функциональные параметры двигателя.
Уровень техники.
Для того чтобы современные дизельные двигатели работали правильно, требуется измерять большое количество параметров, например температуру дизельного топлива, или определять наличие воды, которая может присутствовать в топливном фильтре.
Из уровня техники известно, что некоторые параметры, которые необходимо измерить, определяют с помощью многочисленных отдельных устройств, соединенных с топливным фильтром. Например, известны устройства для обнаружения наличия воды в фильтре, устройства для измерения температуры топлива и устройства для регулирования температуры топлива внутри фильтра, предназначенные для облегчения пуска двигателя при неблагоприятных климатических условиях.
В настоящее время все эти устройства соединены с фильтром по отдельности и зачастую состоят из измерительных элементов и/или элементов контроля разового использования, то есть из элементов, которые заменяют вместе с фильтром и которые, в связи с этим, как правило, имеют низкое качество.
В документе DE 20115220 U1 раскрыт нагревательный блок, соединенный с фильтрующим топливоблоком. Нагревательный блок содержит входной канал для топлива и приспособления для нагрева, расположенные в удлиненной трубке, которую вставляют в корпус фильтрующего блока, при этом удлиненная трубка имеет головку, которую прикрепляют к корпусу фильтрующего блока извне для размещения электронных средств управления для приспособлений для нагрева. Электронные средства управления реагируют на сигналы датчиков, размещенных внутри трубки. Устройство, раскрытое в DE 20115220, обладает некоторыми недостатками, так как оно выходит за пределы фильтрующего блока, и для того чтобы использовать такое устройство с фильтрующим блоком, необходимо изменить дизайн блока.
Кроме того, при замене фильтра человек, производящий данную операцию, должен отсоединить все соединительные штекеры каждого датчика каждого отдельного устройства, чтобы затем снова присоединить их к датчикам, установленным на новом фильтре. Ввиду большого количества датчиков все это занимает много времени, и может явиться причиной неправильного соединения.
В связи с этим существует потребность в фильтрующем блоке, снабженном комбинированным устройством, которое содержит все необходимые для измерения рабочих параметров двигателя датчики и которое можно легко смонтировать при замене фильтра.
Раскрытие изобретения.
Цель данного изобретения состоит в том, чтобы удовлетворить вышеописанные требования в рамках простого, рационального и недорогого решения.
Этой цели достигают посредством создания фильтрующего блока в соответствии с п.1 формулы изобретения.
В частности, по данному изобретению создают фильтрующий блок для дизельных двигателей внутреннего сгорания, содержащий наружный корпус, внутренняя часть которого разделена фильтрующей перегородкой на две отдельные камеры, к которым соответственно подведены входной топливопровод и выходной топливопровод, причем внутри этого корпуса смонтировано устройство, выполненное с возможностью извлечения его извне корпуса, предназначенное для измерения определенных параметров двигателя, что необходимо для его правильной работы.
В зависимых пунктах формулы описаны наиболее предпочтительные варианты выполнения фильтрующего блока по данному изобретению.
Краткое описание чертежей.
Характерные особенности и конструкционные преимущества данного изобретения станут более очевидными после прочтения приведенного ниже описания, снабженного ссылками на сопроводительные чертежи, на которых изображен наиболее предпочтительный вариант выполнения, приведенный в качестве примера, не ограничивающего рамки изобретения.
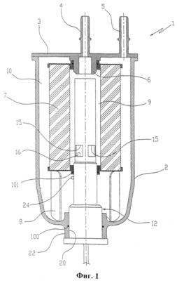
На Фиг.1 в вертикальном разрезе изображен фильтрующий блок по данному изобретению.
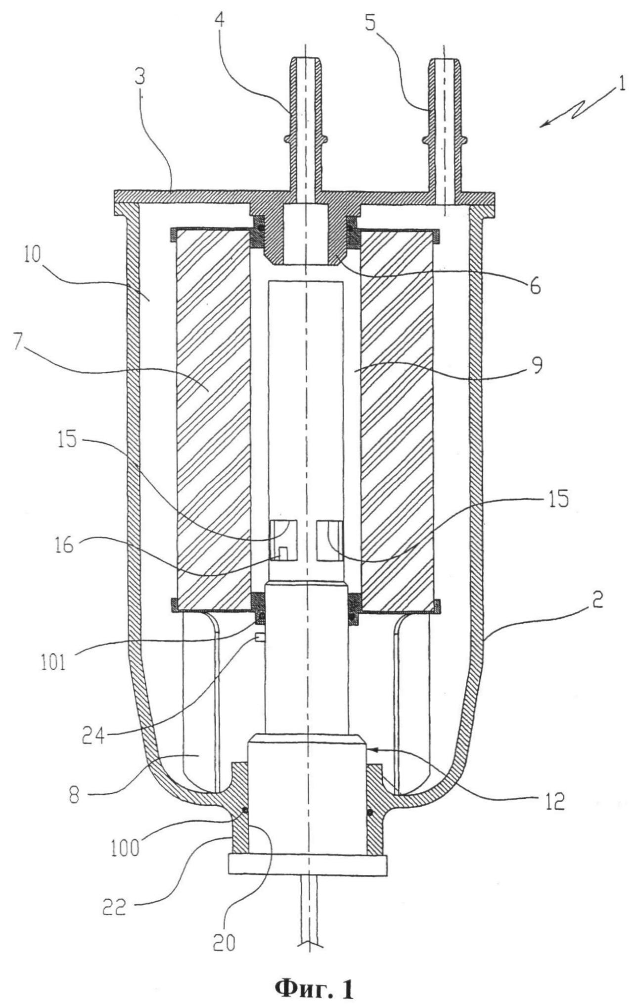
На Фиг.2 схематично изображено комбинированное устройство, которым снабжен блок по данному изобретению, в разрезе, выполненном вдоль линии II-II.
На Фиг.3 изображено комбинированное устройство в разрезе, выполненном вдоль линии III-III.
Предпочтительный вариант выполнения данного изобретения.
На чертежах представлен фильтрующий блок 1, содержащий чашеобразный наружный корпус 2, закрытый сверху крышкой 3, к которой подходят входной топливопровод 4 и выходной топливопровод 5.
Входной топливопровод 4, расположенный по центру, проходит ниже крышки, образуя ствол 6, предназначение которого будет разъяснено ниже.
Внутри корпуса 2 расположена тороидальная фильтрующая перегородка 7, закрепленная между нижним краем 8 и стволом 6, проходящим от крышки 3.
Фильтрующая перегородка 7 разделяет пространство внутри корпуса 2 на две отдельные камеры 9 и 10, при этом первая камера 9 соединена с входным топливопроводом 4 для топлива, поступающего для фильтрации, а вторая камера 10 соединена с выходным топливопроводом, предназначенным для отфильтрованного топлива.
Внизу корпуса 2 выполнен цилиндрический канал 20, в котором размещено устройство 12, содержащее датчики, предназначенные для измерения определенных параметров, что необходимо для правильной работы двигателя (не показан на чертежах), оснащенного фильтрующим блоком 1.
В показанном варианте выполнения устройство 12 содержит датчик для измерения температуры, устройство для подогрева топлива и датчик для обнаружения воды, скопившейся в нижней части корпуса 2.
Как показано, в частности, на Фиг.2 и 3, внешняя форма устройства 12 напоминает стержень, имеющий неравномерное по ширине поперечное сечение, который вставлен в корпус 2 и фильтрующую перегородку 7 с использованием уплотнений в виде сальников 100 и 101 и который проходит почти до ствола 6. Устройство 12 и фильтрующая перегородка 7 вместе задают камеры 9 и 10. Устройство 12 прикреплено к корпусу 2 посредством традиционного фиксирующего приспособления, которое не показано на чертежах, например, такого как штифт или установочный винт.
Внутри устройство 12 является полым и разделено на две отдельные части, при этом верхняя часть 13 расположена внутри камеры 9, а нижняя часть 14 находится в камере 10.
Верхняя часть 13, выполненная в форме стакана, открыта сверху и содержит два прямоугольных отверстия 15, выполненные в ее боковой поверхности.
Внутри части 13, рядом с отверстиями 15, расположен датчик 16 для измерения температуры топлива, причем этот датчик соединен с электронной платой управления 17, расположенной в нижней части 14 этого устройства.
Внутри верхней части 13 также расположено устройство 18 известного типа для подогрева, которое также соединено с электронной платой управления 17.
Устройство 12 также содержит датчики, которые определяют наличие избыточного количества воды, скопившейся в нижней части корпуса 2. В показанном варианте выполнения эти датчики содержат два индуктивных электрода 24, выходящих за внешнюю поверхность нижней части 14 устройства 12 и соединенных с платой управления 17.
Плата управления 17 соединена с системой контроля транспортного средства с помощью кабеля 19 для передачи данных.
Размещение всех датчиков внутри устройства 12 позволяет легко и быстро заменять фильтр. Для этого человек, производящий данную операцию, после удаления фиксирующего приспособления, которое не показано на чертежах, должен всего лишь извлечь устройство 12 из корпуса 2 и снова вставить его в корпус нового фильтрующего блока, что позволяет, таким образом, использовать компоненты более высокого качества.
Стоит также отметить, что устройство 12 благодаря конструкции, выполненной в виде стержня, обладает дополнительным преимуществом, так как его применение не требует демонтажа каких-либо компонентов датчиков, как это происходит в устройствах предшествующего уровня техники, что ведет к значительному снижению общей стоимости фильтрующего блока.
Наконец, в других вариантах выполнения устройство 12 может содержать датчики, количество и/или предназначение которых может отличаться от тех датчиков, которые были описаны выше.
Формула изобретения
1. Усовершенствованный одноразовый фильтрующий блок (1) для дизельных двигателей внутреннего сгорания, содержащий наружный корпус (2), пространство внутри которого разделено фильтрующей перегородкой (7) на первую камеру (9) и вторую камеру (10), к которым подведены соответственно входной топливопровод (4) и выходной топливопровод (5), при этом внутри корпуса расположено устройство (12), выполненное с возможностью извлечения, помещаемое в корпус (2) через цилиндрический канал (20), расположенный напротив входного и выходного топливопроводов (4, 5), при этом устройство (12) и фильтрующая перегородка (7) образуют камеры (9, 10), при этом устройство (12) имеет две отдельные части, при этом верхняя часть (13) полностью расположена внутри первой камеры (9), а нижняя часть (14) расположена внутри второй камеры (10) вблизи от цилиндрического канала (20), при этом в верхней части (13) расположены датчики (16, 18) для измерения параметров, необходимых для правильной работы двигателя, а в нижней части (14) расположен датчик (24) для определения уровня воды, скопившейся в нижней части корпуса (2), при этом все датчики (16, 18, 24) постоянно соединены с электронными средствами управления (17), которые встроены в устройство (12), выполненное с возможностью извлечения, при этом средства управления (17) соединены с системой контроля транспортного средства.
2. Фильтрующий блок (1) по п.1, отличающийся тем, что между устройством (12) и фильтрующей перегородкой (7) размещен уплотнительный сальник (101).
3. Фильтрующий блок (1) по п.1, отличающийся тем, что устройство (12) выполнено в форме стержня, имеющего неравномерное по ширине поперечное сечение.
4. Фильтрующий блок (1) по п.3, отличающийся тем, что верхняя часть (13) на внешней поверхности содержит, по крайней мере, одно отверстие (15) для поступления топлива.
5. Фильтрующий блок (1) по п.4, отличающийся тем, что электронные средства управления содержат электронную плату управления (17).
6. Фильтрующий блок (1) по п.1, отличающийся тем, что датчики (16) для измерения параметров, необходимых для правильной работы двигателя, содержат датчик (16) для измерения температуры топлива.
7. Фильтрующий блок (1) по п.1, отличающийся тем, что устройство (12) содержит устройство (18) для подогрева.
8. Фильтрующий блок (1) по п.1, отличающийся тем, что датчик (24) для определения уровня воды содержит два индуктивных электрода (24), выходящих за внешнюю поверхность нижней части (14) устройства (12).
РИСУНКИ
|
|