|
(21), (22) Заявка: 2006130827/13, 23.02.2005
(24) Дата начала отсчета срока действия патента:
23.02.2005
(30) Конвенционный приоритет:
23.02.2004 FR 0401757 24.09.2004 FR 0410125
(43) Дата публикации заявки: 27.03.2008
(46) Опубликовано: 10.03.2010
(56) Список документов, цитированных в отчете о поиске:
SU 1391524 А1, 30.04.1988. RU 2119279 C1, 10.03.2004. FR 1322981, 05.04.1963.
(85) Дата перевода заявки PCT на национальную фазу:
25.09.2006
(86) Заявка PCT:
FR 2005/000424 20050223
(87) Публикация PCT:
WO 2005/082175 20050909
Адрес для переписки:
191002, Санкт-Петербург, а/я 5, ООО “Ляпунов и партнеры”, пат.пов. Е.Г.Ильмер, рег. 1144
|
(72) Автор(ы):
ДЕОНД Ги (FR)
(73) Патентообладатель(и):
ДЕОНД Ги (FR)
|
(54) СПОСОБ ПАКОВКИ В КИПЫ ВОЛОКНИСТЫХ РАСТЕНИЙ, В ЧАСТНОСТИ ЛЬНА, КОНОПЛИ И СИЗАЛЯ
(57) Реферат:
Изобретение относится к сельскому хозяйству, в частности к переработке волокнистых растений в виде льна, конопли и сизаля. Способ включает последовательные этапы срезания корней растений и их семенных коробочек, укладки стеблей растений без корней и семенных коробочек на землю в рядки, частичное замачивание стеблей растений, сборку и сворачивание в кипы. После этапа сборки и перед этапом сворачивания производят разминание собранных стеблей для разламывания находящихся в них одеревеневших волокон. Также производят обдирание размятых стеблей для их очистки от фрагментов одеревеневших волокон и от костры с последующей горизонтальной укладкой обтрепанных таким образом волокон. Разминание осуществляют путем прохождения стеблей растений между, по меньшей мере, одним комплектом из двух параллельных цилиндров, установленных с возможностью вращения в противоположных направлениях и имеющих шлицы, частично входящие в зацепление друг с другом, причем при прохождении между цилиндрами стебли параллельны этим цилиндрам. Этап обдирания осуществляют в две последовательные стадии, в ходе каждой из которых стебли растений подвергают обдиранию вдоль одной половины их периферийного контура. Способ включает также этап, состоящий в утилизации фрагментов одеревеневших волокон и костры. Использование изобретения позволит повысить качество обработки сырья. 1 з.п. ф-лы, 4 ил.
Настоящее изобретение относится к способу паковки в кипы волокнистых растений, в частности льна, конопли или сизаля, указанные растения сложены на земле в рядки и, по меньшей мере, частично замочены, причем данный способ включает этапы сборки и сворачивания, по меньшей мере, частично замоченных растений.
Длинноволокнистые растения типа прядильного льна пакуют в кипы после замачивания на земле, а затем перевозят на участки для переработки, где их подвергают стандартным операциям трепания и чесания.
В настоящее время операцию сворачивания производят с цельными растениями, имеющими семенную коробочку и корень.
Однако применяемые в настоящее время технологии обработки длинноволокнистых растений нельзя считать в полной мере удовлетворяющими требованиям по причине того, что они предполагают необходимость выполнения большого объема промежуточных работ на этапе между паковкой в кипы и операциями, выполняемыми на участках для переработки.
Также они сопряжены со значительными потерями семян, которые обусловлены появлением вредителей в процессе замачивания на земле или многочисленными промежуточными работами, предшествующими операциям трепания и чесания.
Цель данного изобретения заключается в устранении вышеупомянутых недостатков. Для решения этой задачи предложен способ паковки в кипы волокнистых растений, в частности льна, конопли или сизаля, включающий последовательные этапы срезания корней растений и их семенных коробочек, укладки растений без корней и семенных коробочек на земле в рядки, частичное замачивание стеблей растений, сборку и сворачивание в кипы, причем после этапа сборки и перед этапом сворачивания производят разминание собранных стеблей для размалывания находящихся в них одеревеневших волокон, а также обдирание размятых стеблей для их очистки от фрагментов одеревеневших волокон и от костры с последующей горизонтальной укладкой обтрепанных таким образом волокон, при этом разминание осуществляют путем прохождения стеблей растений между по меньшей мере одним комплектом из двух параллельных цилиндров, установленных с возможностью вращения в противоположных направлениях и имеющих шлицы, по меньшей мере, частично входящие в зацепление друг с другом, причем при прохождении между цилиндрами стебли параллельны этим цилиндрам, а этап обдирания осуществляют в две последовательные стадии, в ходе каждой из которых стебли растений подвергают обдиранию вдоль одной половины их периферийного контура.
Благодаря реализации способа, согласно изобретению, операции трепания и чесания над волокнистыми растениями, упакованными в кипы, теперь могут быть выполнены легче и быстрее, нежели в случае стандартной паковки растений в кипы.
Это происходит по причине того, что операции трепания и чесания могут быть осуществлены независимо от операций обработки семенных коробочек и корней на других участках и в другое время.
После выполнения указанных этапов упакованные в кипы стебли волокнистых растений могут быть отправлены на участки для переработки, после того как они были подвергнуты предварительному трепанию.
Благодаря этому операции трепания и чесания, в дальнейшем подлежащие выполнению на участках для переработки, могут быть осуществлены легче, быстрее и с меньшими затратами, чем это делалось до настоящего времени.
Способ согласно изобретению также может включать дополнительный этап, состоящий в сборе фрагментов одеревеневших волокон и костры, для возможности их утилизации и использования в промышленности.
Предметом данного изобретения является также машина для паковки в кипы волокнистых растений, в частности, льна, конопли или сизаля, сложенных на земле в рядки и подвергнутых, по меньшей мере, частичному замачиванию, эта машина отличается тем, что она имеет устройство для сборки растений, подвергнутых, по меньшей мере, частичному замачиванию, у которых предварительно срезаны семенные коробочки и корни, устройство для разминания стеблей растений без семенной коробочки и корня с целью размалывания содержащихся в них одеревеневших волокон, устройство для обдирания перемятых стеблей с целью их очистки от фрагментов одеревеневших волокон и костры, устройство для горизонтальной укладки, обтрепанных таким образом волокон и устройство для сворачивания последних в виде кип.
Таким образом, машина в соответствии с изобретением обеспечивает предварительное трепание стеблей волокнистых растений перед их паковкой в кипы и, следовательно, позволяет упростить и ускорить выполнение операций обработки на соответствующих участках.
В соответствии с предпочтительным вариантом мнущее устройство может иметь по меньшей мере одну группу из двух цилиндров, расположенных параллельно один над другим, выполненных с возможностью вращения в противоположных направлениях и имеющих шлицы, по меньшей мере, частично входящие в зацепление друг с другом, причем разминание стеблей происходит при их прохождении между цилиндрами параллельно последним.
Обдирочное устройство может иметь два обдирных узла, каждый из которых обеспечивает обдирание одной половины периферийного контура стеблей.
Предпочтительно, чтобы каждый обдирочный узел имел два барабана, расположенных параллельно траектории движения обдираемых стеблей, каждый из которых образует канал постоянной ширины с размещенным между ними разделительным элементом, причем оба барабана имеют на своих боковых поверхностях продольные планки и могут вращаться в противоположных направлениях, для того чтобы их планки перемещались по существу вдоль половины длины стеблей, тем самым прижимая стебли к двум продольным боковым поверхностям разделительного элемента.
Для обеспечения равномерного обдирания всех стеблей растений желательно, чтобы продольные планки барабанов располагались в радиальном направлении и на равном расстоянии друг от друга, а также имели высоту, практически равную ширине каналов.
Кроме того, для обеспечения наилучшей защиты волокон стеблей планки, в соответствии с предпочтительным вариантом, изготавливают из мягкого материала, в частности из кожи или дерева.
Машина согласно изобретению может также иметь устройство для сбора фрагментов одеревеневших волокон и костры с целью их утилизации в промышленности.
В соответствии с особо предпочтительным вариантом машина согласно изобретению может иметь кабину оператора, расположенную спереди и в центральной части.
Благодаря этому оператор может четко обозревать пространство, находящееся перед ним и по сторонам машины.
Центральное расположение кабины можно выгодно использовать, предусмотрев в машине два паковочных узла, расположенных по обе стороны от ее продольной оси, каждый из которых имеет сборочное устройство, мнущее устройство, обдирочное устройство, укладывающее устройство для горизонтальной укладки и сворачивающее устройство.
Благодаря этому удастся достичь исключительно высокой часовой производительности машины с соответствующим значительным уменьшением стоимости паковки в кипы.
Ниже в качестве примера, не имеющего ограничительного характера, приводится описание одного из вариантов осуществления изобретения со ссылками на приложенные чертежи, где:
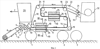
фиг.1 – схематический вид сбоку паковочной машины согласно изобретению, причем для большей простоты корпус машины здесь не показан;
фиг.2 – схематический вид сверху машины по фиг.1;
фиг.3 – схематический вид сбоку мнущего устройства в увеличенном масштабе; и
фиг.4 – схематический вид в увеличенном масштабе в разрезе по линии IV-IV на фиг.1.
Машина, схематически показанная на чертежах, разработана с целью паковки в кипы прядильного льна, сложенного на земле в рядки.
Однако совершенно очевидно, что машину также можно использовать для паковки других волокнистых растений, например конопли или сизаля.
Показанная на чертежах машина передвигается на передних колесах 1 и задних колесах 2 и в процессе сборки и паковки в кипы волокнистых растений перемещается в направлении, указанном стрелкой F.
Здесь следует подчеркнуть, что перед укладкой растений в рядки их семенные коробочки и корни были срезаны с целью облегчения и ускорения их замачивания.
Машина согласно изобретению приспособлена в особенности для паковки в кипы стеблей, остающихся после срезания семенных коробочек и корней растений прядильного льна.
Прежде всего, машина имеет сборочное устройство 3, находящееся в ее передней части, это устройство расположено симметрично относительно ее продольной оси и имеет стандартное конструктивное исполнение, описывать которое здесь нет необходимости.
Достаточно лишь указать, что сборочное устройство 3 рассчитано для одновременной сборки двух рядков и перемещения их в направлении стрелки А, то есть внутрь машины.
Также машина имеет мнущее устройство 4, расположенное сразу за сборочным устройством 3 и предназначенное для размалывания одеревеневших волокон, содержащихся в стеблях растений, образующих рядки.
В соответствии с вариантом осуществления, показанным на фиг.1 и 2, мнущее устройство 4 разделено на два одинаковых узла, расположенных симметрично относительно продольной оси машины, каждый из которых предназначен для разминания одеревеневших волокон стеблей, образующих один и тот же рядок.
Каждый мнущий узел имеет четыре группы из двух цилиндров 5, 6, расположенных параллельно один над другим и рассчитанных на вращение в противоположных направлениях под управлением стандартных приводных устройств, которые здесь не показаны.
Четыре группы двух цилиндров каждого из узлов установлены одни за другими на одинаковой высоте, тогда как направление вращения соответствующих цилиндров выбрано таким, чтобы они вращались в направлении стрелки В и таким образом стебли растений достигали бы задней части соответствующего сборочного устройства 3.
Фиг.3 иллюстрирует тот факт, что каждая из двух первых групп цилиндров имеет два цилиндра 5, оснащенных продольными шлицами 7, между тем как каждая из двух последних групп имеет два цилиндра 6, оснащенных продольными шлицами 8, причем цилиндры 6 имеют несколько меньший диаметр, чем цилиндры 5, а их шлицы 8 имеют меньшую глубину, чем шлицы 7.
Также следует заметить, что шлицы взаимодействующих цилиндров входят в зацепление друг с другом, причем такое шлицевое соединение предусмотрено для размалывания одеревеневших волокон, содержащихся в стеблях, по мере их перемещения в направлении стрелки В.
Разумеется, цилиндры обоих мнущих узлов могут быть идентичны друг другу, при этом заявленный в формуле объем изобретения должен быть сохранен.
В соответствии с представленным здесь вариантом осуществления верхние цилиндры 5, 6 имеют возможность регулирования по высоте с помощью стандартных устройств управления (здесь не показаны) с целью регулирования степени сцепления их шлицевого соединения со шлицами нижних цилиндров 5, 6 и обеспечения оптимальных условий разминания одеревеневших волокон, содержащихся в стеблях.
Кроме того, стебли во время движения через мнущие узлы направляются двумя стенками 9, находящимися напротив друг друга, так чтобы образовывался канал для движения стеблей и, таким образом, предотвращался их выброс в окружающее пространство.
При выходе из каждого мнущего узла стебли перемещаются к первому обдирочному узлу 10 при помощи двух ремней 11, 12, которые особенно хорошо видны на фиг.1.
На этом чертеже показано, что ремень 11 последовательно проходит через:
– шкив 13, находящийся рядом с нижним цилиндром последней группы цилиндров соответствующего мнущего узла;
– шкив 14, находящийся в задней части машины выше шкива 13, для того чтобы ветвь ремня, идущего между этими шкивами, располагалась горизонтально;
– шкив 15, находящийся над шкивом 14;
– шкив 16, находящийся в передней части машины выше шкива 15, для того чтобы ветвь ремня, идущего между этими шкивами, располагалась горизонтально;
– шкив 17, находящийся над шкивом 16;
– шкив 18, находящийся в задней части машины, фактически над шкивами 15 и 16; и
– шкив 19, находящийся сзади шкива 14 ниже последнего.
На фиг.1 также видно, что ремень 12 последовательно проходит через:
– шкив 20, находящийся в передней части машины на том же уровне, что и шкив 14, и немного сзади шкива 13;
– шкивы 14-18;
– шкив 21, находящийся сзади от шкива 18 и на более низком уровне;
– шкив 22, находящийся между шкивами 18 и 21, но на боле высоком уровне;
– шкив 23, находящийся над шкивом 18; и
– шкив 24, находящийся спереди от шкива 17 выше последнего.
Благодаря такому расположению ремни 11 и 12 соприкасаются друг с другом на отрезке их длины, проходящем от шкива 20 к шкиву 18 через шкивы 14-17.
Здесь необходимо отметить, что ремни 11 и 12 приводятся в движение в направлении, показанном стрелками (не имеют номера ссылки на фиг.1), с помощью стандартных приводных устройств (здесь не показаны).
При выходе стеблей из мнущего узла соответствующий ремень 11 транспортирует их к первому обдирочному узлу 10 сначала в одиночку, на отрезке от шкива 13 до шкива 20, а затем совместно с ремнем 12, на отрезке от этого шкива до обдирочного узла 10.
В процессе транспортировки стеблей ремнями 11 и 12 от одного из мнущих узлов до связанного с ним обдирочного узла стебли поддерживаются только в их центральной части, в результате чего они принимают форму перевернутой буквы U.
Если теперь обратиться к фиг.4, где представлена конструкция обдирочного узла 10, то можно видеть, что этот узел имеет два барабана 25, расположенных параллельно траектории движения подлежащих обдиранию стеблей 26, каждый из которых имеет продольные планки 27, располагающиеся в радиальном направлении и на равном расстоянии друг от друга, а также разделительный элемент 28, установленный между двумя барабанами и имеющий две продольные боковые поверхности 29, образующие вместе с каждым из этих барабанов канал 30 постоянной ширины.
Также на чертеже видно, что ветви ремней 11 и 12, транспортирующих стебли 26, расположены точно над наивысшим участком верхней поверхности разделительного элемента 28.
Два барабана 25 установлены таким образом, чтобы они могли вращаться в противоположные стороны под управлением приводного устройства (здесь не показано) в направлениях, показанных на фиг.4 стрелками C1, C2, с тем чтобы их продольные планки 27 перемещались вдоль, по существу, одной половины длины стеблей 26, прижимая их к двум боковым поверхностям 29 разделительного элемента 28.
Таким образом, планки 27 осуществляют обдирание стеблей 26 вдоль примерно половины их периферийного контура, что позволяет очистить их от первой части фрагментов одеревеневших волокон и костры.
Выходя из первого обдирочного узла, стебли растений захватываются в зоне их средней части ремнями 11 и 12, которые транспортируют их ко второму обдирочному узлу 10 такого же типа.
Однако, учитывая, что во время перемещения стеблей от шкива 14 к шкиву 15 они переворачиваются ремнями на 180°, продольные планки двух барабанов второго обдирочного узла также будут перемещаться вдоль, по существу, половины длины стеблей 26, но при этом по второй половине их периферийного контура.
Таким образом, второй обдирочной узел обеспечивает очистку стеблей от фрагментов одеревеневших волокон и от костры, которые не были удалены первым обдирным узлом.
Машина также имеет стандартное устройство 31, расположенное непосредственно за шкивом 21 и предназначенное для горизонтальной укладки стеблей, обтрепанных двумя обдирочными узлами 10, а также стандартное устройство 32, расположенное за устройством 31 и обеспечивающее сворачивание стеблей в кипы.
Здесь следует отметить, что машина имеет кабину 33 оператора, расположенную спереди и в центральной части, благодаря которой оператор получает возможность четкого обзора подлежащих сборке рядков и также пространства по сторонам машины.
В заключение следует указать, что описанная здесь машина в соответствии с предпочтительным вариантом осуществления может иметь устройство (здесь не показано) для сбора фрагментов одеревеневших волокон и костры, что дает возможность утилизации этих отходов в промышленности.
Формула изобретения
1. Способ паковки в кипы волокнистых растений, в частности льна, конопли или сизаля, включающий последовательные этапы срезания корней растений и их семенных коробочек, укладки стеблей растений без корней и семенных коробочек на землю в рядки, частичное замачивание стеблей растений, сборку и сворачивание в кипы, причем после этапа сборки и перед этапом сворачивания производят разминание собранных стеблей для разламывания находящихся в них одеревеневших волокон, а также обдирание размятых стеблей для их очистки от фрагментов одеревеневших волокон и от костры с последующей горизонтальной укладкой обтрепанных таким образом волокон, при этом разминание осуществляют путем прохождения стеблей растений между, по меньшей мере, одним комплектом из двух параллельных цилиндров, установленных с возможностью вращения в противоположных направлениях и имеющих шлицы, по меньшей мере, частично входящие в зацепление друг с другом, причем при прохождении между цилиндрами стебли параллельны этим цилиндрам, а этап обдирания осуществляют в две последовательные стадии, в ходе каждой из которых стебли растений подвергают обдиранию вдоль одной половины их периферийного контура.
2. Способ по п.1, отличающийся тем, что он включает этап, состоящий в утилизации фрагментов одеревеневших волокон и костры.
РИСУНКИ
|