|
(21), (22) Заявка: 2007133614/13, 01.02.2006
(24) Дата начала отсчета срока действия патента:
01.02.2006
(30) Конвенционный приоритет:
10.02.2005 CH 219/05
(43) Дата публикации заявки: 20.03.2009
(46) Опубликовано: 10.03.2010
(56) Список документов, цитированных в отчете о поиске:
ЕР 1076012 А, 14.02.2001. RU 2139229 C1, 10.10.1999. ЕР 1359097 A, 05.11.2003.
(85) Дата перевода заявки PCT на национальную фазу:
10.09.2007
(86) Заявка PCT:
CH 2006/000063 20060201
(87) Публикация PCT:
WO 2006/084402 20060817
Адрес для переписки:
129090, Москва, ул.Б.Спасская, 25, стр.3, ООО “Юридическая фирма Городисский и Партнеры”, пат.пов. А.В.Мицу, рег. 364
|
(72) Автор(ы):
КЕЛЛЕР Карл (CH), КУРТЦ Сильвия (CH)
(73) Патентообладатель(и):
МикроПаст ГмбХ (CH)
|
(54) СПОСОБ ОБЕСПЕЧЕНИЯ СОХРАННОСТИ ПИЩЕВЫХ ПРОДУКТОВ
(57) Реферат:
Согласно предложенному способу пищевые продукты, во влажном состоянии находящиеся в контейнере с вытяжным вентиляционным отверстием в течение ограниченного периода времени, нагреваются с помощью микроволн. Нагревание осуществляют до тех пор, пока в контейнере не образуется горячий пар, который выпускают через вытяжное вентиляционное отверстие. Далее, для частичной компенсации падения давления в контейнере в него по завершении нагрева впрыскивают газ. Причем газ впрыскивают с помощью канюли, посредством которой прокалывают одну из стенок контейнера. Предложенный способ позволяет сохранять пищевые продукты во влажном состоянии в контейнере длительное время. 27 з.п. ф-лы, 13 ил.
Настоящее изобретение относится к способу обеспечения сохранности, в частности, пастеризации пищевых продуктов, при котором пищевые продукты во влажном состоянии в контейнере, служащем в качестве транспортной и торговой упаковки, с вытяжным вентиляционным отверстием в течение ограниченного периода времени нагреваются с помощью микроволн, однако по меньшей мере до тех пор, пока в контейнере не образуется горячий пар и не выйдет через вытяжное вентиляционное отверстие.
Для дальнейшего использования при транспортировке и реализации вытяжное вентиляционное отверстие контейнера должно перекрываться, даже если оно совсем небольшое, с тем, чтобы избежать заражения продуктов питания бактериями, а также для предотвращения в случае необходимости вытекания жидкости из контейнера.
Способ вышеупомянутого рода известен, например, из публикации WO 2004/045985 А1. В известном способе используется контейнер с эластичным дном и эластичной упаковочной пленкой, в которой в качестве вытяжного вентиляционного отверстия установлен клапан. Клапан открывается при нагревании автоматически под действием возникающего при этом в контейнере повышенного давления и выпускает пар. Уже вскоре после нагревания клапан с началом охлаждения, а тем самым с падением давления, снова автоматически закрывается. В результате при дальнейшем охлаждении и конденсации пара происходит дальнейшее сильное падение давления, практически доходящее в контейнере до вакуума. Эластичное дно и эластичная упаковочная пленка под действием вакуума втягиваются внутрь и плотно закрывают собой пищевые продукты, находящиеся в контейнере.
Аналогичный эффект описывается в WO 00/03605А1, а в публикации WO 03/087993А1 даже используется для плотной и прочной обертки пищевых продуктов в особо эластичную упаковочную пленку.
Из ЕР 1076012 А1 известен способ приготовления пищевых продуктов, при котором они с помощью микроволн в течение ограниченного периода времени нагреваются во влажном состоянии в контейнере с частично эластичной упаковочной пленкой и редукционным клапаном, по меньшей мере только до тех пор, пока в контейнере не образуется пар и не выйдет через редукционный клапан. Этот известный способ в первую очередь предусмотрен и пригоден для того, чтобы выставлять пищевые продукты на продажу в контейнере сырыми в свежем виде и чтобы доводить их до полной готовности в том же контейнере в микроволновой печи уже у конечного потребителя непосредственно перед употреблением. В результате приготовления в микроволновой печи под действием пара и повышенного давления пищевые продукты всего за несколько минут исключительно щадящим образом доводятся из сырого состояния до состояния полной готовности, сохраняя при этом в самой большой степени свои питательные вещества, свою консистенцию, свой цвет и даже свой специфический вкус.
Однако создание вакуума в контейнере, как это было описано выше, в рамках такого применения было бы не совсем благоприятным. Именно свежеприготовленные пищевые продукты в результате прогиба упаковочной пленки при известных условиях оказались бы раздавленными, и из них могла бы даже быть выжата жидкость. Достигнутый именно этим способом весьма привлекательный внешний вид пищевых продуктов оказался бы под угрозой. Да и сам контейнер как таковой деформировался бы до невзрачности. Предмет ЕР 1076012 А1 решает эту проблему за счет особой формы выполнения редукционного клапана. Последний во время нагревания претерпевает изменения таким образом, что он после нагрева не может или по меньшей мере не может сразу же закрыться снова. Тем самым предотвращается создание в контейнере вакуума. Разрушение клапана в способе согласно ЕР 1076012 А1 не является проблемой, поскольку в этом случае пищевые продукты предусмотрены для употребления непосредственно после их приготовления. Да и контейнер рассчитан на одноразовое использование, и дальнейшей необходимости в нем нет. В то же время для достижения сохранности пищевых продуктов с помощью их подогрева уже на стадии изготовления перед транспортировкой и реализацией способ согласно ЕР 1076012 А1 из-за обусловленного им разрушения редукционного клапана оказался бы непригодным.
Для по меньшей мере частичного решения проблемы вакуума в способе согласно ЕР 1359097 А1 предлагается ограничивать действие микроволн при пастеризации настолько, чтобы возникающее пониженное давление не становилось бы достаточным для разрушения или полной деформации контейнера. Однако на практике это означает, что для эффективной пастеризации при более низкой температуре потребуется по меньшей мере на порядок больше времени, чем при способе согласно ЕР 1076012 А1, в результате чего преимущества, достигнутые с помощью способа приготовления в соответствии с ЕР 076 012 А1 и благодаря небольшому времени доведения до полной готовности, можно считать снова полностью утраченными.
Кроме того, известны решения, при которых вытяжное вентиляционное отверстие без клапана после нагревания специально закрывается, например, с помощью этикетки. При этом после закрытия, в принципе, можно было бы подождать, пока контейнер и пищевые продукты не охладятся в достаточной степени, а за счет вытяжного вентиляционного отверстия не произойдет выравнивания давления. Однако это заняло бы значительное время и отрицательно сказалось бы на эффективности темпов производства. Во время выравнивания давления в контейнер вместе с воздухом могли бы также проникнуть бактерии и оказать вредное воздействие на сохранность пищевых продуктов. Выравнивание давления в стерильной атмосфере защитного газа потребовало бы по меньшей мере существенных затрат на оборудование.
Можно предусмотреть, чтобы пищевые продукты у конечного потребителя перед употреблением разогревались и чтобы для этого снова использовались контейнер и те же микроволны. Поскольку пищевые продукты в результате предшествующего нагрева по меньшей мере частично уже были приготовлены, в этом случае, как правило, их достаточно только подогреть. В этой связи речь может идти также о регенерации в отличие от приготовления сырого продукта до его полной готовности. Однако при этом в контейнере могут возникнуть также проблемы с повышенным давлением. Пока есть автоматически открывающийся клапан, он может взять стравливание давления на себя. Как только вытяжное вентиляционное отверстие по достижении сохранности будет перекрыто, например, с помощью этикетки, автоматического стравливания давления в случае необходимости происходить больше не будет. Соответственно от конечного потребителя часто потребуется, чтобы он перед разогревом, например, протыкал контейнер или снова открывал закрытое вытяжное вентиляционное отверстие, например, удаляя наклеенную этикетку. Правда, уже известны этикетки, которые под действием тепла отваливаются сами и благодаря этому автоматически снова открывают вытяжное вентиляционное отверстие.
Наконец, в публикации ЕР 1359097 А1 в связи с уровнем техники упоминаются и другие способы, среди которых встречается нагрев контейнеров без вытяжных вентиляционных отверстий с использованием противодавления, которые, однако, являются недостаточно рациональными и требуют использования сложного и дорогостоящего оборудования.
В основу изобретения положена задача создания способа обеспечения сохранности, в частности, пастеризации пищевых продуктов, вышеупомянутого рода, при котором преимущества способа приготовления, известного из ЕР 1076012 А1, реализуются уже на стадии изготовления и, тем самым, перед транспортировкой и поступлением в продажу.
Эта задача согласно изобретению решается за счет признаков, указанных в формуле изобретения. В соответствии с этим сущность изобретения заключается в том, что для по меньшей мере частичной компенсации падения давления в контейнере в него по окончании нагрева впрыскивается газ.
Впрыскивание газа может быть произведено просто и быстро в течение нескольких секунд и при давлении в несколько бар, например, с помощью канюли. Для этого канюля в случае необходимости может быть введена через вытяжное вентиляционное отверстие. Однако предпочтительно канюлей протыкают стенку контейнера, и контейнер промывается газом, вытесняющим пар через вытяжное вентиляционное отверстие. Термически благоприятным является предварительное охлаждение впрыскиваемого газа.
Кроме того, предпочтительно, чтобы в качестве впрыскиваемого газа использовался газ, обедненный кислородом или не содержащий его вовсе, а вместе с ним, помимо пара, из контейнера вымывался также еще присутствующий в нем кислород, оказывающий особенно вредное воздействие на сохранность пищевых продуктов. Особенно хорошая сохранность достигается при использовании в качестве впрыскиваемого газа инертного газа, как-то: азот или газ с антибактериальным действием, как, например, углекислый газ СО2 или смесь обоих этих газов.
Герметизация отверстия, образовавшегося в стенке контейнера в результате ее прокола для впрыскивания газа, если это потребуется, может осуществляться простейшим образом, например, путем нанесения на стенку контейнера этикетки.
Нанесением этикетки можно было бы герметизировать и вытяжное вентиляционное отверстие, если для него не используется клапан, автоматически открывающийся при избыточном давлении и также автоматически снова закрывающийся после падения этого избыточного давления. Однако даже в этом случае, например, для абсолютно надежного перекрытия клапана, предпочтительно закрывать этикеткой и его. Если автоматическое открывание упаковки необходимо для сброса давления при регенерации, можно использовать этикетку, отстающую под действием тепла.
Однако по сравнению с этикеткой, отстающей при нагревании, клапан имеет все же то преимущество, что он во время хранения, транспортировки и/или реализации пищевых продуктов делает возможным, например, их обезгаживание. Однако после обычной пастеризации ферментативная активность пищевых продуктов в качестве причины газообразования, как правило, выражена очень слабо.
При необходимости заклеить оба отверстия предпочтительно использовать одну и ту же этикетку. В этом случае оба отверстия должны находиться не слишком далеко друг от друга.
Для применения в рамках изобретения годятся, в частности, клапаны, описанные в ЕР 1076012 А1 или ЕР 1359097 А1, которые, правда, не должны разрушаться под действием тепловых нагрузок, возникающих, в частности, при нагревании. Эти клапаны имеют соответствующее, а благодаря постоянству формы корпуса клапана и постоянное аэродинамическое сопротивление, не изменяющееся под действием возникающих нагрузок.
Определенное и более или менее постоянное аэродинамическое сопротивление важно для того, чтобы результат процесса обеспечения сохранности был предсказуемым в узком диапазоне допусков и воспроизводимым. При использовании хотя бы одного только простого вытяжного вентиляционного отверстия без функции клапана оно должно иметь определенное, по возможности неизменное сечение.
В рамках способа согласно изобретению возможно, а также предпочтительно использовать свежие пищевые продукты в сыром виде. В этом случае для доведения их до полной готовности и для обеспечения им достаточной сохранности при нагревании в контейнере температура должна быть доведена до 100°С в паре и 80°С в сердцевине пищевых продуктов. В случае микроволн, применяемых согласно изобретению, это достигается в зависимости от веса продукта за 1-7 минут.
Чтобы контейнер мог быть гарантированно использован для этого, он должен быть в состоянии выдерживать при нагреве температуры до 150°С и/или повышенные давления до 1,5 бара.
Для того чтобы высокие температуры и/или давления вообще могли быть достигнуты при нагревании, живое поперечное сечение вытяжного вентиляционного отверстия не должно быть слишком большим. Образующийся пар должен до известной степени скапливаться в контейнере. Это достигается, например, при величине живого поперечного сечения вытяжного вентиляционного отверстия порядка 1-20 мм2, предпочтительно 3-7 мм2.
Контейнеры, известные из ЕР 1076012 А1, удовлетворяют вышеприведенным требованиям и поэтому могут быть также использованы в рамках данного изобретения. Их упаковочная пленка имеет толщину 40-200 мкм. Возможно также использование контейнеров в виде пакетов, целиком выполненных из пластмассовой пленки, или контейнеров в виде твердой пластмассовой тарелочки с жесткой крышкой. Последние могут быть изготовлены из непластифицированной синтетической пленки или литьем под давлением и иметь толщину 600-3000 мкм. Вес упаковок может колебаться от 10 г для отдельных порций до 5000 г в виде бочкотары для крупных потребителей.
Пищевые продукты перед укладкой в контейнер могут быть также полностью или частично уже предварительно приготовлены и/или баланшированы.
Благодаря впрыскиванию газа, обедненного вредным для сохранности пищевых продуктов кислородом, последний, как об этом уже говорилось, по меньшей мере частично может быть удален из контейнера. Дополнительное содействие этому сокращению количества кислорода может быть оказано за счет упаковки пищевых продуктов в контейнеры при уже пониженном давлении или в обедненной кислородом атмосфере защитного газа.
Как это само по себе принято, контейнеры с пищевыми продуктами, прошедшими в целях обеспечения сохранности обработку согласно изобретению, для дальнейшего хранения, транспортировки и реализации подвергаются последовательному охлаждению при температурах охлаждения 1-8°С.
В соответствии с другим предпочтительным вариантом осуществления изобретения нагрев происходит при прохождении контейнера через микроволновый тоннель или микроволновую камеру.
За микроволновым тоннелем, предпочтительно непосредственно, следует участок для впрыскивания, на котором впрыскивание газа также осуществляется в процессе прохождения. На участке для впрыскивания, предпочтительно сразу же после впрыскивания газа, происходит еще и нанесение этикетки (или этикеток), хотя и для этого, в принципе, мог бы быть предусмотрен собственный участок.
Для транспортировки контейнера через микроволновый тоннель и участок для впрыскивания с успехом применяется транспортное устройство. В целях рационализации способа контейнеры могут проходить микроволновый тоннель и/или участок для впрыскивания параллельно в несколько рядов.
Ниже изобретение более подробно поясняется на основании примеров выполнения изобретения со ссылкой на чертежи, на которых
фиг.1а изображает контейнер, пригодный для использования в рамках способа согласно изобретению, с клапаном в качестве вытяжного вентиляционного отверстия и с пищевыми продуктами перед их обработкой с целью обеспечения их сохранности;
фиг.1b – клапан в соответствии с фиг.1а, в увеличенном виде;
фиг.2а – контейнер в соответствии с фиг.1а во время нагревания с помощью микроволн, направленных с двух сторон;
фиг.2b – клапан в соответствии с фиг.2а, в увеличенном виде;
фиг.3 – тот же клапан, что и на фиг.1 или 2, после повторного охлаждения и конденсации пара, возникшего при нагреве, в соответствии с уровнем техники;
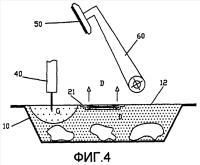
фиг.4 – впрыскивание газа в контейнер с помощью канюли после нагрева в соответствии с фиг.2;
фиг.4а – предпочтительная форма выполнения острия канюли в увеличенном изображении;
фиг.5 – закрытие отверстия, проколотого канюлей в соответствии с фиг.4, с помощью этикетки;
фиг.6 – контейнер, как на предшествующих фиг., с пищевыми продуктами, приготовленными с обеспечением сохранности, согласно изобретению;
фиг.7 – другой контейнер, пригодный для использования в рамках способа согласно изобретению, с простым вытяжным вентиляционным отверстием и с пищевыми продуктами в фазе, соответствующей фиг.4, причем газ впрыскивается через вытяжное вентиляционное отверстие с помощью канюли;
фиг.8 – контейнер, как на фиг.7, после извлечения канюли и закрытия вытяжного вентиляционного отверстия с помощью этикетки;
фиг.9 – контейнер с пищевыми продуктами в соответствии с фиг.8, причем, однако, с помощью канюли был осуществлен прокол рядом с вытяжным вентиляционным отверстием, а этикетка для герметизации проколотого отверстия соответственно увеличена;
фиг.10 – устройство для автоматического осуществления способа согласно изобретению.
На фиг.1 изображен пластмассовый контейнер в виде тарелочки с краем 11 по окружности, на который также по окружности наварена упаковочная пленка 12. В случае упаковочной пленки речь может идти при необходимости о многослойной пластмассовой пленке толщиной в диапазоне 40-220 мкм. В упаковочной пленке 12 предусмотрено вытяжное вентиляционное отверстие 20, образуемое клапаном 21, автоматически открывающимся при избыточном давлении и так же автоматически снова закрывающимся при падении избыточного давления, как это в принципе известно из ЕР 1359097. В контейнере 10 находятся пищевые продукты 30, имеющие определенную собственную влажность и являющиеся, например, еще свежими в сыром виде.
На фиг.1b изображен клапан 21 в увеличенном виде. Он выполнен из пластмассы и имеет постоянный по форме корпус 22, в котором имеется несколько отверстий 23. Отверстия 23 герметизируются с помощью эластичной мембраны 24, удерживаемой в определенном положении с помощью распорки 25. Уплотняющее действие мембраны 24 поддерживается за счет герметизирующей смазки, находящейся в первую очередь в пазу 26.
На фиг.2а изображен контейнер 10 во время нагревания с помощью микроволн М для обеспечения сохранности пищевых продуктов 30, причем из влаги, содержавшейся в пищевых продуктах 30, образовался пар D, создавший в контейнере 10 повышенное давление Р>. Под действием этого повышенного давления Р>клапан 21 открылся, так что пар D может выходить из контейнера 10. К тому же под действием повышенного давления Р>упаковочная пленка 12 вздувается.
На фиг.2b показан клапан 21 по фиг.2а в открытом состоянии с эластично прогнувшейся мембраной 24.
Если контейнер 10 на фиг.2а после нагрева предоставить самому себе, то с началом повторного охлаждения, с ослаблением активности образования пара и с повторным падением давления клапан 21 рано или поздно снова закроется, и вслед за этим в результате дальнейшего охлаждения и, в первую очередь, в результате обусловленной этим конденсации еще имеющегося пара в контейнере 10 возникнет значительное разрежение Р<, как это известно из вышеупомянутого уровня техники, На фиг.3 изображен контейнер 10 с упаковочной пленкой 12, прогнувшейся под действием этого разрежения Р<.
Настоящее изобретение противодействует созданию такого разрежения за счет впрыскивания в контейнер 10 газа G. На фиг.4 это осуществляется через канюлю 40, с помощью которой упаковочная пленка 12 (как самая тонкая стенка контейнера) просто протыкается. Предпочтительно контейнер 10 при вытеснении пара D через клапан 21 также промывается газом G. Газ G впрыскивается, например, при повышенном давлении порядка 1-5 бар, предпочтительно 3 бар. В этом случае достаточно промыть контейнер в течение 1-20 сек, предпочтительно примерно 8 сек.
В качестве газа предпочтительно применяется смесь азота с углекислым газом СО2 в объемном отношении 80:20 – 70:30, причем газ G предпочтительно еще и предварительно охлаждается до температуры ниже 12°С.
Чтобы разрежение Р<в контейнере 10 не могло создаваться даже на время, впрыскивание газа G должно происходить относительно быстро, однако по возможности в течение 150 сек после прекращения нагрева.
На фиг.4а изображена предпочтительная форма выполнения острия канюли 40 в увеличенном виде. Здесь собственно острие выполнено в форме четырехгранника с острыми гранями, отшлифованными для облегчения прокола. Над отшлифованным участком радиально по окружности расположены четыре выходных отверстия для газа G. При такой форме достигается особенно равномерная и эффективная промывка контейнера газом.
На фиг.5 изображен контейнер 10 после впрыскивания газа G, причем канюля 40 снова уже извлечена из контейнера 10. Теперь в контейнере действует давление, примерно равное атмосферному, что заметно по плоской форме упаковочной пленки. Повышенное давление, в любом случае создаваемое в контейнере 10 в результате впрыскивания газа G, могло стравливаться через клапан 21 и/или через отверстие 13, проделанное канюлей 40 в упаковочной пленке 12. После выравнивания давления клапан 21 мог снова закрываться.
Чтобы клапан 21 мог снова плотно закрыться, в конструкции клапана, представленной на фиг.1b, вышеупомянутая герметизирующая смазка не должна – по меньшей мере полностью – вымываться при прохождении горячего пара через клапан 21 во время нагревания. Для этого предпочтительно, чтобы герметизирующая смазка представляла собой силиконовое масло и/или имела вязкость (при 20°С) порядка 1000-20000 спз, и/или присутствовала в количестве 4-8 мг.
Для полного повторного закрытия контейнера 10 отверстие 13 прокола в упаковочной пленке 12, как это также показано на фиг.5, дополнительно герметизируется нанесением этикетки 50.
Для нанесения этикетки 50 служит изображенный на фиг.5 штемпель 60, забирающий этикетку 50 в положении, представленном на фиг.4, например, с устройства, подающего этикетку (на фиг.не показано), и удерживающий ее с помощью присоски вплоть до нанесения на контейнер 10.
Штемпель 60 откидывается, что имеет то преимущество, что контейнеру 10 после извлечения канюли 40 (в данном случае по прямой линии) не нужно сдвигаться с места для нанесения этикетки 50. Поэтому нанесение этикетки 50 возможно сразу же после извлечения канюли 40 и гарантировано даже в том случае, если контейнер транспортируется, например, с помощью ленточного конвейера транспортного устройства, и этот конвейер неожиданно останавливается. Само собой разумеется, что в качестве альтернативы или дополнения и сама канюля 40 может перемещаться нелинейно.
Нанесение этикетки 50 по возможности должно производиться сразу же после изъятия канюли 40 с тем, чтобы бактерии извне не смогли проникнуть в контейнер 10. Допустимый интервал времени между впрыскиванием газа и нанесением этикетки 50 составляет 60 сек.
На фиг.6 изображен контейнер 10 с пищевыми продуктами 30, прошедшими обработку согласно изобретению, обеспечивающую их сохранность, в атмосфере газа G при атмосферном давлении, с наклеенной этикеткой 50. В таком виде контейнер может выполнять роль упаковки для транспортировки и реализации и в дальнейшем подвергается обычному последовательному охлаждению при температурах охлаждения в диапазоне 1-8°С.
На фиг.7-9 изображена альтернативная форма выполнения изобретения с контейнером 10, который вместо клапана снабжен более простым в исполнении вытяжным вентиляционным отверстием 20 в упаковочной пленке 12. Правда, вытяжное вентиляционное отверстие 20 имеет по аналогии с клапаном 21 корпус 27 постоянной формы с определенным отверстием 28 и потому с определенным аэродинамическим сопротивлением, которые в случае возникновения нагрузок при нагревании, если и изменяются, то по меньшей мере несущественно. После впрыскивания газа G отверстие 28 должно специально закрываться, что опять же может быть осуществлено с помощью этикетки.
В примере на фиг.7 газ G впрыскивается в контейнер 10 с помощью канюли 40 прямо через отверстие 28, благодаря чему дополнительного отверстия от прокола не появляется. В этом случае для закрытия контейнера достаточно нанесения на отверстие 28 одной этикетки 51. Недостатком этого варианта является то, что контейнер 10 не может так же эффективно промываться газом.
Правда, прокол в контейнере 10 можно также проделать не очень далеко от вытяжного вентиляционного отверстия 20 или 28. В этом случае промывка может быть более эффективной, а контейнер 10 в случае необходимости можно герметизировать за счет несколько большей этикетки 52, как это показано на фиг.9.
На фиг.10 также изображено устройство для автоматического осуществления способа согласно изобретению с помощью транспортного устройства 70 с ленточным конвейером 71, проходящим через микроволновый тоннель 80, а также участок 90 для впрыскивания. С помощью ленточного конвейера 71 через микроволновый тоннель 80, а также участок 90 для впрыскивания может, как это показано на фиг., транспортироваться множество контейнеров 10. В микроволновом тоннеле 80 происходит вышеописанное нагревание контейнеров 10 и содержащихся в них пищевых продуктов с помощью микроволн, а на участке 90 впрыскивания осуществляются вышеописанное впрыскивание газа, а также нанесение этикетки (или этикеток). Устройство на фиг.10 может быть сконструировано таким образом, чтобы через микроволновый тоннель 80 и участок 90 для впрыскивания транспортировались несколько контейнеров 10 одновременно в несколько рядов.
ПЕРЕЧЕНЬ ССЫЛОЧНЫХ ПОЗИЦИЙ
10 контейнер
11 край контейнера
12 упаковочная пленка
13 отверстие от прокола
20 вытяжное вентиляционное отверстие
21 клапан
22 корпус клапана
23 отверстия в корпусе клапана
24 мембрана
25 распорка
26 паз для герметизирующей смазки
27 корпус стабильной формы
28 отверстие в корпусе стабильной формы
30 пищевые продукты
40 канюля
41 выходные отверстия
50 этикетка
51 этикетка
52 этикетка
60 штемпель
70 транспортное устройство
71 ленточный конвейер
80 микроволновый тоннель
90 участок для впрыскивания
D пар
G газ
P>повышенное давление
P<пониженное давление
Формула изобретения
1. Способ обеспечения сохранности, при котором пищевые продукты во влажном состоянии в контейнере, служащем в качестве транспортной и торговой упаковки, с вытяжным вентиляционным отверстием в течение ограниченного периода времени нагревают с помощью микроволн, однако, по меньшей мере, до тех пор, пока в контейнере не образуется горячий пар и не выйдет через вытяжное вентиляционное отверстие, отличающийся тем, что для, по меньшей мере, частичной компенсации падения давления в контейнере в него по завершении нагрева впрыскивают газ, причем газ впрыскивают с помощью канюли, посредством которой прокалывают одну из стенок контейнера.
2. Способ по п.1, отличающийся тем, что в качестве газа используют газ, не содержащий кислорода, и/или азот, и/или углекислый газ СО2, однако, предпочтительно смесь азота с углекислым газом СО2 в объемном отношении 80:20-70:30.
3. Способ по п.1 или 2, отличающийся тем, что газ впрыскивают при повышенном давлении 1-5 бар, предпочтительно 3 бара.
4. Способ по п.1, отличающийся тем, что впрыскиваемый газ предварительно охлаждают до температуры 12°С.
5. Способ по п.1, отличающийся тем, что газ впрыскивают в течение 150 с после прекращения нагревания.
6. Способ по п.1, отличающийся тем, что газ впрыскивают в течение 1-20 с, предпочтительно 8 с.
7. Способ по п.1, отличающийся тем, что контейнер промывают газом, вытесняющим пар через вытяжное вентиляционное отверстие.
8. Способ по п.1, отличающийся тем, что в качестве стенки контейнера, прокалываемой с помощью канюли, в случае необходимости используют многослойную пластмассовую пленку толщиной в диапазоне 40-220 мкм.
9. Способ по п.1 или 8, отличающийся тем, что отверстие от прокола в стенке контейнера после извлечения канюли герметизируют.
10. Способ по п.9, отличающийся тем, что герметизацию отверстия от прокола осуществляют нанесением на стенку контейнера этикетки.
11. Способ по п.1, отличающийся тем, что вентиляционное отверстие герметизируют после впрыскивания газа.
12. Способ по п.11, отличающийся тем, что вытяжное вентиляционное отверстие используют в качестве клапана, автоматически открывающегося при избыточном давлении и автоматически снова закрывающегося после падения избыточного давления.
13. Способ по п.12, отличающийся тем, что используют клапан со смазкой в качестве герметизирующего средства, причем смазкой предпочтительно служит силиконовое масло с вязкостью при 20°С порядка 1000-20000 сП и/или в количестве 4-8 мг.
14. Способ по п.10, отличающийся тем, что герметизацию вытяжного вентиляционного отверстия осуществляют путем нанесения этикетки.
15. Способ по п.10 или 14, отличающийся тем, что для герметизации отверстия от прокола и вытяжного вентиляционного отверстия используют одну и ту же этикетку.
16. Способ по п.10, отличающийся тем, что нанесение этикетки осуществляют в течение максимум 60 с после завершения впрыскивания газа.
17. Способ по п.1, отличающийся тем, что при нагревании в контейнере температуру по меньшей мере 100°С в паре и/или 80°С в сердцевине пищевых продуктов создают в течение максимум 7 мин.
18. Способ по п.1, отличающийся тем, что нагревание осуществляют при прохождении контейнера через микроволновый тоннель или микроволновую камеру.
19. Способ по п.1, отличающийся тем, что впрыскивание газа производят при прохождении контейнера через участок для впрыскивания.
20. Способ по п.10 или 14, отличающийся тем, что нанесение этикетки или этикеток также производят при прохождении контейнера через участок для впрыскивания.
21. Способ по п.18 или 19, отличающийся тем, что контейнер транспортируют через микроволновый тоннель и участок для впрыскивания с помощью транспортного устройства.
22. Способ по п.21, отличающийся тем, что используют транспортное устройство, рассчитанное на одновременную транспортировку нескольких контейнеров одновременно в несколько рядов.
23. Способ по п.1, отличающийся тем, что пищевые продукты упаковывают в контейнер свежими в сыром виде.
24. Способ по п.1, отличающийся тем, что пищевые продукты упаковывают в контейнер при пониженном давлении и/или атмосфере защитного газа с пониженным содержанием кислорода.
25. Способ по п.1, отличающийся тем, что контейнер после впрыскивания газа подвергают последовательному охлаждению в диапазоне температур охлаждения 1-8°С.
26. Способ по п.1, отличающийся тем, что используют контейнер, который при нагревании в состоянии выдержать температуры до 150°С.
27. Способ по п.1, отличающийся тем, что используют контейнер, который при нагревании в состоянии выдержать повышенное абсолютное давление до 1,5 бара.
28. Способ по п.1, отличающийся тем, что используют контейнер с вытяжным вентиляционным отверстием, которое даже при нагрузках во время нагревания имеет определенное неизменное сопротивление потоку, а также предпочтительно живое поперечное сечение порядка 1-20 мм2, более предпочтительно 3-7 мм2.
РИСУНКИ
|