|
|
(21), (22) Заявка: 2008100652/12, 17.01.2008
(24) Дата начала отсчета срока действия патента:
17.01.2008
(43) Дата публикации заявки: 27.07.2009
(46) Опубликовано: 10.03.2010
(56) Список документов, цитированных в отчете о поиске:
RU 2248120 С2, 20.03.2005. SU 1824111 A1, 30.06.1993. EP 0533939 A1, 31.03.1993. RU 2163755 C1, 10.03.2001. SU 1428311 A1, 07.10.1988.
Адрес для переписки:
127543, Москва-543, а/я 776, И.А. Антуфьеву
|
(72) Автор(ы):
Антуфьев Игорь Александрович (RU)
(73) Патентообладатель(и):
Российская академия сельскохозяйственных наук Государственное научное учреждение Всероссийский научно-исследовательский институт электрификации сельского хозяйства (ГНУ ВИЭСХ РОССЕЛЬХОЗАКАДЕМИИ) (RU), Антуфьев Игорь Александрович (RU)
|
(54) БАШНЯ-ГРЯДКА ДЛЯ ВЫРАЩИВАНИЯ РАСТЕНИЙ
(57) Реферат:
Изобретение относится к области сельского хозяйства, а именно к выращиванию растений без земли в специальных приспособлениях при воздействии на корневую систему аэрозолем питательного раствора. Башня-грядка содержит вертикально поставленную трубу с ложементами для размещения растений и выращивания их без субстрата. Башня выполнена с полостями для протока термостатируемой жидкости, подающейся в полости через распределитель. Нижний конец трубы имеет утолщение с выемками. Опорная площадка выполнена с выступами. Зоны с питательным раствором и термостатируемой жидкостью разделены и герметизированы резиновыми кольцами. Крышка башни выполнена с выемкой для герметизации внутреннего объема башни. Обеспечивается универсальность использования башни-грядки в любых климатических зонах. 3 ил.
Изобретение относится к выращиванию растений без земли в специальных приспособлениях при воздействии на корневую систему аэрозолем питательного раствора.
Известны способы и устройства для выращивания растений без земли на вертикальных поверхностях или приспособлениях (FR 2747263 А1, 1997; RU 94000713 A1, 1995; EP 0533939 A1, 1993; SU 1780652 A1, 1992; SU 1428311 A1, 1988), а также известен принцип использования аэрозоля для воздействия на корневую систему растения (патент РФ 2050123, А01 31/02, 1995; патент РФ 2128905, А01С 31/00, 1999; патент РФ 2248120, А01С 31/02). По технологическим приемам (аэрозольное воздействие на корни) довольно близко находится патент России 2128905, А01С 31/00, 31/02, 31/04 «Способ выращивания растений и устройство для его осуществления».
Ближе всего к настоящему изобретению стоит изобретение по патенту России 2248120, А01С 31/02 «Устройство для выращивания растений».
Недостатком известных устройств является невозможность в полной мере использовать их в странах с жарким климатом, ввиду перегрева поверхности башни-грядки и снижения потенции культивируемых растений при повышении температуры выше оптимальной в прикорневой зоне.
Целью настоящего изобретения является придание универсальности использования башни-грядки в любых климатических зонах с высоким экономическим эффектом. Поставленные цели достигаются тем, что стенка башни выполнена с полостями для протока в них термостатируемой жидкости, а пространства с питательным раствором и с термостатируемой жидкостью разделены уплотняющими и амортизирующими кольцами из упругого материала (резины), благодаря тому, что нижний конец трубы имеет утолщение с выемками, а опорная площадка выполнена с выступами.
Крышка башни выполнена с выемкой для более полного закрытия верха башни и уменьшения испарения через возможные неплотности. Через массив крышки проложена труба с несколькими форсунками для распыления питательного раствора. При необходимости труба с форсунками крепится соответствующими приспособлениями для предотвращения соскальзывания внутрь башни. Для более полной герметизации место вхождения трубы закрыто колпаком из резины или другого пластичного материала, а на самой трубе (на верхнем крае) имеется толстое резиновое кольцо, выполняющее, кроме того, и амортизационные функции.
В производственном варианте со множеством башен-грядок, по верху башен выполнены две магистрали: одна для подачи питательного раствора в форсунки, а другая – для подачи термостатируемой жидкости через соответствующий распределитель. По основаниям башен (опорная площадка) выполнены штуцеры для отвода питательного раствора и термостатируемой жидкости в соответствующие системы для регенерации и для термостатирования через две раздельные магистрали (в бетонной дорожке).
То есть, фактически, мы имеем башню-грядку, содержащую вертикально поставленную трубу с ложементами для размещения растений и выращивания их без субстрата, отличающуюся тем, что с целью повышения универсальности ее использования, башня выполнена с полостями для протока термостатируемой жидкости, подающейся в полости через распределитель, причем нижний конец трубы имеет утолщение с выемками, а опорная площадка выполнена с выступами, вследствие чего имеется возможность зоны (пространства) с питательным раствором и термостатируемой жидкостью разделить и герметизировать, например, резиновыми кольцами; крышка башни выполнена с выемкой для лучшей герметизации внутреннего объема башни.
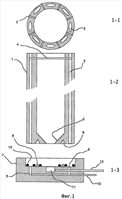
Изобретение представлено на фигурах 1, 2 и 3, где на фиг.1 представлена детализация башни и опорной площадки (1-1 – горизонт, разрез трубы; 1-2 – вертик. разрез; 1-3 – вертик. разрез опорной площадки), на фиг.2 дан общий план крышки башни, а на фиг.3 изображен участок производственной площадки с несколькими башнями-грядками и примером выполнения ложемента для поддержки растений. Устройство (фиг.1) состоит из башни 1 (1-2, фиг.1) с каналами 2 (1-1, фиг.1) для культивируемых растений на ложементах (на этой фиг. не показаны) и полостей 3 для термостатируемой жидкости, подающейся в полости через распределитель 4. Нижний конец трубы (1-1, фиг.1) имеет утолщение 5 с выемками (пазами) 6. Опорная площадка 7 (1-3, фиг.1) выполнена с выступами 8, каналами 9 для протока термостатируемой жидкости и трубой 10 для ее удаления в систему термостатирования, а также – с чашей 11 для сбора питательного раствора и трубой 12 для его удаления в систему рециркуляции. Зоны нахождения и протока питательного раствора и термостатируемой жидкости разделены и герметизируются кольцами 13. Крышка 14 (фиг.2) башни выполнена с выемкой 15, трубой 16 и форсунками 17. Место входа трубы в крышку герметизируется колпаком 18. На производственном участке (фиг.3) к башням по верхнему краю подведены магистраль 19 для подачи питательного раствора и магистраль 20 для подачи термостатируемой жидкости через штуцер 21 распределителя. На этой же фигуре показан пример выполнения ложемента 21′, на котором закрепляются растения. По нижнему краю башен, в бетонной дорожке 22, выполнены магистраль 23 для отвода питательного раствора в систему регенерации и магистраль 24 для отвода термостатируемой жидкости в систему термостатирования.
Устройство работает следующим образом.
Перед установкой рабочего режима, башню-грядку 1 собирают после очистки и стерилизации внутреннего объема, устанавливая башню 1 на подставку 7 с резиновыми кольцами 13. выполняя условие совпадения пространств полостей 3 и каналов 9. На верх башни надевается крышка 14, штуцер 21 соединяется с магистралью 20 подвода термостатируемой жидкости, а штуцер (не показан) на трубе 16 с форсунками 17 присоединяется к магистрали 19 подвода питательного раствора. После полной сборки башни-грядки 1 производят пробную прокачку по двум подающим магистралям 19 и 20, а также по двум отводящим магистралям 23 и 24.
После этого высаживают растения в каналы 2, а незанятые каналы 2 закрывают герметичными пробками (не показаны) и устанавливают требуемые параметры рабочего режима культивации растений в конкретных условиях.
В процессе культивации питательный раствор, проходя через магистраль 19, трубу 16 и форсунки 17, стекает по внутренней поверхности башни 1 (это зона питательного раствора), орошая корни растений в каналах 2, попадает на утолщение 5 башни и вливается в чашу 11, из которой через трубу 12 и магистраль 23 выкачивается в систему регенерации (не показана).
Термостатируемая жидкость, проходя через магистраль 20, полости 3 (это зона термостатируемой жидкости), каналы 9, трубу 10, удаляется через магистраль 24 в систему термостатирования (не показана).
Формула изобретения
Башня-грядка, содержащая вертикально поставленную трубу с ложементами для размещения растений и выращивания их без субстрата, отличающаяся тем, что башня выполнена с полостями для протока термостатируемой жидкости, подающейся в полости через распределитель, причем нижний конец трубы имеет утолщение с выемками, а опорная площадка выполнена с выступами, а зоны с питательным раствором и термостатируемой жидкостью разделены и герметизированы резиновыми кольцами, при этом крышка башни выполнена с выемкой для герметизации внутреннего объема башни.
РИСУНКИ
|
|