|
|
(21), (22) Заявка: 2008148295/09, 09.12.2008
(24) Дата начала отсчета срока действия патента:
09.12.2008
(46) Опубликовано: 27.02.2010
(56) Список документов, цитированных в отчете о поиске:
RU 2165127 С2, 22.12.1997. RU 2152075 C1, 27.06.2000. SU 1527705 A2, 07.12.1989. SU 1533008 A1, 30.12.1989. DE 19622627 A1, 12.12.1996.
Адрес для переписки:
111024, Москва, ул. Авиамоторная, 8А, отдел ИРИС, МТУСИ, Е.П. Зелевичу
|
(72) Автор(ы):
Попов Олег Борисович (RU), Рихтер Сергей Георгиевич (RU)
(73) Патентообладатель(и):
Государственное образовательное учреждение высшего профессионального образования Московский технический университет связи и информатики (RU)
|
(54) СПОСОБ АВТОМАТИЧЕСКОГО РЕГУЛИРОВАНИЯ ПИКОВЫХ ЗНАЧЕНИЙ ЭЛЕКТРИЧЕСКИХ ВЕЩАТЕЛЬНЫХ СИГНАЛОВ НА ЗАДАННЫЙ УРОВЕНЬ ПРИ СТАБИЛИЗАЦИИ ОТНОСИТЕЛЬНОЙ СРЕДНЕЙ МОЩНОСТИ И УСТРОЙСТВО ДЛЯ ЕГО РЕАЛИЗАЦИИ
(57) Реферат:
Изобретение относится к технике передачи сигналов и может быть использовано при записи и воспроизведении монофонических звуковых вещательных сигналов, а также при их передаче по линиям связи. Технический результат заключается в повышении субъективной оценки качества сигнала и эффективности использования радиопередающих средств. Предложены способ и устройство для его реализации, которые, обеспечивая безынерционное ограничение и компандирование звуковых вещательных сигналов без обогащения их спектра при значительном повышении относительной средней мощности, характеризуются повышением эффективности регулирования в каналах с нестабильным коэффициентом передачи, уменьшением искажений в процессе изменения параметров регулирования сигналов с быстрым изменением уровня, а также повышением субъективно воспринимаемого качества сигнала за счет уменьшения маскировки его ВЧ-составляющих. Это обеспечивается использованием инерционного авторегулирования уровня и задержкой входного и выходного сигналов соответственно на приблизительно 160 и 10 мс. 2 н.п. ф-лы, 3 ил.
Изобретение относится к технике передачи сигналов и может быть использовано при записи и воспроизведении звуковых вещательных сигналов, а также при их передаче по линиям связи.
Известны способ и устройство [Патент на изобретение 2165127. Б.И. 10, 2001 г.] автоматического регулирования пиковых значений электрических вещательных сигналов на заданный уровень при стабилизации относительной средней мощности (ОСМ). Способ предполагает операции формирования сигнала управления и регулирования коэффициента передачи по заданному закону при превышении заданного порогового уровня. Для реализации указанных операций осуществляют аналого-цифровое преобразование входного сигнала звукового вещания в цифровую последовательность zвх, из которой с помощью N-точечного преобразования Гильберта формируют ортогональный сигнал затем zвх и используют для формирования огибающей и косинуса мгновенной фазы сигнала, далее огибающую разделяют на низкочастотную (НЧ) и высокочастотную (ВЧ) составляющие, которые раздельно регулируют, при этом формирование сигнала управления на интервале регулирования, содержащем k·N отсчетов, осуществляют, определяя пиковые значения входной |zвх|макс и выходной |zвых|макс последовательностей и относительную среднюю мощность РОСМ.вых выходной последовательности, причем сигнал управления формируют с учетом сравнения цифровых пиковых значений |zвх|макс с цифровым пороговым уровнем zпор и РОСМ.вых с пороговым уровнем относительной средней мощности РОСМ.пор таким образом, что при выполнении неравенства |zвх|макс>zпор сигнал управления изменяет коэффициент передачи НЧ составляющей огибающей, реализуя операцию ее экспандирования, если РОСМ.вых>РОСМ.пор, или операцию ее компрессирования, если РОСМ.вых<РОСМ.пор, причем степень экспандирования или компрессирования определяют по величине разности РОСМ.вых-РОСМ.пор, а при выполнении неравенства |zвх|макс zпор сигнал управления устанавливает коэффициент передачи НЧ составляющей, равный единице, причем коэффициент передачи ВЧ составляющей огибающей изменяют пропорционально изменению коэффициента НЧ составляющей с учетом масштабного коэффициента , после чего огибающую восстанавливают суммированием преобразованных составляющих и получают выходную цифровую последовательность zвых путем перемножения восстановленной огибающей с косинусом мгновенной фазы, а затем осуществляют цифроаналоговое преобразование последовательности zвых в выходной аналоговый сигнал, при этом пороговые значения zпор и РОСМ.пор, а также параметры k, N и устанавливают в соответствии с требованиями к качественным характеристикам выходного аналогового сигнала.
Известно также устройство, принятое за прототип (фиг.2) [Патент на изобретение 2165127. Б.И. 10, 2001 г.], позволяющее реализовать способ автоматического регулирования пиковых значений электрических вещательных сигналов на заданный уровень при стабилизации ОСМ, содержащее входной блок аналого-цифрового преобразования (АЦП) 1, выход которого соединен с входом блока формирования ортогонального сигнала (ФОС) 2 и с первым входом блока сигнала управления (СУ) 11, выход блока 2 подсоединен к входу блока выделения огибающей и косинуса мгновенной фазы сигнала (ВЫД) 3, первый выход которого подсоединен к первому входу блока восстановления сигнала (ВОС) 9, а второй выход соединен с входом блока разделения огибающей на НЧ и ВЧ составляющие (РОС) 4, первый выход блока 4 соединен с входом первого блока регулирования коэффициента передачи составляющих (РКП-1) 5 и первым входом блока измерителя коэффициента передачи (ИКП) 7, причем второй вход блока 5 подсоединен к выходу блока 11, а выход блока 5 и второй вход блока 7 соединены с первым входом блока восстановления огибающей (ВООГ) 8, второй выход блока 4 соединен с первым входом второго блока регулирования коэффициента передачи составляющих (РКП-2) 6, второй вход которого соединен с выходом блока 7, а выход блока 6 подсоединен к второму входу блока 8, выход которого соединен со вторым входом блока 9, выход блока 9 соединен с входом блока цифроаналогового преобразования (ЦАП) 10 и с вторым входом блока 11, причем выход блока 10 является выходом устройства, а два дополнительных входа блока 11 используются для установки пороговых уровней регулирования.
Как показала практика многолетнего применения, способу и устройству свойственен ряд недостатков, а именно:
– при нестабильном уровне сигнала на входе устройства наблюдается определенное снижение эффективности регулирования;
– необходимые изменения амплитудной характеристики в процессе регулирования не всегда успевают за изменениями входного сигнала на участках с быстрым изменением уровня, что приводит к искажениям сигнала;
– на широкополосных сигналах наблюдается снижение субъективно воспринимаемого качества сигнала за счет маскировки его ВЧ составляющих.
Задачей предлагаемого изобретения является устранение указанных выше недостатков, а именно:
– поддержание постоянства пиковых уровней входного сигнала на номинальном уровне с помощью введения низкоскоростного (медленного) авторегулирования уровня (АРУР);
– уменьшение искажений в процессе изменения параметров регулирования сигналов с быстрым изменением уровня путем задержки входного сигнала;
– повышение субъективно воспринимаемого качества широкополосных сигналов за счет уменьшения эффекта маскировки его ВЧ составляющих путем введения задержки на 5 10 мс выходной цифровой последовательности.
Поставленная задача решается тем, что в способе автоматического регулирования пиковых значений электрических сигналов звукового вещания на заданный уровень при стабилизации ОСМ, заключающемся в том, что осуществляют аналого-цифровое преобразование входного сигнала звукового вещания в цифровую последовательность zвх, из которой с помощью N-точечного преобразования Гильберта формируют ортогональный сигнал , затем zвх и используют для формирования огибающей и косинуса мгновенной фазы сигнала, далее огибающую разделяют на НЧ и ВЧ составляющие, которые раздельно регулируют, при этом формирование сигнала управления на интервале регулирования, содержащем k·N отсчетов, осуществляют, определяя пиковые значения входной |zвх|макс и выходной |zвых|макс последовательностей и относительную среднюю мощность РОСМ.вых выходной последовательности, причем сигнал управления формируют с учетом сравнения цифровых пиковых значений |zвх|макс с цифровым пороговым уровнем zпор и РОСМ.вых с пороговым уровнем относительной средней мощности РОСМ.пор таким образом, что при выполнении неравенства |zвх|макс>zпор сигнал управления изменяет коэффициент передачи НЧ составляющей огибающей, реализуя операцию ее экспандирования, если РОСМ.вых>РОСМ.пор, или операцию ее компрессирования, если РОСМ.вых<РОСМ.пор, причем степень экспандирования или компрессирования определяют по величине разности РОСМ.вых-РОСМ.пор, а при выполнении неравенства |zвх|макс zпор сигнал управления устанавливает коэффициент передачи НЧ составляющей, равный единице, причем коэффициент передачи ВЧ составляющей огибающей изменяют пропорционально изменению коэффициента НЧ составляющей с учетом масштабного коэффициента , после чего огибающую восстанавливают суммированием преобразованных составляющих и получают выходную цифровую последовательность zвых путем перемножения восстановленной огибающей с косинусом мгновенной фазы, а затем осуществляют цифроаналоговое преобразование последовательности zвых в выходной аналоговый сигнал, при этом пороговые значения zпор и РОСМ.пор, а также параметры k, N и устанавливают в соответствии с требованиями к качественным характеристикам выходного аналогового сигнала, в отличие от прототипа перед формированием ортогонального сигнала осуществляют инерционное (медленное) автоматическое регулирование уровня входного сигнала zвх и задержку этого сигнала на время Tзад, а также перед цифроаналоговым преобразованием задерживают выходную цифровую последовательность zвых на 5 10 мс.
Предложенный способ, таким образом, реализуется выполнением следующих операций, дополняющих алгоритм известного способа: инерционного (медленного) автоматического регулирования уровня последовательности zвх, задержки последовательности zвх на время изменения параметров регулирования (Tзад), задержки выходной последовательности zвых на 5 10 мс.
Опыт эксплуатации показал, что регулирование максимально эффективно при поддержании нулевого уровня на входе устройства, однако это не всегда соблюдается на выходе трактов первичного распределения сигнала вещания. Автоматическое регулирование уровня может быть безынерционным или инерционным, низкоскоростным. При инерционном авторегулировании возможно реализовать функции ограничения квазимаксимальных уровней, автостабилизации уровня, компрессирования и экспандирования уровней и ряд других. В изобретении речь идет о применении операции автостабилизации уровня, обеспечивающей поддержание постоянства пиковых уровней входного сигнала на номинальном (обычно нулевом) уровне. Фиг.1 иллюстрирует эту операцию: осциллограммы представляют форму сигнала до и после регулирования. Автостабилизация уровня позволяет в значительной степени выровнять громкость звучаний, имеющих одинаковый пиковый уровень, но разную громкость (например, на стыке речь-музыка).
Перестройка параметров регулирования амплитудной характеристикой, связанная с изменением свойств входного сигнала, осуществляется плавно во времени для уменьшения ее заметности и не всегда изменения амплитудной характеристики успевают за изменением сигнала, особенно на участках с быстрым изменением уровня. Как показал эксперимент, для практически полного устранения подобных искажений необходимо ввести операцию задержки входного сигнала на время Тзад формирования параметров регулирования. Опытным путем установлено, что значение задержки может выбираться из интервала Тзад 40 250 мс, при этом наилучший эффект регулирования достигается при Тзад 160 мс, когда задержка приблизительно равна времени формирования у человека ощущения громкости.
Повышение общей громкости при регулировании приводит к изменению субъективного восприятия сигнала (восприятие происходит на других кривых равной громкости), что сопровождается появлением эффекта бубнения и ухудшением восприятия ВЧ составляющих за счет частотной маскировки. Повысить субъективно воспринимаемое качество сигнала удается за счет уменьшения маскировки его ВЧ составляющих, что, как показал эксперимент, достигается введением задержки выходной цифровой последовательности zвых на 10 мс.
Поставленная задача решается также тем, что в устройство автоматического регулирования пиковых значений электрических вещательных сигналов на заданный уровень при стабилизации ОСМ, принятое за прототип (фиг.2), содержащее входной блок аналого-цифрового преобразования (АЦП), блок формирования ортогонального сигнала (ФОС), блок сигнала управления (СУ) и блок цифроаналогового преобразования (ЦАП), вход блока ФОС соединен с первым входом блока СУ, а выход – со входом блока выделения огибающей и косинуса мгновенной фазы сигнала (ВЫД), первый выход которого подсоединен к первому входу блока восстановления сигнала (ВОС), а второй выход соединен с входом блока разделения огибающей на НЧ и ВЧ составляющие (РОС), первый выход блока РОС соединен с входом первого блока регулирования коэффициента передачи составляющих (РКП-1) и первым входом блока измерителя коэффициента передачи (ИКП), причем второй вход блока РКП-1 подсоединен к выходу блока СУ, а выход блока РКП-1 и второй вход блока ИКП соединены с первым входом блока восстановления огибающей (ВООГ), второй выход блока РОС соединен с первым входом второго блока регулирования коэффициента передачи составляющих (РКП-2), второй вход которого соединен с выходом блока ИКП, а выход блока РКП-2 подсоединен к второму входу блока ВООГ, выход которого соединен со вторым входом блока ВОС, выход блока ВОС соединен со вторым входом блока СУ, причем выход блока ЦАП является выходом устройства, а два дополнительных входа блока СУ используются для установки пороговых уровней регулирования, в отличие от прототипа дополнительно введены блок инерционного авторегулирования уровня (АРУР), линия задержки на 160 мс (ЛЗ-160) и блок задержки на 10 мс (ЛЗ-10), причем вход блока АРУР соединен с выходом блока АЦП, а выход – с входом линии задержки ЛЗ-160, выход которой соединен с входом блока ФОС, вход блока ЛЗ-10 соединен с выходом блока ВОС, а выход блока ЛЗ-10 – с входом блока ЦАП.
Предложенное устройство позволяет реализовать способ автоматического регулирования пиковых значений монофонических вещательных сигналов на заданный уровень при стабилизации ОСМ при обеспечении более высоких качественных и эксплуатационных характеристик.
Краткое описание чертежей
Изобретение поясняется чертежами, на которых:
фиг.1 изображает осциллограммы, иллюстрирующие работу инерционного (медленного) АРУР – автостабилизатора уровня;
фиг.2 – структурная схема известного устройства;
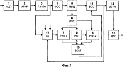
фиг.3 – структурная схема предлагаемого устройства.
Предлагаемое устройство для автоматического регулирования пиковых значений звуковых вещательных сигналов на заданный уровень при стабилизации ОСМ содержит (фиг.3) входной блок аналого-цифрового преобразования (АЦП) 1, выход которого соединен с входом блока инерционного авторегулирования уровня (АРУР) 2, к выходу которого подсоединена линия задержки (ЛЗ-160) 3, выход линии задержки 3 соединен с входом блока формирования ортогонального сигнала (ФОС) 4 и с первым входом блока сигнала управления (СУ) 14, выход блока 4 подсоединен к входу блока выделения огибающей и косинуса мгновенной фазы сигнала (ВЫД) 5, первый выход которого подсоединен к первому входу блока восстановления сигнала (ВОС) 11, а второй выход соединен с входом блока разделения огибающей на НЧ и ВЧ составляющие (РОС) 6, первый выход блока 6 соединен с входом первого блока регулирования коэффициента передачи составляющих (РКП-1) 7 и первым входом блока измерителя коэффициента передачи (ИКП) 9, причем второй вход блока 7 подсоединен к выходу блока 14, а выход блока 7 и второй вход блока 9 соединены с первым входом блока восстановления огибающей (ВООГ) 10, второй выход блока 6 соединен с первым входом второго блока регулирования коэффициента передачи составляющих (РКП-2) 8, второй вход которого соединен с выходом блока 9, а выход блока 8 подсоединен к второму входу блока 10, выход которого соединен со вторым входом блока 11, выход блока 11 соединен со вторым входом блока 14 и с входом блока задержки (ЛЗ-10) 12, выход которого подсоединен к входу блока цифроаналогового преобразования (ЦАП) 13, выход которого является выходом устройства, а два дополнительных входа блока 14 используются для установки пороговых уровней регулирования.
Предлагаемый способ может быть реализован при помощи предлагаемого устройства следующим образом. Входной аналоговый вещательный сигнал преобразуется аналого-цифровым преобразователем 1 в цифровую последовательность zвх, пиковый уровень которой поддерживается на номинальном уровне в блоке инерционного авторегулирования уровня 2. Из задержанной в линии задержке 3 последовательности zвх в блоке 4 с помощью N-точечного преобразования Гильберта формируют сигнал , ортогональный исходному, а затем из последовательностей zвх и на следующем этапе обработки входного сигнала в блоке 5 формируют гильбертовскую огибающую S(t)= и косинус мгновенной фазы cos (f)=zвх/S(t) входного вещательного сигнала. Цифровую последовательность огибающей в блоке 6 разделяют на НЧ (Sн) и ВЧ (Sв) составляющие, которые раздельно регулируют в блоках 7 и 8 под воздействием сигнала управления и с помощью измерителя коэффициента передачи 9 с учетом масштабного коэффициента , после чего огибающую восстанавливают в блоке 10, суммируя НЧ и ВЧ составляющие Sвст=Sн+Sв. Выходную цифровую последовательность zвых получают в блоке 11 путем перемножения восстановленной огибающей и косинуса мгновенной фазы zвых=Sвст(t)cos (t). Восстановленную таким образом выходную цифровую последовательность zвых, аутентичную последовательности zвх, подвергают задержке на 10 мс в блоке 12, а затем осуществляют цифроаналоговое преобразование в блоке 13, в результате чего получают выходной аналоговый сигнал. Коэффициенты передачи блоков 7 и 8 определяют характер регулирования НЧ и ВЧ составляющих огибающей в соответствии с величиной и знаком сигнала управления, вырабатываемого блоком 14. В этом блоке, используя последовательности zвх с выхода блока 3 и zвых c выхода блока 11, осуществляют адаптивное формирование сигнала управления в соответствии с известным алгоритмом.
Авторами выполнено экспериментальное моделирование заявленных способа и устройства на его основе на реальных вещательных сигналах. По мнению авторов, предлагаемые способ и устройство обеспечивают в дополнение к известным достоинствам:
– повышение эффективности регулирования в каналах с нестабильным коэффициентом передачи;
– уменьшение искажений в процессе изменения параметров регулирования сигналов с быстрым изменением уровня;
– повышение субъективно воспринимаемого качества сигнала за счет уменьшения маскировки его ВЧ составляющих.
Предложенные способ и устройство могут быть широко использованы на всех трактах звукового вещания нашей страны и за ее пределами. Это позволит значительно поднять качество услуг звукового вещания.
Формула изобретения
1. Способ автоматического регулирования пиковых значений электрических вещательных сигналов на заданный уровень при стабилизации относительной средней мощности (ОСМ), заключающийся в аналого-цифровом преобразовании входного сигнала звукового вещания в цифровую последовательность zвх, из которой с помощью преобразования Гильберта формируют ортогональный сигнал , затем zвх и используют для формирования огибающей и косинуса мгновенной фазы сигнала, далее огибающую разделяют на низкочастотную (НЧ) и высокочастотную (ВЧ) составляющие, которые раздельно регулируют, при этом формирование сигнала управления осуществляют, определяя пиковые значения входной |zвх|макс и выходной |zвых|макс последовательностей и относительную среднюю мощность РОСМ.вых выходной последовательности, причем сигнал управления формируют с учетом сравнения цифровых пиковых значений |zвх|макс с цифровым пороговым уровнем zпор и РОСМ.вых с пороговым уровнем относительной средней мощности РОСМ.пор таким образом, что при выполнении неравенства [zвх|макс>zпор сигнал управления изменяет коэффициент передачи НЧ составляющей огибающей, реализуя операцию ее экспандирования, если РОСМ.вых>РОСМ.пор, или операцию ее компрессирования, если РОСМ.вых<РОСМ.пор, причем степень экспандирования или компрессирования определяют по величине разности РОСМ.вых-РОСМ.пор, а при выполнении неравенства |zвх|макс zпор сигнал управления устанавливает коэффициент передачи НЧ составляющей, равный единице, причем коэффициент передачи ВЧ составляющей огибающей изменяют пропорционально изменению коэффициента НЧ составляющей с учетом масштабного коэффициента , после чего огибающую восстанавливают суммированием преобразованных составляющих и получают выходную цифровую последовательность zвых путем перемножения восстановленной огибающей с косинусом мгновенной фазы, а затем осуществляют цифроаналоговое преобразование последовательности zвых в выходной аналоговый сигнал, при этом пороговые значения Zпор, РОСМ.пор и параметр устанавливают в соответствии с требованиями к качественным характеристикам выходного аналогового сигнала, отличающийся тем, что перед формированием ортогонального сигнала осуществляют инерционное автоматическое регулирование уровня входного сигнала zвх и задержку этого сигнала на время Тзад 40÷250 мс, а также перед цифроаналоговым преобразованием задерживают выходную цифровую последовательность zвых на 5÷10 мс.
2. Устройство для реализации способа по п.1, содержащее входной блок аналого-цифрового преобразования, блок формирования ортогонального сигнала, блок сигнала управления и блок цифроаналогового преобразования, вход блока формирования ортогонального сигнала соединен с первым входом блока сигнала управления, а выход – со входом блока выделения огибающей и косинуса мгновенной фазы сигнала, первый выход которого подсоединен к первому входу блока восстановления сигнала, а второй выход соединен с входом блока разделения огибающей на НЧ и ВЧ составляющие, первый выход блока разделения огибающей на НЧ и ВЧ составляющие соединен с входом первого блока регулирования коэффициента передачи составляющих и первым входом блока измерителя коэффициента передачи, причем второй вход первого блока регулирования коэффициента передачи составляющих подсоединен к выходу блока сигнала управления, а выход первого блока регулирования коэффициента передачи составляющих и второй вход блока измерителя коэффициента передачи соединены с первым входом блока восстановления огибающей, второй выход блока разделения огибающей на НЧ и ВЧ составляющие соединен с первым входом второго блока регулирования коэффициента передачи составляющих, второй вход которого соединен с выходом блока измерителя коэффициента передачи, а выход второго блока регулирования коэффициента передачи составляющих подсоединен к второму входу блока восстановления огибающей, выход которого соединен со вторым входом блока восстановления сигнала, выход блока восстановления сигнала соединен со вторым входом блока сигнала управления, причем выход блока цифроаналогового преобразования является выходом устройства, а два дополнительных входа блока сигнала управления используются для установки пороговых уровней регулирования, отличающееся тем, что дополнительно введены последовательно соединенные блок инерционного авторегулирования уровня и линия задержки на 40÷250 мс, а также блок задержки на 5÷10 мс, причем вход блока инерционного авторегулирования уровня соединен с выходом блока аналого-цифрового преобразования, а выход линии задержки на 40÷250 мс соединен со входом блока формирования ортогонального сигнала, вход блока задержки на 5÷10 мс соединен с выходом блока восстановления сигнала, а выход блока задержки на 5÷10 мс – со входом блока цифроаналогового преобразования.
РИСУНКИ
|
|