|
(21), (22) Заявка: 2008122937/28, 06.11.2006
(24) Дата начала отсчета срока действия патента:
06.11.2006
(30) Конвенционный приоритет:
09.11.2005 JP 2005-324348
(46) Опубликовано: 27.02.2010
(15) Информация о коррекции:
Версия коррекции № 1 (
Область техники, к которой относится изобретение
Настоящее изобретение относится к органическому EL дисплею, в котором используется органическое электролюминесцентное (далее называемое “органическим EL”) устройство.
Описание уровня техники
Поскольку органические EL дисплеи можно производить при относительно низкой стоимости и, кроме того, размер самого EL дисплея можно легко увеличить, в последнее время считается перспективным использовать эти экраны для таких продуктов, как часы с цифровой индикацией, телефоны, ноутбуки, пейджеры, мобильные телефоны, калькуляторы и т.п. Вообще говоря, органическое EL-устройство, образующее органический EL дисплей, состоит из прозрачного электрода в качестве анода, органического функционального слоя и металлического электрода в качестве катода, которые последовательно нанесены на поверхность прозрачной основы. Свет может испускаться со стороны основы так, что возбудители, которые образуются, когда электроны и дырки, инжектированные обоими электродами, расположенными так, что органический функциональный слой находится между анодом и катодом, рекомбинируют, возвращаются из возбужденного состояния в основное состояние и генерируют свет.
В этом случае органический функциональный слой является, например, единственным светоизлучающим слоем, трехслойной структурой из органического слоя с переносом дырок, светоизлучающего слоя и органического электронпереносящего слоя, или двухслойной структурой из органического слоя с переносом дырок и светоизлучающего слоя, и, кроме того, многослойным телом, снабженным слоем с инжекцией электронов или дырок и несущим слоем, помещающимся между соответствующими слоями в вышеуказанных структурах.
В этой связи проблемой органического EL-устройства является то, что когда оно открыто атмосфере, то оно с большой вероятностью будет портиться из-за влияния влаги, газов, таких как кислород и т.п., и других молекул определенного рода, присутствующих в окружающей среде, в которой используется устройство. В частности, недостатком органического EL-устройства является то, что его характеристики заметно ухудшаются на границе раздела между его электродами и органическим функциональным слоем, и, таким образом, ухудшаются характеристики светоизлучения, такие как яркость, цвет и т.п.
Чтобы решить указанные выше проблемы, для органического EL-устройства, которое имеет первый и второй электроды дисплея и по меньшей мере один органический функциональный слой, проложенный между соответствующими электродами дисплея и состоящий из органического соединения, известно последовательно наносить на поверхность основы, такой как стекло и т.п., пленку высокомолекулярного соединения, которая покрывает органическое EL-устройство и поверхность основы по периметру органического EL-устройства, и неорганическую барьерную пленку, которая покрывает пленку высокомолекулярного соединения и ее края, а также покрывает поверхность основы по периметру пленки высокомолекулярного соединения. В этом случае в качестве пленки высокомолекулярного соединения используется пленка ароматической полимочевины, образованная из мономерного сырья способом полимеризации с испарением, а в качестве неорганической барьерной пленки используется пленка нитрида кремния или пленка оксинитрида кремния (Патентный документ 1).
Патентный документ 1: Японская выложенная патентная заявка публикация 2004-281247 (смотри, например, абзацы 0012, 0013 описания).
Описание изобретения
Проблемы, стоящие перед изобретением
Однако, когда используется пленка высокомолекулярного соединения, представляющая собой пленку ароматической полимочевины, возникает проблема в том, что пленка высокомолекулярного соединения имеет желтую окраску, так как пленка ароматической полимочевины поглощает свет в диапазоне длин волн 350-400 нм в области видимого света (350-830 нм), как показано на фигуре 2. Далее, когда в качестве неорганической барьерной пленки применяется пленка нитрида кремния или оксинитрида кремния, то поскольку пленка нитрида кремния или оксинитрида кремния является хрупкой, при приложении по какой-либо причине внешних усилий к органическому EL дисплею извне существует вероятность, что неорганическая барьерная пленка треснет, и ее герметизирующие свойства ухудшатся.
Суть изобретения
Учитывая вышеуказанное, целью настоящего изобретения является предоставить органический EL дисплей, который не будет окрашиваться, даже если он принимает свет в определенном диапазоне длин волн, и кроме того, является ударопрочным.
Средства для решения задач
Чтобы решить эту задачу, в органическом электролюминесцентном дисплее по настоящему изобретению, который содержит: органическое электролюминесцентное устройство, имеющее первый и второй электроды дисплея и по меньшей мере один органический функциональный слой, проложенный между электродами дисплея и состоящий из органического соединения; основу для поддержки органического электролюминесцентного устройства; пленку высокомолекулярного соединения, которая покрывает органическое электролюминесцентное устройство и поверхность основы по периметру органического электролюминесцентного устройства; и неорганическую барьерную пленку, которая покрывает пленку высокомолекулярного соединения, края пленки высокомолекулярного соединения и поверхность основы по периметру пленки высокомолекулярного соединения, в качестве пленки высокомолекулярного соединения используется пленка алифатической полимочевины.
Согласно настоящему изобретению, так как в качестве пленки высокомолекулярного соединения используется пленка алифатической полимочевины, то даже если пленка высокомолекулярного соединения принимает свет в диапазоне длин волн, в частности, 350-400 нм, ее окрашивание подавляется, и она может сохранить свое бесцветное и прозрачное состояние.
В этом случае, когда пленка алифатической полимочевины образована из мономерного сырья способом полимеризации с испарением, можно предпочтительно получить высокочистую пленку высокомолекулярного соединения, так как не используется растворитель.
Мономерное сырье предпочтительно содержит, например, мономерный алифатический диамин и мономерный алифатический диизоцианат.
Далее, в качестве неорганической барьерной пленки используется любое вещество, выбранное предпочтительно из Al2O3, ZrO2, MgF2 и ITO. Поскольку тонкая пленка, образованная из Al2O3, ZrO2, MgF2 и ITO, имеет низкое внутреннее напряжение и сопротивление изгибу (гибкость), то даже если по какой-либо причине к органическому EL дисплею извне прикладывается внешняя сила, тонкая пленка компенсирует внешнюю силу и проявляет высокую ударную прочность. В результате уменьшается вероятность того, что неорганическая барьерная пленка треснет, и ее герметизирующие характеристики ухудшатся. Так как эти тонкие пленки не полностью поглощают свет в диапазоне длин волн от 350 до 400 нм, когда они нанесены на пленку высокомолекулярного соединения, являющуюся пленкой алифатической полимочевины, они не окрашиваются, даже если принимают свет в диапазоне длин волн, в частности, 350-400 нм, так что они могут сохранять свое бесцветное прозрачное состояние.
В этом случае, когда неорганическая барьерная пленка образована способом электронно-лучевого испарения, она предпочтительно может быть сформована в тонкую пленку в состоянии, в котором она имеет низкое внутреннее напряжение.
Далее, когда поочередно нанесено несколько пленок высокомолекулярного соединения и неорганических барьерных пленок, можно предпочтительно получить особенно высокие влагонепроницаемые характеристики.
Эффекты от изобретения
Как описано выше, EL дисплей по настоящему изобретению имеет преимущества в том, что он не окрашивается, даже если он принимает свет в определенном диапазоне длин волн и, кроме того, в том, что он имеет ударную прочность.
Описание предпочтительных вариантов осуществления
Предпочтительные варианты осуществления изобретения
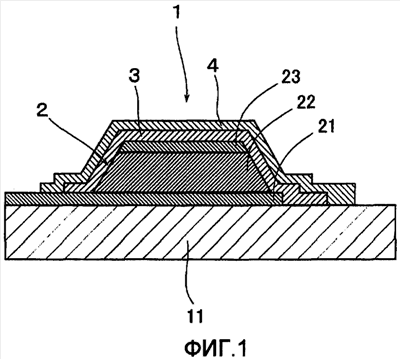
Согласно фигурам 1-2 позиция 1 означает органический EL дисплей по настоящему изобретению. Органический EL дисплей включает основу 11, выбранную из неорганического вещества, такого как стекло и т.п., и органических веществ, таких как высокомолекулярное соединение и т.п., а органическое EL-устройство 2 сформировано на поверхности основы 11. Органическое EL-устройство 2 состоит из первого электрода 21 дисплея, который образует анод, по меньшей мере одного органического функционального слоя 22, который состоит из органического соединения, и второго электрода 23 дисплея, который образует катод, причем эти электроды дисплея 21, 23 и органический функциональный слой 22 нанесены последовательно, и органический функциональный слой 22 находится между анодом и катодом.
Первый электрод 21 дисплея состоит, например, из ITO-пленки и образован известным способом, таким как способ электронно-лучевого испарения, способ напыления и т.п., и выполнен с заранее заданной формой способом фотолитографии. Органический функциональный слой 22 имеет известную структуру и устроен путем последовательного нанесения слоя инжекции дырок, состоящего из фталоцианина меди, слоя с переносом дырок, состоящего из TPD (производное трифениламина), светоизлучающего слоя, состоящего из Alq3 (алюминиевый хелатный комплекс) и слоя инжекции электронов, образованного из Li2O (оксид лития), например, способом испарения. Второй электрод 23 дисплея образован, например, из пленки Al, образованной известным способом, таким как способ электронно-лучевого испарения, способ напыления и т.п., и выполнен с заранее заданной формой способом фотолитографии.
Между прочим, когда органическое EL-устройство 2 открыто атмосферным условиям, оно способно портиться из-за влияния влаги, газов, таких как кислород и т.п., и определенного рода других молекул, присутствующих в среде, в которой оно применяется. В частности, характеристики органического EL-устройства 2 заметно ухудшаются на границе раздела между электродами дисплея 21 и 23 и органическим функциональным слоем 22 органического EL-устройства, вследствие чего ухудшаются светоизлучающие характеристики, такие как яркость, цвет и т.п.
Чтобы справиться с этой проблемой, предпочтительно последовательно нанести пленку 3 высокомолекулярного соединения, которая покрывает органическое EL-устройство 2 и поверхность основы 11 по периметру органического EL-устройства 2, и неорганическую барьерную пленку 4, которая покрывает пленку 3 высокомолекулярного соединения, края пленки 3 высокомолекулярного соединения и поверхность основы 11 по периметру пленки 3 высокомолекулярного соединения, при этом органическое EL-устройство 2 должно быть гарантировано от окрашивания, даже если оно принимает свет в конкретном диапазоне длин волн, и кроме того, иметь ударную прочность.
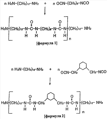
При осуществлении в качестве пленки 3 высокомолекулярного соединения используется пленка алифатической полимочевины. Пленка 3 алифатической полимочевины образована из мономерного сырья, содержащего мономерный алифатический диамин и мономерный алифатический диизоцианат, способом полимеризации с испарением в более широком диапазоне, чем область дисплея, включая пиксели и органическое EL-устройство, используя маску, в которой образовано заданное отверстие.
Итак, после того, как внутренний объем вакуумной камеры будет разрежен до заданного давления, соответствующие мономеры алифатического диамина и алифатического диизоцианата нагревают до соответствующей заданной температуры, чтобы они испарялись и переходили в газовую фазу. Затем соответствующие мономеры при контакте на основе 11 и органическом EL-устройстве 2 вступают в реакцию и осаждаются, так что органические молекулы полимеризуются. В результате образуется пленка 3 алифатической полимочевины заданной толщины, чтобы закрыть органическое EL-устройство 2 и поверхность основы 11 по ее периметру, как показано ниже. В этом случае, хотя толщина пленки 3 алифатической полимочевины особо не ограничивается, предпочтительно устанавливать эту толщину в интервале от 300 нм до 1000 нм, чтобы ослабить напряжение неорганической барьерной пленки 4.

В качестве примеров мономерного алифатического диамина можно назвать 1,12-диаминододекан, 10-диаминододекан, 1,8-диаминооктан, 1,6-диаминогексан, 1,3-бис(аминометил)циклогексан и т.п. Далее, в качестве примеров мономерного алифатического диизоцианата можно назвать 1,3-бис(изоцианатметил)циклогексан, гексаметилендиизоцианат и т.п.
Неорганическая барьерная пленка 4, образованная на пленке 3 алифатической полимочевины, выбрана из Al2O3, ZrO2, MgF2 и ITO и образована способом электронно-лучевого испарения. Так, используется устройство электронно-лучевого испарения, имеющее известную структуру, и после того, как внутренний объем вакуумной камеры разрежается до заданного давления, металл, такой как Al, Zr и т.п., нагревается электронным пучком и испаряется, а химически активный газ, такой как кислород, фтор и т.п., вводится в камеру, реагирует и осаждается на пленке 3 алифатической полимочевины, в результате чего образуется желаемая тонкая пленка, покрывающая пленку 3 алифатической полимочевины, края пленки 3 алифатической полимочевины и поверхность основы 11 по периметру пленки 3 алифатической полимочевины. В этом случае, хотя толщина неорганической барьерной пленки 4 особо не ограничивается, учитывая сопротивление изгибу и барьерные свойства, предпочтительно устанавливать эту толщину в интервале от 50 нм до 200 нм. Согласно указанному выше способу скорость испарения можно задавать для каждого компонента, состав тонкой пленки можно легко контролировать и можно предотвратить ухудшение характеристик тонкой пленки, так как она не повреждается, в отличие от плазменной системы, и кроме того, можно уменьшить внутреннее напряжение тонкой пленки.
В этом случае можно использовать многослойную структуру, нанося поочередно пленку 3 высокомолекулярного соединения и неорганическую барьерную пленку 4, так что можно получить высокую водонепроницаемость. Далее, пленку 3 алифатической полимочевины на органическом EL-устройстве 2 можно подвергнуть отжигу в вакууме или в инертном газе, таком как N2 и т.п., при заданной температуре, при котором органический функциональный слой 22 не повреждается выделениями газов в пленке, пока неорганическая барьерная пленка 4 не сформирована.
Как описано выше, когда пленка 3 алифатической полимочевины и неорганическая барьерная пленка 4 сформирована, то поскольку их окрашивание подавляется, даже если они принимают свет в диапазоне длин волн, в частности, 350-400 нм, они могут сохранить свое бесцветное прозрачное состояние. Далее, так как тонкая пленка, состоящая из Al2O3, ZrO2, MgF2 и ITO, имеет низкое внутреннее напряжение и низкое сопротивление изгибу, то даже если по какой-либо причине к органическому EL дисплею 1 извне прикладывается внешняя сила, тонкая пленка поглощает внешнюю силу и проявляет высокую ударную прочность. В результате уменьшается вероятность того, что неорганическая барьерная пленка 4 треснет, и ее герметизирующие характеристики ухудшатся. Так как эти тонкие пленки не полностью поглощают свет в диапазоне длин волн от 350 до 400 нм, когда они нанесены на пленку высокомолекулярного соединения, представляющую собой пленку 3 алифатической полимочевины, они не окрашиваются, даже если принимают свет в диапазоне длин волн, в частности, 350-400 нм, так что они могут сохранять свое бесцветное прозрачное состояние.
Пример 1
В качестве основы использовалась полиэфирная пленка (PET) толщиной 50 мкм, и на пленочной основе способом полимеризации с испарением была сформирована первая пленка алифатической полимочевины толщиной 1 мкм, используя 1,12-диаминододекан и 1,3-бис(изоцианатометил)циклогексан в качестве мономерного сырья. На пленку алифатической полимочевины способом электронно-лучевого испарения была нанесена неорганическая барьерная пленка толщиной 0,1 мкм, состоящая из Al2O3. Затем на первую неорганическую барьерную пленку по той же процедуре, какая описана выше, были нанесены вторая пленка алифатической полимочевины и вторая неорганическая барьерная пленка, имеющие ту же толщину, что и вышеуказанные пленки, и кроме того, на вторую неорганическую барьерную пленку была нанесена третья пленка алифатической полимочевины, имеющая ту же толщину, что и указанная выше пленка (5-слойная структура), тем самым был получен образец A примера 1.
Кроме того, в качестве основы использовалась полиэфирная пленка (PET) толщиной 50 мкм, как и для основы выше, и на пленочной основе способом полимеризации с испарением была сформирована пленка алифатической полимочевины толщиной 1 мкм, используя 1,12-диаминододекан и 1,3-бис(изоцианатометил) циклогексан как мономерное сырье. Далее, на пленку алифатической полимочевины способом электронно-лучевого испарения был нанесен слой Al2O3 толщиной 0,1 мкм (двухслойная структура), тем самым был получен образец B варианта осуществления 1.
Сравнительный пример 1
В качестве основы использовалась полиэфирная пленка (PET) толщиной 50 мкм, и на пленочной основе способом полимеризации с испарением была сформирована пленка ароматической полимочевины толщиной 1 мкм, используя 4,4′-дифенилметан диизоцианат и 4,4′-диаминофенилметан как мономерное сырье. Затем на пленку ароматической полимочевины способом реактивного напыления была нанесена пленка нитрида кремния толщиной 0,1 мкм (двухслойная структура), тем самым был получен образец сравнительного примера 1.
Затем методом повышения давления было измерено влагопропускание соответствующих образцов (“Vacuum” Volume 35, No.3, P 317 (1992)). Таблица 1 показывает пропускание влаги одновременно с влагопропусканием полиэфирной (PET) пленочной основы. Согласно результатам измерения можно видеть, что образец B имеет влагопропускание 0,1 г/(м2·сут), а образец A, выполненный как многослойная структура, может достичь влагонепроницаемости, превышающей предел измерения влагопропускания. Отметим, что когда влагопропускание образцов варианта осуществления 1 измеряли снова путем повторного наматывания их вокруг цилиндра, имеющего радиус 30 мм, 20 раз, их проницаемость не изменялась, из чего можно заключить, что неорганическая барьерная пленка имеет высокое сопротивление изгибу и уменьшает вероятность ухудшения герметизирующих характеристик.
| Таблица 1 |
 |
Основа |
Образец A |
Образец B |
Сравнительный пример 1 |
| Влагопропускание (г/(м2·сут)) |
30 |
10-4 или меньше |
0,1 |
1 |
Далее, поверхности образцов A и B варианта осуществления 1 и образца сравнительного примера 1 облучали ультрафиолетом с интенсивностью облучения 10 мВт/см2, и измеряли пропускание света длиной волны 380 нм.
Таблица 2 показывает результаты измерения светопропускания вместе со светопропусканием соответствующих образцов до того, как их облучали ультрафиолетом. Согласно результатам измерения светопропускание образца сравнительного примера 1 уменьшалось примерно на 10% после его облучения ультрафиолетом, и образец желтел. Напротив, можно установить, что светопропускание образцов A и B не изменялось, даже если их облучали ультрафиолетовыми лучами, и они оставались в бесцветном прозрачном состоянии.
| Таблица 2 |
 |
Основа |
Образец A |
Образец B |
Сравнительный пример 1 |
| Светопропускание (%) |
93 |
92 |
93 |
90 |
| Светопропускание после облучения ультрафиолетом (%) |
93 |
92 |
93 |
80 |
Краткое описание чертежей
Фиг.1 является сечением, поясняющим органический EL дисплей по настоящему изобретению.
Фиг. 2 является видом, поясняющим окрашивание обычного органического EL дисплейного устройства.
Позиции для ссылок
1 органический EL дисплей
2 основа
21, 23 электроды дисплея
22 органический функциональный слой
3 пленка высокомолекулярного соединения
4 неорганическая барьерная пленка
Формула изобретения
1. Органический электролюминесцентный дисплей, содержащий органическое электролюминесцентное устройство, которое имеет первый и второй электроды дисплея и по меньшей мере один органический функциональный слой, проложенный между электродами дисплея и состоящий из органического соединения; основу для удержания органического электролюминесцентного устройства; пленку высокомолекулярного соединения, которая покрывает органическое электролюминесцентное устройство и поверхность основы по периметру органического электролюминесцентного устройства; и неорганическую барьерную пленку, которая покрывает пленку высокомолекулярного соединения, края пленки высокомолекулярного соединения и поверхности основы по периметру пленки высокомолекулярного соединения, отличающийся тем, что в качестве пленки высокомолекулярного соединения используется пленка алифатической полимочевины.
2. Органический электролюминесцентный дисплей по п.1, отличающийся тем, что пленка алифатической полимочевины образована из мономерного сырья способом полимеризации с испарением.
3. Органический электролюминесцентный дисплей по п.2, отличающийся тем, что мономерное сырье содержит мономерный алифатический диамин и мономерный алифатический диизоцианат.
4. Органический электролюминесцентный дисплей по любому из пп.1-3, отличающийся тем, что в качестве неорганической барьерной пленки используется любое вещество, выбранное из Al2O3, ZrO2, MgF2 и ITO.
5. Органический электролюминесцентный дисплей по п.4, отличающийся тем, что неорганическая барьерная пленка образована способом электронно-лучевого испарения.
6. Органический электролюминесцентный дисплей по любому из пп.1-3, отличающийся тем, что поочередно нанесено несколько пленок высокомолекулярного соединения и неорганических барьерных пленок.
РИСУНКИ
TH4A – Переиздание описания изобретения к патенту Российской Федерации
Причина переиздания: Коррекция в тексте описания изобретения
Извещение опубликовано: 10.06.2010 БИ: 16/2010
|
|