|
|
(21), (22) Заявка: 2008120064/06, 20.05.2008
(24) Дата начала отсчета срока действия патента:
20.05.2008
(46) Опубликовано: 27.02.2010
(56) Список документов, цитированных в отчете о поиске:
RU 2208683 C1, 20.07.2003. US 6981846 B2, 03.01.2006. SU 364747 А, 28.12.1972. SU 702736 А1, 27.08.2005. US 2006/0171808 А1, 03.08.2006. US 2006/0056967 А1, 16.03.2006.
Адрес для переписки:
152934, Ярославская обл., г. Рыбинск, ул. Пушкина, 53, ГОУ ВПО РГАТА имени П.А. Соловьева, служба интеллектуальной собственности
|
(72) Автор(ы):
Пиралишвили Шота Александрович (RU), Хасанов Салават Маратович (RU), Веретенников Сергей Владимирович (RU), Емасов Фанус Хасанович (RU), Семенова Анна Геннадьевна (RU)
(73) Патентообладатель(и):
Государственное образовательное учреждение высшего профессионального образования Рыбинская государственная авиационная технологическая академия имени П.А. Соловьева (RU)
|
(54) СОПЛОВАЯ ЛОПАТКА ГАЗОВОЙ ТУРБИНЫ С ЦИКЛОННО-ВИХРЕВОЙ СИСТЕМОЙ ОХЛАЖДЕНИЯ
(57) Реферат:
Сопловая лопатка газовой турбины с циклонно-вихревой системой охлаждения содержит закручивающие устройства, охлаждающие цилиндрические каналы, перфорацию входной кромки. В теле лопатки имеется центральная полая камера, подводящая дополнительно хладагент через закручивающие устройства, расположенные по высоте охлаждающих цилиндрических каналов на расстоянии, равном 4 и 8 калибрам, отнесенных к диаметру охлаждающих каналов. В выходной кромке лопатки размещена вихревая матрица. Изобретение позволяет повысить эффективность охлаждения, а следовательно, увеличить ресурс лопатки. 3 з.п. ф-лы, 8 ил.
Изобретение относится к области двигателестроения и может быть использовано в конструкции охлаждаемых сопловых лопаток газовых турбин.
Изобретение позволяет повысить эффективность охлаждения, а следовательно, увеличить ресурс лопатки.
Известны современные конструкции охлаждаемых сопловых лопаток газовой турбины с конвективными и конвективно-пленочными способами охлаждения, имеющие канально-петлевую с многочисленными «ходами», дефлекторную, струйно-дефлекторную схему течения хладагента. Существенными недостатками известных лопаток является: слабая интенсивность охлаждения, значительный расход хладагента, сложность и трудоемкость изготовления дефлекторов (Богомолов Е.Н. Рабочие процессы в охлаждаемых турбинах газотурбинных двигателей с перфорированными лопатками [Текст] / Е.Н.Богомолов – М. Машиностроение, 1987. – 160 с.).
Процесс охлаждения лопаток может быть интенсифицирован при использовании закрученных потоков. Таким образом, в качестве альтернативных схем охлаждения лопаток газовых турбин могут быть предложены циклонно-вихревые (с закруткой потока) системы охлаждения. Характерные особенности закрученного потока наиболее полно подходят для создания эффективных схем конвективных и конвективно-пленочных систем охлаждения лопаток проточной части ГТД.
Наиболее близкой по технической сущности к заявленной является лопатка турбины с использованием вихревой системы охлаждения [Патент США, US 6981846 F01D 5/18, Jan. 3. 2006], в полости которой выполнены две полые камеры, из которых хладагент через закручивающие устройства поступает в охлаждающие ячейки. Охлаждающие ячейки представляют собой не менее двух соединенных между собой закручивающими устройствами цилиндрические каналы. Хладагент из полых камер поступает в первый охлаждающий канал и выходит через боковые поверхности в проточную часть через последний охлаждающий канал ячейки. Часть хладагента из центральной полой камеры поступает в канал входной кромки и выходит в газовый тракт через перфорацию на входной кромке. Хладагент из второй полой камеры поступает в каналы, расположенные в выходной кромке, охлаждает ее и отводится в проточную часть.
Недостатками известной конструкции лопатки турбины с вихревой системой охлаждения являются:
– неэффективное охлаждение выходной кромки лопатки из-за отсутствия турбулизации охлаждающего потока;
– охлаждающая завеса на боковых поверхностях лопатки сдувается набегающим потоком, что приводит к снижению эффективности охлаждения и увеличению расхода хладагента за счет его выброса в проточную часть;
– вследствие соединения в охлаждающей ячейке каналов закручивающим устройством снижается интенсивность закрутки в последующих каналах.
Техническим результатом заявляемого изобретения является повышение эффективности охлаждения, а следовательно, увеличение ресурса лопатки.
Указанный технический результат достигается тем, что в теле лопатки имеется центральная полая камера, подводящая дополнительно хладагент через закручивающие устройства, расположенные по высоте охлаждающих цилиндрических каналов на расстоянии, равном 4 и 8 калибрам, отнесенных к диаметру охлаждающих каналов, а в выходной кромке размещена вихревая матрица. Лопатка содержит нижний и верхний ресиверы. Охлаждающие цилиндрические каналы сообщаются с нижним и верхним ресиверами.
Использование циклонно-вихревой схемы охлаждения позволяет добиться требуемой равномерности температуры по контуру и по высоте лопатки, обеспечивая высокую степень ее охлаждения, при сохранении используемого для этой цели расхода охладителя.
Изобретение поясняется чертежами.
На фиг.1 представлен общий вид лопатки.
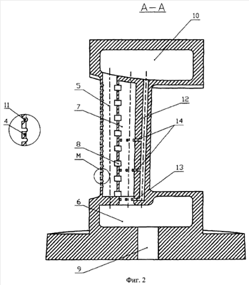
На фиг.2 показан разрез пера входной кромки лопатки фиг.1, сечение А-А.
На фиг.3 изображен поперечный разрез пера лопатки фиг.1, сечение В-В.
На фиг.4 представлен поперечный разрез пера лопатки фиг.1, сечение С-С.
На фиг.5 показан разрез пера лопатки фиг.4, сечение Е-Е.
На фиг.6 показан общий вид боковой поверхности лопатки.
На фиг.7 показан разрез пера лопатки фиг.6, сечение D-D
На фиг.8 показан разрез нижнего ресивера лопатки фиг.6, сечение F-F
Сопловая лопатка газовой турбины с циклонно-вихревой системой охлаждения (фиг.1) содержит перо 1 с нижним 2 и верхним 3 элементами крепления ее к корпусу двигателя. Во входной кромке 4, показано на фиг.2, выполнен продольный канал 5, сообщающийся с центральной полой камерой 7 закручивающими устройствами 8. Центральная полая камера 7 соединена с расположенным нормально к ней нижним ресивером 6, как показано на фиг.8. Нижний ресивер 6 сообщается с каналом подвода хладагента 9. Канал 5 входной кромки сообщается с верхним ресивером 10 для отвода охладителя (фиг.2). По всей высоте пера входная кромка содержит перфорацию 11 (фиг.2) для создания охлаждающей завесы. В боковых стенках по всей высоте пера лопатки выполнены цилиндрические каналы 12 диаметром 2 мм с подводом воздуха через закручивающее устройство 13 (фиг.2) из нижнего ресивера 6. В теле лопатки содержится центральная полая камера 7, соединенная с нижним ресивером 6 и охлаждающими цилиндрическими каналами 12 закручивающими устройствами 14, расположенными на высоте 4 и 8 калибров (отнесенных к диаметру охлаждающих каналов 12) от корневого сечения лопатки. Охлаждающие цилиндрические каналы 12 сообщаются с верхним ресивером 10, с которым соединяется вихревая матрица 15 с выпуском охладителя через щель выходной кромки 16.
Сопловая лопатка газовой турбины с циклонно-вихревой системой охлаждения работает следующим образом. Сжатый охладитель через канал подвода хладагента 9 и нижний ресивер 6 и из центральной полой камеры 7 через закручивающие устройства 8 втекает в канал 5. Часть хладагента из канала 5 отводится через перфорацию 11 во входной кромке 4 в газовоздушный тракт двигателя, создавая охлаждающую завесу на поверхности входной кромки 4, часть охладителя из канала 5 поступает в верхний ресивер 10 и отводится в вихревую матрицу 15. Из нижнего ресивера 6 сжатый воздух через закручивающееся устройство 13 в виде интенсивно закручивающего потока поступает в охлаждающие цилиндрические каналы 12. Интенсивно закрученный поток перемещается вдоль периферии каналов 12, теряет свою закрутку в процессе диссипативного воздействия вязкостных сил и потери импульса на генерацию турбулентности и когерентных вихревых структур, однако благодаря подводу охладителя из центральной полой камеры 7 через закручивающие устройства 14 этого не происходит, таким образом, на оси цилиндрических каналов не возникает возвратного приосевого течения в виде вынужденного вихря.
Хладагент из цилиндрических каналов 12 поступает в верхний ресивер 10, из которого, проходя вихревую матрицу 15, охлаждающий поток турбулизируется и выводится через щель выходной кромки 16.
Закрутка потока и интенсивная турбулизация его обеспечивают существенное увеличение коэффициента теплоотдачи. Конструкция циклонно-вихревой конвективно-пленочной системы охлаждения сопловой лопатки газовой турбины позволит обеспечить повышение уровня температуры перед газовой турбиной на 100-200°С и равномерное распределение температуры по поверхности лопатки.
Формула изобретения
1. Сопловая лопатка газовой турбины с циклонно-вихревой системой охлаждения, содержащая закручивающие устройства, охлаждающие цилиндрические каналы, перфорацию входной кромки, отличающаяся тем, что в теле лопатки имеется центральная полая камера, подводящая дополнительно хладагент через закручивающие устройства, расположенные по высоте охлаждающих цилиндрических каналов на расстоянии, равном 4 и 8 калибрам, отнесенных к диаметру охлаждающих каналов, а в выходной кромке лопатки размещена вихревая матрица.
2. Сопловая лопатка газовой турбины по п.1, отличающаяся тем, что лопатка содержит нижний и верхний ресиверы.
3. Сопловая лопатка газовой турбины по п.2, отличающаяся тем, что охлаждающие цилиндрические каналы сообщаются с нижним и верхним ресиверами.
4. Сопловая лопатка газовой турбины по п.3, отличающаяся тем, что вихревая матрица соединена с верхним ресивером.
РИСУНКИ
|
|