Патент на изобретение №2382884

Published by on




РОССИЙСКАЯ ФЕДЕРАЦИЯ



ФЕДЕРАЛЬНАЯ СЛУЖБА
ПО ИНТЕЛЛЕКТУАЛЬНОЙ СОБСТВЕННОСТИ,
ПАТЕНТАМ И ТОВАРНЫМ ЗНАКАМ
(19) RU (11) 2382884 (13) C2
(51) МПК

F01C3/06 (2006.01)
F04C3/06 (2006.01)

(12) ОПИСАНИЕ ИЗОБРЕТЕНИЯ К ПАТЕНТУ

Статус: по данным на 27.10.2010 – действует

(21), (22) Заявка: 2006124511/06, 10.07.2006

(24) Дата начала отсчета срока действия патента:

10.07.2006

(43) Дата публикации заявки: 20.01.2008

(46) Опубликовано: 27.02.2010

(56) Список документов, цитированных в отчете о
поиске:
RU 2004133654 А, 20.04.2006. RU 2134796 С1, 20.08.1999. US 2832198 А, 29.04.1958. GB 1458459 A, 15.12.1976. DE 878755 A, 08.07.1949.

Адрес для переписки:

152026, Ярославская обл., г. Переславль-Залесский, ул. 50 лет Комсомола, 19, кв.56, для А.В.Дидина

(72) Автор(ы):

Дидин Александр Владимирович (RU),
Яновский Илья Яковлевич (RU)

(73) Патентообладатель(и):

Дидин Александр Владимирович (RU),
Яновский Илья Яковлевич (RU)

(54) СФЕРИЧЕСКАЯ ОБЪЕМНАЯ РОТОРНАЯ МАШИНА И СПОСОБ РАБОТЫ СФЕРИЧЕСКОЙ ОБЪЕМНОЙ РОТОРНОЙ МАШИНЫ

(57) Реферат:

Изобретение относится к области машиностроения, а именно к объемным роторным машинам. Объемная роторная машина содержит корпус, рабочей поверхностью которого является поверхность вращения, ротор с рабочей поверхностью вращения, установленный в корпусе с возможностью вращения, кольцевую рабочую полость, образованную рабочими поверхностями корпуса и ротора, «с»-образный разделитель, установленный в кольцевой рабочей полости под углом к плоскости вращения ротора, в части рабочей полости по ходу вращения ротора, прикрепленный неподвижно к корпусу, окна входа и выхода рабочего тела. Окно входа отделено от окна выхода разделителем. На рабочей поверхности ротора выполнен, по меньшей мере, один паз под углом к плоскости вращения ротора, превышающим угол наклона разделителя, например, вдоль геометрической оси вращения ротора. В каждом пазу ротора установлен поршень с возможностью перекрытия рабочей полости и совершения вращательных колебаний в плоскости паза. Поршень выполнен в виде, по меньшей мере, части диска, а в каждом поршне имеется, по меньшей мере, одна прорезь для прохода разделителя, средство для перекрытия прорези поршня на напорном участке машины. Изобретение направлено на обеспечение постоянной подачи на всем цикле работы и удобное объединение отдельных ступеней в многоступенчатый агрегат. 2 н. и 20 з.п. ф-лы, 21 ил.

Область техники, к которой относится изобретение

Изобретение относится к области машиностроения, именно к роторным объемным машинам, которые могут быть использованы в качестве насосов, компрессоров, гидроприводов и т.д., в частности в многоступенчатых погружных установках.

Уровень техники

Известна объемная роторная машина (ОРМ) (RU 2004133654), у которой имеется корпус с внутренней полостью кольцевой формы. В этой полости установлен разделитель спиральной формы, в котором установлен ротор. Рабочая поверхность ротора является поверхностью вращения, в которой имеется, по меньшей мере, один паз вдоль оси вращения ротора, в каждом из которых установлен с возможностью вращения поршень, частично выступающий с одной стороны ротора. Поршень имеет при этом, по крайней мере, один сквозной вырез по периметру, взаимодействующий с разделителем, для синхронизации вращения поршня с вращением ротора. Окно входа машины и окно выхода машины разнесены вдоль оси ротора и отделяются друг от друга разделителем. Поршень такой машины вращается в одном направлении относительно ротора и вместе с ротором вращается относительно корпуса.

Такая машина имеет следующие преимущества.

Поршень надежно установлен в прорези ротора, выступая из него частью около половины.

Разнесение окон входа и выхода вдоль оси ротора позволяет легко объединять такие машины в многоступенчатые, в том числе с общим ротором для многих ступеней. Такие машины используются в погружных установках. Общий ротор позволяет снять нагрузки с радиальных, а часто и с упорных подшипников ротора за счет уравновешивания нагрузок отдельных ступеней при их развороте относительно друг друга.

Существенным преимуществом насоса, созданного на основе такой машины, является постоянство подачи.

Недостатком таких машин является сложная форма разделителя и прорези поршня, не позволяющая осуществить их контакт по большой площади, для снижения износа этой пары трения (для уменьшения идеальной нагрузки на эту пару трения и для увеличения ее ресурса).

Известна ОРМ (GB 1458459 и похожая на нее DE 3206286 А1), у которой в корпусе имеются полость в виде сегмента сферы, в которой вдоль оси симметрии полости установлен разделитель в виде сектора круга, перекрывающего полость; ротор, установленный с возможностью вращения в корпусе, с рабочей поверхностью в виде двух усеченных конусов, опирающихся вершинами на сферу с противоположных сторон, причем на поверхности сферы (в пределах рабочей полости), под углом к оси симметрии ротора, имеется кольцевой паз, выполненный касательно к обоим конусам. В этом пазу закреплен с возможностью вращения относительно ротора поршень, в котором имеется прорезь, способная пропускать разделитель. Причем поршень взаимодействует с разделителем через уплотнительный синхронизирующий элемент (УСЭ), выполненный в виде цилиндра, рассеченного пополам, пазом, начинающимся на одном торце и идущим практически до второго торца. Окно входа рабочего тела и соответствующее ему окно выхода расположены по одну сторону поршня. С другой стороны поршня имеется еще пара окон входа и выхода. Поршень такой машины колеблется относительно корпуса, а ротор машины вращается относительно колеблющегося поршня.

Преимущества такой машины следующие:

хороший контакт поршня с камерой корпуса по сферической поверхности, хороший контакт между поршнем, уплотняющим элементом и разделителем, простые геометрические формы: плоский разделитель, плоский поршень и т.д.

ОРМ имеет также недостатки: неудобство объединения такой машины в многоступенчатую машину, связанное с тем, что окна входа и выхода находятся по одну сторону поршня и для прохода из ступени в ступень необходимо делать канал, обходящий сферическую полость корпуса вдоль оси ротора. Недостатками также являются неравномерность подачи, слабое крепление поршня (только частью, сидящей в пазу на сфере), которое к тому же ослабляет вал за счет кольцевого паза, ненадежное крепление уплотнительного синхронизирующего элемента в прорези поршня (возможно заклинивание при увеличении нагрузки).

Известна ОРМ (DE 3146782 А1), у которой имеются корпус с полостью в виде сегмента сферы, ротор, установленный с возможностью вращения, в котором выполнен сквозной разрез вдоль оси ротора. Также имеются поршень в виде диска, установленный в пазу ротора с возможностью вращения, камера в виде сферического сегмента, перегороженная разделителем по ходу вращения ротора, окна выхода и входа, расположенные до и после разделителя соответственно. Причем вращение поршня синхронизировано с вращением ротора при помощи вала, неподвижно идущего через ротор и системы шестеренок, одна из которых закреплена на поршне. Поршень такой машины вращается в одном направлении относительно ротора и вместе с ротором вращается относительно корпуса.

Преимуществами этой машины являются сферический контакт поршня и камеры, надежность крепления поршня, выступающего в обе стороны из вала, наличие прочного вала (продольный паз мало его ослабляет), возможность вывести (развести) окна входа и выхода вдоль вала для объединения нескольких ступеней на одном валу, независимость утечек от износа механизма синхронизации, возможность больших оборотов.

Недостатком является ненадежный механизм синхронизации, особенно если надо пропустить вал шестерни через несколько ступеней.

Ближайшим аналогом является ОРМ по заявке RU 2004133654.

Задачей данного изобретения является раскрытие способа работы сферической (имеющей в корпусе полость в виде сегмента сферы, часть которой является поверхностью рабочей камеры) ОРМ, который позволяет сделать подачу такой машины практически постоянной на всем цикле и разнести окно входа рабочего тела и окно выхода рабочего тела вдоль оси вращения ротора машины (последнее позволяет удобно объединять отдельные ступени ОРМ в многоступенчатый агрегат с общим ротором, для использования в скважинных погружных установках). Характерной особенностью данной ОРМ является наличие, по меньшей мере, одного поршня, установленного в пазу ротора и совершающего вращательные колебания относительно ротора и вращающегося в одну сторону вместе с ротором относительно корпуса. Конструктивно такое движение поршня обусловлено тем, что в корпусе неподвижно, под наклоном к плоскости вращения ротора, установлен разделитель, перегораживающий кольцевую рабочую камеру, образованную между корпусом и ротором, а паз ротора под поршень имеет больший угол наклона к плоскости вращения ротора, чем угол наклона разделителя. В большинстве вариантов паз расположен вдоль оси ротора. В самом простом случае поршень представляет собой плоский диск со сферической боковой поверхностью, диаметр которой практически равен диаметру сферической полости корпуса. Однако (см. далее) для улучшения некоторых характеристик приходится использовать поршень с разной по радиусу и/или по углу толщиной, а также использовать в качестве поршня часть диска, например, в виде усеченного сектора или диск с выборками в отдельных местах. Это требуется, например, для возможности установки множества поршней, для возможности выборки зазоров центробежными силами, для облегчения поршня за счет удаления неиспользуемых частей и т.д. При использовании поршня в виде целого диска паз под поршень в роторе выполняется сквозным и в поршне имеются две сквозные прорези для пропускания разделителя, находящиеся на приблизительно диаметрально противоположных частях поршня. При использовании поршня в виде сектора диска паз под поршень в роторе можно выполнять глухим (это увеличивает подачу машины) и в поршне имеется одна сквозная прорезь для пропускания разделителя. В самом простом случае разделитель представляет собой плоскую шайбу, диаметр рабочей части которой (в нее не входит крепление шайбы к корпусу) практически равен диаметру полости корпуса и на участке которой выполнены сквозные проходы (отверстия, щели) с одной стороны (плоскости) шайбы на противоположную сторону. В предельном случае просто отсутствует около половины шайбы, на ее месте выполнен один большой проход. Этот предельный случай логично относить к тому же типу машин, а оставшийся от разделителя участок называть участком шайбы, т.к. форма разделителя обусловлена траекторией прорези поршня, которая по-прежнему остается замкнутой. Причем прорезь поршня описывает замкнутую траекторию, идущую только вокруг ротора в отличие от других заявок, где прорезь качается относительно корпуса. Однако в ряде случаев (см. далее) полезными являются отклонения формы разделителя от плоской формы. Простейшие отклонения связаны с изменением толщины шайбы вдоль ее радиуса. Они связаны с ее прочностными свойствами и прочностными свойствами ответных деталей, а также с экономией места в рабочей полости. В ряде случаев встречается изменение толщины вдоль окружности, и реже встречается искривление шайбы для оптимизации углов наклона по отношению к поршню или скорости поршня на разных участках цикла машины. Поршень может быть снабжен уплотнительным синхронизирующим элементом (УСЭ), часть которого выступает в одну или в обе прорези поршня. Синхронизирующим он назван, т.к. передает усилие от разделителя к поршню для синхронизации последнего, а уплотнительным, потому что, имея благодаря дополнительным степеням свободы большую возможность отслеживать угол наклона разделителя, осуществляет более плотный контакт с разделителем по большей площади. УСЭ логично считать частью поршня. Наконец, еще одним отклонением является отклонение полости корпуса от сферы, связанное как с допусками на изготовление, припусками на возможные люфты в системе (например, на осевой люфт вала), так и с отклонениями от сферичности, связанными с увеличением некоторых характеристик за счет других. Так, при нескольких поршнях в виде секторов диска можно увеличить производительность машины, превращая сферу в бочку и далее, вплоть до цилиндра. При этом плавно изменяются другие характеристики: прилегание поршня к стенке корпуса сначала ухудшается, а затем улучшается по мере приближения к цилиндру, инерционная нагрузка на поршень растет.

Поставленная задача достигается тем, что ОРМ содержит

корпус, рабочей поверхностью которого является поверхность вращения,

ротор с рабочей поверхностью вращения, установленный в корпусе с возможностью вращения,

кольцевую рабочую полость, образованную рабочими поверхностями корпуса и ротора,

«с»-образный разделитель, установленный в кольцевой рабочей полости под углом к плоскости вращения ротора, в части рабочей полости по ходу вращения ротора, прикрепленный неподвижно к корпусу,

окна входа и выхода рабочего тела, причем окно входа отделено от окна выхода разделителем,

на рабочей поверхности ротора выполнен, по меньшей мере, один паз под углом к плоскости вращения ротора, превышающем угол наклона разделителя, например, вдоль геометрической оси вращения ротора,

в каждом пазу ротора установлен поршень с возможностью перекрытия рабочей полости и совершения вращательных колебаний в плоскости паза, при этом поршень выполнен в виде, по меньшей мере, части диска,

а в каждом поршне имеется, по меньшей мере, одна прорезь для прохода разделителя,

средство для перекрытия прорези поршня на напорном участке машины.

Поставленная задача достигается тем, что рабочая поверхность корпуса выполнена в виде сегмента сферы.

Поставленная задача достигается тем, что рабочая поверхность ротора выполнена в виде двух соосных поверхностей усеченных конусов, опирающихся усеченной частью на сферу.

Поставленная задача достигается тем, что пазы на рабочей поверхности ротора соединены в средине ротора.

Поставленная задача достигается тем, что разделитель выполнен в виде части плоской шайбы.

Поставленная задача достигается тем, что разделитель выполнен в виде части шайбы с конической рабочей поверхностью.

Поставленная задача достигается тем, что разделитель установлен в корпусе с возможностью касания ротора диаметрально противоположными частями разделителя, находящимися на его противоположных концах.

Поставленная задача достигается тем, что на разделителе в местах касания ротора выполнены выемки.

Поставленная задача достигается тем, что в прорези поршня установлен, по меньшей мере, один уплотняющий синхронизирующий элемент.

Поставленная задача достигается тем, что средством перекрытия прорези поршня является продолжение разделителя с выполненными на нем сквозными проходами, взаимодействующее с поршнем через уплотнительный синхронизирующий элемент.

Поставленная задача достигается тем, что средством перекрытия прорези поршня является выступ на поршне, взаимодействующий с уплотнительным синхронизирующим элементом.

Поставленная задача достигается тем, что средством перекрытия прорези поршня является уплотнительный синхронизирующий элемент с установленным в его прорези упругим элементом.

Поставленная задача достигается тем, что средством перекрытия прорези поршня является заслонка, установленная на поршне.

Поставленная задача достигается тем, что средством для открытия заслонки является элемент ротора.

Поставленная задача достигается тем, что средством для открытия заслонки является заход на разделитель для заслонки.

Поставленная задача достигается тем, что машина выполнена многоступенчатой, причем ротор выполнен общим для всех ступеней.

Поставленная задача достигается тем, что после первой ступени и далее через каждые две следующие ступени в корпусе выполнены каналы для разворота потока рабочего тела вокруг ротора на пол-оборота.

Поставленная задача достигается тем, что ОРМ осуществляет подачу рабочего тела способом, заключающимся в том что, по меньшей мере, одним поршнем с, по меньшей мере, одной сквозной прорезью для пропускания «с»-образного разделителя камерообразующей полости осуществляют проход прорезью разделителя за счет вращательных колебаний поршня относительно ротора, а на участке, свободном от разделителя, проталкивают рабочее тело при перекрытии прорези поршня средством перекрытия прорези, при этом впуск рабочего тела осуществляют через окно впуска, расположенное с одной стороны разделителя, а выпуск – через окно выпуска, расположенное с другой стороны разделителя.

Поставленная задача достигается тем, что перекрывают прорезь поршня продолжением разделителя с выполненными на нем сквозными проходами на другую его сторону.

Поставленная задача достигается тем, что перекрывают прорезь поршня уплотнительным синхронизирующим элементом, прорезь которого перекрывают выступом поршня при повороте уплотнительного синхронизирующего элемента относительно поршня за счет взаимодействия с разделителем.

Поставленная задача достигается тем, что перекрывают прорезь поршня управляемой заслонкой.

Поставленная задача достигается тем, что открывают заслонку, упираясь в элемент ротора.

Изобретение поясняется при помощи чертежей.

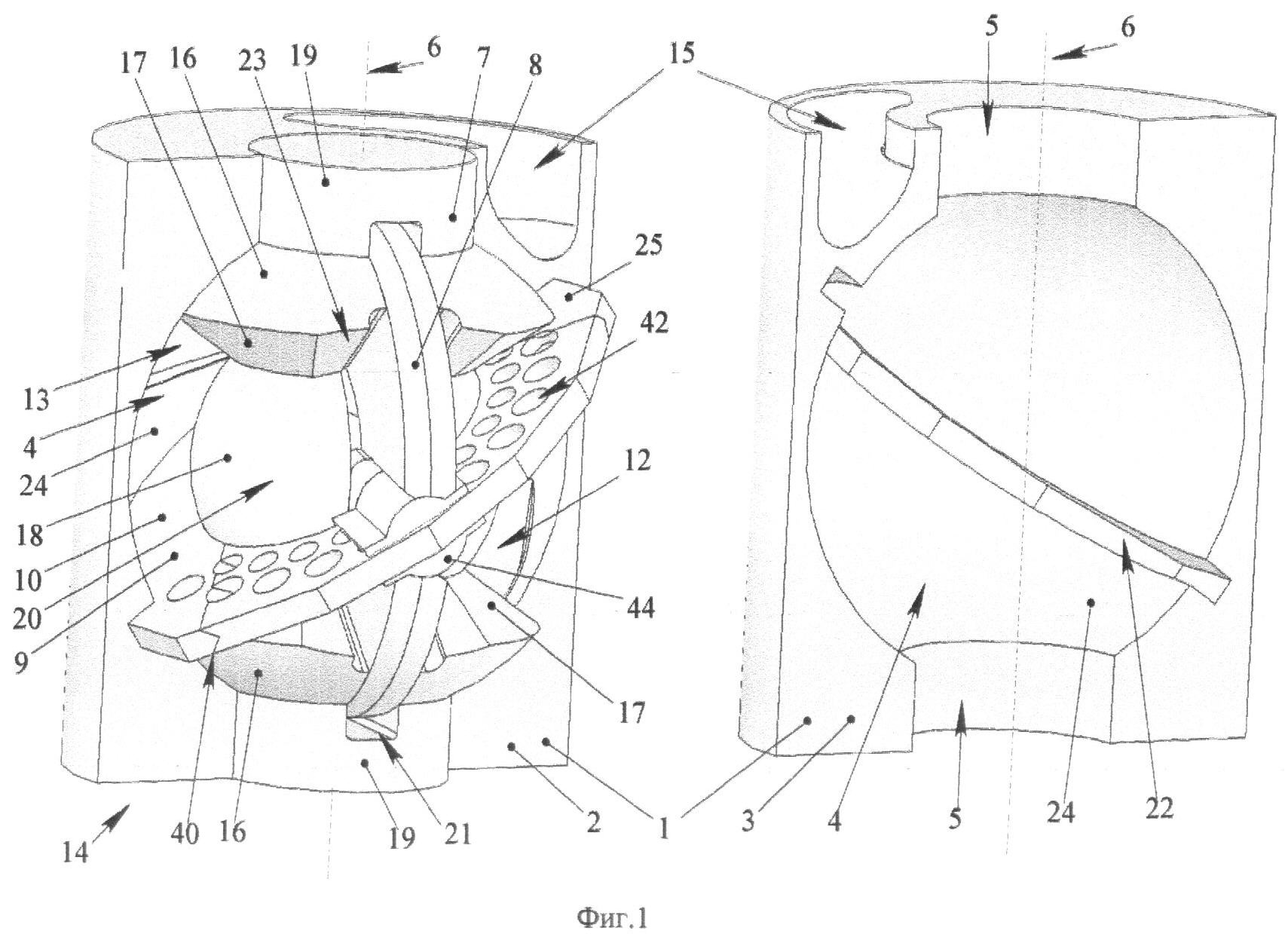
На фиг.1 представлена в изометрии ступень объемной роторной машины со снятой «нисходящей» (названа по направлению движения прорези поршня при поступательном вращении ротора) напорной частью корпуса (при этом для улучшения понимания соответствующая ей «нисходящая» часть разделителя оставлена). Статор машины состоит из двух продольных половинок.

На фиг.2 представлен в изометрии в разобранном виде узел, состоящий из ротора, вставок в ротор, поршня и УСЭ.

На фиг.3 – в изометрии разделитель.

На фиг.4 – в изометрии плоский вариант поршня.

На фиг.5 – в изометрии в разобранном виде УСЭ для плоского варианта поршня.

На фиг.6 – в изометрии часть ротора, соответствующая одной ступени ОРМ для плоского варианта поршня.

На фиг.7 – в изометрии две части плоского варианта поршня с выступом.

На фиг.8 – в изометрии плоский вариант поршня с шайбами.

На фиг.9 – в изометрии шайба для плоского варианта поршня.

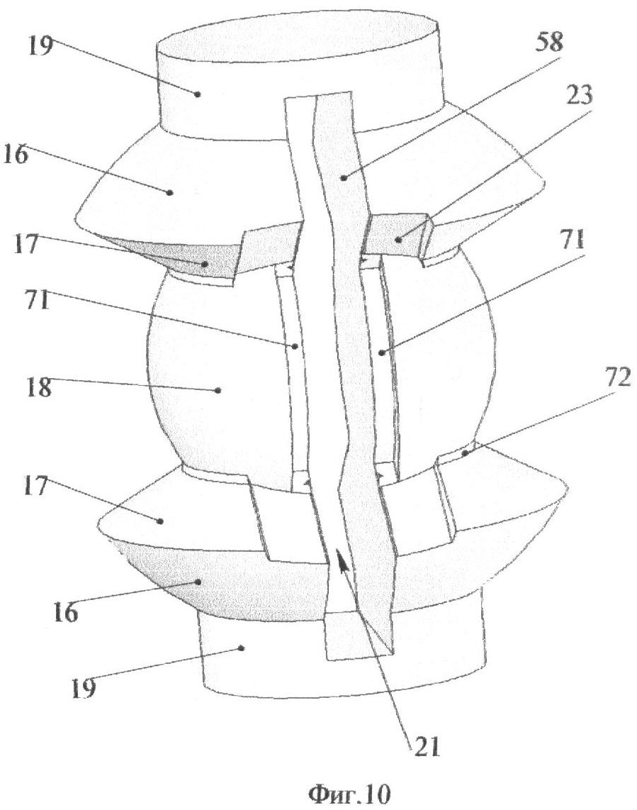
На фиг.10 – в изометрии вариант ротора одной ступени для плоского поршня с шайбой.

На фиг.11 – в изометрии плоский вариант поршня с УСЭ без выступов.

На фиг.12 – в изометрии другой вариант разделителя.

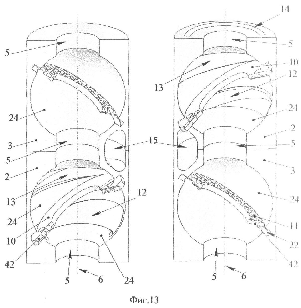
На фиг.13 -в изометрии сборка из корпусов двух ступеней ОРМ по фиг.1.

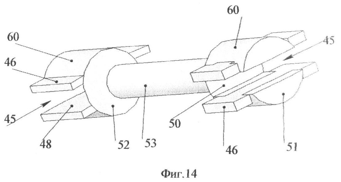
На фиг.14 – в изометрии крупным планом УСЭ с фиг.1.

На фиг.15 – в изометрии вариант ОРМ по фиг.1, у которого прорезь УСЭ перекрывается на напорном участке выступом поршня и дополнительно упругим элементом.

На фиг.16 – в изометрии в разобранном виде узел варианта ОРМ по фиг.15, состоящий из разделителя, ротора, вставок в ротор, поршня и УСЭ.

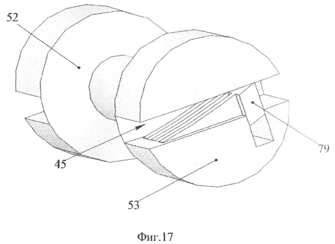
На фиг.17 – в изометрии крупным планом УСЭ с фиг.15.

На фиг.18 – в изометрии другой вариант ОРМ по фиг.1, у которого прорезь поршня перекрывается на напорном участке заслонкой.

На фиг.19 – в изометрии в разобранном виде узел варианта ОРМ по фиг.18, состоящий из разделителя, поршня и заслонок.

На фиг.20 – в изометрии другой вариант ОРМ по фиг.1 и фиг.18, у которого прорезь поршня перекрывается на напорном участке другим вариантом заслонки.

На фиг.21 – в изометрии в разобранном виде узел варианта ОРМ по фиг.20, состоящий из разделителя, поршня и заслонок.

На всех фигурах одинаковые по функциям элементы обозначены одними номерами, где

1 – корпус;

2 – часть корпуса, восходящая половина;

3 – часть корпуса, нисходящая половина;

4 – сферическая полость;

5 – концентрическое отверстие под выход вала ротора;

6 – геометрическая ось машины

7 – ротор;

8 – поршень;

9 – разделитель;

10 – «восходящая» (перепускная) часть разделителя;

11 – «нисходящая» (напорная) часть разделителя;

12 – окно входа;

13 – окно выхода;

14 – канал без разворота потока вокруг корпуса;

15 – канал для разворота потока вокруг корпуса;

16 – сферическая часть ротора над конусом;

17 – поверхность ротора в виде усеченного конуса;

18 – центральная сферическая часть ротора;

19 – выход вала ротора;

20 – рабочая полость;

21 – паз в роторе под поршень;

22 – паз в корпусе под разделитель;

23 – выемка в роторе под УСЭ;

24 – сферическая поверхность корпуса;

25 – плоская (коническая) поверхность разделителя;

26 – геометрическая ось поршня;

27 – ось поршня;

28 – плоская часть поршня;

29 – центральная утолщенная часть поршня;

30 – сквозное отверстие в поршне под УСЭ;

31 – сферическая боковая поверхность поршня;

32 – геометрическая ось УСЭ;

33 – прорезь в поршне под разделитель;

34 – торец поршня;

35 – дно в прорези поршня;

36 – боковая поверхность прорези поршня;

37 – цилиндрическая поверхность на боковой прорези поршня;

38 – коническая часть отверстия в прорези поршня под основание УСЭ;

39 – цилиндрическое отверстие в поршне под УСЭ;

40 – разъем разделителя;

41 – внутренняя сферическая поверхность разделителя;

42 – проход на разделителе;

43 – фаска, соединяющая торец поршня и цилиндрическую поверхность на боковой стороне прорези поршня;

44 – уплотнительный синхронизирующий элемент (УСЭ);

45 – паз в УСЭ под разделитель;

46 – выступы на УСЭ;

47 – штифт;

48 – плоская или коническая площадка на УСЭ;

49 – боковая поверхность паза УСЭ;

50 – дно паза УСЭ;

51 – сферический торец УСЭ;

52 – коническое основание УСЭ;

53 – ось УСЭ;

54 – отверстие под штифт в оси УСЭ;

55 – фаска между дном УСЭ и боковой поверхностью прорези УСЭ;

56 – внутренняя сферическая поверхность УСЭ;

57 – выборки в поршне под облегчение;

58 – плоская поверхность прорези ротора;

59 – углубление на плоской поверхности прорези ротора;

60 – цилиндрическая часть УСЭ.

61 – фаска на стыке центральной сферы ротора и его прорези;

62 – отверстие в поршне меньшего диаметра под штифт УСЭ;

63 – выступ на поршне для его усиления;

64 – отверстие для заклепок;

65 – шайба для установки в прорезь поршня;

66 – боковая плоская (коническая) сторона шайбы;

67 – цилиндрическое дно шайбы;

68 – сферический верх шайбы;

69 – коническое отверстие в шайбе;

70 – ответная прорези поршня сторона шайбы;

71 – паз на стыке центральной сферы ротора и его прорези;

72 – фаска на стыке центральной сферы ротора и его конической части;

73 – коническая часть тела вращения УСЭ;

74 – фаска на внутренней части разделителя;

75 – выступ на поршне для перекрытия прорези УСЭ;

76 – сход с разделителя;

77 – выступ на поршне под основание УСЭ;

79 – упругий элемент в прорези УСЭ;

80 – вставка в вал;

81 – заход на разделитель;

82 – площадка касания к ротору;

83 – заход на разделитель для заслонки;

84 – сход с разделителя для заслонки;

85 – паз на поршне под заслонку;

86 – заслонка;

87 – выемка в роторе под заслонку;

88 – выступ на заслонке;

89 – ось заслонки;

90 – канавка на заслонке под управляющий штифт;

91 – упругий элемент для привода заслонки.

Описание наилучшего образца выполнения машины.

Ступень объемной роторной машины (которая может использоваться и самостоятельно) (фиг.1) устроена следующим образом. В корпусе 1 (фиг.1, 13), выполненном из двух частей, условно «восходящей» (перепускной) половины 2 и «нисходящей» (напорной) половины 3, имеется полость 4 в виде сегмента сферы (правильнее, сегмента тора, который получается вместо сферы в результате допусков на осевой люфт ротора), из которой имеется два концентрических ей отверстия 5. В сферической полости 4 под углом к геометрической оси отверстия, являющейся геометрической осью машины 6, установлен разделитель 9 (фиг.1, 3), выполненный в виде шайбы с внутренним сферическим отверстием 41. Разделитель 9 по функциям условно можно разделить на две части: «восходящую» (перепускную) 10, идущую снизу вверх при обходе ротора справа на лево, и «нисходящую» (напорную) 11, идущую сверху вниз при обходе ротора справа налево. Хотя для прочности он выполнен из двух частей, несколько несовпадающих с функциональным делением, для простоты будем называть их так же. Каждая из частей разделителя 10 и 11 крепится к соответствующим частям корпуса 2 и 3. В данном исполнении они вставляются в пазы 22 на обеих частях корпуса. На одной из частей разделителя 9, нисходящей 11, выполнены сквозные проходы 42 на другую сторону разделителя 9. В корпусе 1 установлен с возможностью вращения относительно оси 6 корпуса 1 ротор 7 с рабочей поверхностью, выполненной в виде двух поверхностей усеченных конусов 17, опирающихся меньшими основаниями на центральную сферу 18 (фиг.1). Большие основания конусов соединены с концентричными им выходами вала 19 сегментами сферы 16, концентричными центральной сфере 18, и радиусами, приблизительно равными радиусу рабочей полости 4. На рабочей поверхности ротора 7 имеется сквозной паз 21 вдоль геометрической оси машины 6 (фиг.1). Для возможности разборки в пазу 21 на плоской поверхности 58 выполнено углубление 59, в которое вставляется вставка 80 (фиг.2). Сферической частью корпуса 4, конической частью ротора 17, центральной сферической частью ротора 18 и разделителем 9 образована рабочая полость 20, которую разделитель 9 разделяет на две части (фиг.1). Разделитель 9 касается конической поверхности 17 ротора 7 противоположными сторонами в двух диаметрально противоположных местах (фиг.1). Приблизительно эти места касания ограничивают восходящий и нисходящий участки разделителя. В месте касания для увеличения площади контакта выполнено коническое углубление 82. Перед углублением (перед местом касания) может быть выполнена канавка для предотвращения затирания абразива (не показана).

В пазу 21 установлен с возможностью вращательных колебаний вокруг геометрической оси 26, пересекающей перпендикулярно геометрическую ось 6 машины (другими словами, в плоскости паза 21), поршень 8 (фиг.1), выступающий в обе стороны из сквозного паза 21. Поршень 8 выполнен в виде диска, имеющего плоскую 28 и центральную утолщенную 29 части (фиг.2). На плоской части 28 имеются две диаметрально противоположные прорези 33 (фиг.7). На плоской части поршня 28 в районе прорези 33 для увеличения толщины поршня в этом месте выполнены выступы. Через паз 33 по диаметру выполнено сквозное отверстие 39. Оно имеет конические заходы 38 на небольшую глубину. Поршень 8 выполнен сборным из двух дискообразных частей. В отверстии 39 собранного поршня 8 установлен УСЭ 44, выполненный в виде двух цилиндров 60, соединенных осью 53. Торец каждого цилиндра 60 рассечен пазом 45 под разделитель 9 (фиг.2). Для увеличения площади боковой поверхности паза 48 на одной цилиндрической части 60 УСЭ 44, рассеченной пазом 45, выполнены выступы 46 (фиг.2, 14). В другую цилиндрическую часть 60 УСЭ 44, для разборности, такие выступы 46 вставляются в виде пластинок. Имеются окна входа 12 и выхода 13 рабочего тела, расположенные по разные стороны, соответственно под и над «восходящим» (перепускным) участком 2 разделителя 9 (снизу или сверху вдоль оси ротора 7), и примыкают к месту касания разделителя 9 с ротором 7 (фиг.2). При этом окна могут простираться по угловой протяженности на всю длину «восходящего» участка 3 разделителя 9 и даже залезать на площадки 82 контакта разделителя 9 с коническими поверхностями 17 ротора 7.

Собирается ОРМ следующим образом. УСЭ 44 устанавливается в отверстии 39 между двумя частями поршня 8. Части поршня 8 прочно соединяются между собой любым известным способом (винты, заклепки, сварка). На поршень 8 с двух сторон накладываются вставки 80. Весь этот узел вставляется в прорезь 21 ротора 7. При этом вставки 80 могут входить в углубления 59 свободно или запрессовываться. Далее собранный узел заключается между двумя половинками 2 и 3 корпуса 1 с уже вставленными в них частями 10 и 11 разделителя 9. Далее корпус 1 может просто плотно вставляться в трубу (обычная часть сборки многоступенчатых погружных насосов), или части 2 и 3 крепятся друг к другу любым известным способом (винты, кольца).

Для того чтобы ОРМ стала более технологичной (ширпотребом), в нее могут быть внесены следующие изменения.

Поршень 8 на фиг.4 выполнен в виде плоского диска (для возможности самоустановки в сферической полости 4 корпуса 1, 2, 3 и в прорези 21 ротора 7) со сферической боковой поверхностью 31. Торцы 34 поршня 8 выполнены плоскими, хотя допускаются небольшие отклонения (например, поднятие или обнижение середины поршня для регулирования момента трения поршня 8 в прорези 21 ротора 7) или смазочные и разгрузочные канавки, выборки 57 для облегчения, полости для жидкости (как в гидроподшипниках). На диаметрально противоположных сторонах диска выполнены сквозные прорези 33 для установки в них УСЭ 44. На боковой стенке 36 прорези 33 имеется цилиндрический участок 37, соединенный фасками 43 с торцевыми поверхностями 34 поршня 8. Дно 35 прорези имеет сферический участок, в центре которого выполнено цилиндрическое отверстие 39, идущее вдоль диаметра поршня 8. При выходе наружу отверстие становится коническим 38. Причем конус 38 выходит на торцевые поверхности 34 поршня 8. Это позволяет увеличить для прочности основание 52 УСЭ 44. Для простоты изготовления цилиндрическое отверстие 39 может выполняться сквозным, одного диаметра. Но более прочный поршень получается, если в центре поршня отверстие 39 проходит меньшим диаметром 62 (под штифт 47 УСЭ 44).

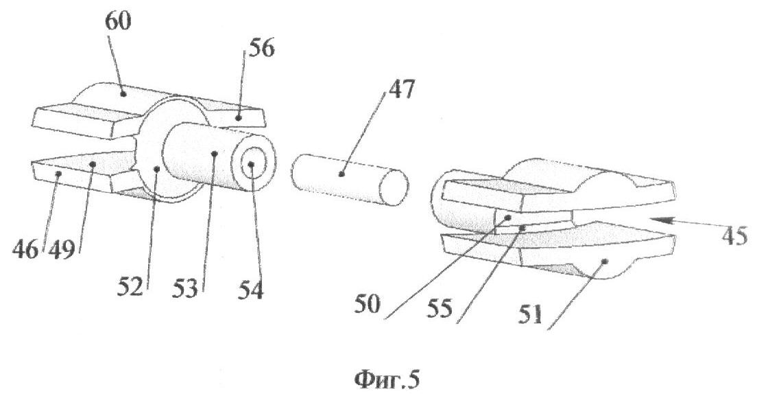
На фиг.5 изображен в разобранном виде УСЭ 44 для поршня 8 с фиг.4. Он состоит из двух одинаковых концов, соединяемых штифтом 47. На оси 53 УСЭ 44 имеется коническое основание 52, на котором имеется рассеченная сквозным пазом 45 цилиндрическая часть 60. На рассеченной цилиндрической части 60 имеются выступы 46, продлевающие сквозной паз 45. Дно паза 50 выполнено в виде участка сферы (для простоты и ввиду небольших размеров может выполняться в виде участка цилиндра или даже плоским). Чтобы минимизировать ослабление УСЭ 44 пазом 45, между дном паза 50 и его боковыми стенками 49 оставлены фаски 55 (радиусы округления). На противоположном торце оси 53 УСЭ 44 выполнено отверстие 54 под штифт 47, соединяющий два конца УСЭ 44. Диаметр конца оси 53 УСЭ 44, в который запрессовывается штифт 47, немного (например, на несколько соток) занижен. Цилиндрическая часть 60 УСЭ 44 имеет сферический торец 51 для контакта по сфере 4 корпуса 1 и сферический противоположный участок 56 для контакта по сфере 18 ротора 7.

Участок ротора 7 (фиг.6), соответствующий одной ступени ОРМ, выполнен для работы с поршнем 8 с фиг.4 и УСЭ 44 с фиг.5. Между входным и выходным валами 19 ротора 7 имеется сферическая часть 16, в экваториальной части которой выполнен круговой паз. Дном паза является центральная сфера 18, а боковыми стенками паза служат конические поверхности 17. Через сферу 16, вдоль геометрической оси 6 вращения ротора 7, симметрично выполнен, для простоты, прямоугольный (не считая радиусов скругления) сквозной паз 21. Паз 21 может немного заходить на входной и выходной вал 19, а его короткие стороны могут быть не прямыми (например, дуга). На стыке паза 21 ротора 7 и центральной сферы 18 выполняются фаски 61 для плотного прохождения конического основания 52 УСЭ 44.

Такое решение довольно простое. Сборка происходит следующим образом. В паз 21 ротора 7 вставляется поршень 8. В отверстие 39 (62) поршня 8 вставляется штифт 47, и далее с двух сторон в отверстие 39 поршня 8 вставляются и напрессовываются на штифт два конца УСЭ 44. Прорези 45 УСЭ 44 при этом ориентируются параллельно. Для более надежной фиксации можно покрывать отверстие 39 (62) поршня 8 тонким слоем электроизолирующего лака, а на поверхности штифта 47 создавать тонкую пленку окисла (для увеличения локального сопротивления току). При пропускании электрического разряда с одного конца УСЭ 44 на другой происходит сварка концов УСЭ 44 со штифтом 47.

Ось УСЭ 44 ослабляет поршень 8 (делит его на две части). Для устранения этого недостатка предлагается поршень 8 (фиг.7), состоящий из двух частей. Деление происходит вдоль плоскости торцов 34. При этом появляется возможность на одной из частей в средней части поршня 8 выполнить выступающую площадку 63. Основная цель площадки 63 – упрочнение поршня 8 за счет увеличения толщины в слабом месте. При необходимости площадка 63 может быть использована в качестве оси 27 вращения. Заодно, на примере этого поршня показан пример выполнения облегчения поршня 8 за счет выборок 57 материала изнутри. Пустоты 57 можно заполнить более легким веществом. Две части поршня 8 могут крепиться друг к другу, например, с помощью заклепок через отверстия 64, находясь уже в прорези 21 ротора 7.

Для работы с таким поршнем 8 в центральной части паза 21 ротора 7, по меньшей мере, на одной из его сторон (фиг.6) выполняется углубление 59 произвольной формы, достаточное для размещения выступа 63. При самоустанавливающемся поршне 8 выступ 63 должен входить в углубление 59 с достаточным люфтом, а при использовании выступающей площадки 63 в качестве оси 27 люфт должен быть небольшим.

Т.к. в этой ОРМ все границы раздела объемов с разными давлениями являются площадками (что уменьшает утечки и размывание металла жидкостью с абразивом), а не линиями, кроме границы между конусом 52 основания УСЭ 44 и фаской 61 на роторе 7, желательно и это место выполнить по-другому.

На фиг.8 показан поршень 8 с шайбой 65, которая устанавливается в прорезь 33 поршня 8 после его установки в прорезь 21 ротора 7. Шайба 65 функционально имеет четыре стороны, две 66 из которых плоские (конические) и две 70 имеют форму, ответную боковым стенкам прорези 33 поршня 8 (для фиксации в ней). Дно 67 шайбы 65 цилиндрическое (может быть сферическим), верх 68 сферический. В ней выполнено конусное (цилиндрическое) отверстие 69 под УСЭ 44. На роторе 7 в этом случае требуется выполнить канавки 71 вдоль стыка центральной сферы 18 с прорезью 21 (фиг.10). Прорезь 33 поршня 8 требуется углубить для размещения шайбы 65. В увеличенном виде шайба 65 показана на фиг.9.

Поршень 8 с УСЭ 44 без выступов 46 (фиг.11) является более дешевым и более герметичным вариантом, но его ресурс из-за отсутствия выступов 46 может быть ниже. Этот УСЭ 44 отличается еще и тем, что прорезь 45 имеет профиль, зауженный к центру поршня 8. Основание 52 УСЭ 44 не нарушает торцевую поверхность 34 поршня 8 (отверстие 38 вписывается в площадь дна 35 прорези 33). Выступающая в рабочую камеру 20 часть УСЭ 44 выполнена в виде тела вращения, состоящего из конуса 73 и цилиндра 60.

На фиг.12 показан разделитель 9, выполненный в виде многоугольника. Такая форма упрощает выполнение канавки на сферической поверхности 4 корпуса 1 для крепления разделителя 9. Для прочности деление разделителя 9 выполнено на две не равные части. Меньшей сделана часть 11 со сквозными проходами 42 (напорная), т.к. она испытывает только продольную нагрузку от перепада давления, в отличие от другой (перепускной) части 10. Разъем 40 выполнен в виде ступеньки, выходящей в центре разделителя 9 на диаметрально противоположные точки (или несколько далее на напорную часть). При сборке желательно дополнительно зафиксировать разъем 40 при помощи контактной сварки или другого известного метода. На стыке внутренней сферической поверхности 41 с боковой (плоской) поверхностью выполнена фаска 74. В этом случае ответная фаска 72 выполняется на роторе 7 (фиг.10).

На фиг.13 показано как стыкуются две ступени корпусов ОРМ из фиг.1. Для разгрузки вала ОРМ от радиальной нагрузки две ступени стыкуются между собой с разворотом на пол оборота относительно оси 6 машины. Из таких блоков можно набирать машину с большим числом ступеней. Для жесткости (поскольку каждая ступень ОРМ создает довольно большое давление) желательно выполнять продольную половину корпуса, состоящего из нескольких ступеней цельной. Однако это часто (в зависимости от имеющегося оборудования) нетехнологично. Ротор многоступенчатой машины еще важнее выполнять цельным из двух, четырех или более ступеней. Он может получаться просто сложением отдельных ступеней (без разворота).

Вариант исполнения ОРМ по фиг.15 отличается отсутствием «нисходящего» участка разделителя. Его роль в ОРМ по фиг.1 сводилась к перекрытию прорези УСЭ на напорном участке, и разделителем он назван как продолжение одной детали. Роль разделения камер с разными давлениями рабочего тела выполняет только «восходящий» участок 10 разделителя. Прорезь 45 УСЭ 44 в данной варианте ОРМ перекрывается выступом 75 (фиг.16) на поршне 8 при повороте УСЭ 44 разделителем 9 (бывшим «восходящим» участком 10), находящимся на противоположной стороне поршня 8. При этом пришлось убрать выступы 46 УСЭ 44. Для снижения перетоков на переходных участках (фиг.16) – заходе 81 на разделитель 9 и сходе 76 с него, когда прорезь 45 УСЭ 44 еще не полностью перекрыта выступом 75, в прорези 45 в углублении установлен упругий эластичный элемент 79 (фиг.17), перекрывающий прорезь 45 в отсутствие в ней разделителя 9. Пространство под этим элементом 79 соединено с камерой перед поршнем, так что давление рабочего тела не оказывает влияния на его положение. За счет смещения линии контакта упругого эластичного элемента 79 с верхней площадкой 48 УСЭ 44 вперед, можно создать усилие на запирание прорези 45 давлением рабочего тела. В остальном данный вариант ОРМ не отличается от варианта по фиг.1.

Вариант исполнения ОРМ по фиг.18 отличается от варианта по фиг.15 отсутствием УСЭ 44. Его роль в перекрытии прорези 33 поршня 8 выполняет новый элемент – заслонка 86. Для его установки на плоской части поршня выполнен паз 85, представляющий собой цилиндрическое углубление в центре соединенное с сектором, выходящим в окрестности паза 33 (фиг.19). В пазу 85 с возможностью вращения установлена заслонка 86, представляющая собой круг, соединенный ножкой с площадкой. Дальняя сторона площадки ограничена сферической поверхностью для уплотнения по сфере 24 корпуса. Ближняя – тоже по сфере, но меньшего радиуса для контакта по сферическому дну прорези 33 поршня 8. На круговой части заслонки 86 выполнен паз 90 в виде дуги. На противоположном конце поршня 8 на противоположной его стороне (симметрично относительно вертикальной оси) выполнен такой же паз 85, и в нем расположена еще одна заслонка 86. Две заслонки 86 могут быть неподвижно состыкованы между собой осью 89 через отверстие в центре поршня 8 или подпружинены упругим элементом 91 в сторону перекрытия прорези 33. Запрессованный в отверстие в роторе 7 (не показано) в прорезь 21 ротора 7 выставляется штифт, который попадает в канавку 90 заслонки 86. Его цель – останавливать заслонку 86 при движении прорези 33 поршня 8 вниз на высоте, при которой заслонка 86 не врежется в заход 83 (т.е. открывать прорезь 21 перед разделителем 9). Дополнительно на заслонке может быть выступ 88, а на разделителе – заход 83 для заслонки 86 и может быть сход 84. Форма рабочей поверхности выступа 88 похожа на часть функции косинус. Т.е. начальный участок вдоль скорости движения, далее угол изменяется. При набегании на заход 83 заслонка открывается. Выступ 88 на одной из заслонок 86 крепится к ней уже после вставки в паз 21 ротора 7 любым известным способом. Достаточно одной из двух описанных систем открытия заслонки 86. Если две заслонки 86 соединены осью 89 неподвижно, то открытие (подъем) одной из них разделителем 9 ведет к принудительному закрытию (опусканию) другой. Дополнительно на фиг.19 показаны места для выборки 57 материала поршня 8, эффективно снижающие его инерционность для снижения инерционной нагрузки на разделитель 9. Места, близкие к плоскости разделителя 9, почти не создают инерционной нагрузки, т.к. движутся по естественным траекториям под действием центробежных сил инерции, прорезь 21 ротора выполняется плоской.

Вариант исполнения ОРМ по фиг.20 отличается от варианта по фиг.18 немного другим устройством заслонки 86. Ее площадка, перекрывающая прорезь 33 поршня 8, не лежит в пазу 85 поршня 8, а накладывается сверху на плоский торец 28 поршня 8. Это сделано для того, чтобы паз 85 не уменьшал рабочей площади прорези 33 поршня 8. Хотя для разборности придется крепить площадку заслонки 86 к ножке уже после вставки поршня 8 в прорезь 21 ротора 7 или использовать вставку.

Корпуса 1 вариантов ОРМ по фиг.15, 18 и 20 не отличаются друг от друга и за исключением отсутствия паза под разделитель 9 в напорной части 3 не отличаются от корпуса 1 ОРМ по фиг.1. Точно так же могут объединяться их ступени. Роторы 7 тоже очень похожи.

При точном исполнении данных ОРМ их поршни могут быть снабжены осями. Это может увеличить ресурс.

Вариант ОРМ по фиг.1 работает следующим образом. При вращении ротора 7 одна из выступающих в рабочую полость на нисходящем участке 3 корпуса 1 выступающая часть поршня 8 перекрывает рабочую полость 20, разбивая ее на две рабочих камеры уменьшающегося объема (перед поршнем 8) и увеличивающегося объема (за поршнем 8). Прорезь 33 в поршне 8 при этом перекрывается УСЭ 44 и участком разделителя 11 со сквозными проходами 42. Участок разделителя 11 при этом не препятствует движению рабочего тела по ходу вращения ротора 7 по рабочей полости 20. Рабочее тело из уменьшающейся рабочей камеры выходит в окно выхода 13 на восходящем участке 10, а в увеличивающуюся рабочую камеру поступает через окно входа 12 на восходящем участке 10. При этом поршень 8 проворачивается относительно ротора 7, взаимодействуя прорезью 33 через УСЭ 44 с разделителем 9. При попадании этой части поршня 8 в зону перепуска (окон входа 12/выхода 13) сразу или через некоторое время его заменяет следующая выступающая часть поршня 8. Процесс повторяется.

При этом следует отметить, что инерционные нагрузки в ОРМ создает часть поршня 8, удаленная от оси 32 УСЭ 44. Сам же УСЭ 44 и прилегающая часть поршня 8 под действием центробежных сил колебалась бы с периодом, близким к периоду вращения ротора. Так что при облегчении удаленной от оси 32 УСЭ 44 части поршня 8 ОРМ может работать на очень высоких оборотах, т.к. колебания поршня будут в значительной степени обеспечиваться центробежными силами.

Вариант ОРМ по фиг.15 работает следующим образом. При вращении ротора 7 одна из выступающих в рабочую полость 20 на нисходящем участке 3 корпуса 1 выступающая часть поршня 8 перекрывает рабочую полость 20, разбивая ее на две рабочих камеры уменьшающегося объема (перед поршнем 8) и увеличивающегося объема (за поршнем 8). Прорезь 33 в поршне 8 при этом перекрывается УСЭ 44 и выступом 75. Рабочее тело из уменьшающейся рабочей камеры выходит в окно выхода 13 на восходящем участке 10, а в увеличивающуюся рабочую камеру поступает через окно входа 12 на восходящем участке 10. При этом поршень 8 проворачивается относительно ротора 7, взаимодействуя прорезью 33 через УСЭ 44 с разделителем 9 в восходящей части корпуса. При попадании этой части поршня 8 в зону перепуска (окон входа 12/выхода 13) сразу или через некоторое время его заменяет следующая выступающая часть поршня 8. При этом УСЭ 44 проворачивается разделителем на другой стороне поршня и вскоре его прорезь 45 перекрывает выступ 75 поршня 8. Еще до этого момента, сразу при сходе с разделителя 9 прорезь 45 перекрывается упругим эластичным элементом 79. После прохода нисходящего напорного участка корпуса 3 прорезь 45 УСЭ 44, проворачиваемого разделителем 9, выходит из области перекрытия выступом 75 поршня 8. В нее входит заходный участок 81 разделителя 9 и отгибает упругий элемент 79. Процесс повторяется.

Вариант ОРМ по фиг.18 работает следующим образом. При вращении ротора одна из выступающих в рабочую полость 20 на «нисходящем участке» 3 корпуса 1 выступающая часть поршня 8 перекрывает рабочую полость 20, разбивая ее на две рабочих камеры: уменьшающегося объема (перед поршнем 8) и увеличивающегося объема (за поршнем 8). Прорезь 33 в поршне 8 при этом перекрывается заслонкой 86. Рабочее тело из уменьшающейся рабочей камеры выходит в окно выхода 13 на восходящем участке 10, а в увеличивающуюся рабочую камеру поступает через окно входа 12 на восходящем участке 10. При этом поршень 8 проворачивается относительно ротора 7, взаимодействуя прорезью 33 с разделителем 9 в восходящей части 2 корпуса 1. При попадании этой части поршня 8 в зону перепуска (окон входа 12/выхода 13) сразу или через некоторое время его заменяет следующая выступающая часть поршня 8. При этом при подходе прорези 33 поршня 8 к заходному участку 83 штифт внутри прорези 21 ротора 7 доходит до края канавки 90 заслонки 86 и останавливает ее в положении, когда она не перекрывает прорезь 33 поршня 8. В случае износа этого механизма заслонка выступом налетает на заходную часть 83 разделителя 9 и тоже открывается. Далее разделитель 9 приподымает заслонку, которая, будучи жестко связана осью с заслонкой на противоположном краю поршня 8, входящей в этот момент в напорную часть корпуса, опускает ее, закрывая прорезь 33. В случае не жесткой связи двух заслонок 86 заслонки 86 закрываются под действием центробежной силы и/или упругого элемента 91. Процесс повторяется.

Вариант ОРМ по фиг.20 работает аналогично варианту ОРМ по фиг.18, за исключением отсутствия участия выступа 88 и упругого элемента 91.

Формула изобретения

1. Объемная роторная машина, содержащая корпус, рабочей поверхностью которого является поверхность вращения, ротор с рабочей поверхностью вращения, установленный в корпусе с возможностью вращения, кольцевую рабочую полость, образованную рабочими поверхностями корпуса и ротора, «с»-образный разделитель, установленный в кольцевой рабочей полости под углом к плоскости вращения ротора, в части рабочей полости по ходу вращения ротора, прикрепленный неподвижно к корпусу, окна входа и выхода рабочего тела, причем окно входа отделено от окна выхода разделителем, причем на рабочей поверхности ротора выполнен, по меньшей мере, один паз под углом к плоскости вращения ротора, превышающем угол наклона разделителя, например, вдоль геометрической оси вращения ротора, в каждом пазу ротора установлен поршень с возможностью перекрытия рабочей полости и совершения вращательных колебаний в плоскости паза, при этом поршень выполнен в виде, по меньшей мере, части диска, а в каждом поршне имеется, по меньшей мере, одна прорезь для прохода разделителя, средство для перекрытия прорези поршня на напорном участке машины.

2. Машина по п.1, отличающаяся тем, что рабочая поверхность корпуса выполнена в виде сегмента сферы.

3. Машина по п.1, отличающаяся тем, что рабочая поверхность ротора выполнена в виде двух соосных поверхностей усеченных конусов, опирающихся усеченной частью на сферу.

4. Машина по п.1, отличающаяся тем, что пазы на рабочей поверхности ротора соединены в середине ротора.

5. Машина по п.1, отличающаяся тем, что разделитель выполнен в виде части плоской шайбы.

6. Машина по п.1, отличающаяся тем, что разделитель выполнен в виде части шайбы с конической рабочей поверхностью.

7. Машина по п.1, отличающаяся тем, что разделитель установлен в корпусе с возможностью касания ротора диаметрально противоположными частями разделителя, находящимися на его противоположных концах.

8. Машина по п.7, отличающаяся тем, что на разделителе в местах касания ротора выполнены выемки.

9. Машина по п.1, отличающаяся тем, что в прорези поршня установлен, по меньшей мере, один уплотняющий синхронизирующий элемент.

10. Машина по п.1, отличающаяся тем, что средством перекрытия прорези поршня является продолжение разделителя с выполненными на нем сквозными проходами, взаимодействующее с поршнем через уплотнительный синхронизирующий элемент.

11. Машина по п.1, отличающаяся тем, что средством перекрытия прорези поршня является выступ на поршне, взаимодействующий с уплотнительным синхронизирующим элементом.

12. Машина по п.1, отличающаяся тем, что средством перекрытия прорези поршня является уплотнительный синхронизирующий элемент с установленным в его прорези упругим элементом.

13. Машина по п.1, отличающаяся тем, что средством перекрытия прорези поршня является заслонка, установленная на поршне.

14. Машина по п.1, отличающаяся тем, что средством для открытия заслонки является элемент ротора.

15. Машина по п.13, отличающаяся тем, что средством для открытия заслонки является заход на разделитель для заслонки.

16. Машина по п.1, отличающаяся тем, что машина выполнена многоступенчатой, причем ротор выполнен общим для всех ступеней.

17. Машина по п.16, отличающаяся тем, что после первой ступени и далее через каждые две следующие ступени в корпусе выполнены каналы для разворота потока рабочего тела вокруг ротора на пол оборота.

18. Способ работы объемной роторной машины, заключающийся в том, что, по меньшей мере, одним поршнем, с, по меньшей мере, одной сквозной прорезью для пропускания «с»-образного разделителя камерообразующей полости осуществляют проход прорезью разделителя за счет вращательных колебаний поршня относительно ротора, а на участке, свободном от разделителя, проталкивают рабочее тело при перекрытии прорези поршня средством перекрытия прорези, при этом впуск рабочего тела осуществляют через окно впуска, расположенное с одной стороны разделителя, а выпуск – через окно выпуска, расположенное с другой стороны разделителя.

19. Способ по п.18, отличающийся тем, что перекрывают прорезь поршня продолжением разделителя с выполненными на нем сквозными проходами на другую его сторону.

20. Способ по п.18, отличающийся тем, что перекрывают прорезь поршня уплотнительным синхронизирующим элементом, прорезь которого перекрывают выступом поршня при повороте уплотнительного синхронизирующего элемента относительно поршня за счет взаимодействия с разделителем.

21. Способ по п.18, отличающийся тем, что перекрывают прорезь поршня управляемой заслонкой.

22. Способ по п.21, отличающийся тем, что открывают заслонку, упираясь в элемент ротора.

РИСУНКИ

Categories: BD_2382000-2382999