|
|
(21), (22) Заявка: 2008132405/06, 07.08.2008
(24) Дата начала отсчета срока действия патента:
07.08.2008
(46) Опубликовано: 20.02.2010
(56) Список документов, цитированных в отчете о поиске:
RU 14613 U1, 10.08.2000. RU 2101555 C1, 10.01.1998. US 2007252391 A1, 01.11.2007. RU 29753 U1, 27.05.2003. RU 28530 U1, 27.03.2003. RU 2314474 C1, 10.01.2008. RU 2298751 C1, 10.05.2007. SU 1657723 A1, 23.06.1991.
Адрес для переписки:
117588, Москва, ул. Тарусская, 8, кв.306, К.В. Чекареву
|
(72) Автор(ы):
Соловьев Александр Алексеевич (RU), Зайцев Сергей Иванович (RU), Чекарев Константин Владимирович (RU)
(73) Патентообладатель(и):
Соловьев Александр Алексеевич (RU), Зайцев Сергей Иванович (RU), Чекарев Константин Владимирович (RU)
|
(54) АЭРОДИНАМИЧЕСКАЯ УСТАНОВКА
(57) Реферат:
Изобретение относится к энергетике и может быть использовано при создании установок, работающих на тепловых отходах. Аэродинамическая установка содержит вытяжную башню и ветровое колесо, соединенное с генератором. В нее введены металлическая дымовая труба с расположенными вдоль нее теплообменными плоскостями и емкость для дымовых газов, соединенная с дымоходом, верхнее перекрытие которой выполнено из теплопроводящего материала, при этом вытяжная башня и расположенная в ней дымовая труба находятся над верхним перекрытием емкости для дымовых газов, а ветровое колесо расположено во входном отверстии в основании вытяжной трубы. Задачей изобретения является расширение области применения аэродинамических установок для утилизации тепловых отходов, получаемых при работе энергоустановок, в данном случае для утилизации тепла дымовых газов. 1 ил.
Изобретение относится к энергетике и может быть использовано при создании установок, работающих на тепловых отходах.
Известна аэродинамическая установка, называемая «солнечным камином», которая работает на низкопотенциальном солнечном тепле [1]. Она содержит вытяжную башню, внутри которой находится ветровое колесо, соединенное с генератором. Вокруг основания башни расположены солнечные коллекторы с прозрачным верхом. Под действием солнечного излучения воздух в солнечных коллекторах нагревается и поступает в вытяжную башню, создавая в ней восходящий воздушный поток, с помощью которого вращаются ветровое колесо и генератор, вырабатывающий электроэнергию.
Недостатком установки является низкая эффективность, обусловленная суточной цикличностью поступления солнечной энергии.
Наиболее близкой, принятой за прототип, является аэродинамическая установка, созданная на основе испарительной градирни [2]. Она содержит вытяжную башню, в основании которой имеются входные окна. Внутри башни находится ветровое колесо, соединенное с генератором. Лопасти ветрового колеса расположены напротив входных окон.
Установка работает следующим образом. Теплая оборотная вода, с помощью которой охлаждаются тепловые машины, разбрызгивается в виде мелких капель внутри вытяжной башни. Капли воды, падая и испаряясь, охлаждаются, отдавая тепло находящемуся внутри башни воздуху. Нагретый воздух поднимается вверх и выходит через верхний конец башни, создавая внутри нее вертикальный воздушный поток, при этом через входные окна в основании вытяжной башни в нее поступает наружный воздух. Этот воздушный поток вращает ветровое колесо и соединенный с ним генератор, вырабатывающий электроэнергию.
Таким образом, с помощью аэродинамической установки, созданной на основе испарительной градирни, можно вырабатывать электроэнергию, используя низкопотенциальные тепловые отходы, которые получаются при работе тепловых машин.
Недостатком данной установки является узкая область ее применения, поскольку не все тепловые отходы, получающиеся при работе энергоустановок, могут быть утилизированы с ее помощью, в частности нельзя утилизировать тепло дымовых газов.
Целью изобретения является расширение области применения аэродинамических установок для утилизации тепловых отходов, в данном случае для утилизации тепла дымовых газов.
Технический результат достигается тем, что в аэродинамическую установку, содержащую вытяжную башню и ветровое колесо, соединенное с генератором, вводится металлическая дымовая труба с расположенными вдоль нее теплообменными плоскостями и емкость для дымовых газов, соединенная с дымоходом, верхнее перекрытие которой выполнено из теплопроводящего материала, при этом вытяжная башня и расположенная в ней дымовая труба находятся над верхним перекрытием емкости для дымовых газов, а ветровое колесо расположено во входном отверстии в основании вытяжной башни.
Размещение дымовой трубы с теплообменными плоскостями внутри вытяжной башни, расположенной над теплопроводящим верхним перекрытием емкости для дымовых газов, позволяет использовать тепло дымовых газов для создания вертикального воздушного потока внутри вытяжной башни, с помощью которого вращаются ветровое колесо и соединенный с ним генератор, вырабатывающий электроэнергию.
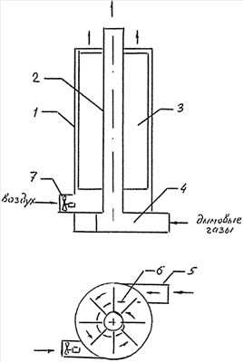
Схема аэродинамической установки приведена на чертеже. Она содержит вытяжную башню 1, внутри которой находится металлическая дымовая труба 2 с расположенными вдоль нее теплообменными плоскостями 3. Вытяжная башня 1 и дымовая труба 2 находятся над емкостью для дымовых газов 4, соединенной с дымоходом 5. Внутри емкости 4 размещена направляющая перегородка для дымовых газов 6. Верхнее перекрытие емкости 4 выполнено из теплопроводящего материала. Ветровое колесо 7, соединенное с генератором, расположено в входном отверстии в основании вытяжной башни 1.
Аэродинамическая установка работает следующим образом. Дымовые газы через дымоход 5 поступают в емкость для дымовых газов 4, с помощью направляющей перегородки 6 обходят ее по кругу и заходят в дымовую трубу 2. Горячие дымовые газы, проходя через емкость 4 и дымовую трубу 2, нагревают верхнее перекрытие емкости 4 и теплообменные плоскости 3. Находящийся внутри вытяжной башни 1 воздух в результате контакта с горячими поверхностями дымовой трубы 2, теплообменных плоскостей 3 и верхнего перекрытия емкости для дымовых газов 4 нагревается, поднимается вверх и выходит через верхний конец вытяжной башни, создавая внутри нее воздушный поток, при этом через входное отверстие в основании вытяжной башни 1 в нее поступает наружный воздух. Этот воздушный поток вращает ветровое колесо и соединенный с ним генератор, вырабатывающий электроэнергию.
Таким образом, предлагаемое техническое решение позволяет использовать для работы аэродинамических установок тепло дымовых газов, расширяя тем самым область применения аэродинамических установок для утилизации тепловых отходов.
Источники информации
1. Renewable Energy World, 2005, V.8, 4, p.172.
2. Патент РФ 2314474, кл. F28С 1/00.
Формула изобретения
Аэродинамическая установка, содержащая вытяжную башню и ветровое колесо, соединенное с генератором, отличающаяся тем, что в нее введены металлическая дымовая труба с расположенными вдоль нее теплообменными плоскостями и емкость для дымовых газов, соединенная с дымоходом, верхнее перекрытие которой выполнено из теплопроводящего материала, при этом вытяжная башня и расположенная в ней дымовая труба находятся над верхним перекрытием емкости для дымовых газов, а ветровое колесо расположено во входном отверстии в основании вытяжной трубы.
РИСУНКИ
|
|