|
|
(21), (22) Заявка: 2007146879/06, 17.12.2007
(24) Дата начала отсчета срока действия патента:
17.12.2007
(43) Дата публикации заявки: 27.06.2009
(46) Опубликовано: 20.02.2010
(56) Список документов, цитированных в отчете о поиске:
DE 102006003897 A1, 02.08.2007. SU 1206474 A, 23.01.1986. RU 2064084 C1, 20.07.1996. SU 7187 A, 31.12.1928. US 4450362 A, 22.05.1984. US 999562 A, 01.08.1911.
Адрес для переписки:
620130, г.Екатеринбург, ул. Чайковского, 88, корп.1, кв.39, Ф.Д.Мишину
|
(72) Автор(ы):
Мишин Федор Дмитриевич (RU)
(73) Патентообладатель(и):
Мишин Федор Дмитриевич (RU)
|
(54) ВЕТРОАГРЕГАТ
(57) Реферат:
Изобретение относится к ветроэнергетике. Ветроагрегат содержит ветряк, генератор, муфту, тормоз, редуктор, барабан, полиспаст, контакты, катушки и вспомогательные грузы. При подходе груза полиспаста в верхнее положение первая катушка обесточена и первый вспомогательный груз, перемещаясь вниз, размыкает муфту и затормаживает барабан тормозом. При подходе груза полиспаста в нижнее положение второй контакт замыкает первый контакт и первая катушка втягивает сердечник и включает муфту, соединяющую редуктор, барабан и полиспаст с валом генератора и ветряком так, что полиспастом поднимается груз. При отсутствии ветра вторая катушка обесточивается и второй вспомогательный груз, поднимая первый вспомогательный груз, растормаживает барабан и включает муфту для выработки тока генератором от гравитационного перемещения груза полиспаста. Техническим результатом является обеспечение непрерывности работы ветроагрегата независимо от наличия ветра. 1 ил.
Изобретение относится к ветроэнергетике.
Из уровня техники известна схема управления аккумулирующим устройством в ветроэнергетике, выполненная так, что осуществляется подключение аккумулирующего устройства к ветроагрегату для накопления энергии в периоды ветров, отключение при наполненной энергии поднятием груза и повторное подключение при отсутствии ветра (см. заявку DE 102006003897 A1, F03D 9/02, 02.08.2007, 13 стр.(1)).
Техническим результатом заявленного изобретения является обеспечение непрерывности работы ветроагрегата независимо от наличия ветра.
Технический результат достигается тем, что ветроагрегат содержит ветряк, генератор, муфту, тормоз, редуктор, барабан, полиспаст, контакты, катушки и вспомогательные грузы. При подходе груза полиспаста в верхнее положение первая катушка обесточена и первый вспомогательный груз, перемещаясь вниз, размыкает муфту и затормаживает барабан тормозом. При подходе груза полиспаста в нижнее положение второй контакт замыкает первый контакт и первая катушка втягивает сердечник и включает муфту, соединяющую редуктор, барабан и полиспаст с валом генератора и ветряком так, что полиспастом поднимается груз. При отсутствии ветра вторая катушка обесточивается и второй вспомогательный груз, поднимая первый вспомогательный груз, растормаживает барабан и включает муфту для выработки тока генератором от гравитационного перемещения груза полиспаста.
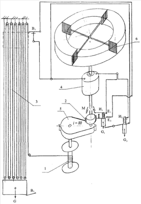
На чертеже представлен ветроагрегат в соответствии с заявленным изобретением.
Ветроагрегат работает следующим образом.
При подходе в верхнее положение груза G полиспаста контакты E1 и Е2 разомкнуты, первая катушка И1 обесточена, первый вспомогательный груз G1, перемещаясь вниз, размыкает муфту М и затормаживает барабан 1 тормозом 2, отключая полиспаст 3 от системы. В этом случае ветром через ветряк и вал генератора вырабатывается ток в генераторе 4.
При подходе груза G полиспаста в нижнее положение второй контакт В2 замыкает первый контакт B1, и первая катушка И1 втягивает сердечник и включает синхронную муфту М, соединяя редуктор 5, барабан и полиспаст с валом генератора и ветряком 6 так, что полиспастом поднимается груз G.
В это время, при наличии ветра, генератор вырабатывает энергию, удерживая сердечник второй катушки И2 в верхнем положении.
Идет процесс выработки энергии генератором от ветра и поднятие груза G полиспаста (накопление потенциальной энергии).
Когда груз G полиспаста поднят до верхнего положения, первый контакт B1 разомкнут, первый вспомогательный груз G1 опустился и своим весом, разомкнув муфту М, затормозил барабан.
В этот момент вторая катушка И2 удерживает второй вспомогательный груз G2, ток идет от генератора в сеть, а через первую катушку И1 полиспаст заторможен и отключен муфтой М от генератора.
Настал штиль – ветра нет.
Вторая катушка И2 обесточилась, и второй вспомогательный груз G2, поднимая первый вспомогательный груз G1, растормаживает барабан с одновременным включением муфты М, соединяя редуктор с барабаном, полиспастом и генератором, и генератор вырабатывает ток от гравитационного перемещения груза G полиспаста.
Когда груз G полиспаста достиг нижнего положения, при появлении ветра одновременно начинается прокручивание генератора ветром. В таком случае генератор будет прокручиваться ветром и полиспаст вернется на подъем, так как первый контакт B1 замкнут, втянут сердечник первой катушки И1, включена муфта М и расторможен барабан, позволяя дополнить запас энергии подъемом груза G полиспаста.
Таким образом, ветроагрегат работает непрерывно независимо от наличия ветра в автоматическом режиме.
Формула изобретения
Ветроагрегат, содержащий ветряк, генератор, муфту, тормоз, редуктор, барабан, полиспаст, контакты, катушки и вспомогательные грузы, причем при подходе груза полиспаста в верхнее положение первая катушка обесточена и первый вспомогательный груз, перемещаясь вниз, размыкает муфту и затормаживает барабан тормозом, при подходе груза полиспаста в нижнее положение второй контакт замыкает первый контакт и первая катушка втягивает сердечник и включает муфту, соединяющую редуктор, барабан и полиспаст с валом генератора и ветряком так, что полиспастом поднимается груз, при отсутствии ветра вторая катушка обесточивается и второй вспомогательный груз, поднимая первый вспомогательный груз, растормаживает барабан и включает муфту для выработки тока генератором от гравитационного перемещения груза полиспаста.
РИСУНКИ
|
|