|
|
(21), (22) Заявка: 2008107622/06, 27.02.2008
(24) Дата начала отсчета срока действия патента:
27.02.2008
(43) Дата публикации заявки: 10.09.2009
(46) Опубликовано: 20.02.2010
(56) Список документов, цитированных в отчете о поиске:
FR 1137394 А, 28.05.1957. RU 2264537 C1, 20.11.2005. SE 9600118 А, 17.07.1997. US 6476513 B1, 05.11.2002. US 2563279 A, 07.08.1951. WO 01/34973 A1, 17.05.2001.
Адрес для переписки:
443112, г.Самара, ул. Крайняя, 18, кв.17, Н.Б.Болотину
|
(72) Автор(ы):
Болотин Николай Борисович (RU)
(73) Патентообладатель(и):
Болотин Николай Борисович (RU)
|
(54) ГИДРОГЕНЕРАТОР, РАБОТАЮЩИЙ НА МОРСКОМ ТЕЧЕНИИ
(57) Реферат:
Изобретение относится к конструкциям установок для преобразования энергии течения воды в электрическую энергию. Гидрогенератор, работающий на морском течении, содержит гидродинамический привод 2 и электрогенератор 1, выполненный биротативным, и включает корпус 3, внешний и внутренний роторы 4 и 5. Внутренний ротор 5 расположен внутри корпуса 3. Гидродинамический привод 2 выполнен в виде радиально установленных на внешней поверхности внешнего ротора 4 лопаток 9 и размещен в кожухе 19, имеющем входной и выходной патрубки. Корпус 3 и кожух 19 выполнены цилиндрическими. Внешний ротор 4 расположен снаружи корпуса 3. Роторы 4 и 5 соединены между собой посредством редуктора 12, включающего ведомую шестерню 13, соединенную с внешним ротором 4, промежуточные шестерни 14 и ведущую шестерню 16, соединенную с внутренним ротором 5, и обеспечивающего противоположное вращение роторов 4 и 5. Изобретение направлено на увеличение КПД установки при уменьшении ее габаритов и одновременном увеличении мощности. 1 з.п. ф-лы, 2 ил.
Изобретение относится к конструкциям установок для преобразования энергии набегающего потока воды в электрическую энергию.
Производство энергии, являющееся необходимым средством для существования и развития человечества, оказывает воздействие на природу и окружающую человека среду. С одной стороны, в быт и производственную деятельность человека настолько твердо вошла тепло- и электроэнергия, что человек даже и не мыслит своего существования без нее и потребляет само собой разумеющиеся неисчерпаемые ресурсы. С другой стороны, человек все больше и больше свое внимание заостряет на экономическом аспекте энергетики и требует экологически чистых энергетических производств. Это говорит о необходимости решения комплекса вопросов, среди которых перераспределение средств на покрытие нужд человечества, практическое использование в народном хозяйстве достижений, поиск и разработка новых альтернативных технологий для выработки тепла и электроэнергии и т.д.
Известна гидроэнергетическая установка по заявке РФ на изобретение 93029865, содержащая два винта, вращающиеся в разные стороны, соединенные валами соответственно с ротором и статором генератора. При этом статор генератора вращается.
Это является большим недостатком, т.к. статор необходимо разместить в неподвижном корпусе, предназначенном для крепления к опоре и вывода электрических проводов. Кроме того, ротор, статор и винты вращаются с одинаковыми угловыми скоростями. Если спроектировать высокоскоростной генератор, имеющий частоту вращения, например, 3000 10000 об/мин, то спроектировать винт диаметром более 1 м не удастся по соображениям прочности, из-за больших центробежных нагрузок.
Например, при n=10000 об/мин и D=1 м/с,
скорость вращения винта по периферии будет равна 532 м/с, т.е. почти в 2 раза превышает скорость звука в воздухе и соизмерима со скоростью распространения звука в воде и недопустима по условиям прочности. Для промышленных гидрогенераторов для получения максимальной мощности необходимо иметь винты диаметром 5 10 м и более.
Известен гидрогенератор, работающий на морском течении по патенту FR 1137394 А, 28.04.1957, F02B 13/10, прототип, который содержит электрогенератор и гидродинамический привод, выполненный в виде радиально установленных на внешней поверхности внешнего ротора лопаток, электрогенератор выполнен биротативным, содержащим кожух, внешний и внутренний ротор.
Недостаток: низкая мощность генератора.
Задача создания изобретения – увеличение КПД установки при уменьшении ее габаритов и одновременном увеличении мощности.
Указанная задача достигается за счет того, что в гидрогенераторе, работающем на морском течении, содержащем гидродинамический привод и электрогенератор, выполненный биротативным и включающий корпус, внешний и внутренний роторы, последний из которых расположен внутри корпуса, а гидродинамический привод выполнен в виде радиально установленных на внешней поверхности внешнего ротора лопаток и размещен в кожухе, имеющем входной и выходной патрубки, согласно изобретению корпус и кожух выполнены цилиндрическими, внешний ротор расположен снаружи корпуса, а роторы соединены между собой посредством редуктора, включающего ведомую шестерню, соединенную с внешним ротором, промежуточные шестерни и ведущую шестерню, соединенную с внутренним ротором, и обеспечивающего противоположное вращение роторов.
Гидрогенератор может быть снабжен компенсатором давления, сообщенным с герметизированной полостью электрогенератора, заполненной смазочной жидкостью.
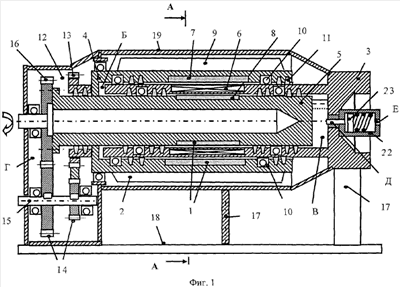
Сущность изобретения поясняется фиг.1 и 2, где:
на фиг.1 приведена схема альтернативного источника энергии;
на фиг.2 приведен разрез А-А на фиг.1.
Гидрогенератор (фиг.1) содержит электрогенератор 1 и выполненный заодно с ним гидродинамический привод 2, работающий от энергии воды, и состоит, в свою очередь, из цилиндрического корпуса 3, внешнего ротора 4 и внутреннего ротора 5, установленных соответственно снаружи и внутри цилиндрического корпуса 3 концентрично ему. Электрогенератор 1 содержит обмотку возбуждения 6, выполненную внутри цилиндрического корпуса 3, и внешние магниты 7 и внутренние магниты 8, установленные соответственно на внешнем и внутреннем роторах 4 и 5.
Гидродинамический привод 2 (фиг.1) состоит из прямоугольных лопаток 9, установленных на внешней поверхности внешнего ротора 4 вдоль его оси.
Роторы 4 и 5 установлены на корпусе 3 на подшипниках 10 и уплотнены уплотнениями 11. Полости «Б» и «В» электрогенератора 1 заполнены смазывающей жидкостью.
Внутренний ротор 5 соединен с внешним ротором 4 через редуктор 12, который содержит ведомую шестерню 13, соединенную с внешним ротором 4, промежуточные шестерни 14, установленные на валу 15, и ведущую шестерню 16, соединенную с внутренним ротором 5. Полость редуктора 12 заполнена смазывающей жидкостью.
Применение такой схемы позволит уменьшить диаметральные габариты электрогенератора 1, увеличить его КПД и уменьшить диаметр установки в несколько раза. При этом мощность установки может быть увеличена за счет его осевых габаритов.
К корпусу 3 электрогенератора 1 (фиг.1 и 2) ребрами 17 присоединена опора 18.
Электрогенератор 1 и гидродинамический привод 2 заключены в цилиндрический кожух 19, который имеет входной патрубок 20 и выходной патрубок 21 (фиг.3). С полостью «В» каналом «Д» соединена полость компенсатора давления 22, внутри которой установлен подпружиненный поршень 23. Отверстие «Е» сообщает полость компенсатора давления 22 с окружающей средой.
При эксплуатации установки ее устанавливают в районе постоянного течения воды. Поток воды проходит через входной патрубок 20 и приводит в действие гидродинамический привод 2 (фиг.1), воздействуя на прямоугольные лопасти 9.
Внутренний ротор через редуктор 12 вращается в противоположную сторону. Это увеличит скорость изменения магнитного потока, проходящего через обмотки (обмотку) возбуждения 6 электрогенератора 1. Магнитное поле пересекает обмотки возбуждения 6 и в них возникает ЭДС. Вырабатываемая электрическая энергия поступает по электрическим проводам к потребителям энергии (на фиг.1 2 схема вывода проводов не показана).
Кожух 19 предотвращает радиальный переток воды под действием центробежных сил и увеличивает КПД установки.
Применение изобретения позволит:
1. Обеспечить высокий КПД установки за счет применения биротативной схемы электрогенератора, т.е. вращения двух роторов в противоположные стороны.
2. Получить большую мощность за счет большой осевой длины устройства, при этом через него проходит максимальный расход воды. Большую мощность электрогенератора можно получить без увеличения ею диаметральных габаритов и значительного увеличения веса и центробежных нагрузок.
3. Уменьшить диаметральные габариты электрогенератора за счет применения биротативной схемы.
4. Упростить конструкцию устройства в целом за счет совмещения основных узлов электрогенератора и гидродинамического привода и уменьшения числа деталей.
5. Обеспечить снижение уровень шума, создаваемого устройством при работе за счет применения кожуха.
6. Обеспечить установку устройства на дне океана на любой глубине за счет применения компенсатора давления.
Формула изобретения
1. Гидрогенератор, работающий на морском течении, содержащий гидродинамический привод и электрогенератор, выполненный биротативным и включающий корпус, внешний и внутренний роторы, последний из которых расположен внутри корпуса, а гидродинамический привод выполнен в виде радиально установленных на внешней поверхности внешнего ротора лопаток и размещен в кожухе, имеющем входной и выходной патрубки, отличающийся тем, что корпус и кожух выполнены цилиндрическими, внешний ротор расположен снаружи корпуса, а роторы соединены между собой посредством редуктора, включающего ведомую шестерню, соединенную с внешним ротором, промежуточные шестерни и ведущую шестерню, соединенную с внутренним ротором, и обеспечивающего противоположное вращение роторов.
2. Гидрогенератор по п.1, отличающийся тем, что он снабжен компенсатором давления, сообщенным с герметизированной полостью электрогенератора, заполненной смазочной жидкостью.
РИСУНКИ
|
|