Патент на изобретение №2382161

Published by on




РОССИЙСКАЯ ФЕДЕРАЦИЯ



ФЕДЕРАЛЬНАЯ СЛУЖБА
ПО ИНТЕЛЛЕКТУАЛЬНОЙ СОБСТВЕННОСТИ,
ПАТЕНТАМ И ТОВАРНЫМ ЗНАКАМ
(19) RU (11) 2382161 (13) C2
(51) МПК

E06B1/36 (2006.01)

(12) ОПИСАНИЕ ИЗОБРЕТЕНИЯ К ПАТЕНТУ

Статус: по данным на 27.10.2010 – действует

(21), (22) Заявка: 2005134438/03, 07.11.2005

(24) Дата начала отсчета срока действия патента:

07.11.2005

(30) Конвенционный приоритет:

08.11.2004 FR 04 11861

(43) Дата публикации заявки: 27.05.2007

(46) Опубликовано: 20.02.2010

(56) Список документов, цитированных в отчете о
поиске:
ЕР 1045107 А, 18.10.2000. DE 4106236 A1, 03.09.1992. FR 2708033 A, 27.01.1995. US 1852270 A, 05.04.1932. RU 2118438 C1, 27.08.1998.

Адрес для переписки:

129090, Москва, ул.Б.Спасская, 25, стр.3, ООО “Юридическая фирма Городисский и Партнеры”, пат.пов. Е.И.Емельянову, рег. 174

(72) Автор(ы):

МАРТЭН Жозе (FR),
РОБЕР Ноэль (FR)

(73) Патентообладатель(и):

ГРОСФИЛЛЕКС САС (FR)

(54) УСТРОЙСТВО И СПОСОБ ДЛЯ МОНТАЖА ОТКРЫВАЮЩЕГОСЯ СТАВНЯ В ВЕРХНЕЙ ЧАСТИ ОКОННОЙ КОРОБКИ

(57) Реферат:

Изобретение относится к области строительства, а именно к способам и устройствам для монтажа ставней. Изобретение позволит повысить безопасность монтажа ставней. Устройство для установки в верхней части оконной коробки откатывающегося ставня или устройства аналогичной конструкции содержит вал, установленный на опоре. Устройство выполнено с, по меньшей мере, двумя соединительными деталями, закрепляемыми на опоре на некотором расстоянии друг относительно друга, двумя кулисами, каждая из которых выполнена с возможностью скольжения в вертикальном направлении относительно рельса, жестко соединенного с одной стороны с оконной коробкой, и со средствами, предназначенными для удержания кулис в нижнем положении и в верхнем положении по отношению к рельсам. Каждая соединительная деталь присоединяется к кулисе и фиксируется относительно нее посредством средств блокировки, включающих средства защелкивания, расположенные между соединительной деталью и кулисой. 2 н. и 10 з.п. ф-лы, 13 ил.

Настоящее изобретение относится к устройству для монтажа в верхней части оконной коробки откатывающегося ставня или аналогичного ему устройства, содержащего установленный на опоре вал.

Как правило, указанная опора состоит из камеры или короба, внутри которых находится вал, на который накручивается фартук ставня, и подшипников, служащих опорой указанному валу, причем один из подшипников оборудован системой привода (горизонтальный ворот, ремень, электрический двигатель) для приведения во вращение вала таким образом, чтобы поднимать или опускать фартук ставня. Опорой может служить также штанга жесткости с закрепленными на ней подшипниками вала ставня или в общем случае любыми элементами, жестко связанными с подшипниками, и даже сами подшипники. Указанный выше фартук состоит из тонких пластин, шарнирно закрепленных одна относительно другой, причем первая из этих пластин связана с валом.

Для установки ставня на место необходимо расположить опору откатывающегося ставня в верхней части оконной коробки, располагая, как правило, вал в горизонтальной плоскости. Направляющие, в которые заведены концы пластин фартука, располагаются по краям оконной коробки. Следует следить за тем, чтобы расположение откатывающегося ставня было оптимальным с тем, чтобы его пластины были правильно направлены и не создавали чрезмерного трения при подъеме или опускании фартука.

Откатывающийся ставень и его опора представляют собой в совокупности относительно массивную конструкцию, монтаж которой может оказаться достаточно трудоемким. В частности, в тех случаях, когда откатывающийся ставень и его опора устанавливаются с внешней стороны окна, монтажнику, осуществляющему установку или демонтаж ставня, приходится работать, как правило, внутри помещения, в котором рассматриваемая оконная рама образует проем. При этом монтажнику приходится протаскивать откатывающийся ставень и его опору через указанный проем наружу, склоняться над проемом по другую сторону помещения, удерживая одновременно откатывающийся ставень и его опору с внешней стороны окна и следя при этом за тем, чтобы ставень и его опора, с одной стороны, не упали вниз, а с другой, были правильно установлены на место. Указанные операции являются трудоемкими с учетом достаточно высокого веса откатывающегося ставня и сопряжены с опасностью падения ставня и самого монтажника.

Известны системы обеспечения безопасности проведения подобных операций, использующих, например, привязные ремни или другие устройства страховки. На практике же подобные системы относительно сложно применять и их используют достаточно редко.

Задачей предлагаемого изобретения является устранение указанных выше недостатков при установке откатывающихся ставней, имеющих опоры, изначально не оборудованные системами безопасного монтажа.

Поставленная задача решается тем, что устройство согласно изобретению содержит, по меньшей мере, две соединительные детали, закрепляемые на опоре откатывающегося ставня на некотором расстоянии друг относительно друга, две кулисы, каждая из которых выполнена с возможностью скольжения в вертикальном направлении относительно рельса, жестко соединенного с одной стороны с оконной коробкой, и средства, предназначенные для удержания кулис в нижнем положении и в верхнем положении по отношению к рельсам, причем каждая из соединительных деталей может быть присоединена к кулисе и зафиксирована относительно нее посредством средств блокировки, включающих в себя защелкивающие механизмы, расположенные между соединительной деталью и кулисой.

Рельсы располагаются по бокам оконной коробки и сборщик закрепляет соединительные детали на опоре откатывающегося ставня, отодвигая их друг относительно друга на расстояние, соответствующее межосевому расстоянию рельсов. Когда кулисы находятся в нижнем по отношению к рельсам положении, монтажнику становится удобно проводить манипуляции с откатывающимся ставнем и его опорой и присоединять соединительные детали к кулисам в этом нижнем положении. В самом деле, в этом случае объемы работ на весу и риски падения вниз значительно снижаются по сравнению с ситуацией, когда монтаж ставня производится непосредственно в верхней части оконной коробки. После этого остается лишь переместить кулисы вдоль соответствующего каждой из них рельса для того, чтобы установить откатывающийся ставень в верхнюю часть оконной коробки и закрепить его в этом положении.

В случае откатывающегося ставня, снабженного одним единственным фартуком, устройство согласно изобретению содержит две указанные выше соединительные детали.

В том случае, когда система откатывающегося ставня имеет несколько фартуков, устройство согласно изобретению отличается тем, что первый фартук в нем снабжен первой и второй соединительными деталями, а второй фартук, примыкающий к первому, – третьей соединительной деталью. Третья соединительная деталь располагается ближе к краю второго фартука, удаленного от первого фартука, тогда как вторая соединительная деталь, расположенная между двумя фартуками, играет роль промежуточной соединительной детали, обслуживающей одновременно и первый, и второй фартуки.

Устройство согласно изобретению содержит, таким образом, предпочтительно две соединительные детали в случае ставня с одним единственным фартуком и 2n-1 соединительных деталей в случае ставня с n-м количеством фартуков, где n соответствует целому числу, превышающему 1 и, как правило, равному 4.

Преимуществом рассматриваемого изобретения является то, что опора имеет заднюю стенку, а соединительные детали могут закрепляться на задней поверхности этой стенки на некотором расстоянии друг от друга.

Как об этом уже упоминалось выше, опора может быть выполнена в виде короба, имеющего нижнюю щель, через которую проходит фартук ставня. В этом случае соединительные детали закрепляются на задней стенке короба. В качестве возможного варианта опорой может служить любой элемент, жестко связанный с подшипниками, например штанга жесткости или сами подшипники.

Преимуществом рассматриваемого изобретения является то, что средства фиксации одной соединительной детали относительно кулисы содержат упор, способный препятствовать перемещению соединительной детали вниз относительно кулисы, и защелкивающие механизмы, препятствующие перемещению соединительной детали вверх относительно кулисы.

Простота конструкции средств фиксации позволяет снизить стоимость изготовления различных компонентов устройства, причем сама фиксация производится в конце пути перемещения соединительных деталей относительно кулисы.

Преимуществом рассматриваемого изобретения является то, что защелкивающие механизмы содержат органы защелкивания, образующие единую деталь соответственно с соединительными деталями и кулисами, причем каждая соединительная деталь и каждая кулиса образуют моноблок.

Себестоимость соединительных деталей и кулис снижается за счет того, что эти детали образуют моноблок.

Устройство согласно изобретению эффективно также при демонтаже или снятии откатывающегося ставня, ранее установленного в верхней части оконной коробки или при проведении проверки работы механизма этого ставня. В самом деле, для этого достаточно дать возможность кулисам переместиться вниз относительно рельсов до достижения соединительной деталью и его опорой нижнего положения, в котором они будут удерживаться кулисами, которые, в свою очередь, будут удерживаться в своих нижних положениях. В таком положении рабочих компонентов удобно и безопасно производить любой демонтаж, ремонт или проверку всего оборудования.

Изобретение относится также к способу установки в верхней части оконной коробки откатывающегося ставня или аналогичного ему устройства, включающего в себя вал, установленный на опоре, и решающему задачу снизить трудоемкость установки ставня.

Поставленная задача решается тем, что в способе согласно изобретению:

– используют два вертикальных рельса, каждый из которых жестко связан одним из своих концов с оконной коробкой,

– соединяют кулисы с каждым рельсом, с возможностью их скольжения в вертикальном направлении относительно рельса,

– удерживают каждую кулису в нижнем положении относительно рельса, с которым она взаимодействует,

– прикрепляют две соединительные детали к опоре откатывающегося ставня или устройства, аналогичного ему по конструкции, при этом указанные соединительные детали размещают на расстоянии друг от друга, с возможностью соединения каждой из них с кулисой,

– присоединяют каждую соединительную деталь к кулисе, удерживаемой в своем нижнем положении, за счет фиксации соединительной детали относительно кулисы с использованием защелкивающего механизма, и

– поднимают опоры в верхнюю часть оконной коробки путем перемещения кулис до достижения кулисами своего верхнего положения относительно рельсов и удерживают кулисы в этом верхнем положении.

После присоединения соединительной детали к кулисе предпочтительно закрепить эту деталь относительно этой кулисы путем перемещения детали относительно кулисы, выполняемого до тех пор, пока защелкивающие органы, имеющие моноблочную конструкцию с соответственно соединительной деталью и кулисой, не сцепятся между собой.

Изобретение в дальнейшем поясняется описанием вариантов его осуществления, приводимых в виде неограничительных примеров со ссылками на фигуры чертежей, в числе которых:

фиг.1 иллюстрирует проем в стене здания и различные этапы монтажа откатывающегося ставня в верхней части соответствующей оконной коробки;

фиг.2 – общий вид с внутренней стороны проема, на котором показаны только рельсы, опора откатывающегося ставня, соединительные детали и кулисы;

фиг.3 – общий вид, демонстрирующий совместные действия соединительной детали и кулисы;

фиг.4 – вид с внешней стороны проема, но уже без опоры откатывающегося ставня, к которому он прикреплен, демонстрирующий соединительную деталь, действующую совместно с кулисой, которая, в свою очередь, действует совместно с рельсом;

фиг.5 – вертикальный разрез по линии V-V фиг.4;

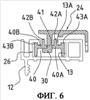
фиг.6 – горизонтальный разрез по линии VI-VI фиг.4;

фиг.7 – общий вид соединительной детали, действующей совместно с кулисой;

фиг. 8 и 9 иллюстрируют общие виды, демонстрирующие под различными углами соединительную деталь и кулису;

фиг.10 иллюстрирует изображение (в перспективе) рельса с внешней стороны;

фиг.11 и 12 иллюстрируют виды сбоку, соответствующие двум стадиям монтажа откатывающегося ставня; и

фиг.13 изображает еще один вариант осуществления изобретения.

На фиг.1 показан проем 1 здания, в частности окно с оконной коробкой 10. Вдоль вертикальных граней оконной коробки расположены рельсы 12, которые простираются вдоль всей высоты оконной коробки. Эти рельсы также показаны на фиг. 2, на которой они представлены в том виде, в котором они видны с внутренней стороны здания.

На фиг. 1 и 2 показан короб откатывающегося ставня 14, служащий опорой для этого ставня. Как это показано пунктирной линией на фиг.2, в состав ставня входит вал 16, на который могут наматываться тонкие пластины фартука ставня (в данном случае не показанного). Как это показано пунктирной линией, вал опирается на неподвижный подшипник 18, который, в свою очередь, опирается на щеку короба 14 и на вращающийся подшипник 20, который может приводиться во вращение механизмом 22, например электрическим двигателем, для того, чтобы навернуть фартук на вал или, напротив, развернуть его, с тем чтобы поднять или опустить ставень. В нижней плоскости короба предусмотрена щель, через которую могут проходить тонкие пластины фартука.

Две соединительные детали 24 закреплены на опоре и отстоят на некотором расстоянии друг от друга. Указанные соединительные детали закреплены на задней стороне 14А короба 14, то есть на той его стороне, которая повернута в направлении к внутренней стороне здания. На фиг.2 показаны также кулисы 26, каждая из которых способна скользить в направлении гидроцилиндра 12.

Как видно из фиг.1, установка откатывающегося ставня включает в себя следующие этапы:

(А) Снятие ставня с его опоры и перенос за счет наклона в вертикальной плоскости через проем в самой широкой части последнего наружу из внутренней части здания,

(В) Установку ставня в нижнее положение путем присоединения соединительных деталей 24 к кулисам 26, которые, в свою очередь, сами удерживаются в нижнем положении относительно рельсов 12,

(С) Перемещение ставня вверх за счет скольжения кулис относительно рельсов 12 и

(D) Достижение ставнем верхнего положения и его удержание в этом положении.

Ниже, со ссылкой на фиг. с 3 по 9, приводится подробное описание устройства соединительных деталей и кулис. В описании при ссылке на какую-либо определенную деталь под направлением назад следует понимать то направление в сторону внутреннего объема здания, которое приобретает деталь после ее установки на место. Точно так же под вертикальным направлением понимается то вертикальное направление, которое приобретает рассматриваемая деталь после ее установки на место.

Каждая соединительная деталь 24 имеет заднюю пластину 28 с крепежными отверстиями 28А, позволяющими осуществлять ее прикрепление к задней стенке 14А короба откатывающегося ставня. Часть нижнего края задней пластины 28 слегка отогнута на участке 28В для того, чтобы учесть припуск 14’А в нижней зоне задней стенки 14А короба. На своей передней стороне соединительная деталь 24 имеет вертикально ориентированное ребро 30 в форме обратного уклона. Ребро 30 имеет тонкую вертикальную перегородку 30А, выступающую вперед за заднюю пластину 28 и расположенную перпендикулярно по отношению к этой пластине, а также реборду 30В, образующую участок пластины в форме обратного уклона. На верхнем крае указанного ребра реборда 30В образует вертикальный упор 30С.

На передней части соединительной детали 24, в зоне ее нижнего края, предусмотрен крючок 32.

Соединительная деталь 24 также содержит фиксирующую лапку 34, которая в тех случаях, когда соединительная деталь прикреплена к задней стенке 14А опоры откатывающегося ставня, выступает за эту стенку, что необходимо для обеспечения фиксации соединительной детали на оконной коробке. На образце эта фиксирующая лапка 34 имеет L-образную форму и расположена на одной из сторон соединительной детали 24, причем изогнутая часть буквы L выступает вперед. Эта изогнутая часть имеет вырез или отверстие 34А. В тех случаях, когда короб откатывающегося ставня уже установлен по месту, эта изогнутая часть располагается напротив соответствующего участка оконной коробки, в частности напротив грани рельса, в который входит кулиса, действующая совместно с рассматриваемой соединительной деталью, в результате чего винт или другая аналогичная деталь получает возможность войти в указанный выше вырез или отверстие 34А и надежно зафиксировать соединительную деталь относительно этого рельса. Преимуществом предлагаемого изобретения является то, что указанной фиксирующей лапкой оборудована как минимум одна из соединительных деталей.

Если рассматривать ребро 30 в горизонтальном разрезе, то оно может иметь либо Т-образную, либо Г-образную форму.

Как показано на фиг.6, каждая кулиса 26 имеет такую форму, которая позволяет ей проникать в горловину 13 рельса 12. Кулиса имеет вытянутую в вертикальном направлении форму.

На всем протяжении своего верхнего участка 26А, занимающего приблизительно две трети его длины, кулиса имеет горловину 40 в форме обратного уклона. На этом верхнем участке задняя грань кулисы имеет выемку и, кроме того, она ограничена с передней стороны ребордами 40А и 40В указанной горловины, которые определяют границы щели 41, через которую пропускают тонкую вертикальную перегородку 30А соединительной детали. На своих передних гранях реборды 40А и 40В снабжены ребрами 42А и 42В, расположенными возле краев щели 41. Речь идет, таким образом, о центральных ребрах, которые в том случае, когда кулиса попадает в горловину 13 рельса 12, входят в щель 13А рельса, посредством которой горловина 13 сообщается с зоной расположения передней грани рельса, обеспечивая тем самым взаимодействие соединительной детали и кулисы. Передняя грань кулисы также имеет боковые ребра 43А и 43В, которые в том случае, когда кулиса попадает в горловину 13 рельса 12, располагаются внутри этой горловины. Края щели 13А горловины 13 рельса 12 слегка проникают в центральные области передних граней реборд 40А и 40В, расположенные между ребрами 42А и 43А с одной стороны и ребрами 42В и 43В с другой стороны, и взаимодействуют с этими областями.

Нижний участок 26В кулисы 26 выполнен в виде полугибкой пластинки. Указанная пластинка является упруго деформируемой относительно своей плоскости.

Указанная пластинка 26В имеет на своей передней грани гибкую лапку 42, заканчивающуюся внизу конечным участком, на задней грани которого имеется выступ 44, а на передней грани – тяга 46. В верхней части выступа 44 предусмотрен наклонный участок.

Полугибкая пластинка 26В соединена в зоне, снабженной ребрами жесткости 48, с верхним участком 26А кулисы, в силу чего гибкость указанной полугибкой пластинки 26В будет касаться главным образом терминального участка, снабженного выступом 44.

Горловина 40 кулисы 26 открыта в верхнем направлении. Кроме того, линия протяженности реборды 30В ребра 30 каждой соединительной детали прерывается на нижнем конце указанного ребра. В итоге ребро 30 соединительной детали может быть введено в горловину 40 через верхний край кулисы 26. В том случае, когда это ребро вошло внутрь горловины, выступ 30В ребра 30 попадает внутрь паза, который предусмотрен на задней грани кулисы. Вместе с тем, нижний край горловины 40 кулисы закрыт в месте стыковки участков 26А и 26В указанной кулисы. В результате, как это видно из фиг. 5, соединительная деталь 24 может скользить в том случае, когда ребро 30 входит внутрь горловины 40 этой кулисы, вниз относительно кулисы, и это будет продолжаться до тех пор, пока нижний конец этого ребра не упрется в нижний край горловины 40 и/или когда верхняя часть реборды 30С ребра 30 не упрется, в свою очередь, в верхний край горловины 40. Таким образом, наличие указанных средств образования упоров, способных действовать как одновременно, так и по отдельности, позволяет ограничить перемещение соединительной детали вниз относительно кулисы.

Для того чтобы воспрепятствовать перемещению соединительной детали вверх, вводятся в действие защелкивающие механизмы. При этом головка 42А гибкой лапки 42 кулисы может зайти в выемку крючка 32 соединительной детали, когда последняя достигнет своего нижнего положения. В верхней грани головки 42А предусмотрен наклонный участок, в результате чего лапка при входе в контакт с верхним краем соединительной детали отходит в сторону. Лапка в дальнейшем возвращается в свое устойчивое положение, при котором головка 42А попадает внутрь крючка 32.

Средства защелкивания могут компоноваться и в обратном порядке, и в этом случае кулиса и соединительная деталь будут оборудованы соответственно крючком и лапкой.

Крючок и лапка образуют в совокупности органы защелкивания, образующие соответственно с соединительной деталью и кулисой единую деталь. Таким образом, и соединительная деталь, и кулиса имеют моноблочную конструкцию, и преимущество такого решения состоит в том, что обе детали в этом случае могут изготовляться с использованием метода инжекционного литья.

На приведенных выше фигурах ребро 30 жестко связано с соединительной деталью 24, тогда как горловина 40, выполненная с возможностью принимать в себя это ребро, жестко связана с кулисой. Может быть применена и обратная компоновка, при которой ребро будет жестко связано с кулисой, а горловина – с соединительной деталью.

Как это видно из фиг. 10, рельс 12 имеет два отверстия, соответственно 50А и 50В, которые соответственно определяют собой верхнее и нижнее положения кулисы 26 относительно указанного рельса. В самом деле, выступ 44 кулисы естественным образом занимает положение, в котором обеспечивается сцепление и в котором он, в результате скольжения кулисы относительно рельса и занятия им положения напротив отверстия 50А или 50В, проникает в указанное отверстие для удержания кулисы в ее нижнем положении (отверстие 50А) или верхнем положении (50В).

Под выражением положение, обеспечивающее сцепление выступа понимается то положение, которое он занимает при занятии конечным участком пластинки 26В своего естественного вертикально ориентированного положения. Когда кулиса удерживается в своем верхнем или нижнем положении, появляется возможность высвобождения выступа 44 из проема, с которым он взаимодействует, с целью возобновления скольжения кулисы. В частности, тяга 46 заходит слегка за горловину 13 рельса и может благодаря этому быть схваченной для обеспечения прогиба лапки 26В и высвобождения благодаря этому прогибу выступа. Здесь будет уместным отметить тот факт, что, как это показано на фиг. 5 и 6, другие части кулисы размещены в рельсе.

Оба рельса 12, расположенные по обеим вертикальным граням оконной коробки, как правило, идентичны друг другу. В примере, представленном на фиг. 10, ширина щели, ограниченной ребордами горловины 13, увеличена в целях образования для кулисы вставного участка 13′. На указанном участке ширина L практически равна по величине ширине кулисы, измеренной в направлении, перпендикулярном ее ширине.

Как это видно из фиг.10, преимущество рельса 12 состоит в том, что он имеет профиль, который может быть присоединен к профилю ранее установленной оконной коробки с помощью любых подходящих для этой цели средств, например с помощью перегородки сцепления 15, снабженной выступами сцепления 15А и способной войти внутрь щели профиля оконной коробки. В качестве возможного варианта рельс 12 может быть выполнен в виде моноблока с профилем оконной коробки. Указанный выше вставной участок 13′ представляется очень полезным при использовании такого моноблочного рельса.

При установке откатывающегося ставня или аналогичного ему по конструкции устройства в верхней части оконной коробки необходимо расположить кулисы в рельсах 12, удерживая их в их соответствующем нижнем положении за счет ввода их соответствующего выступа 44 внутрь нижних отверстий 50А рельсов. Затем необходимо зафиксировать две соединительные детали 24 на задней стенке 14А опоры откатывающегося ставня, устанавливая их на таком расстоянии друг от друга, при котором межосевое расстояние осей соответствующих ребер 30 двух соединительных деталей соответствовало бы межосевому расстоянию щелей кулис. Затем следует протащить опору откатывающегося ставня через проем, как это показано на фиг. 1 на позиции А. После этого необходимо установить опору откатывающегося ставня горизонтально и опустить соединительные детали в горловины кулис, причем опускать указанные детали следует до упора в соответствующий нижний упор. Соединительные детали при этом также будут удерживаться от возможного перемещения вверх благодаря наличию указанных выше средств защелкивания (лапки 42, крючка 32). Соединительная деталь при этом находится в положении, обозначенном на фиг. 11 позицией В.

При условии, что опора откатывающегося ставня находится в нижней части оконной коробки, выполнение этой операции, заключающейся в вводе ребер соединительных деталей в горловины кулис, может быть проведено достаточно легко и безопасно. Как только соединительные детали зафиксируются, с помощью указанных выше средств на базе упоров и средств защелкивания, относительно кулис, следует потянуть за тяги 46 для высвобождения выступов 44 из отверстий 50А и переместить вверх весь блок устройств, включающий в себя опору откатывающегося ставня, соединительные детали и кулисы (см. позицию С на фиг. 1 и фиг. 12), за счет перемещения этих последних по рельсам 12 вплоть до того момента, когда весь этот блок устройств не достигнет своего верхнего положения.

В верхнем положении (см. позицию D на фиг.1) выступы 44 сами по себе устанавливаются в отверстиях 50В и опора откатывающегося ставня фиксируется в верхнем положении. Ввиду того что в результате фиксации соединительных деталей их соответствующая соединительная лапка 34 выступает за заднюю стенку опоры 14, появляется возможность зафиксировать это верхнее положение путем фиксации соединительной детали на оконной раме с помощью указанной фиксирующей лапки, причем в тот момент, когда кулисы достигнут своего верхнего положения относительно рельсов.

Когда проем в стене здания предназначен для установки такой строительной конструкции, как окно, и когда нижняя часть такого проема располагается на некотором расстоянии от пола комнаты, оборудуемой этим окном, то нижнее расположение кулис является предпочтительным, поскольку кулисы в этом случае располагаются поблизости от нижнего края этого окна, например на расстоянии в 10 или 15 см над ним.

В то же время, когда проем в стене здания предназначен для монтажа наружной остекленной двери или обычной двери, нижний край которых располагается на уровне пола, то нижнее положение кулис также является предпочтительным, поскольку кулиса располагается на высоте порядка от 1 м до 1 м 20 см от нижнего края проема.

Необходимо, чтобы рельсы 12 покрывали собой такую высоту, которая была бы достаточной для установления верхнего и нижнего положений кулис, однако по ряду причин, и в частности из эстетических соображений, представляется предпочтительным, чтобы указанные рельсы занимали собой всю высоту проема.

Расположение отверстий 50А выбирается таким образом, чтобы можно было установить необходимое нижнее положение. Что касается расположения отверстий 50В, то оно выбирается таким образом, чтобы можно было определить необходимое, в соответствии с существующими на месте конкретными ограничениями по габаритам (размерам откатывающегося ставня, его приводного механизма, возможно применяемого короба), расположение верхнего положения кулис, с тем чтобы можно было обеспечить фиксацию откатывающегося ставня в верхней части окна.

Как правило, с фиксацией опоры откатывающегося ставня в верхней части проема завершается процесс установки этого откатывающегося ставня, причем завершение процесса сводится, в частности, к фиксации кулис на гранях оконной коробки, предназначенных для крепления концов тонких пластин фартука ставня.

К преимуществу рассматриваемого изобретения следует отнести то, что две соединительные детали расположены симметрично относительно центральной вертикальной оси проема. В частности, фиксирующие лапки 34 этих двух деталей выгодно отличаются тем, что располагаются на тех гранях деталей, которые повернуты в сторону центральной оси, что позволяет их зафиксировать на соответствующих гранях рельсов.

На фиг.13 представлен вид сзади и в перспективе вала 116 откатывающегося ставня с двумя фартуками, а также подшипники 118 и 119, несущие вращающийся первый участок 116А этого вала и подшипник 120, который совместно с промежуточным подшипником 119 служит опорой для вращающегося второго участка 116В вала.

На фиг.13 представлены также соединительные детали 124А, 124В и 124С, которые непосредственно закреплены соответственно на подшипниках 118, 119 и 120. Короб 114 может быть установлен на подшипниках посредством любых подходящих для этой цели средств. Для каждой из соединительных деталей представлены также рельс 12 и кулиса 26, аналогичные тем, которые были показаны на предыдущих фигурах.

Соединительные детали 124А, 124В и 124С аналогичны выше описанным соединительным деталям 24, при этом следует отметить, что промежуточная соединительная деталь 124В лишена фиксирующей лапки 34.

Отличительной особенностью варианта, представленного на фиг.13, является то, что он предусматривает использование ставня с двумя фартуками (тот же самый принцип может быть распространен и на ставни с тремя фартуками), а также то, что опора, на которой закреплены соединительные детали, непосредственно образована подшипниками вала ставня.

Формула изобретения

1. Устройство для установки в верхней части оконной коробки (10) откатывающегося ставня или устройства аналогичной конструкции, содержащего вал (16), установленный на опоре (14, 118, 119, 120), отличающееся тем, что содержит по меньшей мере две соединительные детали (24, 124А, 124В, 124С), закрепляемые на опоре на некотором расстоянии друг относительно друга, две кулисы (26), каждая из которых выполнена с возможностью скольжения в вертикальном направлении относительно рельса (12), жестко соединенного с одной стороны с оконной коробкой, и средства (44, 50А, 50В), предназначенные для удержания кулис в нижнем положении и в верхнем положении по отношению к рельсам, причем каждая соединительная деталь (24, 124А, 124В, 124С) может быть присоединена к кулисе (26) и зафиксирована относительно нее посредством средств блокировки (30С, 40С, 32, 42), включающих средства защелкивания (32, 42), расположенные между соединительной деталью и кулисой (26).

2. Устройство по п.1, отличающееся тем, что опора (14) содержит заднюю стенку (14А), причем соединительные детали (24) могут быть закреплены на задней поверхности этой стенки, вдоль нее и на определенном расстоянии друг от друга.

3. Устройство по одному из пп.1 и 2, отличающееся тем, что средства блокировки соединительной детали (24, 124А, 124В, 124С) относительно кулисы (26) включают в себя ребро (30) в форме обратного уклона, жестко связанное с одним из двух элементов, представляющих собой соединительную деталь и кулису, и горловину (40), в форме обратного уклона жестко связанную с другим элементом и способную принять в себя указанное ребро.

4. Устройство по п.1, отличающееся тем, что средства блокировки соединительной детали (24, 124А, 124В, 124С) относительно кулисы (26) включают в себя упор (30С, 40С), препятствующий перемещению соединительной детали вниз по отношению к кулисе, причем средства защелкивания (32, 42) выполнены с возможностью защелкивания и предотвращения перемещения соединительной детали вверх относительно кулисы.

5. Устройство по п.1, отличающееся тем, что средства защелкивания включают в себя органы защелкивания (32, 42), образующие единую деталь с соединительными деталями (24, 124А, 124В, 124С) и кулисами (26), причем каждая соединительная деталь и каждая кулиса имеют моноблочную конструкцию.

6. Устройство по п.5, отличающееся тем, что средства защелкивания включают в себя в случае каждого блока, состоящего из соединительной детали и кулисы, гибкую лапку (42), относящуюся к кулисе (26), и крючок (32), относящийся к соединительной детали (24, 124А, 124В, 124С).

7. Устройство по п.2, отличающееся тем, что по меньшей мере одна соединительная деталь (24, 124А, 124В, 124С) снабжена фиксирующей лапкой (34), выступающей в случае, когда соединительная деталь зафиксирована на задней стенке (14А) опоры откатывающегося ставня или другого устройства, аналогичного ему по конструкции, за указанную стенку для обеспечения возможности фиксации соединительной детали на оконной коробке.

8. Устройство по п.1, отличающееся тем, что каждый рельс (12) имеет два отверстия (50А, 50В), которые определяют собой соответственно верхнее и нижнее положения кулисы (26), причем каждая из указанных кулис содержит выступ (44), который занимает положение защелкивания, причем при достижении указанным выступом, в ходе скольжения кулисы, уровня расположения отверстия, он входит внутрь этого отверстия, удерживая тем самым кулису в нижнем или верхнем положении, с возможностью выхода из указанного отверстия для обеспечения возможности кулисе продолжать свое скольжение.

9. Способ для установки в верхней части оконной коробки (10) откатывающегося ставня или устройства аналогичного ему по конструкции, содержащего вал (16), установленный на опоре (14), отличающийся тем, что:
используют два вертикальных рельса (12), каждый из которых жестко связан одним из своих концов с оконной коробкой,
соединяют кулисы (26) с каждым рельсом (12) с возможностью ее скольжения в вертикальном направлении относительно рельса,
удерживают каждую кулису (26) в нижнем положении относительно рельса (12), с которым она взаимодействует,
прикрепляют две соединительные детали (24) к опоре (14) откатывающегося ставня или устройства, аналогичного ему по конструкции, при этом указанные соединительные детали размещают на расстоянии друг от друга с возможностью соединения каждой из них с кулисой (26),
присоединяют каждую соединительную деталь (24) к кулисе (26), удерживаемой в своем нижнем положении, за счет фиксации соединительной детали относительно кулисы с использованием защелкивающего механизма, и
поднимают опоры (14) в верхнюю часть оконной коробки путем перемещения кулис (26), выполняемого до достижения кулисами своего верхнего положения относительно рельсов (12), и удерживают кулисы в этом верхнем положении.

10. Способ по п.9, отличающийся тем, что соединительные детали (24) закрепляют на задней стороне задней стенки (14А) опоры (14).

11. Способ по п.9, отличающийся тем, что соединительные детали (24) закрепляют таким образом, что фиксирующая лапка (34) каждой соединительной детали выступает за заднюю стенку (14А) опоры, и при достижении кулисами своего верхнего положения относительно рельсов (12) соединительные детали фиксируют на оконной коробке посредством указанных фиксирующих лапок (34).

12. Способ по одному из пп.9-11, отличающийся тем, что после присоединения соединительной детали (24) к кулисе (26) осуществляют фиксацию этой детали относительно кулисы путем перемещения детали относительно кулисы, выполняемого до момента взаимного сцепления органов защелкивания (32, 34), имеющих моноблочную конструкцию с соединительной деталью и кулисой.

РИСУНКИ

Categories: BD_2382000-2382999