Патент на изобретение №2382157

Published by on




РОССИЙСКАЯ ФЕДЕРАЦИЯ



ФЕДЕРАЛЬНАЯ СЛУЖБА
ПО ИНТЕЛЛЕКТУАЛЬНОЙ СОБСТВЕННОСТИ,
ПАТЕНТАМ И ТОВАРНЫМ ЗНАКАМ
(19) RU (11) 2382157 (13) C1
(51) МПК

E04H5/10 (2006.01)
E04G11/04 (2006.01)

(12) ОПИСАНИЕ ИЗОБРЕТЕНИЯ К ПАТЕНТУ

Статус: по данным на 27.10.2010 – действует

(21), (22) Заявка: 2008128986/03, 15.07.2008

(24) Дата начала отсчета срока действия патента:

15.07.2008

(46) Опубликовано: 20.02.2010

(56) Список документов, цитированных в отчете о
поиске:
RU 2035573 C1, 20.05.1995. RU 2084599 C1, 20.07.1997. RU 2008419 C1, 28.02.1994. SU 1315584 A1, 07.06.1987. FR 2268924 A1, 21.11.1975.

Адрес для переписки:

236010, г.Калининград, ул. Адмиральская, 13, кв.2, А.Н. Цехановскому

(72) Автор(ы):

Цехановский Александр Николаевич (RU)

(73) Патентообладатель(и):

Цехановский Александр Николаевич (RU)

(54) СПОСОБ ВОЗВЕДЕНИЯ ТЕРМОИЗОЛИРОВАННОГО СООРУЖЕНИЯ ИЗ ПОЛИМЕРНЫХ МАТЕРИАЛОВ

(57) Реферат:

Изобретение относится к области изготовления мобильных сооружений из полимерных материалов. Способ возведения термоизолированного сооружения из полимерных материалов, включающий сборку каркаса, монтаж его формообразующей обшивки, напыление слоев материала на обшивку. При этом применяют сборно-разборный каркас, который устанавливают с возможностью вращения вокруг своей оси, а обшивку каркаса выполняют в виде замкнутой оболочки из материала, выбранного для оформления внутренней стороны сооружения. Оболочку соединяют посредством воздуховода с пневматическим напорным устройством и создают избыточное давление в ее внутренней полости. После чего производят напыление полимерного материала на вращающуюся оболочку, чередуя слой вспененного полимерного материала с армирующим слоем до достижения толщины стенки сооружения, обеспечивающей его заданные свойства, а после отверждения последнего слоя вырезают отверстие и через него разбирают каркас. Позволяет сократить длительность и трудоемкость технологического процесса и получить легкое мобильное сооружение. 2 з.п. ф-лы, 4 ил.

Изобретение относится к области строительства сооружений из полимерных материалов. Сочетание термоизоляционных свойств сооружений с его легкостью, быстрым и простым изготовлением позволяет использовать их, например, в качестве холодильников или как помещение временного проживания в суровых климатических условиях, а также службами МЧС в районах природных и техногенных катастроф для временного размещения людей.

Известен способ возведения здания холодильника (Авт. св-во 823545, МПК Е04Н 5/10, Е04В 1/76, опубл. 23.04.1981 г.), который включает возведение наружного ограждения в виде кирпичной или бетонной стены и нанесение на ограждение с внутренней и наружной стороны теплоизоляционного и гидроизоляционного слоев.

Описанное здание холодильника является стационарным сооружением, возведение которого очень трудоемкий процесс, который не может быть реализован за короткий период времени и, кроме того, себестоимость возведения такого здания достаточно высока.

Известен способ возведения здания холодильника (Авт. св-во 2035573, МПК Е04Н 5/10, опубл. 20.05.1995 г.), включающий изготовление каркаса из колонн и горизонтальных элементов в виде стропильных арочных конструкций и образующих пояса продольных балок. Все элементы каркаса выполнены из композиционного материала на основе стекловолокна. Обшивка каркаса с внутренней стороны выполнена из пластмассовых листов, а с наружной стороны – из металлических листов. Дополнительная многослойная теплоизоляция выполнена с внутренней стороны посредством напыления пенопластов.

К недостаткам вышеописанного способа относится то, что осуществление его является трудоемким и длительным процессом, требует предварительного изготовления фундамента и элементов каркаса из композиционного материала. Кроме того, здание холодильника является стационарным сооружением и не предназначено для транспортировки.

Изобретение решает задачу создания мобильной технологии изготовления легкого сооружения при одновременном сокращении длительности и трудоемкости технологического процесса, а также уменьшении экономических затрат за счет использования метода послойного напыления полимерных материалов на надувную форму, установленную на разборном, вращающимся каркасе.

Для получения необходимого технического результата в способе возведения термоизолированного сооружения из полимерных материалов, включающем сборку каркаса, монтаж его формообразующей обшивки, напыление слоев материала на обшивку, предлагается применить сборно-разборный каркас, который устанавливается с возможностью вращения вокруг своей оси, а обшивку каркаса выполнить в виде замкнутой оболочки из материала, выбранного для оформления внутренней стороны сооружения. Оболочку предлагается соединить посредством воздуховода с пневматическим напорным устройством и создать избыточное давление в ее внутренней полости, после чего производить напыление вспенивающегося полимерного материала на вращающуюся оболочку, чередуя слой полимерного материала с армирующим слоем до достижения толщины стенки сооружения, обеспечивающей его заданные свойства. После отверждения предлагается вырезать отверстие и разбирать каркас.

Дополнительным слоем предлагается наносить защитное покрытие от внешнего воздействия, например, в виде невспененного эластичного полимера – полимочевины, а в качестве армирующего слоя применить невспененный эластичный полимер – полимочевину со стекловолокном.

В качестве полимерного вспененного материала предлагается использовать, например, полиуретановую смесь марки «Alfapur 2502S», производство фирмы «ALFA Sistems» (Польша), а для армирования – стекловолокно. Для защитного покрытия от внешнего воздействия, например, можно применить невспененный эластичный полимер – полимочевину марки SS100, фирмы SPI (США).

Предлагаемая технология обеспечивает возведение легкого монолитного строительного сооружения на месте его предполагаемого использования в течение нескольких часов в зависимости от его размеров. Отверстие, через которое разбирают каркас, в дальнейшем может быть использовано, например, для установки двери.

На прилагаемых графических материалах изображено:

– на фиг.1 – установка для изготовления сооружения по предлагаемому способу, вид спереди;

– на фиг.2 – то же, вид сверху;

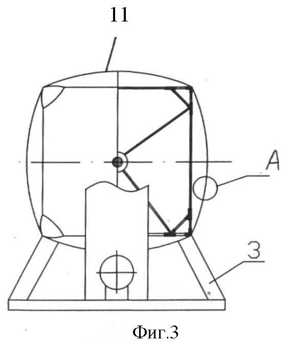
– на фиг.3 – то же, вид сбоку;

– на фиг.4 – поперечный разрез стенки сооружения, вариант исполнения, обеспечивающий заданные прочностные и термоизолирующие свойства.

На схемах приняты следующие обозначения:

1 – трубчатая деталь каркаса;

2 – соединительный элемент каркаса;

3 – установочный стенд;

4 – привод;

5 – материал обшивки каркаса;

6 – воздуховод;

7 – пневматическое напорное устройство;

8 – слой полимерного композиционного материала;

9 – армирующий материал;

10 – защитный слой от внешнего воздействия;

11 – стенка сооружения.

Конкретный пример осуществления способа

Для изготовления сборно-разборного каркаса используются трубчатые металлические детали 1, которые соединяют при помощи соединительных элементов 2. Каркас устанавливается и закрепляется на стенде 3 с возможностью вращения вокруг своей горизонтальной оси. Вращение обеспечивается при помощи привода 4. Установленный каркас полностью покрывается материалом 5, который выбран для оформления внутренней стороны сооружения, например брезентом. Края материала соединяются, например, при помощи клея. Во внутреннюю полость образованной замкнутой оболочки через воздуховод 6, проложенный по оси вращения, нагнетается воздух от пневматического напорного устройства 7 под давлением 30 мм вод.ст. Такой напор является достаточным для того, чтобы замкнутая оболочка обшивки приняла форму, обусловленную физическими свойствами данного конкретного материала. После чего включается привод, который приводит во вращение обшитый каркас со скоростью 0,2 об/мин. На поверхность вращающегося обшитого каркаса с помощью оборудования для напыления наносится пенополиуретановая смесь «Alfapur 2502S». Плотность смеси составляет 40 кг/м3, толщина слоя ~100 мм. После отверждения первого слоя полиуретановой смеси, которая происходит в течение 15 мин, на поверхность наносится невспененный полимер SS100 со стекловолокном. Затем на армирующий материал наносится второй слой пенополиуретановой смеси, толщиной слоя ~100 мм. В описанном примере два слоя полиуретановой смеси, укрепленные армирующим материалом, обеспечивают заданную прочность и термоизоляцию. Для защиты от внешнего воздействия наносят дополнительный слой из эластичного невспененного полимера – полимочевины SS 100. После отверждения последнего слоя готовое сооружение снимается со стенда, в нем вырезается проем для двери, через которое удаляется разобранный каркас, так как сооружение полностью удовлетворяет заданным прочностным свойствам.

Изготовленное сооружение может иметь размеры 3×3×6 м, толщина стенки составляет ~200 мм. Далее сооружение можно оборудовать в зависимости от его назначения, т.е. для сохранения тепла или холода, а также для временного проживания людей в местах с суровыми климатическими условиями. При применении сооружения в качестве холодильника для хранения продуктов внутри холодильника может поддерживаться температура до минус 40°С.

Вышеописанный способ изготовления термоизолированного сооружения позволяет организовать производство в полевых условиях, с использованием автономного источника питания мощностью до 30 кВт. Общий вес комплекта оборудования не превышает 1000 кг и легко перевозится в компактном виде объемом не более 2 м3. Время возведения по сравнению с прототипом сокращается более чем в 10 раз, а малый вес сооружения делает его достаточно мобильным.

Формула изобретения

1. Способ возведения термоизолированного сооружения из полимерных материалов, включающий сборку каркаса, монтаж его формообразующей обшивки, напыление слоев материала на обшивку, отличающийся тем, что применяют сборно-разборный каркас, который устанавливают с возможностью вращения вокруг своей оси, а обшивку каркаса выполняют в виде замкнутой оболочки из материала, выбранного для оформления внутренней стороны сооружения, причем оболочку соединяют посредством воздуховода с пневматическим напорным устройством и создают избыточное давление в ее внутренней полости, после чего производят напыление полимерного материала на вращающуюся оболочку, чередуя слой вспененного полимерного материала с армирующим слоем до достижения толщины стенки сооружения, обеспечивающей его заданные свойства, а после отверждения последнего слоя вырезают отверстие и через него разбирают каркас.

2. Способ по п.1, отличающийся тем, что дополнительным слоем наносят защитное покрытие от внешнего воздействия, например, в виде невспененного эластичного полимера – полимочевины.

3. Способ по п.1, отличающийся тем, что в качестве армирующего слоя применяют невспененный эластичный полимер – полимочевину со стекловолокном.

РИСУНКИ

Categories: BD_2382000-2382999