|
|
(21), (22) Заявка: 2008130227/03, 21.07.2008
(24) Дата начала отсчета срока действия патента:
21.07.2008
(46) Опубликовано: 20.02.2010
(56) Список документов, цитированных в отчете о поиске:
SU 1316552 A3, 07.06.1987. RU 2312185 C1, 10.12.2007. RU 2165015 C2, 10.04.2001. RU 94029290 A1, 20.05.1996. RU 2302516 C1, 10.07.2007. RU 2274737 C1, 20.04.2006. RU 2119050 C1, 20.09.1998. RU 2167781 C2, 27.05.2001. RU 2265122 C2, 27.11.2005. RU 2196892 С2, 20.01.2003. RU 2291284 C2, 10.01.2007. RU 2129586 C1, 27.04.1999.
Адрес для переписки:
443115, г.Самара, а/я 4783, С.Е. Варламову
|
(72) Автор(ы):
Варламов Сергей Евгеньевич (RU), Дурнева Юлия Маратовна (RU), Болотин Николай Борисович (RU)
(73) Патентообладатель(и):
Варламов Сергей Евгеньевич (RU), Болотин Николай Борисович (RU), Дурнева Юлия Маратовна (RU)
|
(54) МОРСКАЯ БУРОВАЯ ПЛАТФОРМА
(57) Реферат:
Изобретение относится к морским платформам для бурения нефтяных и газовых скважин. Изобретение позволяет обеспечить хранение больших объемов нефти на морской платформе. Решение указанной задачи достигнуто в морской буровой платформе, включающей добывающую скважину с погружным насосом, одну или несколько опор и платформу, на которой установлено устьевое оборудование для добычи нефти, соединяющее колонну труб добывающей скважины с нефтенакопительным резервуаром, тем, что функцию нефтенакопительного резервуара выполняют опоры. Накопительный резервуар соединен с трубопроводом подачи и слива воды. Морская буровая платформа содержит блок управления. В трубопроводе подачи и слива воды установлен датчик наличия нефти, который соединен с блоком управления. В трубопроводе подачи и слива воды установлена управляемая задвижка, соединенная электрическими связями с блоком управления. В трубопроводе подачи и слива воды параллельно управляемой задвижке установлен водяной насос. Перед водяным насосом и после него установлены задвижки, предназначенные для отсоединения насоса при его техническом обслуживании от трубопровода подачи и слива воды. В трубопроводе подачи и слива воды установлен фильтр. Устьевое оборудование для добычи нефти соединено с входом в сепаратор Между устьевым оборудованием и сепаратором установлена управляемая задвижка, соединенная электрическими связями с блоком управления. Погружной насос соединен электрическими связями с блоком управления. Первый выход сепаратора соединен через перекачивающий насос с нефтенакопительным резервуаром. Перед перекачивающим насосом и после него установлены задвижки, предназначенные для отсоединения насоса при его техническом обслуживании от трубопровода подачи нефти в нефтенакопительный резервуар. Второй выход сепаратора соединен через задвижку с фильтром очистки пластовой воды перед сбросом ее в акваторию. Для перекачки нефти в танкер она снабжена причальным буем, вынесенным в море, закрепленным к морскому дну тросом или цепью и соединенным гибким рукавом с трубопроводом для перекачки нефти, проложенным по дну от морской платформы, гибкий рукав, закрепленный на причальном буе, соединен с задвижкой, выполненной с быстроразъемным соединением, например байонетным, для соединения с нефтеналивным рукавом танкера. Между выходом из нефтенакопительного резервуара и трубопроводом для перекачки нефти установлен расходомер. Изобретение обеспечивает сбор и хранение больших объемов нефти на морской платформе до ее загрузки в танкер. 12 з.п. ф-лы, 2 ил.
Изобретение относится к морским платформам для бурения нефтяных и газовых скважин. Изобретение позволяет обеспечить сбор и хранение больших объемов нефти на морской платформе до ее погрузки в танкер.
Известна платформа морского бурения нефтяных и газовых скважин по патенту РФ 216611, которая имеет буровую площадку, установленную на плавсредствах.
Недостаток – низкая надежность устройства, не способного противостоять сильным штормам, течениям и смещению ледяного покрова.
Известно изобретение по патенту РФ 2288320. Морская платформа может быть установлена в акватории океана и содержит основание и опоры с защитным блоком и источник электроэнергии, подключенный к потребителям энергии. Платформа имеет защитный блок, выполненный в виде бандажной конструкции, установленный на грунте водоема и закрепленный на нем. По отношению к опоре морского инженерного сооружения он расположен с зазором между его стенкой и опорой морского инженерного сооружения, что исключает соприкосновение защитного блока с опорой морского инженерного сооружения. Величина зазора составляет не менее значения, определяемого по расчетному соотношению. Предусмотрена возможность подогрева жидкости (морской воды), находящейся в пространстве, образованном зазором между опорой морского инженерного сооружения и стенкой защитного блока, например, путем сообщения указанного пространства с источником.
Недостатком изобретения является загрязнение акватории пластовыми водами, которые отделяют от нефти путем сепарации.
Известна морская буровая платформа по патенту РФ на изобретение 2312185, прототип. Эта платформа содержит опоры для крепления к грунту, основание платформы, на котором установлена буровая вышка, обсадную колонну со скважинными фильтрами, установленные в нефтеносном пласте насос с подключенным к его выходу сепаратором.
Задача создания изобретения – обеспечить сбор и хранение больших объемов нефти на морской платформе до ее загрузки в танкер.
Решение указанной задачи достигнуто в морской буровой платформе, включающей добывающую скважину с погружным насосом одну или несколько опор и платформу, на которой установлено устьевое оборудование для добычи нефти, соединяющее колонну труб добывающей скважины с нефтенакопительным резервуаром, тем, что функцию нефтенакопительного резервуара выполняют опоры. Накопительный резервуар соединен с трубопроводом подачи и слива воды. Морская буровая платформа содержит блок управления. В трубопроводе подачи и слива воды установлен датчик наличия нефти, который соединен с блоком управления. В трубопроводе подачи и слива воды установлена управляемая задвижка, соединенная электрическими связями с блоком управления. В трубопроводе подачи и слива воды параллельно управляемой задвижке установлен водяной насос. Перед водяным насосом и после него установлены задвижки, предназначенные для отсоединения насоса при его техническом обслуживании от трубопровода подачи и слива воды. В трубопроводе подачи и слива воды установлен фильтр. Устьевое оборудование для добычи нефти соединено с входом в сепаратор. Между устьевым оборудованием и сепаратором установлена управляемая задвижка, соединенная электрическими связями с блоком управления. Погружной насос соединен электрическими связями с блоком управления. Первый выход сепаратора соединен через перекачивающий насос с нефтенакопительным резервуаром. Перед перекачивающим насосом и после него установлены задвижки, предназначенные для отсоединения насоса при его техническом обслуживании от трубопровода подачи нефти в нефтенакопительный резервуар. Второй выход сепаратора соединен через задвижку с фильтром очистки пластовой воды перед сбросом ее в акваторию. Для перекачки нефти в танкер она снабжена причальным буем, вынесенным в море, закрепленным к морскому дну тросом или цепью и соединенным гибким рукавом с трубопроводом для перекачки нефти, проложенным по дну от морской платформы. Гибкий рукав, закрепленный на причальном буе, соединен с задвижкой, выполненной с быстроразъемным соединением, например байонетным, для соединения с нефтеналивным рукавом танкера. Между выходом из нефтенакопительного резервуара и трубопроводом для перекачки нефти установлен расходомер. Перед расходомером установлен датчик наличия воды, соединенный электрическими связями с блоком управления.
Предложенное техническое решение обладает новизной, изобретательским уровнем и промышленной применимостью, т.е. всеми критериями изобретения.
Новизна подтверждается проведенными патентными исследованиями, изобретательский уровень достижением нового технического эффекта – сбор и хранение больших объемов нефти до ее загрузки в танкер. Промышленная применимость обусловлена тем, что для реализации изобретения требуются известные материалы и технологии.
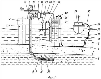
Сущность изобретения поясняется на чертежах фиг.1 и 2, где:
на фиг.1 приведена конструкция морской платформы,
на фиг.2 приведена упрощенная схема сбора и хранения нефти, а также ее загрузки в танкер (танкер на схеме не показан).
Морская буровая платформа (фиг.1) содержит опоры 1, на которых установлено основание 2. Опоры 1 выполнены пустотелыми и герметичными с полостями «А» внутри них и выполняют функцию нефтенакопительных резервуаров
Основание 2 установлено на опорах 1 выше уровня воды 3. Опоры 1 установлены на дне водоема 4, ниже которого находится продуктивный пласт 5. На основании 2 установлены буровая вышка 6 и сепаратор 7, соединенный с одной стороны с колонной труб 8, установленной в добывающей скважине 9 и имеющей погружной насос 10 в нижней части скважины в интервале продуктивного пласта 5.
В верхней части колонны труб 8 установлено устьевое оборудование 11. Морская буровая платформа содержит блок управления 12 и систему подачи и слива воды 13 с трубопроводом подачи и слива воды 14. В трубопроводе подачи и слива воды 14 установлен датчик наличия нефти 15, который соединен с блоком управления 12 электрическими связями 16. В трубопроводе подачи и слива воды 14 установлена управляемая задвижка 17, соединенная электрическими связями 16 с блоком управления 12. В трубопроводе подачи и слива воды 14 параллельно управляемой задвижке 17 установлен водяной насос 18. Перед водяным насосом 18 и после него установлены управляемая задвижка 19 и задвижка 20, предназначенные для отсоединения водяного насоса 18 при его техническом обслуживании от трубопровода подачи и слива воды. В трубопроводе подачи и слива воды 14 установлен фильтр 21.
Устьевое оборудование 11 для добычи нефти соединено с входом в сепаратор 7. Между устьевым оборудованием 11 и сепаратором 7 установлена управляемая задвижка 22, соединенная электрическими связями 16 с блоком управления 12. Погружной насос 10 соединен электрическими связями 16 с блоком управления 12. Первый выход сепаратора 7 соединен через перекачивающий насос 23 с нефтенакопительным резервуаром 1. Перед перекачивающим насосом 23 и после него установлены задвижки 24 и 25, предназначенные для отсоединения перекачивающего насоса 23 при его техническом обслуживании от трубопровода подачи нефти 26. Второй выход сепаратора 7 соединен через задвижку 27 с фильтром очистки пластовой воды 28 перед ее сбросом в акваторию.
Для перекачки нефти в танкер 29 морская буровая платформа снабжена причальным буем 30, вынесенным в море, закрепленным к морскому дну тросом или цепью 31 и соединенным гибким рукавом 32 с трубопроводом для перекачки нефти 33, проложенным по дну 4 от морской платформы. Гибкий рукав 32, закрепленный на причальном буе 30, соединен с задвижкой, выполненной с быстроразъемным соединением 34, например байонетным, для соединения с нефтеналивным рукавом танкера 35. Между выходом из нефтенакопительного резервуара (опор) 1 и трубопроводом для перекачки нефти 33 установлены расходомер 36 и задвижка 37. Перед сепаратором 7 установлен датчик давления 38. Перед погружным насосом 10 установлен скважинный фильтр 39. Перед расходомером 36 установлен датчик наличия воды 40, соединенный электрическими связями с блоком управления 12.
Описание работы систем морской платформы.
1. Добыча нефти и ее закачка в опоры 1, выполняющие функцию нефтенакопительных резервуаров.
В исходном положении открыта управляемая задвижка 22 и задвижки 24, 25 и 27. В системе подачи и откачки воды 13 открыт управляемый клапан 17. Управляемая задвижка 19 и задвижка 20 закрыты. Полости «А» всех опор 1 или тех, которые будут использоваться в качестве нефтенакопительных резервуаров, заполнены морской водой. Включают погружной насос 10. Одновременно включают перекачивающий насос 23 Погружной насос 10 качает по колонне труб 8 смесь нефти и воды. Смесь в сепараторе 7 разделяется на нефть и воду, при этом нефть поступает в полость «А» опор 1. Морская вода, вытесняемая нефтью, из полости «А» опоры (опор) 1 через управляемую задвижку 17 и фильтр 21 сбрасывается в водоем. Одновременно пластовая вода из сепаратора 7 через задвижку 27 и фильтр очистки пластовой воды 28 также сбрасывается в водоем. После вытеснения из нефтеналивного резервуара 1 морской воды в трубопровод подачи и слива воды 14 поступает нефть. При прохождении нефти через датчик наличия нефти 15 датчик подает сигнал на блок управления 12, с которого, в свою очередь, поступает управляющий сигнал на выключение погружного насоса 10 и закрытие управляющих задвижек 17 и 22 для избежания перелива и попадания нефти в водоем.
2. Загрузка нефтью танкера.
При загрузке нефтью танкера 29 открывают задвижки 19, 20 и 25, закрывают управляемый клапан 17 и включают насос 18. Морская вода нагнетается из водоема насосом 18 под слой нефти в полость «А» опор 1, ее уровень повышается, в результате этого нефть поступает через расходомер 36, по трубопроводу перекачки нефти 33 и гибкому рукаву 32 к бую 30 и далее через задвижку 34 – в танкер 29.
При загрузке танкера 29 нефтью датчик наличия воды 40 контролирует наличие воды. При попадании воды датчик наличия воды 40 подает сигнал в блок управления 12, который, в свою очередь, подает команду на выключение насоса 18 и закрытие управляемой задвижки 19.
Применение изобретения позволило:
– увеличить объемы хранящейся на морской платформе нефти за счет использования объемов пустотелых опор;
– уменьшить затраты на транспортировку нефти потребителям;
– предотвратить загрязнение акватории пластовыми водами;
– улучшить экологию окружающей среды.
Формула изобретения
1. Морская буровая платформа, включающая добывающую скважину с погружным насосом, одну или несколько опор и платформу, на которой установлено устьевое оборудование для добычи нефти, соединяющее колонну труб добывающей скважины с нефтенакопительным резервуаром, отличающаяся тем, что функцию нефтенакопительного резервуара выполняют опоры, нефтенакопительный резервуар соединен с трубопроводом подачи и слива воды, платформа содержит блок управления, между выходом из нефтенакопительного резервуара и трубопроводом для перекачки нефти установлен расходомер, перед расходомером установлен датчик наличия воды, соединенный электрическими связями с блоком управления.
2. Морская буровая платформа по п.1, отличающаяся тем, что в трубопроводе подачи и слива воды установлен датчик наличия нефти, который соединен с блоком управления в трубопроводе подачи и слива воды установлена управляемая задвижка, соединенная электрическими связями с блоком управления.
3. Морская буровая платформа по п.1, отличающаяся тем, что в трубопроводе подачи и слива воды параллельно управляемой задвижке установлен водяной насос.
4. Морская буровая платформа по п.1, отличающаяся тем, что перед водяным насосом и после него установлены задвижки, предназначенные для отсоединения насоса при его техническом обслуживании от трубопровода подачи и слива воды.
5. Морская буровая платформа по п.1, отличающаяся тем, что в трубопроводе подачи и слива воды установлен фильтр.
6. Морская буровая платформа по п.1, отличающаяся тем, что устьевое оборудование для добычи нефти соединено с входом в сепаратор.
7. Морская буровая платформа по п.6, отличающаяся тем, что между устьевым оборудованием и сепаратором установлена управляемая задвижка, соединенная электрическими связями с блоком управления.
8. Морская буровая платформа по п.1, отличающаяся тем, что погружной насос соединен электрическими связями с блоком управления.
9. Морская буровая платформа по п.6, отличающаяся тем, что первый выход сепаратора соединен через перекачивающий насос с нефтенакопительным резервуаром.
10. Морская буровая платформа по п.9, отличающаяся тем, что перед перекачивающим насосом и после него установлены задвижки, предназначенные для отсоединения перекачивающего насоса при его техническом обслуживании от трубопровода подачи нефти в нефтенакопительный резервуар.
11. Морская буровая платформа по п.6, отличающаяся тем, что второй выход сепаратора соединен через задвижку с фильтром очистки пластовой воды перед сбросом ее в акваторию.
12. Морская буровая платформа по п.1, отличающаяся тем, что для перекачки нефти в танкер она снабжена причальным буем, вынесенным в море, закрепленным к морскому дну тросом или цепью и соединенным гибким рукавом с трубопроводом для перекачки нефти, проложенным по дну от морской платформы.
13. Морская буровая платформа по п.12, отличающаяся тем, что гибкий рукав, закрепленный на причальном буе, соединен с задвижкой, выполненной с быстроразъемным соединением, например байонетным, для соединения с нефтеналивным рукавом танкера.
РИСУНКИ
|
|