Патент на изобретение №2381960

Published by on




РОССИЙСКАЯ ФЕДЕРАЦИЯ



ФЕДЕРАЛЬНАЯ СЛУЖБА
ПО ИНТЕЛЛЕКТУАЛЬНОЙ СОБСТВЕННОСТИ,
ПАТЕНТАМ И ТОВАРНЫМ ЗНАКАМ
(19) RU (11) 2381960 (13) C2
(51) МПК

B64C27/04 (2006.01)
B64D31/02 (2006.01)
B64D43/00 (2006.01)
F02C7/26 (2006.01)
F02C9/28 (2006.01)

(12) ОПИСАНИЕ ИЗОБРЕТЕНИЯ К ПАТЕНТУ

Статус: по данным на 17.09.2010 – действует

(21), (22) Заявка: 2005110551/11, 11.04.2005

(24) Дата начала отсчета срока действия патента:

11.04.2005

(30) Конвенционный приоритет:

12.04.2004 US 10/821,974

(43) Дата публикации заявки: 20.10.2006

(46) Опубликовано: 20.02.2010

(56) Список документов, цитированных в отчете о
поиске:
US 3775745 А, 27.11.1973. GB 2353773 А, 07.03.2001. WO 2003081554 A1, 02.10.2003. US 20030094539 A1, 22.05.2003. RU 2172857 C1, 27.08.2001.

Адрес для переписки:

129090, Москва, ул. Б.Спасская, 25, стр.3, ООО “Юридическая фирма Городисский и Партнеры”, пат.пов. Ю.Д.Кузнецову, рег. 595

(72) Автор(ы):

ГРИН Рэндалл А. (US)

(73) Патентообладатель(и):

СЭЙФ ФЛАЙТ ИНСТРУМЕНТ КОРПОРЕЙШН (US)

(54) СИСТЕМА ТАКТИЛЬНОГО ОПОВЕЩЕНИЯ О ПРЕВЫШЕНИИ РАБОЧИХ ПАРАМЕТРОВ ДЛЯ ВЕРТОЛЕТА

(57) Реферат:

Изобретение относится к области авиации, более конкретно, к тактильным системам предупредительной сигнализации для вертолетов. Система оповещения о перенапряжении газотурбинного двигателя вертолета включает рычаг общего шага и устройство тактильной предупредительной сигнализации, включающее в себя вибратор рычага общего шага, функционально присоединенный к указанному рычагу общего шага. Также система включает средства хранения данных и средства ввода профиля безопасной температуры на выходе турбины, средства для измерения фактической температуры на выходе турбины во время запуска газотурбинного двигателя и для измерения температуры на выходе турбины и других фактических параметров во время полета вертолета, средства приведения в действие указанного устройства тактильной предупредительной сигнализации. Кроме того, в состав системы входят средство для увеличения величины тактильной предупредительной сигнализации и средство для постоянного увеличения частоты или амплитуды тактильной предупредительной сигнализации в ответ на приближение опасного состояния. Технический результат заключается в обеспечении безошибочного тактильного предупреждения и избежания повреждений газотурбинного двигателя. 6 ил.

Область техники

Настоящее изобретение относится к системе оповещения о превышении или перенапряжении рабочих параметров для вертолетов, а более конкретно, к системе тактильного оповещения, предназначенной для того, чтобы избежать «горячих запусков», запуска двигателя из горячего состояния и других опасных рабочих параметров.

Уровень техники

Вертолеты с газотурбинными двигателями (ГТД) обычно включают в себя датчики температуры на выходе турбины и/или контрольно-измерительные устройства для исключения запуска двигателя из горячего состояния. Общепризнано, что в первые несколько секунд запуска температура на выходе турбины стремительно нарастает и должна тщательно контролироваться. Например, для одного из типов двигателей летчик осуществит аварийное прекращение запуска, если превышается максимум в 927°С или десятисекундное переходное ограничение от 810°С к максимум 927°С.

Способ корректировки состояния «горячего запуска» раскрыт в патенте США, принадлежащем Morris и др., 5101619. В соответствии с раскрытием способ корректировки состояния «горячего запуска» в газотурбинном двигателе, не требуя полного останова и возобновления последовательности операций запуска, включает в себя временное прерывание подачи топлива в двигатель на короткий период времени вслед за обнаружением угрозы «горячего запуска».

Другой способ исключения «горячих запусков» раскрыт в патенте США, принадлежащем Dudd Jr. и др., 6357219. Как раскрыто в данном патенте, система подачи топлива в газотурбинный двигатель имеет байпас для топлива для отвода топлива после контроля от двигателя обратно в топливный насос для сохранения относительно постоянного перепада давления на протяжении топливного контроля. Предусмотрен отдельный байпас для топлива с контролируемой подачей для выборочного отвода топлива после топливного контроля от двигателя обратно в топливный насос для уменьшения скорости подачи топлива в двигатель и корректировки состояния с избыточной температурой. Система подачи топлива также включает устройство, выполненное с возможностью контролируемого отвода топлива во время запуска двигателя и не допускающее контролируемый отвод топлива, когда двигатель достигает нормальной холостой скорости.

Системы оповещения для летчиков, обеспечивающие тактильное предупреждение летчика в процессе полета, также известны. Например, более ранний патент США 6002349, Greene и др., заявителя настоящего изобретения раскрывает устройство предупредительной сигнализации, направленное против превышения предела крутящего момента для вертолета. Как раскрыто в данном документе, система предупредительной сигнализации для летчика воздействует на ножные педали, которые подсоединены к контролируемому силовому механизму. Движение педали регулирует количество силы, приложенной контролируемым силовым механизмом к хвостовой балке для регулирования ориентации вертолета относительно оси рыскания. Устройство определения положения определяет местоположение по меньшей мере одной ножной педали между ее первым и вторым положением, и предупредительный индикатор, оперативно подсоединенный к устройству определения положения, предупреждает летчика, когда обнаруженная ножная педаль достигает предварительно установленного расстояния от первого или второго положения. Предупредительный индикатор обеспечивает тактильное предупреждение, такое как вибрация или сотрясение соответствующей ножной педали для безошибочного предупреждения летчика о том, что ножная педаль достигла предварительно установленного положения около ее положения максимального хода.

Несмотря на вышеуказанное, следует отметить, что существует необходимость и большой потенциальный коммерческий спрос на усовершенствованную систему оповещения о перенапряжении для исключения запусков двигателя из горячего состояния «горячих запусков» в соответствии с настоящим изобретением. На такие системы, обеспечивающие раннее предупреждение прекратить запуск и таким образом избежать серьезного повреждения газотурбинного двигателя, должен быть коммерческий спрос.

Кроме того, системы в соответствии с настоящим изобретением обеспечивают безошибочное тактильное предупреждение для того, чтобы избежать «горячих запусков». Системы в соответствии с предпочтительным вариантом осуществления изобретения также включают тактильные средства предупреждения (оповещения), предназначенные для того, чтобы избежать перенапряженных параметров, таких как температура на выходе, крутящий момент и скорость двигателя в процессе полета. Такие системы включают одиночное многофункциональное тактильное устройство предупредительной сигнализации для оповещения летчика об опасных параметрах.

Краткое описание изобретения

По существу настоящее изобретение предлагает систему предотвращения «горячих запусков» для вертолета с газотурбинным двигателем. Система включает рычаг общего шага и тактильное устройство предупредительной сигнализации, оперативно соединенное с рычагом. Система также включает средства хранения данных, такие как микропроцессор и устройство ввода данных, такое как клавиатура для ввода профиля безопасной температуры для запуска газотурбинного двигателя. Предусмотрены также средства, такие как термопара, для измерения фактической температуры на выходе турбины во время запуска газотурбинного двигателя вертолета. Система также включает средства для активации тактильного устройства предупредительной сигнализации, такие как электрический сигнал, когда фактическая температура двигателя во время запуска выходит за пределы профиля безопасной температуры. В одном варианте осуществления изобретения профиль фактической температуры обеспечивается микропроцессором, и если предварительно выбранный профиль превышен, летчику будет дано предупреждение об аварийном прекращении запуска газотурбинного двигателя.

В предпочтительном варианте осуществления изобретения система оповещения о перенапряжении включает систему, позволяющую избежать «горячих запусков», описанную выше. Кроме того, система в соответствии с предпочтительным вариантом осуществления изобретения включает средства активизирования системы тактильного оповещения в процессе полета при обнаружении перенапряжения параметра, такого как избыточный крутящий момент, избыточная температура или скорость двигателя. Таким образом, летчик предупрежден о необходимости осуществления корректирующих действий до наступления серьезных последствий.

В варианте предпочтительного осуществления изобретения в системе тактильного оповещения в процессе полета предусмотрена первая частота или, возможно, первая амплитуда на первом предварительно выбранном уровне, например при достижении первого критического параметра или опасного состояния. Затем, когда превышается второй предварительно выбранный уровень или критический параметр, частота или амплитуда увеличиваются.

Далее изобретение будет описано с использованием сопровождающих чертежей, на которых одинаковые ссылочные позиции используются для обозначения одинаковых деталей.

Описание чертежей

Фиг.1 представляет собой вид сбоку, показывающий вертолет с системой оповещения о перенапряжении в соответствии с настоящим изобретением.

Фиг.2 представляет собой схематическое изображение газотурбинного двигателя вертолета, используемого при осуществлении настоящего изобретения.

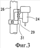
Фиг.3 представляет собой схематическое изображение рычага общего шага с присоединенным к нему устройством тактильной предупредительной сигнализации.

Фиг.4 представляет собой блок-схему, иллюстрирующую один из вариантов осуществления изобретения.

Фиг.5 представляет собой блок-схему, иллюстрирующую другой вариант осуществления изобретения.

Фиг.6 представляет собой схематическое изображение профиля нормальной температуры во время безопасного запуска газотурбинного двигателя и профиля температуры «горячего запуска».

Подробное описание предпочтительных вариантов осуществления изобретения

На фиг.1 показан вертолет 20 с установленным на нем газотурбинным двигателем 22 и системой оповещения о перенапряжении. Как показано на фиг.1, система оповещения о перенапряжении включает рычаг общего шага 24 и присоединенное к нему устройство 26 тактильной предупредительной сигнализации. Для измерения температуры на выходе турбины газотурбинного двигателя вертолета предусмотрен обычный датчик 52 (фиг.2), такой как термопара. Датчик 52 подсоединен к микропроцессору 34. Микропроцессор соединен с устройством 26 тактильной предупредительной сигнализации, таким как вибратор для рычага, прикрепленным к рычагу общего шага 24 вертолета.

На фиг.2 показан газотурбинный двигатель 22, обычно используемый для энергоснабжения вертолетов. Как показано на фиг.2, двигатель также включает датчик 52 температуры на выходе турбины, который может иметь обычную конструкцию. Воздух подается в газотурбинный двигатель через входной канал 40 и сжимается в компрессорном участке 41. Топливо подается в камеру 42 сгорания, которая проходит по периферии вокруг двигателя. Расширенные газы подаются в турбинную часть 43, которая приводит в действие компрессор 41, чтобы затем привести в действие турбину 45, которая в свою очередь приводит в действие выходной вал 44 для приведения вертолета в движение посредством соответствующей зубчатой передачи 47. Для измерения фактического крутящего момента в процессе полета предусмотрен отбор 48 крутящего момента обычной конструкции. Для индикации скорости двигателя предусмотрен тахометр 49. Кроме того, для измерения температур на выходе турбины предусмотрен температурный датчик 52 или термопара.

На фиг.3 показан вибратор 24, прикрепленный к рычагу общего шага 26. При таком расположении вибратор 24 прикреплен к листовой пружине 29, которая в свою очередь прикреплена одним концом к хомуту 31. Вибратор 24 может обеспечить постоянную частоту или амплитуду вибраций после приведения его в действие, или частота и/или амплитуда вибрации могут увеличиться, когда температура на выходе турбины двигателя достигнет своей максимальной рабочей температуры. Увеличение может быть постоянным или оно может идти дискретными шагами, достигая максимума в точке, при которой запуск двигателя должен быть прекращен.

Фиг.4 иллюстрирует способ предотвращения «горячих запусков» в соответствии с одним из вариантов осуществления изобретения. Обычно на практике контролируют температуру на выходе турбины для того, чтобы избежать «горячего запуска», который может серьезно повредить двигатель. Например, запуск одного конкретного двигателя прекращается при превышении максимальной температуры, например 927°С, или десятисекундного ограничения времени перехода от 810°С к максимум 927°C. В таких обстоятельствах летчик нажимает на кнопку режима малого газа двигателя, закрывает дроссельную заслонку и продолжает нажимать на стартер до тех пор, пока температура на выходе турбины не упадет ниже 810°С.

В соответствии с настоящим изобретением запуск 53 начинается так, как это предусмотрено процедурой FAA (Федеральной авиационной администрации). Однако до начала процедуры запуска к рычагу общего шага присоединяется тактильное устройство и обеспечивается устройство хранения данных. Затем на этапе 41 вводятся безопасная температура, профиль безопасной температуры и критические параметры. Температурный профиль может быть введен так, что незамедлительные действия могут быть предприняты, как только фактическая температура выйдет за пределы профиля. Также предполагается, что использование температурного профиля может быть более эффективным параметром, позволяющим осуществлять профилактические работы раньше, чем фактическая температура достигнет опасного состояния.

После заполнения предписанного FAA предстартового контрольного листа на этапе 55 включается стартер двигателя, на этапе 56 устанавливается расход топлива, а зажигание топлива производится на этапе 57. На этапе 58 измеряется температура на выходе турбины, а на этапе 59 фактическая температура сравнивается с безопасной стартовой температурой или профилем безопасной температуры. Затем, если фактическая температура не превышает безопасную температуру или не выходит за пределы температурного профиля, газотурбинный двигатель запускается, как показано на этапе 60. Однако если фактическая температура превышает безопасную температуру или выходит за пределы профиля безопасной температуры, на этапе 73 делается тактильное предупреждение и запуск прекращается на этапе 75. После прекращения запуска двигателю дают остыть. Затем процедура запуска двигателя начинается снова на этапе 55, и начинается процедура повторного запуска.

После завершения запуска фактические параметры измеряются на этапе 77, а на этапе 79 контролируются. Затем на этапе 81 фактические параметры сравниваются с критическими параметрами и до тех пор, пока фактические параметры не достигнут критических параметров, контролирование фактических параметров продолжается, как обозначено этапом 79. Как предлагается в данном варианте осуществления изобретения, ввод критических параметров включает фактические критические параметры, включая температуру на выходе турбины во время полета, которые требуют незамедлительных действий летчика. Также предусмотрен второй уровень параметров, который незначительно ниже критических параметров. Затем, когда фактическая температура или другие фактические параметры достигнут критических параметров или критической температуры, т.е. станут приблизительно равны критическим параметрам на этапе 81, тактильное устройство предупредительной сигнализации срабатывает на первой или относительно низкой частоте или амплитуде на этапе 83.

Первый уровень оповещения является указанием летчику на то, что он приближается к критическим параметрам и должен серьезно рассмотреть возможность осуществления корректирующих действий. Однако если летчик продолжает полет по причине аварии или по какой-либо аналогичной причине без осуществления корректирующих действий, как показано на этапе 85, продолжается сравнение фактической температуры и фактических параметров до тех пор, пока они не превысят второй уровень или критический параметр, как показано на этапе 87. В этот момент частота оповещения увеличивается на этапе 89 для предупреждения летчика о необходимости незамедлительного выполнения корректирующих действий на этапе 91.

Увеличение частоты может быть достигнуто любыми стандартными средствами, что понятно специалисту в данной области. Например, оно может быть достигнуто аналогично тому, как это раскрыто в более раннем патенте 6002348 заявителя настоящего изобретения, который включен сюда путем ссылки. Аналогично, частота может постоянно увеличиваться по мере приближения опасного состояния.

Другой вариант осуществления изобретения показан на фиг.5, где предусмотрены средства для запуска газотурбинного двигателя вертолета, обозначенные позицией 54. Также предусмотрен рычаг общего шага и тактильное устройство 58, прикрепленное к рычагу и обеспечивающее тактильный сигнал при превышении критического параметра. Устройство также включает средства 60 хранения данных, такие как компьютер, и средства ввода 62 данных, такие как клавиатура, для ввода критических параметров в средство 60 хранения данных. Средства для запуска двигателя, такие как рычаг 64 управления двигателем, используются для запуска двигателя, а топливный регулятор 66 регулирует количество топлива, подаваемого в газотурбинный двигатель. Средства 68 для зажигания используются для зажигания топлива, в то время как датчик 70 температуры на выходе турбины используется для указания температуры на выходе турбины. Средства 72 сравнения, такие как компьютер, сравнивают фактическую температуру, измеренную датчиком 70 температуры на выходе турбины, с безопасной температурой. Затем, когда фактическая температура превышает безопасную температуру, приводится в действие тактильный исполнительный механизм, как показано блоком 74. Предусмотрен переключатель 72, позволяющий летчику прекратить запуск при таких условиях. Однако если компаратор 72 показывает, что фактическая температура не превышает безопасную температуру, двигатель запускается и мощность регулируется средствами 80 регулирования мощности. После запуска двигателя и регулирования мощности фактические параметры двигателя контролируются средствами 82 контроля до тех пор, пока фактический параметр не превысит критических параметров. Когда фактический параметр превысит критический, тактильное устройство приводится в действие, как указано позицией 84, и летчик осуществляет корректирующие действия, как обозначено позицией 86.

На фиг.6 схематически показан температурный профиль, температура в зависимости от времени при нормальном запуске в сравнении с температурным профилем при «горячем запуске». Например, температурный профиль, показанный для нормального запуска, имеет угол наклона около 30°С/с, в то время как «горячий запуск» показан с наклоном около 90°С/с.

В то время как изобретение описано в связи с сопровождающими его чертежами, изменения и модификации могут быть сделаны без выхода за объем прилагаемой формулы изобретения.

Формула изобретения

Система оповещения о перенапряжении газотурбинного двигателя вертолета, включающая в себя рычаг общего шага и устройство тактильной предупредительной сигнализации, включающее в себя вибратор рычага общего шага, функционально присоединенный к указанному рычагу общего шага, средства хранения данных и средства ввода профиля безопасной температуры на выходе турбины для запуска или безопасной температуры на выходе турбины для запуска газотурбинного двигателя вертолета и других безопасных рабочих параметров в процессе полета вертолета, средства для измерения фактической температуры на выходе турбины во время запуска газотурбинного двигателя и для детектирования фактической температуры на выходе турбины и других фактических параметров во время полета вертолета, средства приведения в действие указанного устройства тактильной предупредительной сигнализации, когда фактическая температура на выходе турбины во время запуска превышает безопасную температуру на выходе турбины для запуска или профиль безопасной температуры на выходе турбины для запуска и когда профиль безопасной температуры на выходе из турбины или другие безопасные рабочие параметры близки к пределу во время полета, чтобы таким образом предупредить летчика о необходимости выполнения корректирующего действия, средство для увеличения величины тактильной предупредительной сигнализации, когда температура на выходе турбины превышает свою максимальную рабочую температуру, средство для определения приближающегося опасного состояния, связанного с другими безопасными рабочими параметрами, при этом приближающееся опасное состояние указывает на то, что, по меньшей мере, один фактический параметр превышает предел, заданный безопасными рабочими параметрами, и средство для постоянного увеличения частоты или амплитуды тактильной предупредительной сигнализации в ответ на приближение опасного состояния.

РИСУНКИ

Categories: BD_2381000-2381999