|
|
(21), (22) Заявка: 2007143572/11, 24.04.2006
(24) Дата начала отсчета срока действия патента:
24.04.2006
(30) Конвенционный приоритет:
26.04.2005 DE 102005019326.9 07.12.2005 FR 0553755
(43) Дата публикации заявки: 10.06.2009
(46) Опубликовано: 20.02.2010
(56) Список документов, цитированных в отчете о поиске:
US 6275157 B1, 14.08.2001. WO 0073990 A1, 07.12.2000. DE 19607294 A1, 28.08.1997. WO 0036261 A1, 22.06.2000. CA 2553023 A1, 28.07.2005. RU 677647 A3, 30.07.1979.
(85) Дата перевода заявки PCT на национальную фазу:
26.11.2007
(86) Заявка PCT:
FR 2006/050379 20060424
(87) Публикация PCT:
WO 2006/114543 20061102
Адрес для переписки:
129090, Москва, ул.Б.Спасская, 25, стр.3, ООО “Юридическая фирма Городисский и Партнеры”, пат.пов. А.В.Мицу, рег. 364
|
(72) Автор(ы):
ФУРО Фредерик (FR)
(73) Патентообладатель(и):
СЭН-ГОБЭН ГЛАСС ФРАНС (FR)
|
(54) ЭЛЕМЕНТ ОСТЕКЛЕНИЯ, СОДЕРЖАЩИЙ ЭЛЕКТРОННОЕ УСТРОЙСТВО, И СПОСОБ СЧИТЫВАНИЯ И ЗАПИСИ ИНФОРМАЦИИ, ОБЕСПЕЧИВАЕМЫЙ ЭТИМ УСТРОЙСТВОМ
(57) Реферат:
Изобретение относится к конструкции слоистых прозрачных узлов, используемых, в частности, для остекления кабины летательных аппаратов. Элемент остекления содержит электронное устройство, предназначенное для записи информации, которая может быть считана на расстоянии при помощи прибора считывания информации. Электронное устройство содержит запоминающее устройство, средство приема и обработки информации по меньшей мере один элемент детектирования и передачи информации, связанный с этим элементом остекления или с устройством, в которое этот элемент остекления вставляется. Причем средство приема и обработки информации соединено с запоминающим устройством таким образом, чтобы обеспечить передачу и запись информации в запоминающее устройство в ответ на сигналы, принимаемые по меньшей мере от одного элемента детектирования. Способ регистрации информации и считывания информации заключается в сборе информации при помощи элемента детектирования, передаче этой информации в электронное средство приема и обработки данных, регистрации обработанной информации при помощи электронных средств в запоминающем устройстве, считывании информации, содержащейся в запоминающем устройстве, при помощи бесконтактного прибора считывания информации. Изобретение обеспечивает возможность получения информации о технических характеристиках, связанных с элементом остекления, полученной как на этапе изготовления, так и в процессе эксплуатации данного элемента. 2 н. и 17 з.п. ф-лы, 1 ил.
Область техники
Настоящее изобретение относится к элементам остекления, снабженным по меньшей мере одним электронным устройством, имеющим в своем составе по меньшей мере одно электронное запоминающее устройство, в которое записывается информация, поддающаяся считыванию на расстоянии при помощи прибора, специально адаптированного для такого считывания.
Предлагаемое изобретение в последующем изложении будет описано в его специфическом приложении к области авиационной техники, не являющимся, однако, ограничительным.
Предшествующий уровень техники
Как известно, на выходе технологической линии по производству элементов остекления, предназначенных для использования в авиационной технике, например, таких как элементы остекления для кабины пилотов самолета, на эти элементы остекления наносят знак маркировки, обычно содержащий по меньшей мере фабричное клеймо производителя, номер серии и дату изготовления, а также номер идентификационного кода данного элемента остекления, называемый по-английски “Part Numbеr”. Этот идентификационный номер “Part Numbеr”, зарегистрированный в официальных организациях, позволяет идентифицировать всю информацию, связанную с техническими характеристиками данного элемента остекления и его изготовлением. Такой знак маркировки обычно печатается на этикетке, которая приклеивается на стекло элемента остекления, или гравируется на металлической этикетке, которая присоединяется к обрамлению этого элемента остекления.
Элементы остекления кабины самолета должны периодически подвергаться замене вследствие их старения, которое может быть связано, например, с расслоением листового стекла или повреждением средств обогрева, а также в случае возможного образования трещин и сколов, в частности, на земле или на взлете, возникающих вследствие выброса камешков или других предметов, и наконец, вследствие повреждений элементов остекления в крейсерском полете, связанных с атмосферными явлениями, такими как град, удар молнии, или в результате столкновения с птицами.
Эти элементы остекления заменяются без наличия точной информации о количестве выполненных с этими элементами часов полета. Действительно, точный подсчет часов налета, выполненных между заменами того или иного элемента остекления, требует в настоящее время слишком сложного административного управления. Таким образом, эта информация не является непосредственно доступной и тем более не является централизованной. Только усредненное число часов налета может быть установлено по отношению к дате начала эксплуатации самолета и числу часов налета, выполненных данным самолетом, при условии, что авиакомпания несет ответственность за этот самолет и законным образом участвует в предоставлении этой информации.
Следовательно, отсутствует возможность, в частности, для производителя элементов остекления подсчитать надежность того или иного элемента остекления по отношению к количеству фактически выполненных часов налета. Однако эта информация могла бы оказаться весьма полезной для обеспечения наилучшего контроля за эксплуатацией элементов остекления, оптимизации операций замены этих элементов остекления по времени и составления производителями элементов остекления отчетов, касающихся качества и надежности создаваемых ими изделий во времени для их клиентов.
В то же время известна возможность оснащения некоторых элементов остекления, предназначенных, в частности, для их контроля от момента изготовления до начала их использования, постоянными средствами идентификации, содержащими информацию, связанную с данным элементом остекления. Эти постоянные средства представляют собой, например, электронную этикетку, связанную с данным элементом остекления, причем эта электронная этикетка позволяет хранить значительное количество информации.
В патентном документе ЕР 1144791-В1 описан элемент остекления, снабженный электронной этикеткой, содержащей электронный микрочип, который хранит в своем запоминающем устройстве всю информацию, связанную с данным элементом остекления, и антенну, которая обеспечивает передачу информации между этим микрочипом и внешним приемо-передающим устройством, обеспечивающим считывание и/или запись информации. При этом обмен информацией осуществляется бесконтактным образом при помощи электромагнитных волн, частота которых может иметь величину в диапазоне от 125 кГц до нескольких десятков МГц.
Такие бесконтактные системы обмена информацией, наиболее часто используемые для идентификации на расстоянии, для противоугонных систем, а также для контроля объектов в местах транзита, в настоящее время известны под названием RFID (Rаdiо Frequency Identification Device).
В частности, при применении к элементам остекления для авиационной техники использование электронной этикетки на элементе остекления позволяет считывать и даже записать на расстоянии при помощи записывающего прибора информацию, связанную с техническими характеристиками элемента остекления, таким образом, эта информация будет непосредственно доступна на данном элементе остекления.
Краткое изложение существа изобретения
Технической задачей настоящего изобретения является создание элемента остекления, снабженного электронным устройством отслеживания, которое на протяжении всего срока службы элемента остекления позволяет иметь информацию о технических характеристиках, связанную с этим элементом остекления и/или с его изготовлением, а также любую информацию, связанную по ходу времени с функционированием и с использованием данного элемента остекления и/или устройства, в которое этот элемент остекления вставляется.
В соответствии с данным изобретением предлагаемый элемент остекления характеризуется тем, что содержит электронные средства, предназначенные для приема и обработки информации, которые соединены с электронным запоминающим устройством, причем эти электронные средства передают и записывают информацию в запоминающее устройство в ответ на сигналы, принимаемые программируемым образом при помощи одного или нескольких элементов детектирования и передачи информации, связанных с данным элементом остекления и/или с устройством, в которое этот элемент остекления вставляется.
Элементы детектирования и передачи информации выполнены таким образом, чтобы они были связаны с элементом остекления и/или с устройством, в которое этот элемент остекления вставляется, так, чтобы они не имели в своем составе элементы детектирования, которые выявляли бы наличие элемента остекления как такового.
Кроме того, в контексте данного изобретения под выражением “программируемым образом”, относящимся к принимаемым сигналам, следует понимать любой процесс передачи информации, который не подразумевает выбора, осуществляемого тем или иным человеком, для передачи этой информации.
Таким образом, предлагаемый элемент остекления в соответствии с программируемой регистрацией включает информацию, которая непосредственно связана с использованием элемента остекления в его обрамлении, и/или связана с устройством, в которое вставляется этот элемент остекления, и/или с электрическим элементом, встроенным в элемент остекления, причем эта информация изменяется с течением времени.
Следовательно, любая информация, полезная при использовании элемента остекления или связанная с обрамлением, в котором этот элемент остекления используется, может, таким образом, быть автоматически зарегистрированной на протяжении всего срока службы данного элемента остекления без вмешательства человека и может быть легко доступной, поскольку она интегрирована в этот элемент остекления.
Предпочтительным образом доступ к информации, зарегистрированной в запоминающем устройстве, зарезервирован для уполномоченных пользователей и обеспечивается благодаря использованию средств шифровки и дешифровки.
В соответствии с другой характеристикой предлагаемого изобретения электронное устройство защищено от воздействия внешней окружающей среды, чтобы его нельзя было вывести из строя, например, путем изменения температуры, изменения влажности, вибраций и возможных ускорений, воздействию которых может подвергаться изделие, в которое вставлен данный элемент остекления, а также изменить его исходную регулировку или нарушить его нормальную работу путем воздействия нежелательных электромагнитных волн, или даже таким образом, чтобы нормальному функционированию этого устройства не мешали, например, физические препятствия, возникающие в процессе передачи информации. Таким образом, можно позаботиться о том, чтобы это устройство было покрыто соответствующим защитным материалом и/или чтобы оно было размещено соответствующим образом.
В соответствии с еще одной характеристикой предлагаемого изобретения электронное устройство жестко закреплено на периферийной части элемента остекления и предпочтительным образом располагается в месте, предназначенном для его маскировки при помощи рамы, в которую будет вставлен этот элемент остекления. Это электронное устройство также может быть встроено внутрь элемента остекления, снабженного по меньшей мере двумя листами стекла, например многослойного элемента остекления или изолирующего элемента остекления. Таким образом, электронное устройство является недоступным и защищено от опасности повреждения или непроизвольного удаления с элемента остекления.
Элементы детектирования и передачи информации представляют собой, в частности, датчики, например датчик электрического тока, датчик напряжения, датчик температуры, датчик давления, датчик вибраций, акселерометр, датчик угла наклона, детектор механических воздействий, счетчики и т.п.
Элемент детектирования и передачи информации может быть встроен в элемент остекления или же может быть удален от него и связан с устройством, в которое этот элемент остекления вставляется.
Разумеется, определенный интерес представляет возможность считывания в заданный момент времени информации, хранящейся в запоминающем устройстве элемента остекления, при помощи адаптированного соответствующим образом прибора считывания, причем прибор также имеет возможность функционировать в качестве прибора записи, если имеется необходимость записывать информацию в запоминающее устройство иначе, чем при помощи программируемого включения элементов детектирования и передачи информации, то есть по желанию оператора.
Таким образом, запоминающее устройство указанного электронного устройства содержит информацию, уже хранящуюся там перед началом функционирования электронного устройства, в ответ на сигналы, принятые программируемым образом, причем эта информация относится, в частности, к характеристикам идентификации, конфигурации, изготовления, а также к техническим характеристикам элемента остекления и/или к характеристикам, относящимся к электрическому элементу, встроенному в этот элемент остекления.
В тексте приведенного описания под прибором считывания/записи следует понимать прибор, предназначенный для считывания, или прибор, предназначенный для считывания и записи информации. Передача информации между прибором считывания/записи и электронным устройством осуществляется при помощи средств связи, технология которых выбирается, в частности, в функции размещения этого электронного устройства на элементе остекления по отношению к его обрамлению.
Таким образом, эти средства связи могут обеспечивать связь при помощи радиочастотных сигналов, как в системах идентификации при помощи радиочастотного канала (RFID), при помощи технологии Wi-Fi или Bluetooth®, или при помощи связи с использованием оптического сигнала, например инфракрасных волн, или при помощи емкостного или индуктивного канала связи, или же наиболее простым образом – при помощи проводной связи.
Эти средства связи в соответствии с предлагаемым изобретением предпочтительным образом обеспечивают связь путем передачи радиочастотных сигналов, частота которых может иметь величину в диапазоне от нескольких килогерц до около 6 ГГц в зависимости от расстояния, на котором производится считывание. В электронном устройстве предпочтительным образом используется технология RFID и для этого содержится антенна идентификации при помощи радиочастотного сигнала, связанная с электронными средствами, причем эта антенна взаимодействует с другой антенной того же типа, связанной с прибором считывания/записи.
Предпочтительным образом электронные средства этого электронного устройства содержат систему идентификации, которая исключает возможность конфликтной ситуации с другой информацией, не предназначенной для упомянутого устройства. Таким образом, информация между прибором считывания/записи и электронным устройством элемента остекления передается в соответствии с протоколом кодирования и шифровки, который может представлять собой тот или иной специфический протокол (то есть протокол, специально разработанный для этого применения) или стандартный протокол (например, протокол типа Modbus, САN, ТСРIР). В случае установления связи с элементом остекления, находящимся в непосредственной близости от нескольких других элементов остекления, имеющих в своем составе электронные устройства в соответствии с предлагаемым изобретением, такой протокол гарантирует недопущение возникновения конфликтной ситуации между информацией, поступающей от различных запоминающих устройств.
Прибор считывания/записи, в свою очередь, сохраняет в своем запоминающем устройстве результаты запроса электронного устройства элемента остекления. Эти результаты предпочтительным образом затем могут быть переданы в центральную систему управления типа компьютера через проводную связь или через связь любого другого типа, например через связь типа Wi-Fi с подключением к Интернету.
Для того чтобы информировать считывающее устройство без контакта и идентифицировать элемент остекления в соответствии с предлагаемым изобретением, предпочтительным образом следует оснастить этот элемент остекления маркировкой, хорошо распознаваемой снаружи и доступной для приближения к ней прибора считывания, чтобы обеспечить надежную передачу сигналов. Особенно предпочтительным образом эта маркировка может иметь декоративную форму, или форму печати, или форму логотипа предприятия-изготовителя и может также быть приклеена с противоположной стороны в качестве декоративного элемента, имеющего более значительную площадь поверхности.
Таким образом, элемент остекления в соответствии с предлагаемым изобретением предпочтительным образом предназначен для интегрирования в движущееся средство типа летательного аппарата, средства автомобильного транспорта или средства железнодорожного транспорта, чтобы, в частности для авиационного транспортного средства, регистрировать количество часов налета в электронном запоминающем устройстве.
Предлагаемый элемент остекления также может быть интегрирован в систему остекления здания. Поскольку элементы остекления для здания часто представляют собой изоляционные стекла, электронное устройство в соответствии с предлагаемым изобретением предпочтительным образом может быть встроено внутрь такого элемента остекления между двумя листами стекла.
Краткое описание чертежа
Другие характеристики и преимущества предлагаемого изобретения будут лучше поняты из приведенного ниже описания примера его реализации, где даются ссылки на приведенный в приложении чертеж, на котором схематически представлен элемент остекления, снабженный собственной электронной этикеткой в соответствии с изобретением, а также элементы, необходимые для осуществления процесса записи и считывания на расстоянии информации, сохраняемой в данной электронной этикетке.
Описание предпочтительного варианта воплощения изобретения
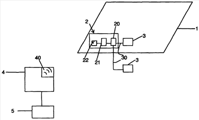
На чертеже схематично показан элемент 1 остекления в соответствии с предлагаемым изобретением, снабженный по меньшей мере одним электронным устройством 2, которое содержит электронные средства 20 приема и обработки информации и электронное запоминающее устройство 21.
Электронное устройство 2 размещено в соответствующем месте элемента остекления в функции особенностей его окончательного использования таким образом, чтобы это устройство не мешало, например, видимости через стекло. Оно может быть размещено, например, непосредственно на стекле, или может быть встроено в элемент остекления, обладающий, например, внутренним промежутком в случае многослойного элемента остекления, или же может быть закреплено на периферийной раме, охватывающей данный элемент остекления.
В электронном запоминающем устройстве 21 хранится информация, которая записывается при помощи электронных средств 20 приема и обработки информации в ответ на сигналы, принятые программируемым образом от элементов 3 детектирования и передачи информации.
В соответствии с предлагаемым изобретением различают так называемую “динамическую” информацию, которая подвержена изменению во времени, и информацию, определяемую в качестве “статической”, которая будучи однажды записанной в запоминающее устройство 21 больше не подвергается изменению.
Статическая информация предпочтительным образом записывается в результате вмешательства человека-оператора при помощи прибора записи, предназначенного для взаимодействия с электронным устройством 2.
Эта статическая информация касается, например, предприятия-изготовителя данного элемента остекления, номера серии этого элемента остекления, технических характеристик элемента остекления, способа его изготовления, идентификации изделия, для которого предназначен данный элемент остекления, и т.п.
Статическая информация может быть принята и зарегистрирована в процессе изготовления элемента остекления, в процессе инициализации при введении данного элемента остекления в эксплуатацию или же в процессе осуществления фазы обновления информации.
Динамическая информация, регистрируемая в запоминающем устройстве, подлежит замене в функции данных, поступающих с течением времени и программируемым образом от элементов 3 детектирования и передачи информации.
Для случая использования элемента остекления в кабине экипажа самолета эта динамическая информация будет соответствовать количеству выполненных часов налета с использованием этого элемента остекления, дате ввода его в эксплуатацию, дате замены этого элемента остекления, фактам нарушения нормального функционирования, связанным с этим элементом остекления (то есть нарушения функционирования элементов, встроенных в данный элемент остекления) или другими элементами устройства, в которое вставлен этот элемент остекления, и т.п. Запоминающее устройство 21 известно и представляет собой постоянное запоминающее устройство, которое надежно сохраняет свое содержимое даже в том случае, когда оно не питается электрическим напряжением. Оно может быть выполнено поддающимся разрушению частичным и контролируемым образом.
Электронные средства 20 приема и обработки информации подключаются, с одной стороны, к электронному запоминающему устройству 21, а с другой стороны, взаимодействуют с одним или с несколькими элементами 3 детектирования и передачи информации, которые, после того как информация учтена, в зависимости от типа их функционирования, включают программируемым образом передачу сигнала, поступающего в электронные средства 20. Электронные средства 20, принимающие информацию, переданную элементами детектирования и передачи информации, обрабатывают эту информацию и передают результаты ее обработки в запоминающее устройство 21 в соответствии с определенным протоколом записи.
Предпочтительным образом элементы 3 детектирования и передачи информации будут иметь возможность непрерывно собирать упомянутую информацию и электронные средства 20 будут обеспечивать управление опросом этих элементов детектирования для получения информации в желательный момент.
Электронные средства 20 приема и обработки информации управляют поступлением информации и ее обработкой при помощи микроконтроллеров и других известных систем различного назначения, таких как аналого-цифровые преобразователи А/N, тактовые генераторы, блоки арифметических расчетов, блоки шифровки, блоки предупреждения возникновения конфликтных ситуаций при обмене информацией, блоки определения аутентичности и контроля доступа и т.п.
Физически электронные средства 20 состоят из нескольких электронных компонентов, одним из которых является электронное запоминающее устройство. Однако может быть рассмотрено электронное устройство 2, образованное одним единственным элементом, например электронной этикеткой.
В функции типа информации, принимаемой элементами 3 детектирования и передачи информации, эти элементы детектирования могут быть непосредственно связаны, например, с элементом остекления или могут располагаться вне этого элемента остекления.
Если эти элементы детектирования установлены на элементе остекления, речь может идти, например, о датчике электрического тока, выявляющего наличие тока, который индуцируется температурным зондом, подключенным к металлическим проводам или к электропроводному слою обогрева данного элемента остекления. Поскольку на элементах остекления всегда функционирует система обогрева, действующая в период полета самолета, использование датчика электрического тока позволяет иметь информацию о количестве выполненных часов полета на основе продолжительности функционирования этой системы обогрева.
Можно также упомянуть датчик вибраций и датчик давления. Датчик давления, располагающийся, например, непосредственно на элементе остекления, учитывает давление, воздействию которого подвергается данный элемент остекления, и, следовательно, время, проведенное самолетом на некоторой высоте над землей, то есть время полета самолета.
Аналогичным образом могут быть использованы датчики типа акселерометра или датчика угла наклона, связанные с данным элементом остекления. Например, для самолета акселерометр или датчик наклона позволяют, в процессе превышения некоторой пороговой величины измеряемого параметра, включать, на уровне электронных средств 20, счетчик, который позволяет приблизительно определить количество часов полета самолета, и эти обработанные сведения о количестве часов полета записываются затем в запоминающее устройство 21.
Однако элементы 3 детектирования и передачи информации могут также располагаться за пределами данного элемента остекления.
В качестве примера можно упомянуть механический или электронный детектор, связанный с некоторым внешним по отношению к данному элементу остекления устройством, механическое приведение в действие которого служит событием, обеспечивающим включение записи подлежащего регистрации параметра в запоминающем устройстве 21 упомянутого электронного устройства. Для самолета такое внешнее устройство может соответствовать, например, откидному трапу, уборка которого и его нахождение в убранном положении на протяжении всего полета может служить показателем для учета продолжительности полета.
Другие элементы детектирования и передачи информации, отличные от упомянутых выше датчиков, также могут быть использованы в данном случае, например регулятор обогрева или любая другая информационная система, установленная на борту самолета.
Электронные средства 20 приема и обработки информации взаимодействуют с элементами 3 детектирования и передачи информации при помощи элементов связи 30 типа кабеля, предназначенного для передачи электрических сигналов, или оптических волокон, предназначенных для передачи оптических сигналов, или же любого известного бесконтактного средства связи, например при помощи радиочастотных сигналов или при помощи оптической связи при помощи инфракрасных лучей.
Элементы 3 детектирования и передачи информации, как и элементы связи 30, а также электронное устройство 2, размещаются соответствующим образом, чтобы быть защищенными от воздействия внешней окружающей среды без риска их повреждения с тем, чтобы гарантировать регистрацию информации на протяжении всего срока службы данного элемента остекления.
Кроме того, эти элементы детектирования имеют функциональные особенности, обеспечивающие физическую и электронную неприкосновенность, чтобы гарантировать надежность этих элементов детектирования и, следовательно, достоверность информации, зарегистрированной в запоминающем устройстве 21.
Информация, зарегистрированная в запоминающем устройстве 21, предназначена для считывания при помощи бесконтактного прибора 4 считывания/записи информации. Разумеется, прибор 4 также может передавать информационный сигнал на упомянутое электронное устройство для того, чтобы записать информацию в запоминающее устройство 21. Предпочтительным образом в качестве средств связи между прибором 4 считывания/записи информации и электронным устройством 2 выбираются средства бесконтактной связи при помощи радиочастотных сигналов.
Таким образом, электронное устройство 2 содержит подключенную к электронным средствам 20 антенну 22, функционирующую при помощи электромагнитных волн. Эта антенна 22 обменивается сигналами с соответствующей антенной 40 того же типа, используемой в приборе 4 считывания/записи информации.
Прибор 4 считывания/записи информации выполнен переносным и может быть размещен в непосредственной близости от элемента остекления или может представлять собой неотъемлемую часть устройства, такого, например, как самолет, в котором установлен этот элемент остекления. Этот прибор предназначен для ретрансляции информации при помощи любых известных и подходящих в данном случае средств в центральную систему 5 базы данных, например в компьютер, располагающуюся внутри самолета или размещенную в любом другом месте, например на заводе по производству элементов остекления, предприятиях, выпускающих самолеты, и т.п.
В соответствии с предлагаемым изобретением способ регистрации информации и считывания этой информации на расстоянии состоит в следующем.
На выходе производственного цикла изготовления элементов остекления электронное устройство 2 закрепляется на элементе остекления.
Элементы 3 детектирования и передачи информации могут быть подключены на заводе, если они непосредственно связаны с элементом остекления, или будут подключены в процессе монтажа элемента остекления в приемный ложемент, для которого этот элемент остекления предназначен, если они размещаются на некотором расстоянии от этого элемента остекления. Таким образом, в случае необходимости физические связи 30 могут выходить на периферийную часть элемента остекления для обеспечения последующего присоединения элементов 3 детектирования и передачи информации.
В случае необходимости так называемая статическая информация является уже записанной в запоминающем устройстве 21.
После того как элемент остекления предоставлен заказчику, он устанавливается в предназначенный для него ложемент, например в раму остекления кабины экипажа самолета, при этом в случае необходимости, если в этом есть нужда, осуществляются требуемые соединения между элементами 3 детектирования и физическими связями 30.
В соответствии с одним или несколькими параметрами, выбранными для определения количества часов полета самолета, или другой информацией, подлежащей записи в запоминающее устройство 21 электронного устройства, датчики или другие элементы 3 детектирования и передачи информации включаются при закрытии откидного трапа, или при качении самолета, или при его взлете и т.п. и передают свою информацию в соответствии с протоколом запроса, определяемым электронными средствами 20.
Информация, принятая электронными средствами 20, подвергается обработке в соответствии с предварительно определенным алгоритмом. Внутренний тактовый генератор в этих электронных средствах имеет возможность, например, вести учет времени между взлетом и посадкой самолета.
Обработанная информация, например продолжительность истекшего промежутка времени, выдается затем электронными средства 20 и записывается в запоминающем устройстве 21.
Эти операции записи, программируемые при помощи запроса элементов детектирования и передачи информации, связаны с параметрами, относящимися к данному элементу остекления или к интегральному изделию остекления, и они повторяются на протяжении всего срока службы данного элемента остекления.
Разумеется, на протяжении срока службы элемента остекления информация, которая формируется по воле оператора, также может быть записана в запоминающее устройство 21 через электронные средства 20, способные управлять приемом информации от систем передачи, отличных от упомянутых элементов 3 детектирования. Прибор 4 считывания/записи информации будет, таким образом, взаимодействовать с электронным устройством 2.
Вся информация, хранящаяся в запоминающем устройстве 21, предназначена для последующего считывания при помощи прибора считывания/записи информации, установленного на борту самолета или размещенного в непосредственной близости от него. Этот прибор имеет возможность ретранслировать считанную информацию в центральную систему 5 базы данных.
В предшествующем изложении предлагаемое изобретение было описано на примере его использования в авиационной технике, для которого информация, подлежащая передаче, соответствует, в частности, количеству часов налета. Тем не менее, предлагаемое изобретение может быть применено к любому элементу остекления, для которого определенные параметры использования устройства, в которое этот элемент остекления вставлен, или параметры использования собственно элемента остекления вызывают включение программируемого процесса регистрации в запоминающем устройстве электронного устройства элемента остекления. В частности, предлагаемое изобретение будет полезным для любых движущихся средств, содержащих остекление.
Однако можно также рассматривать такие элементы остекления применительно к зданию, например к жилому дому, для которого используется все большее количество электронных систем детектирования и/или программирования, причем вся полезная информация, предназначенная для хранения в запоминающем устройстве и подлежащая запросу на расстоянии, может, таким образом, быть зарегистрирована при помощи электронного устройства элемента остекления, принимающего информацию программируемым образом без вмешательства человека.
Элемент остекления может, например, содержать встроенный электрический элемент, для которого знание параметров или состояния его функционирования полезно производителю или поставщику, желающему иметь информацию об истинном состоянии использования, непосредственно на месте, встроенного элемента, чтобы в случае необходимости иметь возможность защититься против неоправданных обращений за гарантийным обслуживанием.
Такой интегрированный элемент представляет собой, например, электрический двигатель, который приводит в движение поворотные жалюзи или вентилятор.
Речь также может идти о коммутируемом электрически клапане выравнивания давления, который позволяет обеспечить периодическое выравнивание давления внутри изолирующего элемента остекления по отношению к давлению окружающей среды.
В целом известны датчики чередования нагрузки или циклов нагрузки, которые определяют коэффициент использования электрических и/или механических устройств путем подсчета и запоминания, механического или электрического (электронного), и которые обычно индицируют этот коэффициент использования для обеспечения возможности его считывания пользователем и/или обслуживающим персоналом. Здесь можно упомянуть, например, счетчик копий в коммерческих фотокопировальных машинах или счетчик циклов зарядки аккумуляторов.
Известны также изолирующие стекла, в которые встроены элементы солнечных батарей.
Таким образом, данные о параметрах или состояниях функционирования встроенного элемента регистрируются автоматизированным способом в электронном устройстве 2.
Эти данные могут содержать информацию о продолжительности функционирования или включенного состояния (запоминание продолжительности действия), о циклах коммутации (счетчик чередования нагрузки), о максимальных температурах, и/или о максимальном потреблении электрического тока, и/или о максимальном приложенном напряжении (сжимаемая память максимальных величин/выявление перегрузок) и тому подобное. Если встроенный элемент содержит ячейки солнечных батарей, можно фиксировать и оценивать их производительность по току (максимальное напряжение, выдаваемая мощность и т.д.). В случае необходимости производимый электрический ток к тому же может быть использован для питания электронного устройства.
Полученная информация может быть затем считана на расстоянии. Может оказаться полезным, например, считывать снаружи информацию о функционировании встроенных электрических компонентов на элементах остекления фасада здания. Люлька, часто предусматриваемая для мытья наружных поверхностей зданий, позволяет реализовать это считывание, располагаясь относительно близко, но без необходимости касания каждого стекла. В соответствии с дальностью действия и ориентацией прибора считывания информации это считывание даже может быть реализовано с поверхности земли. Кроме того, можно предусмотреть адресацию каждого электронного устройства и каждого оконного стекла посредством индивидуальной характеристики и обеспечить возможность передачи и считывания на расстоянии информации о функционировании только в случае приема сигнала вызова соответствующего адреса.
В то же время можно будет позаботиться о введении в запоминающее устройство 21 электронного устройства статической информации типа данных, относящихся к номеру серии или к номеру детали, а также к дате или году производства, чтобы обеспечить возможность идентификации элемента, встроенного в собственно элемент остекления и по месту.
Формула изобретения
1. Элемент остекления, содержащий, по меньшей мере, одно электронное устройство (2), имеющее в своем составе, по меньшей мере, одно электронное запоминающее устройство (21), предназначенное для записи информации, которая может быть считана на расстоянии при помощи специально адаптированного прибора считывания, отличающийся тем, что содержит электронное средство (20) приема и обработки данных, соединенное с запоминающим устройством (21) таким образом, чтобы обеспечить передачу и запись информации в запоминающее устройство в ответ на сигналы, принимаемые программируемым образом посредством одного или нескольких элементов (3) детектирования и передачи данных, связанных с элементом остекления и/или с устройством, в которое этот элемент остекления вставляется.
2. Элемент остекления по п.1, отличающийся тем, что информация, хранящаяся в запоминающем устройстве (21), связана с параметрами, которые изменяются с течением времени и которые относятся к элементу остекления, и/или к устройству, включающему этот элемент остекления, и/или к тому или иному электрическому элементу, встроенному в элемент остекления.
3. Элемент остекления по любому из пп.1 или 2, отличающийся тем, что доступ к информации, зарегистрированной в запоминающем устройстве (21), предоставляется для уполномоченных пользователей.
4. Элемент остекления по п.1, отличающийся тем, что электронное устройство (2) защищено от воздействия внешней окружающей среды.
5. Элемент остекления по п.1, отличающийся тем, что электронное устройство (2) жестко закреплено на периферийной части элемента остекления, непосредственно на стекле или на элементе, присоединенном к стеклу, типа периферийной рамы, и предпочтительно расположено в месте, предназначенном для его маскировки при помощи рамы, в которой будет размещен этот элемент остекления.
6. Элемент остекления по п.1, отличающийся тем, что электронное устройство (2) встроено внутрь элемента остекления, снабженного, по меньшей мере, двумя листами стекла.
7. Элемент остекления по п.1, отличающийся тем, что элементы (3) детектирования и передачи информации представляют собой датчики, выбранные из группы, состоящей из датчика электрического тока, датчика напряжения, датчика температуры, датчика давления, датчика вибраций, акселерометра, датчика угла наклона, детектора механических воздействий или счетчика.
8. Элемент остекления по п.2, отличающийся тем, что элемент (3) детектирования и передачи информации включен в элемент остекления или же удален от него и связан с устройством, в которое этот элемент остекления вставляется.
9. Элемент остекления по п.1, отличающийся тем, что запоминающее устройство (21) электронного устройства содержит информацию, уже сохраненную там перед началом функционирования электронного устройства в ответ на сигналы, принятые программируемым образом, причем эта информация относится, в частности, к характеристикам идентификации, конфигурации, изготовления, а также к техническим характеристикам элемента остекления и/или электрического элемента, встроенного в этот элемент остекления.
10. Элемент остекления по п.2, отличающийся тем, что информация, зарегистрированная в запоминающем устройстве (21) электронного устройства элемента остекления, предназначена для считывания при помощи прибора (4) считывания/записи информации, функционирующего также в качестве прибора записи информации в запоминающее устройство (21) в ответ на требование оператора.
11. Элемент остекления по п.10, отличающийся тем, что средства связи между электронным устройством (2) и прибором (4) считывания/записи информации представляют собой средства связи при помощи радиочастотных сигналов, как в системах идентификации при помощи радиочастотного канала (RFID), при помощи технологии Wi-Fi или Bluetooth®, или при помощи связи с использованием оптического сигнала, например, при помощи инфракрасных волн, или при помощи емкостного или индуктивного канала связи, или же, в наиболее простом варианте, при помощи проводной связи.
12. Элемент остекления по п.11, отличающийся тем, что средства связи обеспечивают радиочастотную связь, при этом электронное устройство (2) содержит антенну (22) идентификации при помощи радиочастотного канала, связанную с электронными средствами, причем эта антенна взаимодействует с другой антенной (40) того же типа, связанной с прибором (4) считывания/записи информации.
13. Элемент остекления по п.1, отличающийся тем, что электронные средства (2) содержат систему идентификации электронного устройства, которая исключает возникновение конфликтной ситуации с другой информацией, не предназначенной для упомянутого устройства.
14. Элемент остекления по п.1, отличающийся тем, что содержит маркировку распознавания, информирующую о специфическом типе элемента остекления, на котором эта маркировка размещена.
15. Элемент остекления по п.1, отличающийся тем, что предназначен для интегрирования в движущееся средство типа летательного аппарата, средства автомобильного транспорта или средства железнодорожного транспорта.
16. Элемент остекления по п.15, отличающийся тем, что электронное запоминающее устройство (21) предназначено для регистрации часов налета летательного аппарата.
17. Элемент остекления по п.1, отличающийся тем, что предназначен для интегрирования в здание.
18. Способ регистрации информации и считывания этой информации на расстоянии, причем упомянутая информация хранится в запоминающем устройстве (21) электронного устройства (2), закрепленного на элементе остекления, отличающийся тем, что осуществляют сбор информации программируемым образом при помощи, по меньшей мере, одного элемента (3) детектирования и передачи информации типа датчика, передают эту информацию в электронное средство (20) приема и обработки данных, содержащиеся в электронном устройстве элемента остекления, регистрируют обработанную информацию при помощи электронных средств (20) в запоминающем устройстве (21), считывают информацию, содержащуюся в запоминающем устройстве, при помощи адаптированного соответствующим образом бесконтактного прибора (4) считывания информации.
19. Способ по п.18, отличающийся тем, что используют элемент остекления в соответствии с любым из пп.1-17.
РИСУНКИ
|
|