|
|
(21), (22) Заявка: 2008124125/02, 16.06.2008
(24) Дата начала отсчета срока действия патента:
16.06.2008
(46) Опубликовано: 20.02.2010
(56) Список документов, цитированных в отчете о поиске:
SU 17345475 A1, 23.05.1992. RU 2213823 C2, 10.04.2003. GB 1293913 A, 25.10.1972.
Адрес для переписки:
352127, Краснодарский край, г. Тихорецк, ул. Красноармейская, 67, ОАО “ТМЗ им. В.В. Воровского”
|
(72) Автор(ы):
Кириков Александр Константинович (RU), Бидуля Александр Леонидович (RU), Краснов Олег Геннадьевич (RU), Фендриков Александр Иванович (RU), Коновалов Сергей Владимирович (RU), Коновалов Станислав Владимирович (RU)
(73) Патентообладатель(и):
Общество с ограниченной ответственностью “Путевые машины” (RU)
|
(54) УСТРОЙСТВО ДЛЯ ЗАВИНЧИВАНИЯ И ОТВИНЧИВАНИЯ ГАЕК СКРЕПЛЕНИЙ РЕЛЬСОШПАЛЬНОЙ РЕШЕТКИ
(57) Реферат:
Устройство для завинчивания и отвинчивания гаек скреплений рельсошпальной решетки относится к машиностроению. Устройство содержит смонтированную на подвижной платформе консоль с поворотной траверсой, на которой размещены рабочие головки, установленные на плечах двуплечего рычага, с гидромотором для их вращения и приводом управления их положением, упор для установки рабочих головок относительно оси рельса и искатели, шарнирно смонтированные с возможностью поворота к рабочим головкам. Устройство имеет каретку, установленную на поворотной траверсе на одной оси с двуплечим рычагом с возможностью перемещения в вертикальной плоскости и поворота в горизонтальной плоскости относительно траверсы, содержащую базирующие ролики для ее установки относительно продольной оси рельса рельсошпальной решетки. Обеспечивается упрощение конструкции, повышение надежности и расширение эксплуатационных возможностей. 3 з.п. ф-лы, 4 ил.
Изобретение относится к области железнодорожного транспорта, а именно к гайковертам для завинчивания и отвинчивания гаек скреплений рельсошпальной решетки.
Известно устройство (1) для завинчивания и отвинчивания гаек, содержащее подвижную платформу, размещенную на ней с возможностью поворота консоль, подпружиненную в сторону последней, гидросистему с пневмораспределителями, установленный на свободном конце консоли гидромотор с выходным валом и поворотную полую траверсу с размещенным в ней редуктором, кинематически связанным с выходным валом гидромотора, размещенную на выходном валу редуктора подпружиненную в осевом направлении рабочую головку, гидроцилиндр, кинематически связанный с рабочей головкой, размещенные на траверсе искатель для взаимодействия с гайкой резьбового соединения, и управляющий датчик для взаимодействия с гидроцилиндром, устройство снабжено дополнительным гидроцилиндром со штоком, торцы которых шарнирно закреплены на консоли и траверсе соответственно, дополнительным датчиком и дугообразным упором, закрепленным на конце искателя для взаимодействия с головкой рельса железнодорожного пути.
Недостатками известного устройства являются:
– сложность конструкции из-за наличия редуктора для привода рабочей головки;
– износ дугообразного упора при взаимодействии его с рельсом снижает надежность совмещения осей гайки резьбового соединения и рабочей головки;
– отсутствует возможность изменения положения рабочей головки относительно продольной оси рельса, что не обеспечивает работу устройства на различных типах скрепления рельсов и сужает эксплуатационные возможности устройства.
Известно устройство для завинчивания и отвинчивания гаек (2), принятое за прототип, содержащее смонтированную на подвижной платформе консоль с поворотной траверсой и размещенные на последней рабочую головку с гидромотором для ее вращения, гидроцилиндр (привод) управления положением рабочей головки, соединенный с последней упругой связью, датчики поворота траверсы и опускания рабочей головки, дугообразный упор для взаимодействия с рельсом (упор для установки рабочей головки относительно продольной оси рельса) и подпружиненный искатель, жестко закрепленный на траверсе кронштейн, на котором шарнирно смонтирован гидроцилиндр (привод) управления положением рабочей головки, а указанная упругая связь образована двумя двуплечими рычагами, смонтированными на кронштейне на общей оси, первый из которых шарнирно связан одним плечом со штоком указанного гидроцилиндра, а на другом его плече смонтирована тяга с пружиной, второй рычаг одним плечом шарнирно связан с рабочей головкой, а другое его плечо смонтировано на указанной тяге и поджато связанной с ней пружиной к плечу первого рычага, при этом дугообразный упор жестко смонтирован на кронштейне, а искатель смонтирован на кронштейне с возможностью поворота к рабочей головке.
Недостатками известного устройства являются:
– сложность и недостаточная надежность устройства из-за наличия дополнительных звеньев в виде рычагов, пружин и шарниров в системе управления положением рабочей головки и дугообразным упором;
– жестко смонтированный дугообразный упор не позволяет изменять положение рабочей головки относительно продольной оси рельса и не обеспечивает работу устройства на различных типах скреплений с разными расстояниями осей гаек от продольной оси рельса, что сужает эксплуатационные возможности устройства, кроме того, в процессе контакта дугообразного упора с рельсом происходит его износ, что также снижает надежность работы устройства.
Техническим результатом изобретения являются упрощение конструкции, повышение надежности работы и расширение эксплуатационных возможностей за счет обеспечения работы устройства на различных типах скреплений.
Указанный технический результат достигается тем, что устройство для завинчивания и отвинчивания гаек скреплений рельсошпальной решетки содержит смонтированную на подвижной платформе консоль, несущую поворотную траверсу и размещенные на последней рабочие головки с гидромотором для их вращения, привод управления положением рабочей головки, упор для установки рабочей головки относительно оси рельса и искатель, шарнирно смонтированный с возможностью поворота к рабочей головке. Устройство содержит каретку, имеющую базирующие ролики для ее установки относительно продольной оси рельса рельсошпальной решетки, установленную на поворотной траверсе посредством оси с возможностью перемещения посредством привода управления положением рабочей головки в вертикальной плоскости и поворота в горизонтальной плоскости относительно траверсы, причем, рабочие головки закреплены с возможностью перемещения в вертикальной плоскости и поворота в горизонтальной плоскости на плечах двуплечего рычага, закрепленного средней частью на вертикальной оси каретки. Упор для установки рабочей головки относительно продольной оси рельса имеет фиксаторы, устанавливающие положение рабочих головок относительно каретки в зависимости от типа скреплений рельсошпальной решетки. Консоль смонтирована на подвижной платформе с возможностью поворота от рабочего цилиндра и перемещения каретки с рабочими головками вдоль оси рельсошпальной решетки на величину расстояния между двумя или тремя гайками скреплений. Управление перемещениями рабочих головок выполнено в зависимости от угла поворота консолей.
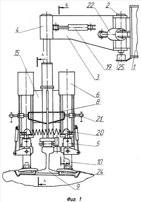
На фиг.1 изображен общий вид устройства для завинчивания и отвинчивания гаек скреплений рельсошпальной решетки; на фиг.2 – изображен вид по А-А фиг.1, на фиг.3 – вид по Б-Б фиг.1, на фиг.4 – изображено устройство, вид сверху.
Устройство для завинчивания и отвинчивания гаек скреплений рельсошпальной решетки содержит смонтированную на подвижной платформе 1 (фиг.1-4) на оси 2 консоль 3, несущую поворотную траверсу 4 и размещенные на ней рабочие головки 5 с гидромотором 6 для их вращения и установленные так, чтобы обрабатывать гайки по обе стороны рельса (с внутренней и наружной), привод управления вертикальным положением рабочих головок 5 посредством пневмоцилиндра 7, упор 8 для установки рабочих головок 5 относительно оси рельса 9 и искатели 10, шарнирно смонтированные с возможностью поворота к рабочим головкам 5. Устройство содержит каретку 11, установленную на поворотной траверсе 4 посредством оси 12 с возможностью перемещения пневмоцилиндром 13 в вертикальной плоскости из верхнего транспортного положения в нижнее, рабочее положение до касания роликовой опоры 14 каретки 11 верхней поверхности головки рельса 9 и поворота в горизонтальной плоскости относительно траверсы 4. Двуплечий рычаг 15 закреплен средней частью на оси 16 каретки 11. На каждом его плече при помощи шарнира 17 закреплена рабочая головка 5 с возможностью перемещения в вертикальной плоскости посредством привода управления, выполненного, например, в виде пневмоцилиндра 7, и поворота в горизонтальной плоскости для установки относительно оси рельса 9 с различными типами скреплений. Каретка 11 содержит базирующие ролики 18 с поджатием их пневмоцилиндром 19 к боковой грани головки рельса 9 и пружины поджатия 20, а упор 8 имеет фиксаторы 21, устанавливающие положение рабочей головки 5 относительно каретки 11 в зависимости от типа скрепления рельса 9. Консоль 3 смонтирована на подвижной платформе 1 с возможностью поворота от рабочего цилиндра 22 на угол и перемещения каретки 11 с рабочей головкой 5 вдоль оси рельса 9 на величину L в зависимости от расстояния между двумя или тремя гайками 23 рельсовых скреплений 24. Управление перемещением рабочей головки 5 выполнено от датчика 25 в зависимости от угла поворота консоли 3, что позволяет упростить конструкцию, повысить ее надежность и расширить эксплуатационные возможности за счет обеспечения установки головки 5 относительно рельса 9 для различных типов скреплений 24. Количество консолей с рабочими головками определяется заданной производительностью устройства и может составлять от двух до восьми и более штук.
Устройство работает следующим образом.
В рабочем положении устройства (фиг.1-4) каретка 11 пневмоцилиндром 13 установлена роликовой опорой 14 на верхней поверхности головки рельса 9 и посредством базирующих роликов 18, поджатых пневмоцилиндром 19 к боковой грани головки рельса 9, ориентирована относительно оси рельса 9, а искатели 10 опущены в нижнее положение и при непрерывном перемещении подвижной платформы 1 взаимодействуют с гайками 23 рельсовых скреплений 24, устанавливая рабочие головки 5 соосно рельсовым скреплениям 24 с применением фиксаторов 20 и пружин поджатая 21, которые фиксируют положение рабочих головок 5 относительно каретки 11. При дальнейшем перемещении подвижной платформы 1 производится поворот консоли 3 относительно оси 2, на которой она установлена, на определенный угол , соответствующий началу опускания рабочей головки 5 на гайку 23 и измеренный датчиком 25, который дает команды на вращение гидромоторов 6 и движения, выполняемые устройством при завинчивании и отвинчивании гаек 23 скреплений 24 рельсошпальной решетки. По окончании цикла пневмоцилиндром 17 производится подъем рабочих головок 5 и рабочим цилиндром 22 производится поворот консоли 3 на угол , соответствующий перемещению рабочей головки 5 на величину L в зависимости от расстояния между двумя или тремя гайками 23 рельсовых скреплений 24. По команде датчика 25 производится опускание искателей 10 и цикл работы устройства повторяется. После завершения работ пневмоцилиндром 13 каретка 11 с рабочими головками 5 поднимается в транспортное положение и фиксируется относительно подвижной платформы 1.
ИСТОЧНИКИ ИНФОРМАЦИИ
1. Авторское свидетельство СССР 1393616, МПК В25В 21/00, опубл. 1988 г.
2. Патент РФ 1735475, МПК Е01В 29/28, опубл. 1992 г. (прототип).
Формула изобретения
1. Устройство для завинчивания и отвинчивания гаек скреплений рельсошпальной решетки, содержащее смонтированную на подвижной платформе консоль, несущую поворотную траверсу и размещенные на последней рабочие головки с гидромотором для их вращения, привод управления положением рабочей головки, упор для установки рабочей головки относительно оси рельса и искатель, шарнирно смонтированный с возможностью поворота к рабочей головке, отличающееся тем, что оно содержит каретку, имеющую базирующие ролики для ее установки относительно продольной оси рельса рельсошпальной решетки, установленную на поворотной траверсе посредством оси с возможностью перемещения посредством привода управления положением рабочей головки в вертикальной плоскости и поворота в горизонтальной плоскости относительно траверсы, причем рабочие головки закреплены с возможностью перемещения в вертикальной плоскости и поворота в горизонтальной плоскости на плечах двуплечего рычага, закрепленного средней частью на вертикальной оси каретки.
2. Устройство по п.1, отличающееся тем, что упор для установки рабочей головки относительно продольной оси рельса имеет фиксаторы, устанавливающие положение рабочих головок относительно каретки в зависимости от типа скреплений рельсошпальной решетки.
3. Устройство по п.1, отличающееся тем, что консоль смонтирована на подвижной платформе с возможностью поворота от рабочего цилиндра и перемещения каретки с рабочими головками вдоль оси рельсошпальной решетки на величину расстояния между двумя или тремя гайками скреплений.
4. Устройство по любому из пп.1, 2 и 3, отличающееся тем, что управление перемещениями рабочих головок выполнено в зависимости от угла поворота консолей.
РИСУНКИ
|
|