|
|
(21), (22) Заявка: 2008131003/02, 29.07.2008
(24) Дата начала отсчета срока действия патента:
29.07.2008
(46) Опубликовано: 20.02.2010
(56) Список документов, цитированных в отчете о поиске:
RU 2222420 C1, 27.01.2004. SU 107393 A1, 01.01.1957. SU 1063585 A1, 30.12.1983. SU 1801729 A1, 15.03.1993. WO 03011164 А1, 13.02.2003. JP 9003625 A, 07.01.1997. JP 62028175 А, 06.02.1987.
Адрес для переписки:
143395, Московская обл., Наро-Фоминский р-н, д.Софьино, ЖСК, д.18, Г-ну О.И.Гречишкину
|
(72) Автор(ы):
Гречишкин Олег Иванович (RU)
(73) Патентообладатель(и):
Гречишкин Олег Иванович (RU)
|
(54) ПЕСКОСТРУЙНЫЙ ИНСТРУМЕНТ С ЛОКАЛЬНОЙ ВОДЯНОЙ ЗАВЕСОЙ
(57) Реферат:
Изобретение относится к пескоструйной обработке и может быть использовано при очистке поверхностей изделий пневмообразивными средствами. Инструмент содержит корпус, цилиндрический элемент для подачи пневмоабразивной смеси, выходное сопло в форме сопла Лаваля со средствами осевого перемещения, патрубок, средства взаимного перемещения и фиксации и завихритель для образования локальной водяной завесы вокруг абразивной струи. Выходное сопло установлено с зазором соосно цилиндрическому элементу у другого его конца с образованием в корпусе кольцевой проточки. Патрубок сообщен с полостью кольцевой проточки. Завихритель предназначен для образования локальной водяной завесы вокруг абразивной струи и установлен на конце цилиндрического элемента. Выходное сечение завихрителя открыто к конфузору сопла Лаваля, а входное – к упомянутой кольцевой проточке. Патрубок подключен к источнику воды. Внешний диаметр цилиндрического элемента больше размера критического сечения сопла Лаваля. В результате обеспечивается осадка продуктов абразивной обработки в зоне работ. 1 з.п. ф-лы, 2 ил.
Изобретение относится к пескоструйной обработке и может быть использовано при очистке поверхностей изделий пневмоабразивными средами.
Известны различные устройства для пескоструйной очистки, в которых пескоструйная форсунка окружена контуром отсоса использованного абразива и сопутствующей пылевой фракции (см., например, US 4993200, 19.02.1991; RU 2312759, Коломин и др., 20.12.2007; RU 2314907, Гречишкин и др., 20.01.2008). Такие устройства имеют в своем составе экранный контур, позволяют предотвратить загрязнение воздушной среды и регенерировать использованный абразив, однако сложны, требуют мощных систем вакуумирования и, кроме того, из-за неизбежных потерь в откачных линиях не могут быть удалены на значительное расстояние. В то же время, в отдельных случаях, вообще невозможно или нецелесообразно производить отсос продуктов обработки, например при очистке бетонных либо оштукатуренных поверхностей, однако необходимо препятствовать распространению пылевых фракций в окружающую среду с рабочего места оператора-пескоструйщика. Из уровня техники известно использование различных завес из распыленной воды (см., например, RU 2278272, Бот, 20.06.2006) как самостоятельного средства для защиты от пылевых выбросов.
Наиболее близким аналогом является пескоструйный инструмент по патенту RU 2222420, Гречишкин, 23.07.2002, содержащий корпус, цилиндрический элемент для подачи пневмоабразивной смеси, закрепленный одним концом в фиксирующей втулке, связанной с корпусом, выходное сопло со средствами осевого перемещения, установленное с зазором соосно цилиндрическому элементу у другого его конца с образованием кольцевой полости, а также патрубок, связанный с кольцевой полостью.
Однако данное устройство не предусматривает средств защиты воздушного пространства от отработанного абразива.
Задачей настоящего изобретения является разработка пескоструйной форсунки с локальной водяной завесой в форме конуса, дающей возможность осадить продукты абразивной обработки непосредственно в зоне работ.
Пескоструйный инструмент содержит корпус, цилиндрический элемент для подачи пневмоабразивной смеси, закрепленный одним концом в фиксирующей втулке, связанной с корпусом, выходное сопло абразивной струи в форме сопла Лаваля со средствами осевого перемещения, установленное с зазором соосно цилиндрическому элементу у другого его конца с образованием в корпусе кольцевой проточки, патрубок, сообщенный с полостью кольцевой проточкой, средства взаимного перемещения и фиксации.
Инструмент характеризуется тем, что введен завихритель для образования локальной водяной завесы вокруг абразивной струи, установленный на конце цилиндрического элемента так, что его выходное сечение открыто к конфузору сопла Лаваля, а входное – к упомянутой кольцевой проточке, причем патрубок подключен к источнику воды, а внешний диаметр цилиндрического элемента больше размера критического сечения сопла Лаваля. Средства взаимного перемещения и фиксации выполнены в виде фиксирующих и регулирующих гаек, взаимодействующих с втулкой и корпусом.
Технический результат состоит в реализации кольцевой завесы из распыленной воды вокруг зоны обработки струей абразива при использовании одного и того же инструмента. Дополнительный технический результат состоит в повышении срока службы сопла выхлопа пневмоабразивной смеси и придании дополнительной тяги струе абразива.
Сущность изобретения раскрывается на чертежах, где
на фиг.1 схематично показан принцип формирования локальной водяной завесы в инструменте;
на фиг.2 – вариант конструкции инструмента.
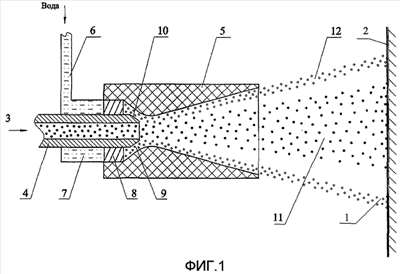
Принцип, лежащий в основе функционирования инструмента, состоит в создании внешнего контура из распыленной воды, внутри которого обеспечивается рабочая зона абразивно-струйной обработки. На фиг.1 схематично показан процесс формирования кольцевой завесы 1 на обрабатываемой поверхности 2. Инструмент содержит два входных канала: канал 3 подачи пневмоабразивной смеси, образованный в осевом направлении посредством трубчатого элемента 4 и сопла 5 выхлопа. Другой канал – канал 6 подачи воды – образован кольцевой проточкой 7 в корпусе инструмента. Проточка 7 сообщена через завихритель 8 с полостью 9, образованной зазором между конусной поверхностью выходного конца 10 трубчатого элемента 4 и соплом 5 выхлопа. Сопло 5 выхлопа выполнено в форме сопла Лаваля, конфузор которого расположен со стороны завихрителя 8, а диффузор – направлен в сторону обрабатываемой поверхности 2. В результате при работе инструмента вокруг зоны распыла рабочей пневмоабразивной струи 11 образуется кольцевая завеса 1 в форме конусного локального экрана 12 из распыленной воды.
На фиг.2 показана одна из возможных конструкций инструмента. В корпусе 14 установлена фиксирующая втулка 15, в которой закреплен трубчатый элемент-сопло 16, элемент 17 со сквозными спиральными прорезями, выполняющий функции завихрителя 8 водяного потока. Сопло 18 выхлопа крепится в корпусе 14 посредством гайки 19. Гайки 15, 19 обеспечивают регулирование зазоров при настройке и фиксацию элементов 16, 18 друг относительно друга. Вода для формирования завесы подается по патрубку 20 в кольцевую щель 21 между корпусом 14 и трубчатым элементом-соплом 16.
Устройство работает следующим образом. Предварительно подготовленная пневмоабразивная смесь подается по трубчатому элементу 4 в конфузорную часть сопла 5 Лаваля, где ускоряется и выбрасывается в виде высокоэнергетичной пневмоабразивной струи 11 на обрабатываемую поверхность 2. Одновременно, под давлением вода по каналу 6 поступает через кольцевую проточку 7 на вход завихрителя 8, в котором закручивается и в закрученном виде впрыскивается в зазор 9 в зоне критического сечения сопла 5 Лаваля. Далее, в виде тонкой пленки, вода распределяется по внутренней поверхности сопла 5 и выбрасывается наружу, образуя конусную локальную завесу 12 из распыленной воды. Вследствие этого, отработанный абразив вместе с продуктами очистки (шламом) оказывается внутри экранирующего контура, при этом увлажняется и отсаживается и может быть легко удален. Это дает возможность улучшить состояние окружающей среды по части запыленности в зоне обработки. Испытания показали, что на расстоянии 0,5 м от обрабатываемой поверхности диаметр основания конуса распыленной воды составляет около 0,2 м, при этом собственно смешения пневмоабразивной среды и воды в сопле до того момента, как произведена пескоструйная обработка, практически не происходит. Расход воды при критическом сечении 8-9 мм сопла Лаваля зависит от запыленности и составляет в среднем 300-400 мл на 1 кв.м обрабатываемой поверхности.
В качестве сопутствующего технического эффекта отмечается уменьшение износа внутренней поверхности сопла Лаваля за счет снижения непосредственного контакта с частицами абразива.
Формула изобретения
1. Пескоструйный инструмент, содержащий корпус, цилиндрический элемент для подачи пневмоабразивной смеси, закрепленный одним концом в фиксирующей втулке, связанной с корпусом, выходное сопло абразивной струи в форме сопла Лаваля со средствами осевого перемещения, установленное с зазором соосно цилиндрическому элементу у другого его конца с образованием в корпусе кольцевой проточки, патрубок, сообщенный с полостью кольцевой проточки, средства взаимного перемещения и фиксации, отличающийся тем, что он снабжен завихрителем для образования локальной водяной завесы вокруг абразивной струи, установленным на конце цилиндрического элемента так, что его выходное сечение открыто к конфузору сопла Лаваля, а входное – к упомянутой кольцевой проточке, причем патрубок подключен к источнику воды, а внешний диаметр цилиндрического элемента больше размера критического сечения сопла Лаваля.
2. Инструмент по п.1, отличающийся тем, что средства взаимного перемещения и фиксации выполнены в виде фиксирующих и регулирующих гаек, взаимодействующих с втулкой и корпусом.
РИСУНКИ
|
|