|
|
(21), (22) Заявка: 2005106080/15, 03.03.2005
(24) Дата начала отсчета срока действия патента:
03.03.2005
(30) Конвенционный приоритет:
04.03.2004 US 10/793,455
(43) Дата публикации заявки: 10.08.2006
(46) Опубликовано: 20.02.2010
(56) Список документов, цитированных в отчете о поиске:
US 6364103 B1, 02.04.2002. US 4938262 A, 03.07.1990. RU 2167799 C2, 27.05.2001.
Адрес для переписки:
129090, Москва, ул. Б.Спасская, 25, стр.3, ООО “Юридическая фирма Городисский и Партнеры”, пат.пов. Ю.Д.Кузнецову, рег. 595
|
(72) Автор(ы):
ЧОПЕРЕНА Альфредо М. (US), МОРРИСОН Тодд (US)
(73) Патентообладатель(и):
ЭТИКОН, ИНК. (US)
|
(54) СПОСОБ ПОДАЧИ ЖИДКОГО СТЕРИЛИЗУЮЩЕГО ВЕЩЕСТВА В СТЕРИЛИЗАТОР
(57) Реферат:
Изобретение относится к области стерилизации и может быть использовано для подачи жидкого стерилизующего вещества в стерилизатор. Способ подачи жидкого стерилизующего вещества в стерилизатор содержит следующие шаги: а) прокалывают ячейку кассеты первой иглой, имеющей первый просвет и второй просвет; b) обеспечивают поступление газа в ячейку через второй просвет для создания в ячейке давления, повышенного по сравнению с давлением в первом просвете, отводят жидкое стерилизующее вещество из ячейки через первый просвет и с) обеспечивают вытекание жидкого стерилизующего вещества из просвета в испаритель стерилизатора. Изобретение позволяет устранить необходимость сплющивания ячейки и предотвратить захват какого-либо количества жидкого стерилизующего вещества в складках ячейки во время ее сплющивания. 8 з.п. ф-лы, 18 ил.
Предпосылки к созданию изобретения
Настоящая заявка относится к подаче стерилизующего вещества из кассеты в стерилизатор инструментов и более конкретно – к извлечению стерилизующего вещества из кассеты.
Одним популярным способом стерилизации инструментов, таких как медицинские устройства, является приведение устройств в контакт с находящимся в паровой фазе стерилизующим веществом, таким как перекись водорода. Во многих таких стерилизаторах предпочтительной является подача стерилизующего вещества в жидкой форме с его испарением в стерилизаторе. Одним особенно удобным и точным способом подачи жидкого стерилизующего вещества является помещение заданного количества стерилизующего вещества в кассету и помещение кассеты в стерилизатор. Стерилизатор затем автоматически извлекает стерилизующее вещество из кассеты и использует его в процедуре стерилизации. Обычно такая кассета должна содержать множество ячеек, содержащих равные количества жидкого стерилизующего вещества при процедуре стерилизации, предусматривающей использование стерилизующего вещества из одной или нескольких ячеек. Такая система в настоящее время представлена в системе стерилизации STERRAD®, которую поставляет компания Advanced Sterilization Products из Ирвина, шт. Калифорния.
В патентах США  4817800; 4869286; 4899519; 4909287; 4913196; 4938262; 4941518; 5882611; 5887716 и 6412340, каждый из которых включен сюда в качестве ссылки, описаны такие кассеты и способ слива жидкого стерилизующего вещества из ячейки, находящейся в кассете. По существу кассету перемещают по горизонтали с горизонтально ориентированной ячейкой, и одна или несколько игл прокалывают ячейку снизу, в то время как сжатый воздух воздействует на верхнюю поверхность кассетной ячейки. Ячейка изготовлена из гибкого материала, так что воздух сжимает ячейку и выжимает стерилизующее вещество наружу через иглы. Такая система ограничивает конструкцию кассеты наружной оболочкой, обеспечивающей жесткость и вмещающей внутреннюю ячейку из гибкого материала. Кроме того, требуется тщательное конструирование ячейки для того, чтобы обеспечить полное сплющивание, не допуская при этом захвата какого-либо количества жидкого стерилизующего вещества в складках в ячейке во время ее сплющивания.
Настоящее изобретение позволяет устранить эти и другие ограничения, присущие существующим техническим решениям.
Сущность изобретения
Согласно настоящему изобретению способ подачи жидкого стерилизующего вещества в стерилизатор содержит следующие шаги: а) прокалывание ячейки кассеты первой иглой, имеющей первый просвет, b) поступление газа в ячейку для создания в ячейке давления, повышенного по сравнению с давлением в первом просвете, и отвод жидкого стерилизующего вещества через первый просвет и с) вытекание жидкого стерилизующего вещества из просвета в испаритель стерилизатора.
В одном аспекте изобретения второй просвет в первой игле открыт для газа, вдуваемого в ячейку через второй просвет. В другом аспекте изобретения способ включает шаги прокалывания ячейки второй иглой, имеющей отверстие второго просвета, при котором просвет открывается в ячейку, и вдувания в ячейку газа через второй просвет.
В одном аспекте изобретения газ находится под атмосферным давлением, и первый просвет находится под давлением ниже атмосферного. В другом аспекте изобретения газ находится под давлением, превышающим атмосферное.
Способ пригоден для использования с кассетами, имеющими несколько ячеек, и шаги а), b) и с) могут повторяться.
Предпочтительно жидкое стерилизующее вещество содержит перекись водорода.
В одном аспекте изобретения в ходе шага а) игла входит в ячейку сбоку. В другом аспекте изобретения в ходе шага а) игла входит в ячейку сверху и перемещается в ней вниз. Игла может быть установлена таким образом, что первый просвет открывается в ячейку в самой ее нижней части или рядом с ней для того, чтобы максимизировать извлечение из ячейки жидкого стерилизующего вещества, или в заданном вертикальном положении, чтобы обеспечить извлечение из ячейки жидкого стерилизующего вещества, находящегося выше заданного положения, так что при этом извлекается не все суммарное содержание жидкого стерилизующего вещества в ячейке.
Краткое описание чертежей
фиг.1 – блок-схема стерилизатора с применением системы манипулирования кассетой согласно настоящему изобретению,
фиг.2 – перспективный вид сзади системы манипулирования кассетой согласно настоящему изобретению,
фиг.3 – перспективный вид спереди системы манипулирования кассетой с фиг.2,
фиг.4 – перспективный вид спереди системы манипулирования кассетой с фиг.2, демонстрирующий короб для сбора отработанных кассет,
фиг.5 – перспективный вид сзади системы манипулирования кассетой с фиг.2, демонстрирующий каретку в положении установки,
фиг.6 – перспективный вид сзади системы манипулирования кассетой с фиг.2, демонстрирующий каретку, перемещающуюся в исходное положение,
фиг.7 – перспективный вид сзади системы манипулирования кассетой с фиг.2, демонстрирующий каретку в положении считывания штрихкода с кассеты,
фиг.8 – перспективный вид сзади системы манипулирования кассетой с фиг.2, демонстрирующий каретку в исходном положении,
фиг.9 – перспективный вид спереди системы манипулирования кассетой с фиг.2, демонстрирующий каретку в положении выпуска жидкости из первой ячейки кассеты,
фиг.10 – поперечный разрез кассеты с ячейкой внутри,
фиг.11 – перспективный вид спереди системы манипулирования кассетой с фиг.2, демонстрирующий верхнюю и нижнюю иглы извлекающей подсистемы, проникающие в первую ячейку кассеты,
фиг.12 – перспективный вид спереди системы манипулирования кассетой с фиг.2, демонстрирующий верхнюю и нижнюю иглы извлекающей подсистемы, проникающие в последнюю ячейку кассеты,
фиг.13 – перспективный вид спереди системы манипулирования кассетой с фиг.2, демонстрирующий выталкивание из нее кассеты,
фиг.14 – схема последовательности процесса выталкивания кассеты,
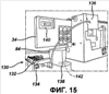
фиг.15 – перспективный вид сзади альтернативного варианта реализации системы манипулирования кассетой согласно настоящему изобретению с использованием технологии RFID (радиочастотной идентификации),
фиг.16 – карта памяти радиометки кассеты, показанной на фиг.15,
фиг.17 – вид в плане не сложенной заготовки для формирования короба для сбора отработанных кассет с фиг.4,
фиг.18 – перспективный вид заготовки с фиг.17, сложенной для формирования короба для сбора отработанных кассет.
Подробное описание
На фиг.1 показана блок-схема стерилизатора 10 в паровой фазе, применяющего систему 12 манипулирования кассетой согласно настоящему изобретению. Стерилизатор 10 содержит вакуумную камеру 14 и вакуумный насос 16, предназначенный для выкачивания из нее атмосферы. Испаритель 18 принимает жидкое стерилизующее вещество из системы 12 манипулирования кассетой и подает его в форме пара в вакуумную камеру 14. Внутри вакуумной камеры 14 помещен электрод 20 в форме анодной сетки, предназначенный для возбуждения содержимого вплоть до фазы плазмы во время части цикла стерилизации. Микрофильтрующее входное отверстие 22 и клапан 24 пропускают в вакуумную камеру 14 стерильный воздух и нарушают в ней вакуум. Система 28 управления соединяется со всеми основными компонентами, датчиками в стерилизаторе 10 для управления циклом стерилизации.
Типичный цикл стерилизации может включать в себя создание вакуума в вакуумной камере 14 и включение питания на электроде 20 для испарения и удаления воды из вакуумной камеры 14. Электрод 20 затем выключают, и в вакуумной камере 14 создают низкий вакуум порядка менее чем 1 Торр. Стерилизующее вещество, такое как перекись водорода, испаряют в испарителе 18 и подают в вакуумную камеру 14, где оно рассеивается, входя в контакт с предметами, предназначенными для стерилизации, и убивает находящиеся на них микроорганизмы. Ближе к концу цикла на электрод 20 вновь подают питание и стерилизующее вещество переводят в фазу плазмы. Питание электродов 20 выключают и через клапан 24 всасывают профильтрованный воздух. Этот процесс можно повторять.
На фиг.2-4 показана система 12 манипулирования кассетой согласно настоящему изобретению. Она содержит, в целом, каретку 32 для удержания кассеты 34, ведущий винт 36 и двигатель 38, извлекающую подсистему 40 и сканирующее устройство 42.
Каретка 32 содержит нижнюю панель 44, боковую панель 46 и верхнюю панель 48 наряду с небольшими вертикальными фланцами 50 и 52 на верхней и нижней панелях 48 и 44 соответственно, предназначенными для захвата кассеты 34. Нижняя, боковая и верхняя панели 44, 46 и 48 расходятся наружу на входе 54 каретки, чтобы способствовать установке кассеты 34. Две пружинных защелки 56 на фланцах 50 и 52 входят в зацепление с неровными поверхностями кассеты 34 для того, чтобы прочно установить кассету 34 внутри каретки 32.
Каретка 32 перемещается вдоль ведущего вента 36 и опирается на верхнюю направляющую 58. Гайка 60 ведущего винта, прикрепленная к нижней панели 44 и имеющая отверстие 62 с резьбой и отверстие 63 без резьбы, вмещает ведущий винт 36 и осуществляет перемещение каретки 32 по горизонтали под воздействием вращения ведущего винта 36. Фланцы 64 отходят наружу от верхней панели 48 и фланцы 66 отходят наружу от боковой панели 46, причем каждый из них имеет отверстия 69 для пропуска верхней направляющей 58. Двигателем 38 предпочтительно является шаговый электродвигатель, который соединяется с ведущим винтом 36 для точного контроля горизонтального положения кассеты 34 относительно рамы 68.
Извлекающий узел 40 содержит верхнюю иглу 70 и нижнюю иглу 72, каждая из которых имеет конфигурацию с просветом. Верхняя игла соединяется с воздушным насосом 74, который может продувать воздух через верхнюю иглу 70. Нижняя игла 72 соединяется с клапаном 76 и оттуда соединяется по вертикали с испарителем 18.
Сканирующее устройство 42 ориентировано таким образом, чтобы иметь возможность считывать штрихкод 80 на кассете 34, а также штрихкод 82 на коробе 84 для отработанных кассет. После помещения кассеты 34 в каретку 32 сканирующее устройство 42 считывает штрихкод 80 кассеты. В штрихкоде 80 предпочтительно закодирована информация, относящаяся к содержимому кассеты 34, включая номера партий и даты истечения срока годности. Эту информацию можно использовать для того, чтобы определить, является ли кассета 34 свежей и нужного типа и не была ли кассета 34 использована в системе ранее и не является ли она поэтому по меньшей мере частично пустой. Код передается в систему 28 управления, которая и определяет все это.
Сканирующее устройство 42 может также рассмотреть штрихкод 82 короба для отработанных кассет в то время, когда каретка 32 перемещается внутрь и в сторону от сканирующего устройства 42. Каждый короб 84 для отработанных кассет предпочтительно имеет два штрихкода 82, по одному в каждом из противоположных углов, так что сканирующее устройство 42 может наблюдать один из них вне зависимости от того, каким углом сначала вставлен короб 84 для отработанных кассет. Когда короб 84 для отработанных кассет заполняется, отработанные кассеты 34 заслоняют штрихкод 82, который подает сигнал в систему 28 управления об отсутствии емкости для приема дополнительных отработанных кассет 34. Предпочтительно это сообщение будет передано пользователю, например, на экране дисплея (не показан). Если кассета 34 пустая, она не будет вытолкнута и новые циклы не будут выполняться до тех пор, пока в стерилизатор 10 не вставят короб 84 для отработанных кассет, имеющий емкость для приема отработанной кассеты 34.
Вперед и вниз от боковой панели 46 каретки отходят передний флажок 86 и задний флажок 88. Они скользят в пазу 90 в датчике 92 паза, который определяет их присутствие в пазу 90, например, за счет перекрытия луча света. Перемещение переднего флажка 86 и заднего флажка 88 через датчик 92 паза позволяет системе 28 управления определить место расположения каретки 32.
Верхняя панель 48 каретки 32 может поворачиваться относительно верхней направляющей 58. Пружина 94 между верхней панелью 48 и боковой панелью 46 отжимает верхнюю панель 48 вниз для удержания кассеты 34 внутри каретки 32. Установочный кулачок 96 располагается позади боковой панели 46 и совмещается с выталкивающей лапкой 98, которая отходит наружу и вниз от верхней панели 48 и которая может выступать через отверстие 100 в боковой панели 46 при повороте верхней панели 48 вверх. Такой поворот верхней панели 48 освобождает кассету 34, и выталкивающая лапка 98, выступающая через отверстие 100, выталкивает кассету 34 из каретки 32 в короб для отработанных кассет.
Установочный кулачок 96 контролирует вращение верхней панели 48. Он имеет в общем треугольную форму с обращенной наружу стороной 102, обращенной вперед стороной 104 и обращенной назад стороной 106. Как показано также на фиг.5, он установлен для вращения на направленную вверх ось 108. Пружина 110 отжимает установочный кулачок 96 в направлении против часовой стрелки, вводя обращенную наружу сторону 102 в контакт с упором 112. Перемещение каретки 32 по направлению внутрь позволяет выталкивающей лапке 98 проходить обращенную назад сторону 106 распределительного кулачка 96, позволяя таким образом распределительному кулачку 96 поворачиваться по часовой стрелке и позволяя выталкивающей лапке 98 проходить по нему, не вызывая поворота верхней панели 48. Однако перемещение каретки 32 наружу заставляет выталкивающую лапку 98 проходить по обращенной вперед стороне 104 распределительного кулачка 96. Во время такого движения контакт между обращенной наружу стороной 102 распределительного кулачка 96 и упором 112 препятствует вращению распределительного кулачка 96. Прохождение кулачка выталкивающей лапкой 98 заставляет его таким образом смещаться вбок в направлении боковой панели 46, поворачивая таким образом панель 48 вверх и освобождая кассету 34 из каретки 32.
Перед вкладыванием кассеты 34 каретка 32 полностью отводится в наружное положение (как показано на фиг.5 – влево). В этом положении также передний конец 114 гайки 60 ведущего винта взаимодействует с ограничителем 116, фиксируя таким образом положение каретки 32. Как показано на фиг.6, установка вручную кассеты 34 вызывает перемещение каретки 32 внутрь (вправо, как показано на фиг.6) и перемещает передний флажок 86 в датчик 92 паза. Это перемещение предпочтительно вызывается физическим усилием от вкладывания кассеты 34, однако возможно применение датчика крутящего момента или другого датчика, позволяющего шаговому двигателю 38 выполнить это движение, восприняв усилие вкладывания кассеты 34 в каретку 32. Это движение, возникающее под воздействием усилия вкладывания кассеты 34, гарантирует, что кассета 34 полностью вставлена в каретку 32 до начала движения.
Сразу после того, как передний флажок 86 воспринимается датчиком 92, вступает в действие шаговый двигатель 38 и начинает перемещать каретку 32 внутрь. Как показано на фиг.7, во время этого шага сканирующее устройство 42 сканирует штрихкод 80 на кассете 34. Система 28 управления интерпретирует информацию, поступающую со штрихкода 80, и определяет, использовалась ли кассета 34 в стерилизаторе 10 ранее, содержит ли кассета свежее стерилизующее вещество и другую соответствующую информацию. Предпочтительно информация в штрихкоде закодирована для того, чтобы не позволить не имеющими на это право лицам изготавливать кассеты, которые могут не отвечать стандартам качества, необходимым для должной стерилизации.
Если система 28 управления отбраковывает кассету 34, каретка 32 перемещается внутрь достаточно далеко для того, чтобы пропустить выталкивающую лапку 98 мимо установочного кулачка 96 и затем перемещается назад в положение вкладывания, показанное на фиг.5, чтобы вытолкнуть забракованную кассету 34. Если кассета 34 принята, каретка 32 продолжает движение вниз в исходное положение, как показано на фиг.8, в котором задний флажок как раз выходит из датчика 92 паза.
Как показано на фиг.9 и 10, кассета 34 содержит множество ячеек 118, содержащих жидкое стерилизующее вещество 120. Возможно применение различных конструкций кассет. Показанная кассета 34 содержит твердую наружную оболочку 122, предпочтительно выполненную из полученного методом литьевого формования полимера, такого как ударо-прочный полистирол, обладающий высокой плотностью полиэтилен или обладающий высокой плотностью полипропилен, которая вмещает в себя отдельные ячейки 118, причем ячейки 118 получены из формованного раздувом полимера, такого как полиэтилен низкой плотности. Однако для формирования ячеек 118 кассеты может использоваться более жесткий материал, и в этом случае можно обойтись без наружной оболочки 122. В показанной кассете 34 верхний проем 124 и нижний проем 126 в оболочке 122 позволяют верхней и нижней иглам 70 и 72 прокалывать оболочку. Ячейка 118 выполнена из материала, который легко прокалывается иглами. Если ячейка 118 выполнена из более прочного материала, возможно утончение материала в тех местах, которые должны прокалывать иглы 70 и 72.
Система 28 управления использует исходное положение, показанное на фиг.8, как эталонное положение, предназначенное для позиционирования различных ячеек 118 перед извлекающей подсистемой 40. Путем перемещения каретки 32 на заданное расстояние относительно исходного положения возможна установка заданной ячейки 118 перед извлекающей системой 40. На фиг.9 перед извлекающей системой 40 помещена первая ячейка. Как показано на фиг.11, исполнительный механизм 128 перемещает извлекающую подсистему 40 в направлении кассеты 34, заставляя верхнюю и нижнюю иглы 70 и 72 проникнуть в верхний и нижний проемы 124 и 126 и войти в ячейку 118. После полного выдвижения игл воздушный насос 74 вдувает в ячейку 118 воздух через верхнюю иглу 70. Система ожидает пару секунд перед пуском воздушного насоса 74 и открыванием клапана 76, чтобы обеспечить должное размещение и настройку игл внутри ячейки 118. Стерилизующее вещество 120 вытекает через нижнюю иглу 72 и отводится к испарителю 18. После предоставления достаточного времени для извлечения стерилизующего вещества 120 воздушный насос 74 выключается и исполнительный механизм отводит извлекающую подсистему 40 от кассеты 34.
Испаритель 18 соединяется с вакуумной камерой 14, которая позволяет легко снизить давление в нижней игле 72 ниже атмосферного. Таким образом, насос 74 может по желанию быть заменен клапаном (не показан), открытым в атмосферу, и в этом случае поступающий под атмосферным давлением воздух создаст движущую силу для опорожнения ячейки 118.
Вместо применения верхней и нижней игл 70 и 72 может оказаться достаточным использование одной иглы с двумя сквозными просветами. Один из просветов предназначен для подачи газа, создающего повышенное давление, а один должен отводить жидкое стерилизующее вещество. Еще одной альтернативной компоновкой может быть прокалывание ячейки 118 по вертикали, или по существу по вертикали, от верхней части ячейки 118, предпочтительно, иглой с таким двойным просветом. Это позволит свести к минимуму протечки вокруг отверстия, созданного иглой, входящей в ячейку 118. Такой ввод должен также позволить наконечнику иглы подойти ближе к самой нижней точке ячейки 118 для достижения максимальной эффективности извлечения. Если требуется извлечь меньше, чем все содержимое ячейки 118, для этого может оказаться пригоден один способ размещения иглы, извлекающей стерилизующее вещество таким же образом, как нижней иглы 72, или только что упомянутой иглы с двойным просветом на том уровне в ячейке 118, вплоть до которого требуется осуществить извлечение. Жидкое стерилизующее вещество выше этой позиции будет извлечено, а стерилизующее вещество ниже этой позиции должно остаться. Это должно быть особенно удобно с применением только что упомянутой иглы, перемещающейся по вертикали.
Как показано на фиг.12, каждый раз, когда система 28 управления определяет, что требуется новая доза стерилизующего вещества, шаговый двигатель 38 перемещает кассету таким образом, чтобы поместить перед извлекающей подсистемой 40 следующую ячейку, и имеет место новое извлечение. В течение данного цикла стерилизации могут быть применены несколько извлечений. После опорожнения кассеты 34 каретка 32 перемещается в положение вкладывания, заставляя таким образом выталкивающую лапку 98 пройти по установочному кулачку 96 для того, чтобы повернуть верхнюю панель 48 вверх и выдвинуть выталкивающую лапку 98 через отверстие 100, чтобы вывести кассету 34 из каретки 32, как описано выше и как показано на фиг.13. Кассета 34 падает в короб 84 для отработанных кассет, а каретка 32 возвращается в положение вкладывания, как показано на фиг.5.
Предшествующее описание рассматривает работу системы манипулирования кассетой в некоторых деталях. На фиг.14 показана в форме блок-схемы сущность работы системы 12 манипулирования кассетой.
Система считывания штрихкодов на кассете 34 и коробе 84 для отработанных кассет может быть заменена знаком радиочастотной идентификации, общеизвестным как радиометка. Система 130 радиочастотной идентификации показана на фиг.15. Она содержит контроллер 132, соединенный посредством однополюсного язычкового реле 134 на два направления с антенной 136 вкладывания кассеты, расположенной на каретке 32, и антенной 138 удаления кассеты, расположенной ниже короба 84 для отработанных кассет. Каждая кассета 34 несет на себе радиометку 140. Аналогичным образом каждый короб 84 для отработанных кассет несет на себе радиометку 142 для короба. Предпочтительно контроллер 132 содержит многофункциональный считывающий модуль S4100 компании Texas Instruments, а радиометки 140 и 142 содержат знак RI-101-112A компании Texas Instruments, и каждый из них может быть получен у компании Texas Instruments, Даллас, шт. Техас.
Система 28 управления (фиг.1) выбирает одну из антенн, например антенну 136 вкладывания кассеты, и посылает сигнал на реле 134 для взаимодействия этой антенны с контроллером 132 радиочастотной идентификации. Антенна считывает информацию, хранящуюся на установочной радиометке 140 кассеты, которая идентифицирует кассету 34 и ее содержание. Считанная информация подобна информации, считанной с использованием штрихкода, однако предпочтительно радиометка 140 обладает способностью обновлять информацию, хранящуюся в нем. Соответственно на радиометке может храниться дополнительная информация, такая как степень заполнения отдельных ячеек 118 в кассете 34. Таким образом, в случае извлечения кассеты 34 и ее повторного вкладывания в стерилизатор 10, или даже в другой стерилизатор 10 система 28 управления может быть извещена о состоянии каждой из отдельных ячеек 118 в кассете 34. Это позволяет повторно использовать частично использованную кассету 34. Кроме того, поскольку радиометка 140 может содержать больше информации, чем штрихкод 80, в него можно включить больше информации о кассете 34, ее содержании и изготовлении.
Антенна 138 короба для отработанных кассет считывает радиометку 142 для короба для отработанных кассет, чтобы определить наличие или отсутствие короба 84 для отработанных кассет. В радиометку 142 может также быть включена и другая информация, такая как исключительный идентификатор короба 84, емкость короба 84, сколько кассет 34 находятся в настоящее время в коробе 84 и сколько ячеек 118 в ней не являются пустыми. Система 28 управления может проследить за тем, сколько кассет 34 выданы в короб, чтобы определить, остается ли место для дополнительных отработанных кассет 34. Антенна 138 может также считывать радиометки 140 кассет и подсчитывать количество кассет 34 в коробе 84. Когда короб 84 полон, система 28 управления подает сигнал оператору в виде сообщения на экране. Это сообщение может также включать в себя информацию, касающуюся кассет 34, находящихся в коробе 84. Например, в случае если не все кассеты 34 были полностью опорожнены, оператор может быть проинформирован об этом, чтобы определить, не требуется ли повысить внимание при их удалении.
Технология радиочастотной идентификации описана в следующих патентах США, каждый из которых включен в настоящее описание в качестве ссылки: Патенты США  6600420; 6600418; 5378880; 5565846; 5347280; 5541604; 4442507; 4796074; 5095362; 5296722; 5407851; 5528222; 5550547; 5521601; 5682143 и 5625341.
Радиометки обычно содержат антенну и микросхему, выполненную в виде тонкого формфактора, так что они могут быть незаметно помещены на такой предмет как кассета 34. Радиочастотная энергия, посылаемая антеннами 136 и 138, возбуждает ток достаточной силы в рамках антенны внутри радиометок 140 и 142, обеспечивающий питание микросхем в них. Некоторые виды радиометок обладают собственными источниками питания и имеют более широкие диапазоны распознавания, однако ведет к дополнительным расходам и, возможно, не является оправданным в данной области применения.
На фиг.16 показана карта памяти для памяти внутри радиометок 140 и 142. 64-битовый исключительный ID (UID) установлен на заводе и не может быть изменен. Каждая радиометка имеет здесь свой исключительный номер. Пользователь может запрограммировать шестьдесят четыре знака 32-битового блока. Они могут быть заполнены информацией, такой как дата изготовления, дата истечения срока годности, идентификатор изготовителя, заводской номер, номер партии, степень заполнения ячеек, сила и тип стерилизующего вещества, время, проведенное внутри стерилизатора 10.
На некоторые стерилизующие вещества отрицательное воздействие оказывает тепло. Радиометка 140 может дополнительно включать в себя средства сбора информации о температуре и обновления этой информации на знаке. В случае превышения проектного температурного профиля, такого как максимальная температура или избыточная температура в течение периода времени, кассета 34 может быть забракована системой 28 управления. Радиометки измерения температуры поставляются компанией KSW-Microtec, Дрезден, Германия, и компанией Identec Solutions, Inc., Келовна, пров. Британская Колумбия, Канада. Внутри стерилизатора 10, там где находится кассета 34, температура может превышать температуру окружающей среды. Таким образом, может быть желательным установить максимальное время пребывания (срока нахождения на полке) на метке 140 или даже обновлять на метке 140 то время, которое кассета уже провела в стерилизаторе.
Для проверки измерительного оборудования для стерилизующего вещества в стерилизаторе 10 может оказаться удобным применить кассеты 34, имеющие в одной или нескольких ячейках 118 воду или другие текучие вещества. Информация, касающаяся особенностей кассеты 34 и его содержимого, может быть записана на радиометке.
Во время цикла стерилизатору может потребоваться только часть содержимого ячейки 118. Например, определенный цикл может требовать содержимого полутора ячеек. Ячейка 118, заполненная наполовину, может быть сохранена и опорожнена в ходе следующего цикла.
Предпочтительно, сообщения между метками 140 и 142 и контроллером 132 закодированы. Например, UID может быть сложен по модулю 2 с восьмибитовым главным ключом для образования многостороннего ключа для шифрования информации. Для шифрования могут быть использованы алгоритмы шифрования, такие как стандарт шифрования данных (DES), тройной DES, асимметричный стандарт шифрования (AES) или средства безопасности компании RSA. Контроллер 132 радиочастотной идентификации считывает информацию, и алгоритм в системе 28 управления дешифрует информацию для выявления записанной информации.
Возможно использование других способов сообщения между кассетой 34 и стерилизатором 10. Например, информация может хранится на кассете 34 в магнитной форме, такой как полоса с магнитным кодированием, и считываться магнитным считывающим устройством стерилизатора. Беспроволочная технология с каждым днем становится дешевле и предполагается, что кассета 34 может включать в себя активное передающее устройство и источник питания (т.е. батарейку), такие как радиометки с питанием или технология Bluetooth, 802.11b или другой коммуникационный стандарт.
Кроме того, стерилизатор 10 может быть настроен на обратную связь с центральным источником, таким как его изготовитель или дистрибьютор, и передавать информацию, касающуюся его рабочих характеристик и рабочих характеристик кассет 34. Кассеты 34 с низкими характеристиками могут идентифицироваться, когда, например, мониторы стерилизующего вещества в стерилизаторе в процессе цикла не обнаруживают стерилизующего вещества, что указывает на какой-либо отказ, такой как пустая кассета или некачественное стерилизующее вещество в ней. После этого может быть быстро выявлена и отозвана некачественно изготовленная партия кассет 34. Такое сообщение может быть передано по телефону, пейджеру или по беспроводной телефонной сети, или же по Интернету.
Как показано на фиг.17 и 18, короб 84 для отработанных кассет предпочтительно складывают из одного листа печатного картона или иного материала. На фиг.17 показана несложенная заготовка 150, а на фиг.18 показана заготовка 150, сложенная для формирования короба 84 для отработанных кассет.
Заготовка 150 разделяется последовательностью линий сгиба (показаны пунктиром) и линиями прорезей на донную панель 152, боковые панели 154, торцевые панели 156 и верхние створки 158. Складывающиеся языки 160 отходят в стороны от боковых панелей 154. Дополнительные складывающиеся языки 162 отходят в стороны от торцевых панелей 156. Штрихкоды 82 отпечатаны на боковых панелях 154 в таком положении, в котором они должны быть видимы в верхнем внутреннем углу короба 84 для отработанных кассет после того, как он будет сложен с приданием ему формы, показанной на фиг.18. Пара фиксирующих языков 164 для верхних створок отходит от верхних створок 158 и входит в прорези 166 в противоположной верхней створке 158, когда короб 84 закрыт, и в прорези 168 на пересечении донной панели 152 и боковой панели 154, когда короб 84 открыт.
Для складывания короба складывающиеся языки 160 на боковых панелях 154 загибают вверх, после чего боковые панели 154 загибают вверх, выравнивая таким образом складывающиеся языки 160 с пересечением между донной панелью 152 и торцевыми панелями 156. Затем торцевые панели 156 загибают вверх и складывающиеся языки 162 торцевой панели загибают вниз поверх складывающихся языков 160. Фиксирующие языки 170 на складывающихся языках 162 торцевой панели входят в прорези 172 на пересечении между донной панелью 152 и торцевыми панелями 156.
Для того, чтобы поставить короб 84 в открытое положение, как показано на фиг.18, верхние створки 158 отгибают вниз и наружу, а фиксирующие языки 164 вставляют в прорези 168. Когда короб 84 заполняется отработанными кассетами, верхние створки 158 отгибают поверх короба и фиксирующие языки 164 могут быть вставлены затем в прорези 166 на противоположных верхних створках 158. Эта исключительная система складывания позволяет отработанным кассетам 34 легко падать внутрь открытого короба 84, не сталкиваясь по пути с верхними створками 158, и позволяет легко закрывать короб 84 после его заполнения.
В то время как изобретение было подробно описано в связи с конкретными вариантами его реализации, должно быть понятно, что описание выполнено в качестве иллюстрации, но не ограничения изобретения, и что объем прилагаемой формулы изобретения должен рассматриваться настолько широко, насколько это позволят существующие технические решения.
Формула изобретения
1. Способ подачи жидкого стерилизующего вещества в стерилизатор содержит следующие шаги: a) прокалывают ячейку кассеты первой иглой, имеющей первый просвет и второй просвет; b) обеспечивают поступление газа в ячейку через второй просвет для создания в ячейке давления, повышенного по сравнению с давлением в первом просвете, отводят жидкое стерилизующее вещество из ячейки через первый просвет, и c) обеспечивают вытекание жидкого стерилизующего вещества из первого просвета в испаритель стерилизатора.
2. Способ по п.1, в котором газ находится под атмосферным давлением и первый просвет находится под давлением ниже атмосферного.
3. Способ по п.1, в котором газ находится под давлением, превышающим атмосферное.
4. Способ по п.1, в котором шаги а), b) и с) повторяют со второй ячейкой.
5. Способ по п.1, в котором жидкое стерилизующее вещество содержит перекись водорода.
6. Способ по п.1, в котором в ходе шага а) обеспечивают ввод иглы в ячейку сбоку.
7. Способ по п.1, в котором в ходе шага а) обеспечивают ввод иглы в ячейку сверху и перемещение в ней вниз.
8. Способ по п.7, дополнительно содержащий шаг, при котором размещают первую иглу таким образом, что первый просвет открывается в ячейку в самой ее нижней части или рядом с ней для максимального извлечения из ячейки жидкого стерилизующего вещества.
9. Способ по п.1, дополнительно содержащий шаг, при котором размещают первую иглу таким образом, что первый просвет открывается в ячейку в заданном вертикальном положении для извлечения из ячейки жидкого стерилизующего вещества, находящегося выше заданного положения, так, что при этом извлекают не все количество жидкого стерилизующего вещества в ячейке.
РИСУНКИ
|
|