|
|
(21), (22) Заявка: 2008137797/12, 23.02.2006
(24) Дата начала отсчета срока действия патента:
23.02.2006
(46) Опубликовано: 20.02.2010
(56) Список документов, цитированных в отчете о поиске:
US 5858434 А, 12.01.1999. US 2519392 A, 22.08.1950. US 5527550 A, 18.06.1996. SU 147304 A1, 01.01.1962.
(85) Дата перевода заявки PCT на национальную фазу:
23.09.2008
(86) Заявка PCT:
DK 2006/000105 20060223
(87) Публикация PCT:
WO 2007/095942 20070830
Адрес для переписки:
129090, Москва, ул.Б.Спасская, 25, стр.3, ООО “Юридическая фирма Городисский и Партнеры”, пат.пов. А.В.Мицу, рег. 364
|
(72) Автор(ы):
КРИСТЕНСЕН Енс Кристиан (DK), ХОЛЬСТ Ян Хольм (DK), СЕРЕНСЕН Мартин (DK)
(73) Патентообладатель(и):
САНОВО ИНДЖИНИРИНГ А/С (DK)
|
(54) СПОСОБ МОНИТОРИНГА РАЗБИВАНИЯ ЯИЦ, УСТРОЙСТВО РАЗМЕЩЕНИЯ ЯИЦ ДЛЯ ХРАНЕНИЯ СОДЕРЖИМОГО ЯЙЦА И УСТАНОВКА РАЗБИВАНИЯ ЯИЦ С ТАКИМ УСТРОЙСТВОМ
(57) Реферат:
Изобретение относится к способу и устройству мониторинга разбивания яиц. Мониторинг заключается в том, что наличие одного из условий: (а) яйцо уронено, (b) яичная скорлупа не разбита или (с) желточная оболочка нарушена, регистрируется автоматически и что наличие отклонения от нормы при разбивании яиц показывается оператору. Наличие неразбитого яйца может быть обнаружено как отсутствие содержимого в устройстве размещения яиц, тогда как наличие яйца с нарушенной желточной оболочкой может быть обнаружено наличием желтка в белке. Изобретение обеспечивает регистрацию систематических отказов во время процесса разбивания яиц на ранней стадии. 3 н. и 23 з.п. ф-лы, 7 ил.
Настоящее изобретение относится к способу мониторинга разбивания яиц, при котором яйца подаются на множество устройств разбивания яиц с помощью подающего устройства, при этом каждое устройство разбивания яиц за один раз принимает одно яйцо, причем скорлупа каждого яйца разбивается посредством соответствующего устройства разбивания яиц, и содержимое каждого яйца собирается в устройстве размещения яиц, при этом каждое устройство размещения яиц размещает содержимое только одного яйца во время каждого рабочего цикла, и в котором остатки, удерживаемые каждым устройством разбивания яиц после разбивания яичной скорлупы, сбрасываются в приемник отходов, а содержимое устройства размещения яиц сливается в один или более приемников продукта. Кроме того, изобретение относится к устройству размещения яиц для размещения содержимого яйца и к устройству, содержащему средства для осуществления подобного мониторинга.
Автоматический мониторинг устройств разбивания яиц известен в связи с обнаружением возможных следов присутствия желтка в белке для того, чтобы гарантировать качество продукта, вырабатываемого с помощью устройства разбивания яиц. Яйца, поданные на устройство, могут иметь отклонения свойств, например различный размер или толщину скорлупы, или яичные скорлупы могут быть ослаблены трещинами. И устройства в устройстве разбивания яиц также могут неправильно функционировать. Это все факторы, которые воздействуют на процесс разбивания яиц. Современные устройства разбивания яиц работают на высокой скорости и с неизменными в течение длительных периодов времени параметрами настройки. Общеизвестно и общепринято, что последствием работы на высокой скорости и со стандартными параметрами настройки является случайная неисправность, когда целые яйца роняются или не разбиваются или когда и скорлупа, и желточная оболочка разрушаются по той же или иной причине.
Целью настоящего изобретения является регистрация систематических отказов во время процесса разбивания яиц на ранней стадии.
С целью этого, способ в соответствии с настоящим изобретением характеризуется тем, что наличие, по меньшей мере, одного из условий отказа: (a) яйцо уронено, (b) яичная скорлупа не разбита или (c) желточная оболочка нарушена, регистрируют автоматически и сообщают оператору о наличии отклонения от нормы при разбивании яиц.
Отклонение от нормы при разбивании яиц может происходить вследствие неправильного функционирования устройства, например конкретное устройство разбивания яиц засорено остатками яйца и поэтому не может разбивать яйца надлежащим образом или механический отказ пружины, воздействующей на ножи для разбивания скорлупы, и так далее. Вследствие большой производительности устройств разбивания яиц невозможно различить систематические погрешности, вытекающие из отклонения от нормы вследствие случайных потерь, вызванных, например, треснутым яйцом или свойствами яиц, например одна яичная скорлупа может быть необычно толстой или тонкой. Общая неправильная регулировка устройства относительно размера или типа обрабатываемых яиц может, конечно, также привести к отказу, и такая неправильная регулировка может также привести к наличию отклонения от нормы во время процесса разбивания яиц.
Обнаружение систематического отказа во время разбивания яиц может учитывать, что одновременно могут иметь место случайные отказы, например вследствие недостатков яиц, подаваемых на устройство, таких как частично разбитая скорлупа или неотъемлемая неравномерность толщины скорлупы, что нельзя обнаружить снаружи яйца. Отказы, которые не связаны с циклом процесса разбивания яиц, могут рассматриваться как случайные отказы.
В настоящем контексте под термином «наличие отклонения от нормы» подразумевается место яйца, потерянного, неразбитого или с нарушенной желточной оболочкой, или время его обнаружения. Использование времени, однако, является менее предпочтительным, так как такая регистрация будет зависеть от быстродействия системы.
Сообщение оператору о наличии отклонения от нормы может осуществляться в виде звукового сообщения, визуальной индикации на дисплее, остановки устройства, автоматического перемещения неправильно функционирующего устройства разбивания яиц на ремонтный пункт или тому подобного.
Непосредственное обнаружение уроненных, неразбитых или поврежденных яиц может осуществляться, по меньшей мере, двумя различными способами: один для обнаружения, действительно ли каждое из устройств разбивания яиц размещает яйцо от подающего устройства, а также, по меньшей мере, одного свойства содержимого, размещаемого в каждом устройстве размещения яиц, и на основании этого для определения, когда имеет место отклонение от нормы, и другой для выявления, по меньшей мере, одного свойства остатков, сбрасываемых в приемник отходов из каждого устройства разбивания яиц.
Предпочтительно для каждого рабочего цикла устанавливается состояние размещения яйца для каждого из устройств разбивания яиц, при этом указанное состояние представляет собой или непосредственное получение яйца от подающего устройства, или неполучение яйца от подающего устройства, и, по меньшей мере, одно свойство каждого устройства размещения яиц с возможным содержимым выявляется и сравнивается с, по меньшей мере, одним ожидаемым значением на основе указанного состояния размещения яйца. Подобное обнаружение подачи яйца на устройство разбивания яиц и соответствующее обнаружение, было ли это яйцо надлежащим образом разбито устройством (ожидаемые значения представляют собой наличие желтка и наличие белка, отделенного от желтка), является полностью достаточным для установления, имеет ли место отклонение от нормы или нет. Если, например, роняется яйцо, система выявит, что ничего не подано на устройство размещения яиц, хотя яйцо в действительности было подано на устройство разбивания яиц, и что, по меньшей мере, содержимое яйца, следовательно, было утеряно.
С помощью выявления, по меньшей мере, одного свойства остатков, сбрасываемых в приемник отходов из каждого устройства разбивания яиц, и сравнивания указанного свойства с, по меньшей мере, одним расчетным значением может быть обнаружен сброс неразбитого яйца. Например, датчик массы может измерять массу остатков, сбрасываемых при каждом сбросе. Это расчетное значение представляет собой стандартную массу яичных скорлуп одного яйца плюс некоторый прилипший дополнительный материал. Но если измеренная масса намного больше и соответствует массе целого яйца, регистрируется наличие отклонения от нормы.
Конечно, следует понимать, что регистрация на подающем устройстве может быть совмещена с регистрацией в приемнике отходов или что вышеприведенные варианты осуществления могут быть объединены таким образом, что регистрация осуществляется на всех трех участках, то есть на подающем устройстве, на устройстве размещения яиц и в приемнике отходов. Также может быть использована регистрация только содержимого, размещаемого устройствами размещения яиц.
Непосредственный мониторинг может содержать выявление, по меньшей мере, одного свойства, как упомянуто выше, посредством фотоэлемента, системы технического зрения, например цифрового фотоаппарата, индуктивного датчика, соединенного с механическим устройством, или емкостного датчика наличия. Использование системы технического зрения является предпочтительным, по меньшей мере, для обнаружения содержимого, размещаемого устройствами размещения яиц, так как это может быть достигнуто, применяя относительно недорогие и простые средства, и, кроме того, оператор может вручную контролировать изображение, которое может дать указание на возможный отказ, таким образом обеспечивая ему возможность лучшего определения, когда и как вмешиваться.
В предпочтительном варианте осуществления белок каждого яйца собирается в емкости устройства размещения яиц, а желток каждого яйца удерживается в держателе устройства размещения яиц, и, по меньшей мере, одно устройство обнаружения используется для определения, по меньшей мере, одного свойства устройства размещения яиц с возможным содержимым. Таким образом, например, возможно обнаружить, действительно ли было размещено содержимое яйца, был ли желток поврежден, что вызвало загрязнение белка или является ли конкретное яйцо иным образом испорченным.
В предпочтительном варианте осуществления устройство обнаружения определяет просвечиваемость белка или цвет желтка, так как эти характеристики являются особенно хорошо указывающими на некоторое количество обычных неисправностей.
Определение этих свойств может осуществляться любым подходящим способом, и, если используется система технического зрения, источник света может предпочтительно использоваться для подсвечивания белка и/или желтка. Применение просвечивающейся емкости и источника света, освещающего просвечивающуюся емкость со стороны, противоположной устройству обнаружения, является особенно целесообразным, так как это обеспечивает сверхнадежную систему мониторинга, которая может работать на высокой скорости с целью обнаружения отказов во время процесса разбивания яиц.
Для уменьшения до минимума количества изображений, необходимых для определения качества яиц, кроме того, является предпочтительным, что одно изображение, показывающее возможное содержимое и емкости для белка, и держателя желтка, используется для определения, имеется ли в них содержимое. Как вариант, могут быть использованы два изображения, показывающие белок и желток соответственно, и отдельный анализ может быть осуществлен для каждого из изображений.
Сравнение между измеренным и расчетным значениями предпочтительно осуществляется посредством электронного вычислительного устройства, такого как компьютер.
Предпочтительно, что сообщение оператору о наличии отклонения от нормы во время обработки яиц содержит информацию о местоположении устройства разбивания или размещения яиц, вызывающего отклонение от нормы. Благодаря предоставлению информации о расположении устройства, вызывающего отклонение от нормы, оператор экономит значительное время, связанное с определением причины проблемы, и время простоя устройства преимущественно незначительное.
В еще более удобном для оператора варианте осуществления информация о местоположении представляется оператору посредством остановки устройства разбивания или размещения яиц, вызывающего отклонение от нормы, на заданном месте для проверки. Все, что надо сделать затем оператору, это проверить отказавшее устройство и устранить условие отказа с помощью замены или ремонта устройства.
В соответствии с другим аспектом настоящего изобретения оно также относится к устройству размещения яиц для размещения содержимого яйца, содержащему емкость для размещения яичного белка и держатель для размещения яичного желтка, причем емкость содержит просвечивающийся материал. Это может быть, например, осуществлено посредством изготовления емкости, главным образом, в виде литой емкости из просвечивающегося материала. Емкость может, например, быть изготовлена методом литья из пластика или прозрачного материала, такого как стекло или армированное стекло. Просвечиваемость позволяет очень легко и выгодно использовать емкость в системах мониторинга для обнаружения наличия белка в емкости или желтка в белке.
В предпочтительном варианте осуществления держатель желтка также выполнен из просвечивающегося материала, посредством чего наличие желтка в держателе может быть определено как уменьшенная светопроницаемость держателя с возможным содержимым.
Предпочтительными просвечивающимися материалами являются пластики, такие как полиэтилен (PE), полиоксиметилен (POM), поливинилиденфторид (PVDF) или полипропилен (PP). Для получения соответствующего контраста между белком и другими веществами просвечивающийся материал в варианте осуществления является матовым, предпочтительно с белым оттенком.
В дополнительном варианте осуществления емкость и держатель установлены на общем монтажном кронштейне, который может быть присоединен к опорному элементу посредством одного крепежного устройства. Это обеспечивает особенно простую установку емкости и держателя, которые в случае неисправностей могут быть быстро заменены. Крепежное устройство может, например, представлять собой нарезной болт или аналогично легкосъемное устройство, но особенно предпочтительно, что опорный элемент и крепежное устройство были сконструированы таким образом, чтобы осуществлять соединение крепежного устройства с опорным элементом с помощью нажатия и разъединение с помощью обратного вытаскивания. Это, например, может быть достигнуто с помощью изготовления монтажного кронштейна из относительно податливого материала, такого как пластик, выступ на котором работает в качестве крепежного средства, или с помощью выполнения монтажного кронштейна с подпружиненными крепежными средствами.
Настоящее изобретение также относится к установке разбивания яиц, содержащей множество устройств разбивания яиц, каждое из которых размещает и разбивает отдельные яйца, подающее устройство для подачи яиц по отдельности на каждое устройство разбивания яиц, множество устройств размещения яиц для размещения содержимого яиц, разбитых устройствами разбивания яиц, при этом каждое устройство размещения яиц предназначено для размещения содержимого одного яйца за раз, и каждое устройство размещения яиц содержит емкость для размещения яичного белка и держатель для размещения яичного желтка, приемник отходов для размещения яичной скорлупы и возможных других остатков, некоторое количество приемников продукта для размещения содержимого устройств размещения яиц и, по меньшей мере, одно устройство обнаружения.
Подобная установка в соответствии с настоящим изобретением выполнена с отдельными устройствами размещения яиц, которые содержат емкость из просвечивающегося материала с вышеупомянутой конструкцией, и с устройством обнаружения в виде устройства на основе видеосистемы, способного обнаружить, по меньшей мере, светопроницаемость емкости и возможного содержимого в ней, и которое, кроме того, предусмотрено с источником света, который выполнен для освещения просвечивающейся емкости со стороны, противоположной устройству обнаружения.
В дополнительном варианте осуществления установка содержит, по меньшей мере, один датчик подачи, устанавливающий состояние размещения яйца для каждого устройства разбивания яиц во время каждого рабочего цикла, и электронное вычислительное устройство, соединенное с указанным, по меньшей мере, одним датчиком подачи и указанным устройством обнаружения, причем электронное вычислительное устройство приспособлено для учета случаев, когда устройство разбивания яиц размещает яйцо, но при этом не подается желток на держатель и белок в емкость устройства размещения яиц, связанного с устройством разбивания яиц.
Предпочтительно, устройство обработки данных устройства предусмотрено с памятью, при этом, по меньшей мере, одна ячейка памяти выделяется для каждого из устройств размещения и разбивания яиц, и датчиком перемещения, способного обнаружить в устройстве перемещение устройства разбивания или размещения яиц из одного положения в другое. Когда устройства разбивания и размещения яиц перемещаются в системе из одного положения в другое, виртуальный указатель соответствующим образом передвигается к следующей(им) ячейке(ам) памяти, соответствующей(им) новому устройству разбивания и/или размещения яиц, расположенному на месте контроля. Если обнаруживается, что яйцо, обрабатываемое посредством конкретного устройства разбивания или размещения яиц, было уронено, не разбито или повреждено, значение в соответствующей ячейке памяти увеличивается на один, таким образом, значение в каждой ячейке памяти соответствует количеству яиц, затронутых определенной неисправностью во время обработки рассматриваемым устройством.
Перемещение устройств разбивания и размещения яиц может отслеживаться посредством индуктивных датчиков, импульсных датчиков положения или тому подобного, которые выдают сигнал каждый раз, когда новое устройство разбивания или размещения яиц перемещается в положение контроля. В случае обнаружения отклонения от нормы или отказа, неисправное устройство может быть представлено оператору.
Предпочтительно, одна ячейка памяти выделяется для каждого из устройств размещения яиц и две ячейки памяти выделяются для каждого из устройств разбивания яиц, при этом значение, хранящееся в ячейке памяти каждого устройства размещения яиц, соответствует количеству размещенных устройством яиц, у которых была нарушена желточная оболочка, значение, хранящееся в одной из ячеек памяти каждого устройства разбивания яиц, соответствует количеству разбитых устройством яиц, у которых была нарушена желточная оболочка, и значение, хранящееся во второй ячейке памяти каждого устройства разбивания яиц, соответствует количеству уроненных или неразбитых яиц.
Благодаря этому выделению ячеек памяти наличие яйца с нарушенной желточной оболочкой регистрируется и для устройства разбивания яиц, и для устройства размещения яиц, означая, что может быть определено, было ли повреждение желточной оболочки нанесено разбивающим устройством во время разбивания или опорожнения яйца или было ли оно нанесено при получении устройством размещения яиц. Наоборот, будет невозможно различить уроненные и неразбитые яйца, так как эти регистрируются в одной и той же ячейке памяти. Однако, это часто считается менее важным, так как погрешность очевидно связана с устройством разбивания яиц, которое, следовательно, может быть заменено.
Несомненно, необходимым предварительным условием обнаружения и запоминания количества уроненных или неразбитых яиц является определение, действительно ли яйцо подается на каждое из устройств разбивания яиц. Однако, если такое определение не осуществляется, количество случаев неполучения будет добавлено к значению во второй ячейке памяти каждого устройства разбивания яиц.
Далее примеры вариантов осуществления настоящего изобретения будут описаны более подробно со ссылкой на схематичные чертежи, иллюстрирующие предпочтительный вариант осуществления, на которых:
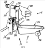
фиг.1 – вариант осуществления установки разбивания яиц в соответствии с настоящим изобретением;
фиг.2 – устройство размещения яиц, содержащее емкость для размещения белка и держатель для размещения яичного желтка, если смотреть сбоку;
фиг.3 – устройство размещения яиц с фиг.2, если смотреть сверху;
фиг.4 – изображение ячеек памяти устройства обработки данных.
Установка разбивания яиц в соответствии с изобретением может быть выполнена, как показано на фиг.1. Показанная установка содержит две отдельные цепи 1, 2, смонтированные на зубчатых вращающихся звездочках 11, 12, 21, 22, причем верхняя цепь 1 имеет множество устройств 13 разбивания яиц, а нижняя цепь 2 имеет множество устройств 23 размещения яиц. На фиг.1 показано только несколько устройств разбивания и размещения яиц на соответствующих цепях, но следует понимать, что фактически количество устройств на каждой цепи больше, так что они равномерно отстоят друг от друга на, по существу, одинаковое расстояние на обеих цепях. Аналогично, даже хотя на фиг.1 показан только один ряд устройств разбивания и размещения яиц, следует понимать, что каждое из этих устройств может представлять собой столбец устройств, располагающийся перпендикулярно к плоскости чертежа. Подобные столбцы могут быть смонтированы на горизонтальных стержнях, проходящих между двумя параллельными цепями, при этом каждый столбец включает в себя, например, восемь или шестнадцать отдельных устройств разбивания и размещения яиц. Когда используются четыре цепи вместо двух, показанных на фиг.1, количество вращающихся звездочек, конечно, также удваивается.
Подающее устройство 3 перемещает яйца 4 по направлению к самой верхней цепи и подает их на устройства 13 разбивания яиц в точке A, при этом каждое устройство разбивания яиц размещает одно яйцо во время каждого рабочего цикла.
Самая верхняя цепь 1 приводится в движение по направлению против часовой стрелки, а самая нижняя цепь 2 – по направлению по часовой стрелке, что показано с помощью стрелок, при этом скорость двух цепей, по существу, одинаковая. Таким образом, каждое устройство 13 разбивания яиц встретит устройство 23 размещения яиц в точке B, и данная пара будет перемещаться вместе до тех пор, пока не достигнет верхней правой вращающейся звездочки 12, как видно на фиг.1.
Непосредственное разбивание яйца 4 имеет место в области точки B, и затем содержимое яйца вытекает из яичной скорлупы, удерживаемой устройством 13 разбивания яиц, в устройство 23 размещения яиц под ним. Как можно видеть, расстояние между двумя цепями 1, 2 увеличивается при перемещении ко второй вращающейся звездочке 12 самой верхней цепи 1, вызывая при этом плавно увеличивающееся усилие на белок и, в особенности, на скорлупу. Кроме того, часть цепи, следующая за устройством разбивания яиц, может быть предусмотрена с ударяющим устройством 14 для образования вибрации, которая способствует выходу белка из яичной скорлупы, таким образом увеличивая количество добытого продукта.
При достижении вращающейся звездочки 12 устройство 13 разбивания яиц перемещается вверх по направлению от устройства 23 размещения яиц, а пустая яичная скорлупа 8 сбрасывается в приемник 15 отходов, из которого она может быть удалена посредством, например, шнекового механизма (не показан). Приемник отходов также может быть расположен внутри контура цепи 1, при этом сбрасывание яичных скорлуп происходит во время обратного перемещения устройства разбивания яиц, но этот вариант осуществления является менее предпочтительным, так как оставшийся белок может капать вниз на устройства разбивания яиц и яйца снизу или даже на устройства размещения яиц, вмещающие содержимое других яиц.
Сам приемник отходов или наклонная плоскость (не показана), направляющая остатки в него, может быть предусмотрен с устройством обнаружения для выявления одного или более физических свойств остатков, таких как их масса, геометрия и тому подобное. Таким образом, является возможным определить, была ли на самом деле яичная скорлупа, которая была сброшена, пустой. В случае неправильного функционирования, например если устройство разбивания яиц не смогло надлежащим образом удержать яйцо, может не быть остатков для сбрасывания, или, если оно не смогло разбить яйцо, целое яйцо может быть сброшено как отходы.
Применение фотоаппарата 7 и оборудования для обработки изображений может предоставить крайне верные указания на точную причину неправильного функционирования, так как изображение сброшенных остатков может, например, показать, было ли разбивание просто недостаточным или яичная скорлупа была не разбита совсем, что может быть рассмотреное как равносильно более существенной неисправности устройства разбивания. Аналогично, может осуществляться мониторинг характера разлома в яичной скорлупе на наличие каких-либо аномалий, чтобы пресечь, тем самым, возникающую неисправность в зародыше.
Для обеспечения более точного распознавания неисправностей, подразумевающего, что никакие остатки не сбрасываются, также является предпочтительным осуществлять мониторинг, действительно ли подающее устройство подало яйцо на рассматриваемое устройство разбивания яиц. Это может быть предпочтительно достигнуто посредством индуктивных датчиков, емкостных датчиков наличия, фотоэлементов или системы технического зрения с фотоаппаратом 6, предусмотренным в или рядом с точкой A, но также может основываться на включении датчика массы в устройство разбивания яиц или подающее устройство.
После прохождения верхней правой вращающейся звездочки 12 устройство 23 размещения яиц перемещается далее по цепи 2 по направлению к вращающейся звездочке 22, при этом расстояние d между вращающимися звездочками 12, 22 двух цепных систем служит в качестве контрольного участка, где может осуществляться мониторинг содержимого устройств размещения яиц вручную или автоматически. Равнозначно мониторингу остатков, сброшенных из устройств разбивания яиц, мониторинг содержимого устройств размещения яиц может быть использован для обнаружения какой-либо неисправности системы. Очевидным примером является отсутствие содержимого, что имеет место или когда яйцо не было получено устройством разбивания яиц вследствие того, что оно было случайно уронено, или когда яичная скорлупа не была разбита надлежащим образом. Другим примером является наличие желтка в белке или частей яичной скорлупы, что является очевидным признаком неправильного функционирования устройства разбивания яиц.
Мониторинг содержимого, размещенного в устройствах размещения яиц, может, например, осуществляться посредством фотоаппарата 5, предусмотренного над контрольным участком d, что будет объяснено позже.
В качестве альтернативы или дополнения устройство размещения яиц может быть оснащено измерителем уровня жидкости, который измеряет количество размещенной жидкости, или белковым датчиком, установленным на заданном уровне, который достигается исключительно, если целое яйцо было размещено. Эти способы, однако, являются довольно сложными и соответственно дорогостоящими, и точными.
При достижении нижней части цепи 2 содержимое устройства размещения яиц выливается в один или более приемников продукта в зависимости от результата контроля. В наиболее простой форме, яйца приемлемого качества сливаются в один приемник, тогда как загрязненные или в других отношениях неприемлемые яйца сливаются в другой. Однако в описываемом варианте осуществления, устройство оснащено четырьмя приемниками продукта; один 24 для размещения чистых белков, один 25 для размещения чистых желтков, один 26 для размещения смесей белка и желтка и один 27 для размещения иным образом загрязненных или неприемлемых яиц.
Для обеспечения возможности отдельного сливания белка и желтка устройство 23 размещения яиц оснащено держателем 231 желтка и емкостью 232 для белка, которые будут объяснены позже и могут быть опорожнены независимо.
После опорожнения устройство размещения яиц может проходить через промывочное устройство или дезинфектор 28, который может обрабатывать все устройства размещения яиц или возможно только те, которые содержали загрязненные яйца или смесь белка и желтка.
Как можно видеть на фиг.1, самая верхняя цепь 1 значительно короче самой нижней цепи 2, причем это означает, что количество устройств 13 разбивания яиц меньше, чем количество устройств 23 размещения яиц, и что для каждого рабочего цикла разные устройства разбивания и размещения яиц будут работать в паре после встречи в точке B. Предпочтительно количество устройств размещения яиц вдвое больше, чем количество устройств разбивания яиц, причем это означает, что только два устройства размещения яиц разместят содержимое яиц, разбитых любым из устройств разбивания яиц. Если, однако, необходимо, чтобы только одни и те же два устройства работали в паре во время каждого рабочего цикла, цепные системы могут быть соответственным образом модифицированы, например, посредством обеспечения более длинной самой верхней цепи, возможно посредством добавления дополнительной вращающейся звездочки (не показана) или посредством добавления буферного устройства (не показано), задерживающего продвижение устройств разбивания яиц.
На фиг.2 показан предпочтительный вариант осуществления устройства 23 размещения яиц, которое смонтировано на стержне 233 вместе с несколькими другими устройствами размещения яиц (не показаны). Устройство содержит емкость 232 для размещения яичного белка и держатель 231 для размещения желтка. На практике, все содержимое яйца первоначально воспринимается держателем, который удерживает желток, при этом позволяя белку перетекать через край и проходы 234 в емкость, расположенную под ним.
Для сливания их содержимого каждое из держателя 231 желтка и емкости 232 для белка может поворачиваться вокруг соответствующей точки 235, 236 подвеса. Поворачивание держателя и емкости управляется посредством механизма, управляемого рычагом 237, положение которого определяет, в какой приемник продукта сливается содержимое держателя и емкости. Первое положение, которое предпочтительно является положением по умолчанию, соответствует тому, что и белок, и желток являются незагрязненными, в то время как второе и третье положение, когда рычаг сдвинут в сторону (соответственно, по направлению к и от наблюдателя на фиг.2), соответствует тому, что белок и желток смешены и что яйцо иным образом загрязнено, соответственно. Оператор может осуществлять переключение вручную в соединении с ручным или автоматическим контролем, или система может быть полностью автоматической. Поддерживающий ролик 239 используется для удерживания держателя 231 желтка на месте во время опорожнения емкости 232 для белка.
После сливания его содержимого устройство размещения яиц возвращается в свое первоначальное положение с помощью ролика 238, который входит в соприкосновение с опорной поверхностью (не показана) корпуса устройства, когда устройство размещения яиц продвигается дальше по направлению цепи 2.
На фиг.3 показано устройство размещения с фиг.1, если смотреть сверху, причем белок яйца размещен в самой нижней емкости 232, тогда как желток 42 размещен в самом верхнем держателе 231. Изображение, соответствующее этому, может быть использовано для обнаружения, был ли желток на самом деле размещен устройством размещения яиц и имеются ли какие-либо загрязнения или пятна, особенно на желтке. Мониторинг наличия желтка в держателе 231 может являться достаточным для достижения адекватного мониторинга системы. Следовательно, отсутствие желтка будет являться признаком того, что ни одно яйцо не было подано подающим устройством или яйцо было уронено устройством разбивания яиц, в то время как нарушение желточной оболочки приведет к тому, что держатель желтка будет содержать только следы присутствия желтка.
Однако, если необходимо осуществлять мониторинг содержимого и емкости 232 и держателя 231, предпочтительным является использование косого угла наклона фотоаппарата, что показано на фиг.2 с помощью стрелки C, чтобы тем самым гарантировать, что никакая часть белка, размещенного в емкости, не скрыта за держателем.
Следовательно, одно изображение, показывающее содержимое и емкости, и держателя, может быть использовано, что уменьшит до минимума количество стандартных операций и, таким образом, оптимизирует обработку данных по сравнению с раздельным определением содержимого емкости и держателя. Это также отменяет необходимую в противном случае каталогизацию взаимосвязей между двумя изображениями, показывающими желток и белок, которые происходят от одного и того же яйца.
Цвет белка 41 и желтка 42 может быть использован в качестве прямого указания на их состояние, а загрязнение белка может быть предпочтительно определено как его уменьшенная просвечиваемость, что может быть вызвано содержанием в белке сгустков желтка или частей яичной скорлупы или тем, что белок является ненормально молочным или мутным. Первые два типа загрязнений главным образом служат в качестве указания на неправильное функционирование устройства разбивания яиц, тогда как последний обычно может быть отнесен к тому, что яйцо является испортившимся или тухлым.
Просвечиваемость может быть измерена с помощью использования емкости, имеющей, например, синеватый цвет, и определения, в какой степени этот цвет виден сквозь белок. Сгусток желтого желтка, попавший в белок, локально подавит синий цвет полностью, тогда как общий молочный цвет белка приведет к тому, что цвет будет представлять собой более светлый оттенок синего. Подобный эффект может быть достигнут с помощью обеспечения фотоаппарата с синим светофильтром или использования источника синего света.
Однако, предпочтительно, что емкость выполняют из просвечивающегося материала, позволяющего, по меньшей мере, некоторым длинам волн проходить, и что источник света имеет возможность освещать ее снизу, как показано с помощью стрелки L на фиг.2, при этом источник света предпочтительно выполнен таким образом, чтобы свет никогда не попадал прямо на объектив фотоаппарата 5.
Длины световых волн могут быть выбраны в зависимости от типа загрязнений, которые предполагается обнаружить, при этом примером является проведение проверки на наличие определенных видов бактерий. Кроме того, может быть предпочтительным сделать два или более фотоснимков, используя разные длины волн для того, чтобы тем самым обеспечить как можно более отчетливое выявление различных видов загрязнений. В качестве альтернативы, свет, попадающий на фотоаппарат, может быть пропущен через светофильтр, или изображения могут быть обработаны для усиления определенных цветов.
В особенно предпочтительном варианте осуществления, изображения, полученные с помощью фотоаппарата, являются черно-белыми изображениями, или изображения преобразуются в черно-белые изображения посредством устройства обработки данных. Эти черно-белые изображения затем обрабатываются с помощью наложения предельного значения на шкалу уровней серого таким образом, что любые элементы изображения, являющиеся более светлыми, чем этот предел, отображаются белыми, тогда как элементы изображения, которые являются более темными, чем этот предел, отображаются черными. Таким образом, в получившемся изображении любые сгустки желтка, имеющиеся в белке, будут выглядеть абсолютно черными, тогда как белок будет выглядеть абсолютно белым. Если на изображении конкретного яйца отображены черные элементы, предпочтительно, что оно будет автоматически классифицировано как смесь желтка и белка и яйцо, таким образом, будет слито в приемник 26 смешенного продукта.
Для лучшего различения разных типов загрязнений и возможно также степени серьезности данного загрязнения могут определяться отклонения свойства, такого как цвет и/или просвечиваемость, у отдельного белка или желтка. Этот способ может, например, быть использован для различения части скорлуповой оболочки или части яичной скорлупы, присутствующей в белке, и в целом уменьшенной просвечиваемости. Аналогично, пятно крови на относительно светлом желтке может быть отличено от желтка, имеющего более темный желтый цвет.
При мониторинге остатков каждого яйца, сбрасываемых в приемник отходов, остатки могут быть причислены к одной из, по меньшей мере, трех групп, включающих «нет остатков», «только яичная скорлупа» и «целое яйцо». В идеале, каждое устройство разбивания яиц должно разместить одно яйцо во время каждого рабочего цикла, разбить его и сбросить только пустую яичную скорлупу, при этом остатки, соответственно, причисляются к группе «только яичная скорлупа». Однако, причисление к группе «нет остатков» будет использовано, когда ни одно яйцо не было подано на устройство разбивания яиц, когда яйцо было случайно уронено или когда устройство разбивания яиц не смогло сбросить остатки. Аналогично, группа «целое яйцо» будет использована, если яйцо не было разбито или разбивание не было достаточным для обеспечения возможности опорожнения яйца. Звуковое предупреждение или индикация о возможном отказе устройства предпочтительно выдается, если остатки, сброшенные в приемник отходов, причисляются к группе «целое яйцо» или если они причисляются к группе «нет остатков», даже если яйцо было размещено устройством разбивания яиц.
Статистические данные о распределении яиц по трем группам дадут относительно легко осуществимый показатель функционирования устройства и могут, например, показать, что одно конкретное устройство разбивания яиц постоянно неправильно функционирует. Однако, следует понимать, что большее количество групп может быть использовано, например группа, представляющая яйца, которые не были полностью опорожнены.
Обнаружение неразбитого яйца предпочтительно регистрируется как функция места обнаружения. Определение отказа в определенном месте устройства предпочтительно достигается с помощью выделения, по меньшей мере, одной ячейки памяти в устройстве обработки данных для каждого из устройств разбивания и размещения яиц.
На фиг.4 показан пример выделения ячеек памяти, соответствующих различным устройствам разбивания и размещения яиц.
Как можно видеть на фиг.4a, устройство в этом примере содержит три столбца bc1-bc3 устройств разбивания яиц, каждый из которых содержит пять устройств, расположенных в ряд, br1-br5. Большинство из устройств разбивания яиц уронило или не смогло разбить несколько яиц с начала работы устройства, и значение в первом субстолбце было записано соответствующим образом, например разбивающее устройство 1 в ряду 2 уронило или не смогло разбить три яйца. Даже если устройство оптимально функционирует, некоторые яйца неизбежно будут уронены, не разбиты или повреждены вследствие неотъемлемых колебаний натуральных продуктов и того, что яйца являются относительно хрупкими, и поэтому значений 0 не следует ожидать.
В настоящем случае характер значений в первых субстолбцах является довольно постоянным, что, вероятно, не является случаем, когда яйца были не разбиты, так как рассматриваемое разбивающее устройство, вероятно, многократно имело бы тот же самый отказ. Следовательно, можно предположить, что яйца, указанные в первых субстолбцах примера, главным образом были уронены.
Во втором субстолбце значение соответствует количеству разбитых яиц, у которых была повреждена желточная оболочка. Здесь также несколько из яиц, разбитых каждым разбивающим устройством, было повреждено, за исключением разбивающего устройства в ряду 4, столбец 2, на котором желточная оболочка была нарушена у 18 из обработанных яиц. Нарушение желточной оболочки может быть вызвано или самим разбивающим устройством, или при размещении на устройство размещения яиц. Какой случай имеет место, можно увидеть, сравнивая значения ячейки памяти, выделенной для устройства разбивания яиц, со значениями ячеек памяти, выделенных для тех устройств размещения яиц, которые размещают содержимое яиц, разбитых им.
Таблица, показывающая состояние устройств размещения яиц, показана на фиг.4b. Здесь каждый ряд rr1-rr5 состоит из шести различных столбцов rc1-rc6, что для системы, у которой перемещение устройств разбивания и размещения яиц синхронизировано, означает, что устройство имеет вдвое больше устройств размещения яиц, чем устройств разбивания яиц. Этот вариант осуществления является особенно предпочтительным, так как каждое устройство разбивания яиц, таким образом, будет всегда работать в паре с теми же самыми двумя устройствами размещения яиц, при этом устройство разбивания яиц выполняет два рабочих цикла каждый раз, когда устройство размещения яиц выполняет один цикл. Таким образом, содержимое, размещенное в двух устройствах размещения яиц, в настоящий момент в столбцах rc1 и rc4, в обоих случаях будет происходить от яиц, разбитых посредством устройства разбивания яиц со столбца bc1 и так далее.
Если нарушение желточной оболочки яиц, разбитых устройством разбивания яиц со столбца bc2, ряд br4, было следствием того, что одно из устройств размещения яиц неправильно функционирует, следовало бы ожидать, что значение или в столбце rc2, или в столбце rc4 ряда rr4 на фиг.4b приблизительно соответствовало бы значению в столбце bc2 ряда br4 на фиг.4a и неисправность в таком случае имела бы место в том конкретном устройстве размещения яиц. Однако это не является верным в настоящем примере, где значение в столбцах rc2 и rc4 ряда rr4 в обоих случаях равно «9», и неисправность, следовательно, должна иметь место в устройстве разбивания яиц.
Всякий раз, когда устройства разбивания и размещения яиц перемещаются в устройстве из одного положения в другое, новый столбец устройств входит в положения регистрации, где, например, может осуществляться мониторинг содержимого, размещенного устройством размещения яиц, как объяснено в тексте настоящего описания изобретения. Эти положения показаны стрелками-указателями на фиг. 4a-4d. В настоящем случае указатель разбивающего устройства передвигается от столбца bc1 к столбцу bc2, что можно видеть, сравнивая фиг. 4a и 4c. Подобно, указатель размещающего устройства передвигается от rc1 к rc2, что можно видеть, сравнивая фиг. 4b и 4d. При нахождении в положении регистрации определяется, было ли яйцо, обработанное рассматриваемым устройством разбивания или размещения яиц, обработано надлежащим образом или необходимо ли отнести его к классу или «уроненное или неразбитое», или к классу «поврежденная желточная оболочка». Если обнаруживается отклонение от нормы, значение в ячейке(ах) памяти, соответствующей(их) классу отклонения от нормы, увеличивается на один.
Мониторинг перемещения устройств разбивания и размещения яиц может в основном быть достигнут посредством любого устройства, имеющего возможность выдать сигнал, указывающий на наступление события, при этом примером является электронный коммутатор, который размыкается выступающим на устройстве элементом.
Способность определения точного происхождения неисправности, такой как неправильное функционирование устройства разбивания яиц, рассматривается как особенно предпочтительная, так как это может уменьшить время, необходимое для ее исправления, и, таким образом, результирующие убытки производства. В предпочтительном варианте осуществления, неправильно функционирующее устройство разбивания или размещения яиц, следовательно, будет автоматически доставлено на ремонтный пункт (не показан).
Следует понимать, что предпочтительные варианты осуществления изобретения, описанные выше, не следует рассматривать в качестве ограничения объема изобретения. Вернее, специалист в данной области будет способен представить себе некоторое количество модификаций и комбинаций характерных особенностей, описанных выше, что будет подпадать под объем изобретения, как определено формулой изобретения.
Формула изобретения
1. Способ мониторинга разбивания яиц, согласно которому подают яйца на множество устройств разбивания яиц с помощью подающего устройства, при этом каждое устройство разбивания яиц за раз принимает одно яйцо, разбивают скорлупу каждого яйца посредством соответствующего устройства разбивания яиц и содержимое каждого яйца собирают в устройстве размещения яиц, при этом каждое устройство размещения яиц принимает содержимое только одного яйца во время каждого рабочего цикла, и сбрасывают остатки, удерживаемые каждым устройством разбивания яиц, после разбивания яичной скорлупы в приемник отходов, а содержимое устройства размещения яиц сливают в один или более приемников продукта, при этом для каждого рабочего цикла устанавливают состояние размещения яйца для каждого из устройств разбивания яиц, при этом указанное состояние представляет собой или фактическое получение яйца из подающего устройства, или неполучение яйца из подающего устройства, регистрируют автоматически наличие, по меньшей мере, одного из условий: (a) яйцо уронено, (b) яичная скорлупа не разбита или (c) желточная оболочка нарушена, и сообщают оператору о наличии отклонения от нормы при разбивании яиц.
2. Способ по п.1, согласно которому измеряют, по меньшей мере, одно свойство каждого устройства размещения яиц с возможным содержимым, измеряют и сравнивают с, по меньшей мере, одним расчетным значением на основе указанного состояния размещения яйца.
3. Способ по п.1 или 2, согласно которому устройство размещения яиц имеет емкость для собирания белка каждого яйца и держатель для удерживания желтка каждого яйца, при этом, по меньшей мере, одно устройство регистрации используют для измерения, по меньшей мере, одного свойства устройства размещения яиц с возможным содержимым.
4. Способ по п.1 или 2, согласно которому определяют, по меньшей мере, одно свойство остатков, сбрасываемых в приемник отходов из каждого устройства разбивания яиц, и сравнивают его с, по меньшей мере, одним расчетным значением.
5. Способ по п.4, согласно которому устройство размещения яиц имеет емкость для собирания белка каждого яйца и держатель для удерживания желтка каждого яйца, при этом, по меньшей мере, одно устройство регистрации используют для измерения, по меньшей мере, одного свойства устройства размещения яиц с возможным содержимым.
6. Способ по п.3 или 5, согласно которому, по меньшей мере, одно свойство регистрируют посредством фотоэлемента, системы технического зрения, индуктивного датчика, емкостного датчика наличия или механического датчика.
7. Способ по п.3 или 5, согласно которому источник света выполнен с возможностью освещения устройства размещения яиц.
8. Способ по п.7, согласно которому определяют просвечиваемость емкости с возможным белком.
9. Способ по п.8, согласно которому освещают емкость источником света со стороны, противоположной устройству регистрации.
10. Способ по п.6, согласно которому в указанной системе технического зрения используется цифровая фотокамера.
11. Способ по п.10, согласно которому используют одно изображение, показывающее возможное содержимое как емкости, так и держателя, для определения, имеется ли содержимое в держателе и имеется ли содержимое в емкости.
12. Способ по п.1, согласно которому для каждого рабочего цикла и для каждого из устройств разбивания яиц регистрируют, по меньшей мере, одно свойство остатков каждого яйца, сбрасываемых в приемник отходов, и сравнивают его с, по меньшей мере, одним расчетным значением.
13. Способ по п.12, согласно которому, по меньшей мере, одно расчетное значение основывается на указанном состоянии размещения яйца.
14. Способ по п.1, согласно которому сообщение оператору наличия отклонения от нормы при разбивании яиц содержит информацию о местоположении устройства разбивания яиц, вызывающего отклонение от нормы.
15. Способ по п.14, согласно которому информацию о местоположении сообщают оператору посредством остановки устройства разбивания яиц, вызывающего отклонение от нормы, на заданном месте для проверки.
16. Устройство размещения яиц для размещения содержимого яйца, разбитого устройством разбивания яиц, содержащее множество устройств разбивания яиц, каждое из которых выполнено с возможностью удержания и разбивания одного яйца, подающее устройство для подачи яиц по отдельности в каждое устройство разбивания яиц, множество устройств размещения яиц, размещающих содержимое яиц, разбитых устройствами разбивания яиц, причем каждое устройство размещения яиц выполнено с возможностью размещения содержимого одного яйца за раз, приемник отходов для размещения яичной скорлупы и возможных других остатков, несколько приемников продукта для размещения содержимого устройства размещения яиц и, по меньшей мере, одно устройство регистрации, и при этом каждое устройство размещения яиц содержит емкость для размещения яичного белка и держатель для удерживания яичного желтка, отличающееся тем, что емкость содержит просвечивающийся материал.
17. Устройство по п.16, отличающееся тем, что держатель выполнен из просвечивающегося материала.
18. Устройство размещения яиц по п.16 или 17, отличающееся тем, что просвечивающийся материал является пластиком, таким, как полиэтилен, полиоксиметилен, поливинилиденфторид или полипропилен.
19. Устройство по п.16 или 17, отличающееся тем, что просвечивающийся материал является матовым, предпочтительно с белым оттенком.
20. Устройство по п.16 или 17, отличающееся тем, что емкость и держатель установлены на общем монтажном кронштейне, выполненном с возможностью присоединения к опорному элементу посредством одного крепежного устройства.
21. Установка разбивания яиц, содержащая множество устройств разбивания яиц, каждое из которых размещает и разбивает одно яйцо, подающее устройство для подачи яиц по отдельности на каждое устройство разбивания яиц, множество устройств размещения яиц для размещения содержимого яиц, разбитых устройствами разбивания яиц, при этом каждое устройство размещения яиц предназначено для размещения содержимого одного яйца за раз и каждое устройство размещения яиц содержит емкость для размещения яичного белка и держатель для размещения яичного желтка, приемник отходов для размещения яичной скорлупы и возможных других остатков, ряд приемников продукта для размещения содержимого устройства размещения яиц и, по меньшей мере, одно устройство регистрации, отличающаяся тем, что отдельное устройство размещения яиц содержит емкость из просвечивающегося материала по п.16, причем источник света для освещения просвечивающейся емкости установлен со стороны, противоположной устройству регистрации, и при этом устройство регистрации представляет собой видеоустройство, выполненное с возможностью измерения, по меньшей мере, светопроницаемости емкости и возможного содержимого в ней.
22. Установка по п.21, отличающаяся тем, что она содержит, по меньшей мере, один датчик подачи, устанавливающий состояние размещения яйца для каждого устройства разбивания яиц во время каждого рабочего цикла, и электронное вычислительное устройство, соединенное с указанным, по меньшей мере, одним датчиком подачи и указанным устройством регистрации, причем электронное вычислительное устройство выполнено с возможностью записи случаев, когда устройство разбивания яиц размещает яйцо, но при этом не подает желток на держатель и белок в емкость устройства размещения яиц, связанного с устройством разбивания яиц.
23. Установка по п.21, отличающаяся тем, что она содержит электронное вычислительное устройство, имеющее память с ячейками памяти, при этом, по меньшей мере, одна ячейка памяти выделяется для каждого из устройств размещения и разбивания яиц, и датчик перемещения, выполненный с возможностью измерения перемещения устройства разбивания или размещения яиц из одного положения в другое в устройстве перемещения.
24. Установка по п.22 или 23, отличающаяся тем, что одна ячейка памяти выделяется для каждого из устройств размещения яиц и две ячейки памяти выделяются для каждого из устройств разбивания яиц, при этом значение, хранящееся в ячейке памяти каждого устройства размещения яиц, соответствует числу принятых устройством яиц, у которых была нарушена желточная оболочка, причем число, хранящееся в первой ячейке памяти каждого устройства разбивания яиц, соответствует числу разбитых устройством яиц, у которых была нарушена желточная оболочка, и число, хранящееся во второй ячейке памяти каждого устройства разбивания яиц, соответствует числу уроненных или неразбитых яиц.
25. Установка по п.21 или 22, отличающаяся тем, что количество устройств размещения яиц вдвое больше, чем количество устройств разбивания яиц, причем только два определенных устройства размещения яиц размещают содержимое яйца, разбитого посредством одного определенного устройства разбивания яиц.
26. Установка по п.25, когда он зависит от п.20 или 21, отличающаяся тем, что электронное вычислительное устройство сравнивает, по меньшей мере, одно свойство емкостей двух устройств размещения яиц, размещающих содержимое яйца, разбитого посредством одного и того же устройства разбивания яиц, и возможного содержимого в них.
РИСУНКИ
|
|