|
|
(21), (22) Заявка: 2007121688/12, 08.11.2005
(24) Дата начала отсчета срока действия патента:
08.11.2005
(30) Конвенционный приоритет:
12.11.2004 EP 04026939.1
(43) Дата публикации заявки: 20.12.2008
(46) Опубликовано: 20.02.2010
(56) Список документов, цитированных в отчете о поиске:
US 3356349 А, 05.12.1967. DE 8915094 U1, 08.02.1990. SU 1472064 А1, 15.04.1989.
(85) Дата перевода заявки PCT на национальную фазу:
13.06.2007
(86) Заявка PCT:
EP 2005/011921 20051108
(87) Публикация PCT:
WO 2006/050900 20060518
Адрес для переписки:
103735, Москва, ул.Ильинка, 5/2, ООО “Союзпатент”, пат.пов. Ю.Б.Перегудовой, рег. 1103
|
(72) Автор(ы):
БУССЕМАР Кристоф (FR), ЙОАКИМ Альфред (CH), КЬЯРЕЛЛА Франческо (US)
(73) Патентообладатель(и):
НЕСТЕК С.А. (CH)
|
(54) СПОСОБ ПРИГОТОВЛЕНИЯ ПЕНЫ ИЗ ПИЩЕВОЙ ЖИДКОСТИ И УСТРОЙСТВО ДЛЯ ЕГО ОСУЩЕСТВЛЕНИЯ
(57) Реферат:
Устройство для приготовления пены из жидкости на основе молока или из молока содержит емкость, в которую подают взбиваемую жидкость и в которой размещен вращаемый перемешиватель, стойку, соединенную с емкостью, и систему привода перемешивателя. Система привода перемешивателя и перемешиватель содержат магнитные элементы, обеспечивающие вращение миксера под действием магнитного поля в емкости. Имеются также средства создания возмущений, которые нарушают или предотвращают симметричную циркуляцию жидкости вокруг центральной вертикальной оси емкости. Изобретение упрощает способ приготовления пены за счет ограничения количества действий оператора. 4 н. и 21 з.п. ф-лы, 10 ил.
Настоящее изобретение относится к способу приготовления пены из пищевых жидкостей, таких как молоко, и устройству для его осуществления и применяется для приготовления напитков, таких как кофе со взбитыми сливками (капучино), кофе с молоком, кофе латте, мачиатто, горячий шоколад и других горячих специальных напитков.
Специальные напитки, по меньшей мере, часть которых составляет пена, становятся все более распространенными. Хорошо известным напитком такого типа является кофе со взбитыми сливками. Этот напиток содержит жидкую часть, состоящую из кофе, сверху которой имеется слой пенистого молока, которое из-за очень малой плотности плавает на поверхности жидкости. Приготовление такого напитка требует времени на проведение определенных манипуляций и очистку устройства.
Наиболее распространенный способ приготовления пены на основе молока заключается в том, что в емкость наливают требуемое количество молока, погружают в емкость трубку для выхода пара из кофеварки, перемешивают молоко сверху и снизу для введения воздуха, требуемого для образования пены.
Первым недостатком этого способа является то, что требуется кофеварка с выводом пара и не все кофеварки оборудованы им.
Другим недостатком этого способа является то, что невозможно готовить пену и в то же время готовить кофе, если только не будет приобретена сложная и дорогая кофеварка с двумя отдельными контурами жидкости, один – для получения кофе, другой – для получения пара.
Еще одним недостатком кофеварок с трубками для выхода пара является то, что система подогрева воды в этих устройствах, которая представляет собой в большинстве случаев термоблок, должна постоянно находиться во включенном состоянии с тем, чтобы производить пар без перерыва. В результате эти устройства потребляют большую мощность, что делает их не очень экономичными в работе. Следует также заметить, что трубки для выхода пара быстро покрываются накипью, особенно при использовании жесткой воды, поэтому требуется постоянный уход для поддержания их в хорошем состоянии.
Еще одним недостатком устройств этого типа с трубками является то, что качество пены зависит от умения пользователя, а это означает, что эти устройства не позволяют получать пену с одинаковыми свойствами и одинакового качества.
Еще одним недостатком является то, что трубки, контактирующие с молоком, трудно чистить.
Существуют также механические перемешивающие устройства, которые обычно применяют при локальном использовании для взбивания более или менее вязких пищевых продуктов, таких как яйца, лед, соки и т.п. Имеются различные проблемы, делающие данные устройства малопригодными для приготовления пены из жидкости на основе молока, используемой для приготовления напитков. Например, один недостаток заключается в том, что эти устройства перемешивают жидкость или пасту в холодном состоянии, чем существенно ограничивается область их применения. Кроме этого, молоко не взбивается должным образом, когда оно находится в холодном состоянии или при температуре окружающей среды.
Другим недостатком является то, что эти устройства малопригодны для взбивания жидкостей, обладающих микробиологической чувствительностью, таких как молоко. Должна быть предусмотрена регулярная очистка емкости устройства для удаления любых твердых пищевых остатков. Кроме этого, при нагревании молока растет область на поверхности емкости или вблизи нее, на которой осаждаются припеченные или прижженные белки. Существующие устройства по большей части не приспособлены для уменьшения таких отложений твердых остатков, что порождает проблемы с очисткой.
Эти устройства содержат также перемешивающий и исполнительный механизм, который вставлен в емкость и имеет ряд недостатков: хотя время его снятия и повторной установки незначительно, они имеют обыкновение быстро загрязняться, кроме этого, вносится дополнительное удорожание из-за большого числа деталей, при этом перемешивающее приспособление трудно поддается чистке.
Другим недостатком этих устройств является то, что пенообразование в них не является оптимальным по причинам, связанным с размещением перемешивающих средств. В некоторых устройствах перемешивающие средства расположены в середине емкости. Такое расположение не является эффективным с точки зрения преобразования объема жидкости на основе молока в пышную пену.
Другие устройства содержат различные миксеры. Эти устройства имеют механические средства, необходимые для управления вращением миксеров, и это приводит к усложнению системы, ухудшает ее гигиенические свойства, приводит к увеличению числа деталей и делает процесс чистки более трудоемкой операцией.
Патент США 6318247 относится к устройствам для приготовления со взбиванием горячих напитков или пищи, таких, например, как горячий шоколад. Эти устройства содержат механизм приведения миксера в действие, основанный на магнитном эффекте. Однако это устройство имеет ряд недостатков. Во-первых, в этом устройстве жидкость или пена перемешивается при ее вращении вокруг оси, расположенной вдоль центральной оси емкости, и это вызывает завихрения, в которых из-за центробежного эффекта, производимого миксером, некоторые слои жидкости или пены, особенно в периферийных слоях, не перемешиваются так интенсивно, как в других слоях, в частности вблизи центра. Следовательно, такие завихрения не способствуют получению пены хорошего качества или уменьшению времени, требуемого для такого перемешивания. Кроме того, конструкция этого устройства не соответствует гигиеническим нормам для обработки жидкости на основе молока, при этом не облегчается чистка такой конструкции.
Другие устройства для перемешивания пищи, которые имеют больше или меньше таких же недостатков, описаны в патентных документах WO 2004/043213 А1 или DE 19624648 А1.
Другие устройства перемешивания электромагнитного типа описаны в документах US 2923493, DE 1131372, US 4537332 и US 6712497, но ни одно из них не обеспечивает получение качественной, соответствующей гигиеническим требованиям пены за короткое время.
Полезная модель DE 8915094 относится к охлаждаемым бакам, служащим для раздачи напитков на основе молока. Бак содержит средство охлаждения и средство усиленной конвекции в виде магнитного ротора. Такое устройство не подходит для преобразования жидкости в пену, но просто поддерживает жидкость в однородном состоянии в охлажденном виде.
В патенте США 3356349 описано перемешивающее устройство, содержащее нагретый резервуар, электромагнитный привод, расположенный под резервуаром и приводящий в движение втулку колеса, расположенную в середине резервуара. Втулка соединена с перемешивающим элементом, который смещен относительно втулки, заставляя этот элемент совершать колебательные движения. Этот принцип перемешивания может привести к потере магнитной связи из-за большого момента инерции, возникающего при смещении перемешивающего элемента относительно оси вращения привода. Эта проблема усугубляется при увеличении скорости. Поэтому такое перемешивающее устройство может работать для взбивания определенных жидкостей или других веществ на малой скорости вращения, но не подходит для превращения жидкости в пену при достаточно большой скорости. Во всяком случае, в данном документе не упоминается о возможности превращения жидкости в пену с использованием этого устройства.
Поэтому главной целью настоящего изобретения является устранение недостатков известных устройств путем создания устройства, более пригодного для получения пены из пищевой жидкости на основе молока, в частности, для приготовления напитков.
Таким образом, целью настоящего изобретения является создание устройства, конструкция которого более отвечает гигиеническим требованиям, может легко подвергаться чистке и проста в использовании.
Другой целью настоящего изобретения является создание устройства, которое производит пену с воспроизводимыми свойствами и качеством и за кратчайшее время.
Еще одной целью настоящего изобретения является упрощение способа приготовления пены за счет ограничения количества действий оператора.
Еще одной целью настоящего изобретения является создание устройства, которое экономично при использовании.
Итак, настоящее изобретение относится к устройству для приготовления пены из жидкости на основе молока, содержащему: емкость, в которую подают взбиваемую жидкость и в которой размещен вращающийся перемешиватель; стойку, соединенную с емкостью, средство для приведения перемешивателя в движение, при этом устройство также содержит средство подачи электропитания для питания привода.
Одно преимущество заключается в том, что привод и перемешиватель выполнены так, что перемешиватель приводится во вращение с помощью привода за счет электромагнитного взаимодействия без использования механического соединительного элемента, проходящего через стенку.
Одна отличительная особенность настоящего изобретения состоит в том, что устройство предназначено для получения и обработки пищевой жидкости, которая легко осаждается на стенках емкости, в особенности при нагревании, и поэтому система приведения во вращение перемешивателя не вставляется внутрь емкости и является более простой и более соответствующей гигиеническим требованиям.
Другая отличительная особенность состоит в том, что предусмотрены средства создания возмущений для нарушения или предотвращения циркуляции жидкости, которая симметрична и более или менее коаксиальна относительно центральной вертикальной оси емкости. Такая конструкция гарантирует, что циркуляция жидкости в емкости происходит с достаточными турбулентностями, что приводит к уменьшению времени приготовления пены и обеспечивает получение высокого соотношения пена/жидкость. С помощью такой конструкции оказывается возможным получить результаты, используя расположенную снаружи систему привода согласно настоящему изобретению и поэтому работающую только с одним перемешивателем, что существенно упрощает устройство и снижает его стоимость.
Предпочтительно, чтобы в емкости были установлены нагреватели, служащие для нагрева жидкости. Нагреватели обеспечивают одновременный нагрев жидкости и пены в ходе процесса приготовления пены.
В соответствии с одним вариантом осуществления настоящего изобретения устройство содержит привод, создающий, по меньшей мере, одно магнитное поле, которое смещено относительно центральной вертикальной оси емкости. Такое смещенное магнитное поле работает как средство создания возмущений за счет смещения перемешивателя относительно центральной оси емкости.
Итак, в результате смещенного положения перемешивателя слои жидкости, пены или жидкости/пены, расположенные коаксиально относительно оси, перемешиваются в несимметричной конфигурации за счет центробежного эффекта.
Такой привод является внешним, что означает, что нет необходимости вводить в емкость передающие элементы с тем, чтобы соединить привод с перемешивателем, или присоединить перемешиватель к емкости, или переместить его по отношению к ней, что делает устройство соответствующим гигиеническим требованиям и поддающимся более легкой чистке.
В предпочтительном варианте фиксирующий перемешиватель элемент также выполнен таким, чтобы обеспечить расположение перемешивателя, соединенного с указанным приводом, вдоль оси вращения, которая смещена относительно центральной вертикальной оси емкости, в результате чего перемешиватель при вращении создает циркуляцию жидкости, не коаксиальную относительно указанной центральной вертикальной оси. Фиксирующий элемент гарантирует правильное расположение перемешивателя в магнитном поле. Он предотвращает выход перемешивателя из магнитного поля до, во время и после операции перемешивания. Этот элемент показывает пользователю место расположения перемешивателя простым способом, при этом не требуется его специальное удаление или повторная установка. Кроме того, когда емкость опорожнена, магнитное поле, созданное между перемешивателем и приводом, удерживает перемешиватель на его месте в емкости.
В одном варианте осуществления настоящего изобретения фиксирующий элемент представляет собой выступ, образованный на поверхности емкости и имеющий форму, по меньшей мере, соответствующую форме перемешивателя. Следовательно, перемешиватель может входить в зацепление с указанным выступом или углублением. Должен быть обеспечен достаточный зазор, позволяющий вращаться перемешивателю без сильного трения. В другом варианте могут быть использованы поверхности из материалов с низким коэффициентом трения.
Итак, перемешиватель устанавливают на место просто вставляя его без применения специального инструмента. Перемешиватель может быть снят или присоединен с помощью соединителя, предпочтительно такого, который обеспечивает быстрое соединение.
Выступ или углубление и дно емкости вместе образуют единую стенку. Следовательно, нет необходимости в уплотняющих элементах, что упрощает конструкцию и делает ее более отвечающей гигиеническим требованиям. Понятно, что дно емкости представляет собой всю поверхность в ее нижней части и формирует ширину емкости в этой части.
Выступ выполнен, например, на активной стенке емкости в виде направленной во внутрь вмятости емкости, которая создает углубление на наружной стороне этой стенки. Это углубление, расположенное на наружной стороне емкости, может быть, следовательно, использовано как корпус для магнитной части привода, чтобы перемешиватель удерживался на месте в приподнятом состоянии и на некотором расстоянии от дна емкости, обеспечивая улучшение эффекта перемешивания по сравнению с вариантом расположения перемешивателя вблизи дна емкости. В предпочтительном варианте перемешиватель представляет собой кольцевой элемент, который устанавливается вокруг выступа в емкости.
В одном возможном варианте фиксирующее средство может представлять собой углубление на внутренней поверхности емкости, в котором частично располагается перемешиватель.
В любом варианте фиксирующее средство служит для позиционирования емкости как вдоль горизонтальной оси, так и вдоль вертикальной оси. Оно также служит в качестве направляющей для перемешивателя и предотвращает его случайный выход из магнитного поля в ходе операции перемешивания.
Перемешиватель может иметь различные конструкции. В одном варианте перемешиватель имеет кольцевую форму с центральным пазом, соответствующим посадочному выступу и работающим как фиксирующее средство, при этом указанный перемешиватель находится на дне емкости и имеет, по меньшей мере, одну ведомую магнитную часть, расположенную вблизи периферии указанного центрального паза. Эта конструкция эффективна, поскольку позволяет легко установить перемешиватель в емкости. Кроме этого, она позволяет удерживать перемешиватель на определенном расстоянии от дна емкости, что способствует хорошему вспениванию жидкости.
В одном варианте осуществления настоящего изобретения привод содержит магнитную часть, которая закреплена на наружной стороне емкости и внутри упомянутого выступа. Следовательно, магнитная часть взаимодействует с, по меньшей мере, указанной магнитной ведомой частью перемешивателя. Магнитная часть вращается с помощью шпинделя, соединенного с электродвигателем. Магнитная связь между приводом и перемешивателем поэтому сильная, что уменьшает риск размыкания или повреждения привода даже при больших скоростях.
В одном варианте конструкции перемешивателя он имеет периферийную часть, на которой имеются перемешивающие элементы.
Перемешивающие элементы могут, таким образом, состоять из одного или нескольких следующих элементов: витков проволоки в форме тора, лопастей, крыльчатки, решетки или иглы. Одни элементы могут быть более эффективны, чем другие, в зависимости, например, от природы жидкости.
В предпочтительном варианте осуществления настоящего изобретения емкость является цилиндрической или более или менее цилиндрической. Однако в одном возможном варианте осуществления настоящего изобретения средство создания возмущений, служащее для предотвращения или устранения коаксиального движения жидкости в емкости, содержит емкость, конструкция которой не является цилиндрической относительно центральной вертикальной оси. Емкости может быть придана различная форма, что не выходит за пределы настоящего изобретения.
В одном возможном варианте осуществления настоящего изобретения средство создания возмущений содержит стенки и/или другие препятствия, входящие в выступ в емкости таким способом, что это средство оказывается смещенным относительно центральной вертикальной оси. Следовательно, эти элементы образуют средство, которое прерывает любое полностью коаксиальное движение жидкости в емкости. Этими элементами могут быть, например, штыри или другие препятствия, проходящие радиально и горизонтально и/или вертикально внутри емкости. В предпочтительном случае эти элементы выполнены как единая часть или как одна часть с упором на емкость.
В другом предпочтительном варианте осуществления настоящего изобретения средство создания возмущений содержит блок управления, запрограммированный переключать направление вращения перемешивателя несколько раз в процессе взбивания жидкости. В частности, в варианте с симметричной конфигурацией вращения перемешивателя в емкости, если сохраняется только одно направление вращения, тогда содержимое (жидкость и пена) движутся в емкости концентрически относительно перемешивателя и различные слои при одной и той же скорости всегда проходят по одному и тому же радиусу и поэтому не перемешиваются для образования пены. Это явление препятствует образованию пены. Для решения данной проблемы должно быть установлено прерывистое перемешивание, так чтобы упомянутый выше центробежный эффект прерывался бы через регулярные или нерегулярные промежутки времени. Эти регулярные прерывания направления вращения, которые желательно выполнять с частотой от 0,3 до 1 Гц, позволяют смеси жидкость – пена опускаться вниз и возвращаться в соприкосновение с перемешивателем, чтобы снова перемешиваться, как только вращение начнется в противоположном направлении.
В соответствии с одной отличительной особенностью настоящего изобретения часть емкости, служащая для приема жидкости, имеет поверхность, которая не содержит соединительной линии или соединения между двумя частями и каких-либо линий разрыва контура. Жидкость, такая как молоко, стремится очень быстро заполнить любой промежуток путем осаждения твердых частиц. Это явление усиливается, если жидкость нагрета, при этом далее жидкость стремится образовать отчасти запеченный или пригорелый слой, который впоследствии трудно отчистить. Устранение этих областей с твердыми частицами способствует уменьшению гигиенических рисков и облегчению очистки. Так, в предпочтительном варианте емкость содержит поверхность для приема жидкости, которая представляет собой единую поверхность. Емкость может быть сделана из нескольких элементов, сваренных вместе и образующих единое целое.
Для улучшения образования пены и в то же время для уменьшения времени перемешивания имеется нагреватель, служащий для нагревания жидкости в камере в процессе перемешивания. Этот нагреватель в предпочтительном варианте представляет собой средство прямого нагрева емкости. В одном варианте осуществления настоящего изобретения нагреватели представляют собой электрически изолированные резистивные элементы, контактирующие, по меньшей мере, с дном емкости. Эти элементы могут быть выбраны из следующих элементов: по меньшей мере, одной нагревательной цепи типа «толстой пленки», контактирующей с наружной поверхностью емкости, или нагревательных резистивных элементов типа экранированного резистора, контактирующих с поверхностью емкости.
Другими нагревательными элементами могут быть индукционное или инфракрасное нагревательное средство или комбинация этих средств вместе с резистивными нагревательными элементами.
В предпочтительном варианте осуществления настоящего изобретения нагревательное средство содержит нагревательную цепь типа электрически изолированной «толстой пленки», нанесенной непосредственно на внешнюю поверхность дна емкости. Такая конструкция позволяет увеличить плотность мощности на поверхности емкости и, таким образом, уменьшить время, необходимое для приготовления пены, поскольку жидкость быстрее достигает оптимальной температуры для вспенивания, и все это достигается при одновременном устранении прилипания благодаря лучшему распределению мощности.
Для того чтобы устройство было бы удобным в обслуживании и не требовало бы навыков работы с ним, блок управления производит автоматическое отключение питания на нагреватель и электродвигатель в соответствии с заранее установленной программой. В частности, блок управления содержит датчик температуры, установленный на нагревателе, при этом блок управления отключает питание нагревателя при температуре, которая ниже точки кипения, через определенное заранее установленное время. Программа, хранимая в блоке управления, задается исходя из природы жидкости (например, молока) и объема жидкости, который должен находиться в емкости, т.е. объема емкости, при этом уровень наполнения емкости жидкостью пользователь определяет с помощью метки, что позволяет получить объем пены оптимального качества в соответствии с установленной программой.
Преимуществом устройства по настоящему изобретению является то, что оно содержит беспроводной электрический соединительный узел, обеспечивающий соединение стойки и емкости, с одной стороны, с основанием, с другой стороны, которое может быть присоединено к сети питания. В результате стойка и емкость, образующие часть вспенивающего блока, могут быть сняты для наполнения, обслуживания и чистки. Для выполнения этого беспроводной соединительный узел содержит первый соединитель, прикрепленный к дну стойки, и второй соединитель, прикрепленный к основанию, при этом оба соединителя электрически связаны вместе для того, чтобы подать питание на стойку, когда стойка установлена на основание.
В соответствии с другой отличительной особенностью настоящее изобретение представляет собой устройство для приготовления пены из жидкости на основе молока, содержащее емкость, в которую подают взбиваемую жидкость и в которой помещен вращающийся перемешиватель, стойку, соединенную с этой емкостью, систему приведения в движение перемешивателя, отличающееся тем, что перемешиватель приводится в движение и удерживается в емкости магнитным полем с помощью системы привода перемешивателя, и устройство содержит беспроводной вспенивающий блок, являющийся съемным по отношению к основанию, к которому подведено электропитание.
Одно преимущество такого устройства заключается в мобильности вспенивающего блока, которую достигают путем объединения магнитного привода и беспроводного источника питания. Это облегчает раздачу пены, когда пену помещают, например, в кружку для приготовления капучино. В этом случае перемешиватель также удерживается в емкости и не выпадает благодаря магнитному полю, при этом нет необходимости его удалять из емкости при работе с пеной. Магнитные элементы подобраны (размеры, положение и т.п.) так, что перемешиватель удерживается в емкости без риска выпасть при наклоне емкости с открытым отверстием для вытекания пены.
Настоящее изобретение также относится к способу приготовления пены из пищевой жидкости на основе молока в устройстве, содержащем емкость, в которую подают взбиваемую жидкость и в которой помещен вращающийся перемешиватель; средство для приведения в движение перемешивателя; источник электропитания для подачи питания на средство приведения во вращение, отличающемуся тем, что он включает, помимо прочего, приведение в движение перемешивателя с помощью магнитного поля, не симметрично относительно центральной вертикальной оси емкости, и без соединительного элемента перемешивателя, проходящего через емкость.
В предпочтительном случае способ включает нагрев жидкости в емкости при перемешивании. Нагрев выполняют предпочтительно с помощью нагревательных элементов и путем их прямого распределенного применения к наружной поверхности емкости. Желательно, чтобы распределение нагревательных элементов обеспечивало бы среднюю плотность мощности на нагреваемой поверхности от 15 до 25 Вт на см2 нагреваемой поверхности. Также желательно, чтобы площадь общей нагреваемой поверхности, покрытой нагревательными элементами, составляла бы, по меньшей мере, 40%, предпочтительно от 40 до 60%. Предполагается, что непосредственное применение нагревательных элементов, связанное с распределением мощности нагревательных элементов, даст возможность более быстро получить горячую пену и в то же время уменьшить риск осаждения твердых частиц на дне емкости. На выходе будет стабильная и горячая пена, и в то же время минимизируются твердые остатки на стенках емкости, что в конечном итоге облегчит чистку устройства. Этот способ особенно удобно применять для приготовления таких напитков, как капучино, в сочетании с кофеварками или в составе кофеварок.
Краткое описание чертежей
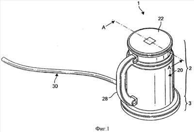
Фиг.1 – вид в перспективе устройства в соответствии с настоящим изобретением.
Фиг.2 – разрез по линии А-А устройства, показанного на фиг.1.
Фиг.3 – вид в перспективе устройства, показанного на фиг.1 с разрезом по А-А.
Фиг.4 – вид в перспективе с разрезом по линии А-А части устройства, в частности емкости и стойки отдельно.
Фиг.5 – перемешиватель устройства.
Фиг.6 – перемешиватель в разрезе.
Фиг.7 – средство прямого нагрева, установленное на дне емкости устройства.
Фиг.8 – вид сверху варианта емкости с перемешивателем.
Фиг.9 – вид сверху варианта емкости с выступами для нарушения циркуляции жидкости.
Фиг.10 – разрез по линии В-В варианта емкости, показанного на фиг.9.
Подробное описание настоящего изобретения
Устройство для приготовления молочной пены показано на фиг.1. Подобное устройство используется для приготовления пены из пищевой жидкости, которая обладает свойством эмульгирования при совместном воздействии механического перемешивания и нагревания, например молочного продукта, такого как свежее молоко, пастеризованное молоко, обезжиренное молоко, полуобезжиренное молоко или цельное молоко, молоко, сделанное из порошка и воды, или смесь молока с некоторыми другими составляющими, такими как кофе.
Устройство 1 в соответствии с настоящим изобретением содержит беспроводной вспенивающий блок 2 и электрическое основание 3, к которому вспенивающий блок 2 подключают просто путем его установки на это основание. Электрическое основание 3 подключено к электросети с помощью питающего провода 30. Беспроводной вспенивающий блок 2 содержит расположенную сбоку ручку 28, за которую его можно легко взять с тем, чтобы поднять и вылить содержимое после вспенивания или очистить после опустошения содержимого. Блок содержит стойку 20, на которой закреплена ручка 28, при этом стойка 28 закрыта съемной крышкой 22. Последняя защищает полость, например, от пыли снаружи, а также защищает внешнее окружение, в частности предотвращая разбрызгивание жидкости или пены при включении блока при перемешивании.
Далее устройство будет описано более подробно со ссылкой на фиг.2 и 3. Вспенивающий блок 2 содержит стойку 20, в которой помещена емкость 21. В емкость 21 подают жидкость, которая должна быть нагрета и взбита. Емкость необходимо герметизировать и предусмотреть в ней достаточный объем для пены, которая будет производиться. В основном, подобные устройства сконструированы для приготовления молочной пены объемом от 50 до 100 см3, необходимой для приготовления от одной до трех порций капучино. Однако в случае необходимости может быть предусмотрена емкость большего объема. Конечно, устройство согласно настоящему изобретению может быть также использовано для приготовления горячей жидкости, когда не требуется перемешивание или когда средство для выполнения этой операции отключено.
Внутри емкости установлен перемешиватель 4. Привод 5, служащий для приведения перемешивателя 4 в действие, в этом варианте расположен снаружи емкости, предпочтительно в пространстве между емкостью и полостью стойки 20. Перемешиватель 4 и привод 5 установлены друг относительно друга таким образом, чтобы создать усиленное перемешивание жидкости внутри емкости, не занимая при этом объема внутри емкости. Для этого перемешиватель и его привод 5 являются устройствами магнитного типа, а это означает, что привод 5 создает вращающееся магнитное поле, которое приводит в действие перемешиватель, который имеет средство, ведомое магнитным полем. Эти магнитные средства расположены со смещением относительно центральной оси «I» емкости, благодаря чему перемешиватель вращается, закручивая жидкость или пену вокруг оси, которая не соосна с центральной осью емкости. На практике, благодаря такой конструкции, жидкость и затем пена закручиваются в виде асимметричного конуса, центрированного относительно оси перемешивателя. Это позволяет избежать образования слоев, имеющих постоянную скорость, которые циркулируют по одному и тому же радиусу и, следовательно, не перемешиваются друг с другом. В противоположность этому, слои одного и того же радиуса перемешиваются друг с другом, поскольку они циркулируют с различными скоростями, в частности для заданного радиуса слои циркулируют с более высокой скоростью на той стороне, где перемешиватель наиболее отдален от края емкости, и с более низкой скоростью на той стороне, где перемешиватель наиболее приближен к краю. Это обеспечивает круговое движение всей жидкости или пены внутри емкости, предотвращая застаивание слоев жидкости или пены и, следовательно, уменьшая область, где имеется слабое перемешивание или вообще не происходит перемешивания.
Для обеспечения устойчивого управляемого вращения перемешивателя в емкости без риска его перемещения и, следовательно, потери управления магнитным полем имеется фиксирующее средство 6, расположенное на дне 210 емкости и обеспечивающее позиционирование перемешивателя. Фиксирующее средство расположено в емкости со смещением относительно оси емкости, но относительно магнитного поля так, чтобы обеспечивать вращение перемешивателя. В показанном варианте фиксирующее средство 6 представляет собой выступ, образованный в стенке емкости, вокруг которого вращается перемешиватель 4 чрезмерного трения. Фиксирующее средство может иметь иную конфигурацию и может, например, представлять собой углубление, в которое затем вставляют часть перемешивателя.
Одно преимущество внешнего привода заключается в том, что оказывается возможным сделать емкость, в которой принимающая жидкость часть и, по меньшей мере, ее дно не содержит присоединенной трубки, или прерывистых соединений, или линии разграничения каналов, или подобного, за счет которых могут создаваться области, где возникают потенциальные гигиенические проблемы и/или области, которые сложно чистить или промывать. Так, принимающая жидкость поверхность емкости в предпочтительном варианте сделана как единое целое. В соответствии с настоящим изобретением не считается, что сварка, образующая непрерывный шов между двумя элементами, образует соединительные линии или прерывистые соединения, и напротив, считается, что использование винтов, заклепок или гнезд создает соединения или прерывистые соединения, с которыми связаны гигиенические проблемы. В частности, может возникнуть проблема очистки, если остатки твердой пищи попадут в стыки соединения. Емкость 21, состоящая из вертикальных поверхностей 211 и дна 210, образует гладкую поверхность, контактирующую с жидкостью, и на ней отсутствуют области, к которым прилипают твердые частицы пищи, такие как белок или подобные. Такая емкость может быть сделана из металла, который хорошо проводит тепло, такого как нержавеющая сталь, медь или алюминий. Она может быть, например, отлита в виде единого целого. В устройстве, приведенном на фиг.4, емкость 21 присоединена к краю 200 стойки 20 с помощью верхнего края 230 любым подходящим способом, таким как сварка, пайка, приклеивание или обжимание. Емкость может быть также установлена съемным способом на стойке, благодаря чему она может быть легко снята для чистки в посудомоечной машине. На емкости установлена крышка 22, плотно подогнанная по краю 220 и имеющая упругое эластичное или пластиковое уплотнение 221. Возможны другие средства уплотнения крышки 22, такие как крепящиеся на винтах или упругих зажимах.
Что касается привода перемешивателя, то привод 5 установлен для создания магнитного поля, проходящего через фиксирующее средство 6, которое образует выступ 60 внутри емкости. Для этого привод 5 содержит магнитную часть 50, помещенную в часть, формирующую углубление или вмятину 61, если смотреть с наружной стороны емкости. Эта магнитная часть привода содержит один или несколько элементов 500, изготовленных из ферромагнитного материала. Магнитная часть 50 привода сама приводится во вращение с помощью шпинделя 51, соединенного с электродвигателем 52, расположенным по оси фиксирующего средства 6.
Для получения хороших результатов в получении пены скоростью вращения перемешивателя управляют таким образом, что она достигает, по меньшей мере, 1500 об/мин. В более предпочтительном случае скорость вращения составляет, по меньшей мере, 1650 об/мин, в еще более предпочтительном варианте – от 1800 до 2500 об/мин.
Как показано на фиг.5 и 6, перемешиватель 4 в соответствии с одним вариантом осуществления настоящего изобретения имеет форму кольца, свободно установленного на выступающем фиксирующем средстве. Выступ в предпочтительном варианте выполнен в виде цилиндра. Перемешиватель 4 снабжен центральным отверстием 40 подходящей формы с внутренним диаметром D, несколько большим, чем наружный диаметр Do внешней поверхности выступа 60. Эти диаметры выбраны таким образом один относительно другого, что допускают вращение без излишнего трения или, по меньшей мере, с минимальным трением, в то же время обеспечивая эффективную магнитную связь с приводом. Перемешиватель содержит, по меньшей мере, одну ведомую магнитную часть, которая составлена из элементов, сделанных из ферромагнитного материала, таких как пара магнитов 41, 42, помещенных в пластмассовый держатель 43, который может быть отлит вокруг магнитов или собран из нескольких деталей 430, 431 путем обжима, связки или любым другим способом. Перемешиватель имеет внешнюю или периферийную часть 44, которая содержит рабочие перемешивающие элементы. В показанном варианте эти элементы выполнены в виде ряда витков 45 проволоки, образующих по форме тор. Для предотвращения деформации витки удерживаются на месте с помощью внутреннего кольцевого усиливающего элемента 46. При вращении эти элементы производят быстрое эмульгирование жидкости, в частности молока, особенно когда в это же время установлена температура пенообразования.
Однако вместо показанного варианта могут быть использованы другие варианты перемешивателя. Ими могут быть крыльчатки, лопатки, решетки или иголки или иные.
Когда включен электродвигатель, его шпиндель приводит во вращение магнитную часть 50 привода, и это создает вращающееся локальное магнитное поле, взаимодействующее с магнитами 41, 42, в результате чего перемешиватель вращается вокруг выступа. Скорость вращения перемешивателя определяется скоростью вращения шпинделя электродвигателя.
В соответствии с одной отличительной особенностью настоящего изобретения имеются нагреватели, обеспечивающие нагрев емкости в ходе перемешивания. Нагревание способствует созданию пены и существенно уменьшает время взбивания. Предпочтительно использовать пену горячей, особенно для приготовления такого напитка, как капучино. Для этого в одном варианте осуществления настоящего изобретения имеется средство прямого нагрева емкости. Под средством прямого нагрева понимается средство нагрева резистивного типа или эквивалентное, электрически изолированное, но термически напрямую связанное с поверхностью емкости.
В одном варианте осуществления настоящего изобретения средство прямого нагрева содержит нагревательную цепь типа «толстой пленки», нанесенную непосредственно на внешнюю поверхность емкости, предпочтительно на внешнюю поверхность дна емкости. Преимущество такой технологии заключается в том, что она обеспечивает хорошее распределение мощности, подведенной к емкости (т.е. большую плотность в ваттах на квадратный сантиметр). Вследствие этого предотвращается прилипание жидкости к поверхности емкости, в то же время обеспечивается отличная передача тепла к жидкости.
На фиг.7 приведен пример нагревательной цепи этого типа с печатным монтажом. В одном возможном варианте цепь выполнена непосредственно на дне емкости (например, как в варианте, приведенном на фиг.7). В другом возможном варианте цепь выполнена по дну и по боковым стенкам емкости. Еще в одном возможном варианте имеется несколько цепей, при этом, по меньшей мере, одна из них находится на дне и, по меньшей мере, одна находится на боковых стенках.
Показанная цепь 7 содержит изолирующий слой 70, связанный с внешней стороной нагреваемой поверхности емкости, и резистивную тепловую печатную дорожку 71, которая при использовании направлена проводящей стороной вниз. Дорожка 71 сделана так, чтобы обеспечить общую мощность на нагревательной поверхности примерно от 250 до 1200 Вт, предпочтительно 400 Вт. Это означает, что плотность электрической мощности на нагреваемой поверхности или в цепи 7 составляет от 5 до 30 Вт/см2, предпочтительно от 15 до 25 Вт/см2. В предпочтительном варианте дорожка 71 закрывает, по меньшей мере, 40% нагреваемой поверхности, в более предпочтительном варианте – более 50%, благодаря чему обеспечивается достаточное распределение общей мощности по нагреваемой поверхности, предотвращая при этом прилипание молока и образование коричневого оттенка на внутренней поверхности емкости. Среднюю плотность мощности вычисляют по формуле: средняя плотность мощности = общая электрическая мощность/общая площадь поверхности (7).
На концах дорожек имеются электрические контакты 72, 73, 74, служащие для присоединения электрической цепи. В соответствии с одним вариантом осуществления настоящего изобретения имеется три электрических контакта, соединенных с тремя концами; имеется один контакт 72, соединенный с нейтралью, один контакт 73 – активный и третий контакт 74, соединенный с низковольтным электродвигателем для питания последнего требуемым напряжением (например, 8,2 В в приведенном примере). Такая конфигурация позволяет подать питание с трансформатора на электродвигатель и, следовательно, позволяет снизить стоимость устройства и упростить устройство. В одном возможном варианте осуществления настоящего изобретения печатная нагревательная цепь содержит промежуточную металлическую защитную пластину, отделяющую слой изоляции от дна емкости. В данном случае защитная пластина является по возможности тонкой, желательно 1 мм или менее. Отделяющая дно защитная пластина может быть необходима в том варианте осуществления настоящего изобретения, в котором емкость является съемной со стойки. Однако в том варианте осуществления настоящего изобретения, в котором емкость установлена постоянно, желательно, чтобы цепь была бы напечатана непосредственно на емкости.
Другие технологии могут быть использованы взамен нагревательной цепи типа «толстой пленки», например экранированные резисторы. Однако эти технологии менее предпочтительны из-за передачи мощности не на такие большие площади (просто создают мощность) и поскольку требуют дополнительной припайки резистора непосредственно к поверхности емкости. В результате, для того чтобы передать такую же мощность, резистор должен быть перегрет, и это создает области, где молоко имеет тенденцию локально прилипать к поверхности емкости. Другие нагревательные средства содержат средства индукционного или инфракрасного нагрева. Эти средства могут работать в комбинации или вместо резистивных нагревательных средств.
В одном варианте осуществления настоящего изобретения имеется датчик температуры, служащий для измерения температуры в емкости. Датчик может быть прикреплен к изолированному контакту 75 цепи 7 «толстой пленки», желательно вблизи середины дна емкости. Датчиком может быть датчик NTC-типа, соединенный с электронным контроллером 8. Датчиком также может быть простой датчик в виде биметаллической полоски, который является менее точным и дает менее повторяющиеся результаты, но не требует электронного управления. Контакты нагревателя соединены с контроллером 8 с помощью пластин, провода и/или другим способом. Когда температура достигает заданной величины, контроллер отключает подачу питания на нагреватель. Заданную температуру определяют ниже точки кипения жидкости, желательно в температурном интервале, который является оптимальным для вспенивания жидкости. Например, в случае молока температура жидкости достигает значения от 60 до 80°С в течение 40 секунд, предпочтительно от 63 до 75°С в течение 30 секунд. Конечно, динамика роста температуры частично зависит от таких факторов, как объем, который должен быть нагрет, и начальная температура жидкости.
Стойка содержит кнопку 80 включения, которую пользователь может использовать. При нажатии на эту кнопку или включении любым другим способом электрическая сеть подключается к нагревателю и электродвигателю, вращающему перемешиватель. Жидкость подвергается как нагреванию, так и перемешиванию в одно и то же время. Таймер, подключенный к блоку управления, автоматически отключает электродвигатель. Время работы электродвигателя запрограммировано в блоке управления в зависимости от жидкости, которая должна быть взбита, и ее объема. Для молока время работы устанавливается от 30 до 60 секунд. Желательно, чтобы емкость имела бы метку для визуального контроля пользователем уровня наливаемой жидкости. Метка соответствует заданному уровню жидкости, которая должна быть взбита, и запрограммированному времени, соответствующему получению оптимальной пены. Например, объем около 75 мл молока может быть превращен в стабильную пену при температуре 75°С в течение 30 секунд.
Беспроволочный взбивающий блок 2 и электрическое основание 3 подключают с помощью соединителя 9, называемого «беспроволочным» соединителем. Первый соединитель подключен к центральной нижней части стойки 20. Первый соединитель подключен к электрическим элементам и элементам управления взбивающего блока, в частности контроллеру, электродвигателю и нагревателю. Второй соединитель, взаимосвязанный по форме, связан с электрическим основанием и может быть подключен к сети с помощью токоподводящего проводника.
Первый соединитель 90 содержит электрические клеммы, обычно нейтральную, активную и землю, расположенные концентрически, которые могут работать совместно с разъемом второго соединителя 91. Первый и второй соединители сделаны по форме такими, что могут работать совместно при установке взбивающего блока вертикально (или более или менее вертикально) на электрическое основание, при этом электрические клеммы (активная, нейтральная, земля) первого соединителя 90 вступают в контакт с соответствующими электрическими гнездами (активное, нейтральное, земля) второго соединителя 91. В качестве примера, подобные соединители описаны подробно в патенте США 5971810. Преимуществом такой системы является то, что в устройстве согласно настоящему изобретению можно легко отсоединить взбивающий блок и очистить емкость. Кроме этого, емкость может быть оборудована нагревателем, который непосредственно связан с емкостью для обеспечения лучшего нагревания и, следовательно, для уменьшения времени приготовления пены. Могут быть использованы другие типы беспроводных соединителей, эквивалентные описанным и не выходящие за пределы настоящего изобретения.
На фиг.8 приведен вариант осуществления настоящего изобретения, в котором емкость не является цилиндрической относительно вертикальной оси 1. В этом примере емкость 21 имеет удлиненную форму с двумя выпуклыми первыми сторонами 215, 216 и двумя вторыми сторонами 217, 218, расположенными под углом 90° к первым сторонам и являющимися вогнутыми. Перемешиватель 4 и фиксирующее средство 6 будут теперь располагаться посередине емкости, как показано на фигуре, или могут быть смещены от середины. Форма емкости такова, что она создает турбулентную циркуляцию жидкости и пены, таким образом, способствуя быстрому образованию пены и уменьшению остающегося объема жидкости.
На фиг.9 и 10 приведен другой вариант осуществления настоящего изобретения, в котором емкость 21 имеет стенки и/или препятствия, проходящие как выступы, смещенные от центральной вертикальной оси 1. В частности, в приведенном примере на дне имеется множество выступов 212, служащих для возмущения кругового движения жидкости, и аналогичных выступов 213 на боковых стенках емкости. Эти стенки проходят более или менее в радиальном направлении вдоль некоторых частей емкости. Они предпочтительно смещены, чтобы побудить жидкость в емкости двигаться по извилистому пути. Разумеется, число различных и эквивалентных модификаций находится в компетенции специалистов в данной области техники и не выходит за пределы настоящего изобретения.
Формула изобретения
1. Устройство для приготовления пены из жидкости на основе молока или из молока, содержащее емкость для взбиваемой жидкости, в которой установлен вращаемый перемешиватель, стойку, соединенную с емкостью, привод для приведения в движение перемещивателя, нагревательное средство, присоединенное к емкости, для нагрева жидкости в емкости и блок управления для включения нагревательного средства во время перемешивания, при этом устройство дополнительно содержит источник питания для питания указанного привода, привод и перемешиватель выполнены таким образом, что перемешиватель приводится в движение с помощью привода посредством магнитной силы для создания пены без механического соединительного элемента, проходящего через стенку емкости, отличающееся тем, что содержит средство создания возмущений для прерывания или предотвращения симметричной циркуляции жидкости вокруг центральной вертикальной оси емкости и содержит привод, создающий, по меньшей мере, одно магнитное поле, который смещен относительно центральной вертикальной оси емкости, а указанный блок управления выполнен таким образом, что приводит в движение указанный привод и в результате через магнитную связь приводит во вращение указанный перемешиватель с большой скоростью для превращения указанной жидкости в пену при одновременном ее нагревании.
2. Устройство по п.1, отличающееся тем, что элемент, фиксирующий перемешиватель, выполнен так, чтобы позиционировать перемешиватель в соединении с указанным приводом вдоль оси вращения, которая смещена относительно центральной вертикальной оси емкости, так что перемешиватель, вращающийся относительно указанной смещенной оси вращения, создает некоаксиальную циркуляцию жидкости вокруг указанной центральной вертикальной оси.
3. Устройство по п.2, отличающееся тем, что фиксирующий элемент представляет собой выступ или углубление, образованное на внутренней поверхности емкости и имеющее форму, более или менее соответствующую форме перемешивателя, с тем, чтобы перемешиватель находился в сцеплении с ним с возможностью вращения.
4. Устройство по п.3, отличающееся тем, что выступ или углубление и дно емкости образуют вместе единую стенку.
5. Устройство по п.3 или 4, отличающееся тем, что перемешиватель имеет кольцевую форму с центральным пазом, выполненным для сцепления с выступом, при этом указанный выступ выходит из дна вовнутрь емкости, а указанный перемешиватель имеет, по меньшей мере, одну ведомую магнитную часть, расположенную вблизи периферии указанного центрального паза.
6. Устройство по п.3, отличающееся тем, что привод содержит магнитную часть, которая размещена на внешней стороне емкости и внутри выступа с тем, чтобы взаимодействовать, по меньшей мере, с указанной ведомой магнитной частью перемешивателя, при этом магнитная часть привода выполнена с возможностью вращения с помощью шпинделя, соединенного с электродвигателем.
7. Устройство по п.6, отличающееся тем, что перемешиватель имеет периферийную часть, несущую перемешивающие элементы.
8. Устройство по п.7, отличающееся тем, что перемешивающие элементы состоят из одного или нескольких следующих элементов: витков проволоки в форме тора, крыльчатки, лопастей, решеток или игл.
9. Устройство по п.1, отличающееся тем, что средство создания возмущений содержит емкость, конфигурация которой не является цилиндрической относительно центральной вертикальной оси.
10. Устройство по п.1, отличающееся тем, что средство создания возмущений содержит стенки и/или другие препятствия, проходящие в виде выступов в емкости со смещением относительно центральной вертикальной оси.
11. Устройство по п.1, отличающееся тем, что средство создания возмущений содержит блок управления, запрограммированный на переключение направления вращения перемешивателя несколько раз во время вспенивания жидкости.
12. Устройство по п.1, отличающееся тем, что поверхность приема жидкости у емкости содержит, по меньшей мере, дно и приподнятые края, выполненные как единое целое.
13. Устройство по п.12, отличающееся тем, что указанная поверхность приема жидкости не имеет стыков или линий разрыва и каких-либо линий разграничения контура.
14. Устройство по п.1, отличающееся тем, что нагревательное средство содержит электрически изолированные резистивные нагревательные элементы, контактирующие, по меньшей мере, с дном емкости.
15. Устройство по п.14, отличающееся тем, что нагревательное средство состоит из, по меньшей мере, одной нагревательной цепи типа «толстой пленки», контактирующей с внешней поверхностью емкости.
16. Устройство по п.14, отличающееся тем, что нагревательное средство состоит из резистивного нагревательного элемента типа экранированного резистора, контактирующего со стенкой, или индукционного, или инфракрасного нагревательного средства, или комбинации этих средств.
17. Устройство по п.1, отличающееся тем, что содержит беспроводной электрический соединительный узел, обеспечивающий соединение с одной стороны стойки и емкости и с другой стороны основания для подачи электропитания, которое может быть присоединено к сети электропитания.
18. Устройство по п.17, отличающееся тем, что беспроводной соединительный узел содержит первый соединитель, прикрепленный к дну стойки, и второй соединитель, прикрепленный к основанию для подачи электропитания, при этом оба соединителя электрически соединены вместе, обеспечивая подачу питания на стойку, когда стойка установлена на основание.
19. Устройство по п.1, отличающееся тем, что блок управления содержит датчик температуры, связанный с нагревательным средством, причем блок управления отключает подачу электропитания на нагревательное средство при установленной температуре, которая определена так, чтобы жидкость нагревалась ниже точки кипения жидкости в течение установленного времени.
20. Устройство для приготовления пены из жидкости на основе молока или из молока, содержащее емкость для взбиваемой жидкости, в которой размещен вращаемый перемешиватель, стойку, соединенную с емкостью, систему привода перемешивателя, нагревательные средства, присоединенные к емкости для нагрева жидкости в емкости, и блок управления для включения нагревательных средств во время перемешивания, при этом система привода перемешивателя и сам перемешиватель содержат магнитные элементы, обеспечивающие вращение перемешивателя в емкости за счет магнитной связи, отличающееся тем, что система привода перемешивателя и перемешиватель расположены со смещением относительно центральной вертикальной оси емкости так, чтобы предотвратить симметричную циркуляцию жидкости в емкости вокруг центральной вертикальной оси емкости, а нагревательные средства распределены таким образом, чтобы нагревать дно емкости.
21. Устройство для приготовления пены из жидкости на основе молока, содержащее беспроводной взбивающий блок, включающий: емкость для взбиваемой жидкости, размещенный в емкости вращаемый перемешиватель и систему магнитного привода для приведения в движение перемешивателя и его удерживания магнитным полем, при этом указанный взбивающий блок выполнен с возможностью разъемного беспроводного подключения к блоку подачи электропитания.
22. Способ приготовления пены из пищевой жидкости на основе молока в устройстве, содержащем емкость для взбиваемой жидкости, в которой размещен вращаемый перемешиватель; магнитное средство для привода перемешивателя без введения через стенку соединительного элемента перемешивателя; источник электропитания для подачи электропитания на вращаемый привод, отличающийся тем, что указанный способ содержит, среди прочего, приведение во вращение посредством магнитной связи перемешивателя вокруг оси вращения, смещенной относительно центральной вертикальной оси емкости, и с достаточно высокой скоростью, для превращения жидкости в пену и нагревание жидкости во время перемешивания.
23. Способ по п.22, отличающийся тем, что нагревание выполняют путем прямого и распределенного приложения нагревательных элементов к внешней поверхности емкости.
24. Способ по п.23, отличающийся тем, что распределение нагревательных элементов обеспечивает получение плотности электрической мощности на нагреваемой поверхности от 15 до 25 Вт/см2 при площади покрытия нагревательными элементами нагреваемой поверхности, по меньшей мере, 40%.
25. Способ по любому из пп.22-24, отличающийся тем, что перемешиватель приводят во вращение со скоростью, по меньшей мере, 1500 об/мин.
РИСУНКИ
|
|