Патент на изобретение №2381732

Published by on




РОССИЙСКАЯ ФЕДЕРАЦИЯ



ФЕДЕРАЛЬНАЯ СЛУЖБА
ПО ИНТЕЛЛЕКТУАЛЬНОЙ СОБСТВЕННОСТИ,
ПАТЕНТАМ И ТОВАРНЫМ ЗНАКАМ
(19) RU (11) 2381732 (13) C2
(51) МПК

A47B88/04 (2006.01)

(12) ОПИСАНИЕ ИЗОБРЕТЕНИЯ К ПАТЕНТУ

Статус: по данным на 17.09.2010 – действует

(21), (22) Заявка: 2007142917/12, 15.03.2006

(24) Дата начала отсчета срока действия патента:

15.03.2006

(30) Конвенционный приоритет:

28.04.2005 DE 202005006931.0

(43) Дата публикации заявки: 10.06.2009

(46) Опубликовано: 20.02.2010

(56) Список документов, цитированных в отчете о
поиске:
DE 20308218 U1, 28.10.2004. US 5125283 A, 30.06.1992. EP1120066 A2, 01.08.2001. RU 2058746 C1, 27.04.1996. US 20030087731 A1, 08.05.2003.

(85) Дата перевода заявки PCT на национальную фазу:

28.11.2007

(86) Заявка PCT:

EP 2006/060748 20060315

(87) Публикация PCT:

WO 2006/114352 20061102

Адрес для переписки:

191002, Санкт-Петербург, а/я 5, ООО “Ляпунов и партнеры”, пат.пов. Ю.В.Кузнецовой

(72) Автор(ы):

НУТТЕЛЬМАН Франк (DE),
КАРРАШ Торстен (DE),
АМОН Михель (DE)

(73) Патентообладатель(и):

Хеттих-Хайнце ГмбХ унд Ко. КГ (DE)

(54) ДЕМПФЕРНОЕ УСТРОЙСТВО ДЛЯ ПОДВИЖНЫХ ЭЛЕМЕНТОВ МЕБЕЛИ

(57) Реферат:

Изобретение относится к демпферному устройству для подвижных элементов мебели. Демпферное устройство для подвижных элементов мебели содержит приводной механизм, выполненный с возможностью присоединения к подвижному элементу мебели, и демпфер, посредством которого по меньшей мере в одном направлении тормозят движение приводного механизма. Демпфер представляет собой тормоз на вихревых токах. Это позволяет тормозящему воздействию, по существу, не зависеть от температуры. Тормоз на вихревых токах имеет компактную конструкцию. 14 з.п. ф-лы, 9 ил.

Настоящее изобретение относится к демпферному устройству для подвижных элементов мебели, содержащему приводной механизм, который может присоединяться к подвижному элементу мебели, и демпфер, посредством которого по меньшей мере в одном направлении тормозят движение приводного механизма.

В ЕР 1120066 раскрывается закрывающее и/или возвращающее устройство для подвижных элементов мебели, в котором несущая конструкция, предварительно напряженная посредством пружины, способствует движению закрытия подвижного элемента мебели, причем замедление движения осуществляется посредством гидравлического демпфера. Таким образом, процесс закрывания протекает без значительных раздражающих звуков, с большим сроком службы закрывающего и возвращающего устройства. Вариант осуществления с гидравлическим демпфером подобного типа обычно представляет собой ротационный поршень, погруженный в амортизирующую жидкость. Также возможна реализация в виде откидного поршня. Недостатком подобных гидравлических поршней является то, что они зависят от температуры, при этом конструкция может выполняться только для определенных температур, а при температурных отклонениях демпфирующее действие либо слишком слабое, либо слишком сильное. Кроме того, если гидравлический демпфер часто использовать несколько раз подряд, амортизирующая жидкость может нагреваться, что неблагоприятно сказывается на изменениях рабочих характеристик. Также может возникнуть проблема при быстром движении, заключающаяся в отделении жидкой пленки.

Кроме того, в DE 20308218 раскрывается закрывающее демпферное устройство для подвижных элементов мебели, в котором предусмотрено вспомогательное возвращающее устройство для обеспечения закрытия. Для замедления движения в процессе закрывания предусмотрен ротационный демпфер, имеющий зубчатый диск и тормозной диск, на которые воздействуют текучей средой. В этом элементе торможение также зависит от текучей среды, в результате чего наблюдаются вышеуказанные недостатки.

Таким образом, целью настоящего изобретения является создание демпферного устройства для подвижных элементов мебели, имеющего простую конструкцию и обеспечивающего соответствующее демпфирующее воздействие на подвижные элементы мебели, практически совершенно не зависящее от температуры.

Указанная цель достигается посредством демпферного устройства, обладающего признаками, раскрытыми в п.1 формулы изобретения.

Чтобы торможение как можно меньше зависело от температурного воздействия, демпфер согласно настоящему изобретению представляет собой тормоз на вихревых токах. Кроме того, тормоз на вихревых токах может иметь компактную конструкцию, чтобы, обладая небольшими установочными размерами, он мог быть смонтирован на соответствующих предметах мебели. Таким образом может достигаться соответствующее замедление движения элементов мебели.

Согласно одной предпочтительной реализации настоящего изобретения между демпфером и приводным механизмом предусмотрена зубчатая передача. Тормоз на вихревых токах обычно требует относительно высокой частоты вращения, так что в случае относительно медленного движения приводного механизма и элемента мебели высокие частоты вращения достигаются посредством соответствующего передаточного числа зубчатой передачи. При этом тормоз на вихревых токах может иметь вращающийся диск, приводимый в движение посредством зубчатого колеса, присоединенного к зубчатой передаче.

Согласно еще одной реализации настоящего изобретения в зубчатой передаче предусмотрен механизм свободного хода, и движение приводного механизма тормозится только в одном направлении. Для облегчения движения открытия в направлении открытия торможение не предусматривается. Также торможение можно не предусматривать в случае незначительного открытия. Это позволит исключить торможение при незначительном открывании элемента мебели, поскольку указанное торможение будет служить помехой. В области небольшого открывания возможно, например, обеспечивать перемещение элемента мебели в закрытое положение посредством пружинного элемента, при этом для небольших перемещений торможение не требуется.

Механизм свободного хода может содержать подвижное зубчатое колесо, которое может перемещаться из положения зацепления с соседним зубчатым колесом в положение отсутствия зацепления с соседним зубчатым колесом. Так, зубчатое колесо свободного хода может перемещаться в положение зацепления с соседним зубчатым колесом посредством пружины с возможностью приведения пружины в действие посредством приводного механизма.

Согласно дополнительной реализации настоящего изобретения приводной механизм соединен с зубчатой рейкой, приводящей в действие зубчатое колесо свободного хода. Таким образом, линейное движение может преобразовываться во вращательное движение простым способом.

Предпочтительно приводной механизм перемещается из начального положения, в котором элемент мебели закрыт, в конечное положение, в котором элемент мебели частично открыт, причем возможна фиксация приводного механизма в конечном положении. При этом приводной механизм может перемещаться только на части пути элемента мебели, чтобы элемент мебели после достижения приводным элементом конечного положения дальше мог двигаться свободно.

Согласно одной предпочтительной реализации настоящего изобретения приводной механизм предварительно напряжен в начальном положении посредством по меньшей мере одной пружины, чтобы направлять движение закрытия элемента мебели посредством пружины и демпфера. В компактной конструкции пружина прикреплена к тому концу переходника, присоединенному к приводному механизму, который отдален от начального положения. При этом установочное пространство корпуса может использоваться оптимально для длины пружины.

Демпферное устройство может приводится в действие посредством приводного механизма, движущегося по направляющему рельсу, что применимо для подвижной секции шкафа, выдвижного ящика или для другого подвижного элемента, например дверцы шкафа и т.д.

В настоящем изобретении также раскрыт тормоз на вихревых токах, содержащий дисковидный держатель для постоянных магнитов различной полярности, вращающийся диск, изготовленный из электропроводящего немагнитного металла, и два элемента корпуса, выполненные из магнитопроводящего металла, причем в держателе можно закрепить несколько постоянных магнитов, а силу торможения тормоза на вихревых токах можно задавать количеством постоянных магнитов и силой их магнитного поля. Регулировать силу торможения необходимо, поскольку тормоз на вихревых токах применяется для изготовления мебели, при этом требуется тормозить движение элементов мебели различного веса, таким образом, обеспечен простой способ задания силы торможения тормоза на вихревых токах посредством некоторого количества постоянных магнитов. Кроме того, тормоз на вихревых токах имеет простую и компактную конструкцию, и его легко устанавливать на демпферном элементе.

Предпочтительно держатель тормоза на вихревых токах выполнен из пластмассы и в нем предусмотрены отверстия, чтобы вставлять в них постоянные магниты. При этом возможно простым способом устанавливать постоянные магниты в тормоз на вихревых токах или вынимать их из него. Для создания достаточного магнитного поля предусмотрено предпочтительно четыре, шесть или восемь постоянных магнитов различной полярности.

Далее настоящее изобретение раскрыто более подробно на примерах реализации и со ссылками на прилагаемые чертежи, где:

на фиг.1 показан в аксонометрии вариант реализации демпферного устройства согласно настоящему изобретению;

на фиг.2 на двух видах показано демпферное устройство, представленное на фиг.1, в начальном положении;

на фиг.3 показано демпферное устройство во время открывания;

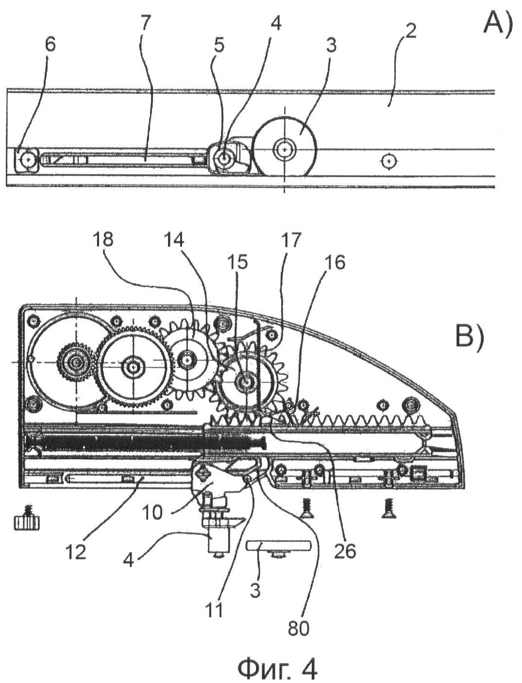
на фиг.4 на двух видах показано демпферное устройство незадолго до достижения им конечного положения;

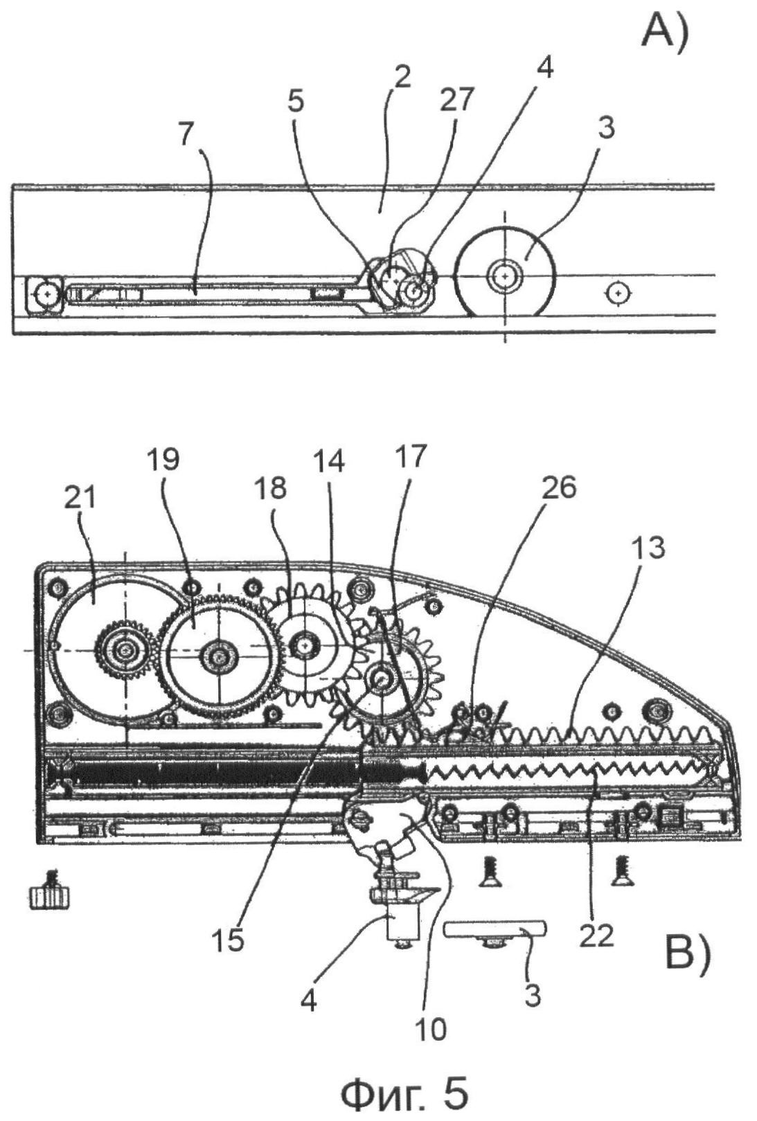
на фиг.5 на двух видах показано демпферное устройство после прохождения конечного положения;

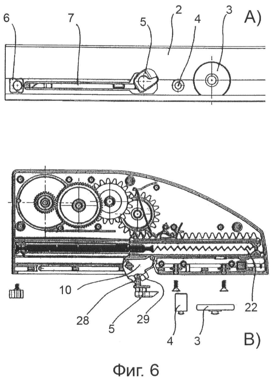
на фиг.6 на двух видах показано демпферное устройство в конечном положении;

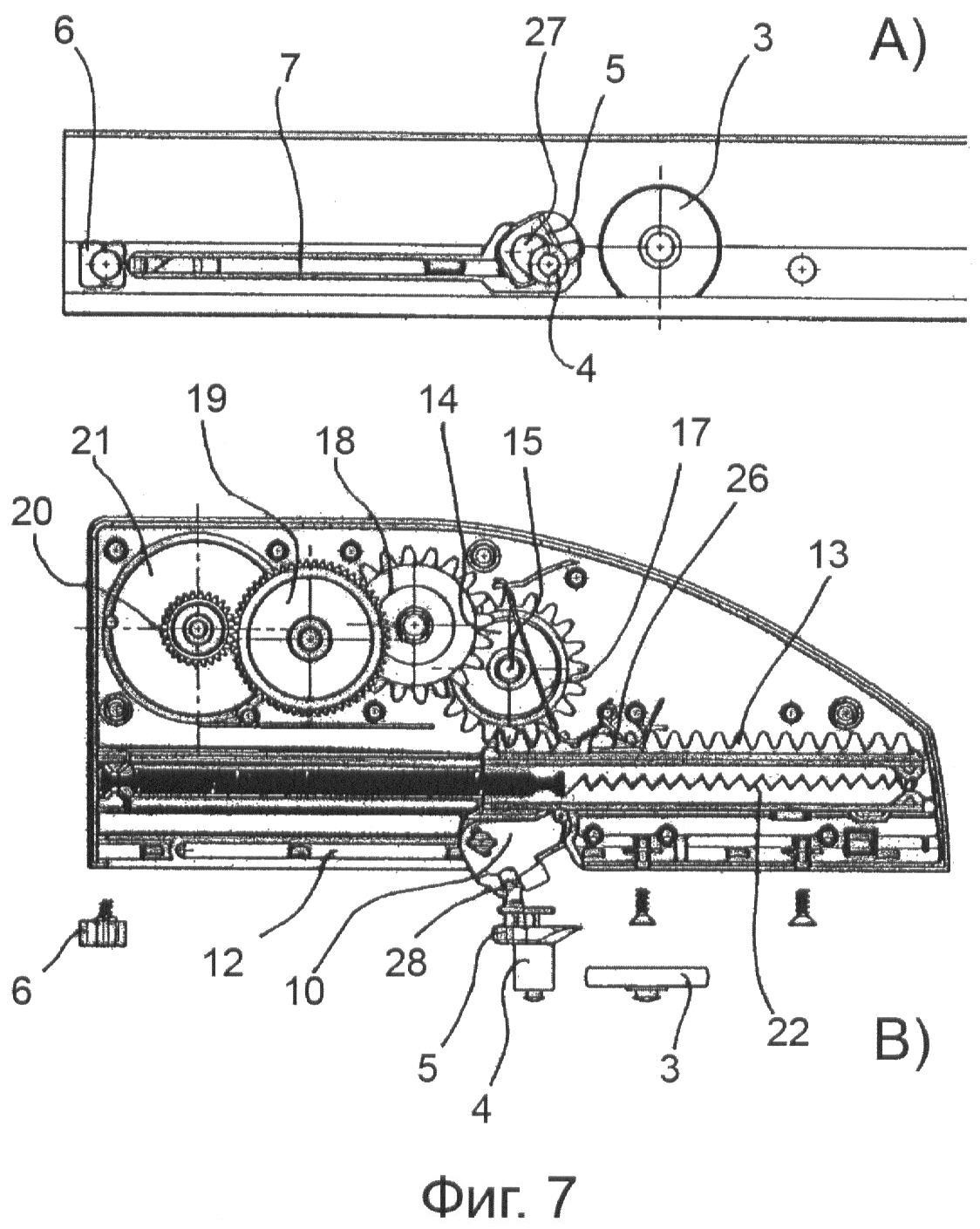
на фиг.7 на двух видах показано демпферное устройство при движении элемента мебели обратную сторону;

на фиг.8 демпферное устройство представлено в разобранном виде;

на фиг.9 в разобранном виде представлен тормоз на вихревых токах.

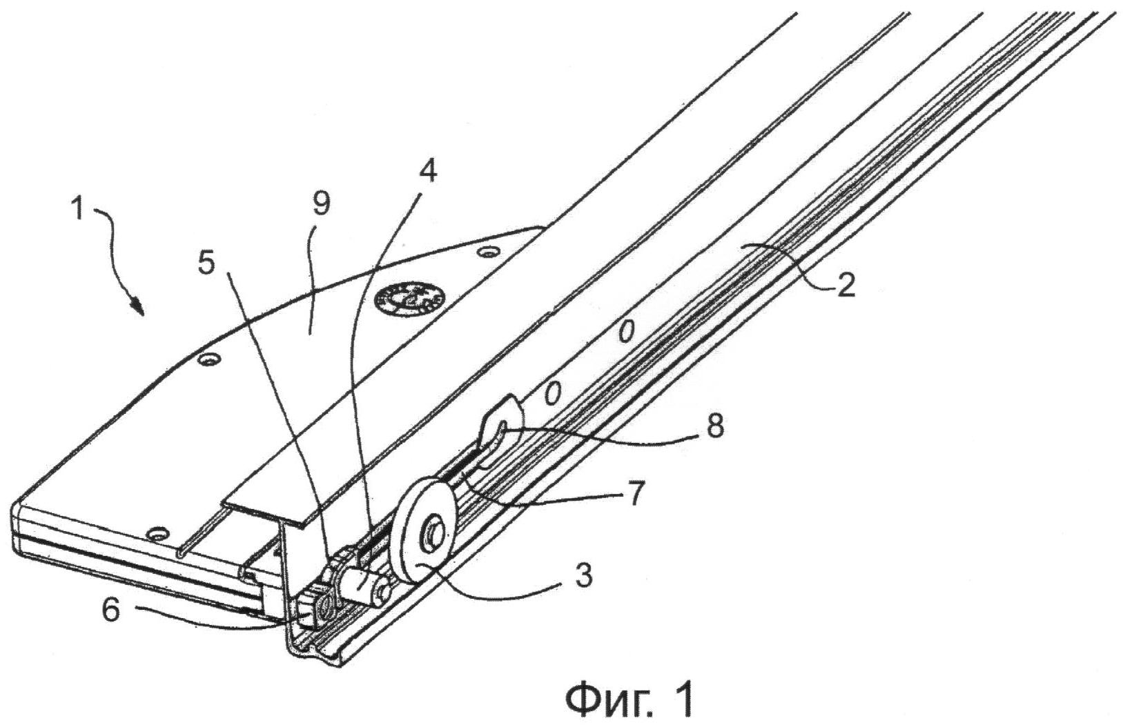
Демпферное устройство 1 содержит корпус 9, в котором размещены подвижные элементы. Корпус 9 установлен на направляющем рельсе 2, по которому проходит ролик 3, присоединенный к подвижному элементу мебели, например к секции шкафа, выдвижному ящику и т.п. Ролик 3 соединен посредством соединительного элемента (не показан) с пальцем 4 таким образом, что элемент мебели перемещает ролик 3 вместе с пальцем 4. Палец 4 закреплен в приводном механизме 5, который в начальном положении упирается в стопор 6. Приводной механизм 5 перемещается вдоль щелевидной пазовой направляющей 7, конец которой 8 имеет изогнутую форму.

На фиг.2А и 2В показано начальное положение, в котором приводной механизм 5 упирается в стопор 6. К приводному механизму 5 присоединен переходник 10, причем переходник 10 направляется посредством штырька 11 в пазовой направляющей 12, выполненной в корпусе 9 и имеющей изогнутый конец 80, при этом данная пазовая направляющая 12 расположена перпендикулярно пазовой направляющей 7. Переходник 10 также соединен с зубчатой рейкой 13, которая входит в зацепление с зубчатым колесом 14 свободного хода. Зубчатое колесо 14 имеет опорную шейку 15, имеющую ступенчатое плечо и опирающуюся на ножку 17 пружины 16. Ножка 17 пружины 16 может прижимать опорную шейку 15 к сравнительно малому зубчатому венцу зубчатого колеса 18, причем для этого ось зубчатого колеса 14 закреплена с возможностью перемещения. Зубчатое колесо 18 входит в зацепление своим сравнительно большим зубчатым венцом со сравнительно малым зубчатым венцом зубчатого колеса 19. Сравнительно большой зубчатый венец зубчатого колеса 19 в свою очередь приводит в движение зубчатое колесо 20, которое приводит в действие тормоз 21 на вихревых токах. Зубчатые колеса 18, 19 и 20 представляют собой вид зубчатой передачи, посредством которой движение зубчатой рейки 13 передается тормозу 21 на вихревых токах.

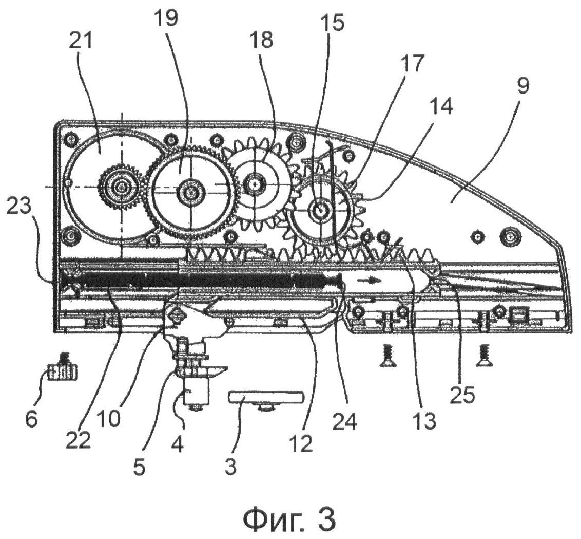
На фиг.3 показано начало движения элемента мебели и демпферного устройства. В результате движения ролик 3 с пальцем 4 перемещается в сторону от стопора 6, причем переходник 10 движется вдоль пазовой направляющей 12. В результате перемещения переходника 10 зубчатая рейка 13 также движется противоположно усилию пружины 22, прикрепленной первым концом 23 к торцевой стороне корпуса 9. С противоположной стороны концевой участок 24 пружины 22 присоединен к креплению 25, причем крепление 25 размещено на том конце зубчатой рейки 13, который обращен в сторону от конца 23. При перемещении переходника 10 и зубчатой рейки 13 пружина 22 натягивается, что отчасти схематически показано на чертежах. При этом, как показано на фиг.3, зубчатая рейка 13 прижимает зубчатое колесо 14 вправо, к ножке 17 пружины 16, причем зубчатое колесо перемещается из зацепления со смежным зубчатым колесом 18 благодаря подвижной направляющей указанного зубчатого колеса 14. Таким образом тормоз на вихревых токах остается отсоединенным и движение элемента мебели может происходить без торможения.

На фиг.4А и 4В показано положение демпферного устройства незадолго до достижения конечного положения. Переходник 10 со штырьком 11 достиг изогнутого конца 80 пазовой направляющей 12, так что в случае дальнейшего движения переходник 10 повернется. Аналогично приводной механизм 5 достиг точки, расположенной на небольшом расстоянии от конца пазовой направляющей 7, так что в случае дальнейшего движения приводной механизм 5 повернется, высвобождая палец 4.

На фиг.5А и 5В показан момент высвобождения пальца 4 таким образом, что демпферное устройство отсоединяется от элемента мебели. Палец 4 движется в сторону от гнезда 27 на приводном механизме 5, причем приводной механизм 5 поворачивается в пазовой направляющей 7. Переходник 10 также поворачивается в пазовой направляющей 12, причем в конечном положении переходник 10 фиксируется в изогнутом конце 80 пазовой направляющей. В конечном положении выступ 26, выполненный на зубчатой рейке 13, надавливает на пружину 16 таким образом, что последняя своей ножкой 17 прижимается к плечу опорной шейки 15 на зубчатом колесе 14, в результате чего зубчатое колесо движется в сторону соседнего зубчатого колеса 18 и входит в зацепление с выполненными на нем зубцами. Зубчатое колесо 14 свободного хода теперь соединено с тормозом 21 на вихревых токах посредством зубчатой передачи 18, 19. Пружина 22, показанная лишь схематично, находится в конечном положении и отжимает зубчатую рейку 13 назад в начальное положение.

На фиг.6А и 6В показано положение, в котором элемент мебели является свободно подвижным, отделенным от демпферного устройства. Палец 4 больше не удерживается на приводном механизме 5. В указанном положении переходник 10 зафиксирован в конечном положении, и демпферные устройства ожидают движения закрытия элемента мебели, чтобы быть приведенными в действие.

На фиг.7А и 7В показано начало движения закрытия. Палец 4 перемещается в гнезде 27 на приводном механизме 5, в результате чего приводной механизм 5 поворачивается книзу и может переместиться в пазовой направляющей 7 в начальное положение в сторону стопора 6. Кроме того, переходник 10 также поворачивается посредством приводного механизма 5, чтобы затем переходник 10 мог аналогично переместиться в начальное положение в пазовой направляющей 12.

Движению переходника 10 и приводного механизма 5 помогает пружина 22, которая аналогично перемещает зубчатую рейку 13 в начальное положение. Зубчатое колесо 14 свободного хода прижимается посредством зубчатой рейки 13 к соседнему зубчатому колесу 18, поэтому отпадает необходимость в пружине 16 для удерживания зубчатого колеса 14 в зацеплении. Это происходит вследствие того, что соответствующее механическое сцепляющее действие уже обеспечено пружиной 22 и зубчатой рейкой 13.

Дополнительные зубчатые колеса 18, 19 и 20 приводятся в движение посредством движения зубчатого колеса 14, причем зубчатое колесо 20 благодаря передаточному числу движется с высокой частотой вращения. Таким образом, быстрое вращательное движение передается тормозу 21 на вихревых токах, который затем может оказывать свое демпфирующее воздействие. По окончании процесса закрытия приводной механизм 5 переходит обратно в начальное положение, в котором он упирается в стопор 6.

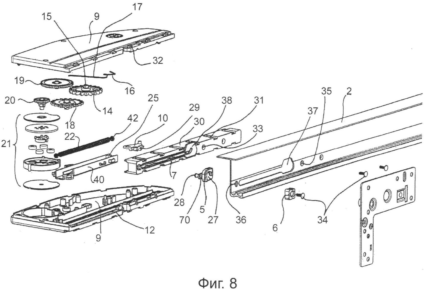
На фиг.8 представлено демпферное устройство в разобранном виде. Приводной механизм 5 содержит гнездо 27 для пальца 4, на противоположной стороне которого имеется штырь 28, входящий в гнездо 29 переходника 10. При этом приводной механизм 5 направляется посредством сужающегося шеечного участка 70 в пазовой направляющей 7, выполненной в основании 30 корпуса. В основании 30 корпуса предусмотрены пазы 31, которые могут входить в зацепление с соответствующими блокирующими выступами 32 на боковой стенке корпуса 9. Кроме того, в основании 30 корпуса предусмотрено несколько отверстий 33, благодаря которым указанное основание 30 корпуса можно привинтить к направляющему рельсу 2. Для этой цели на направляющем рельсе 2 предусмотрено несколько отверстий 35 и 36, а в эти отверстия 35 и 36 можно ввинтить винты 34. Стопор 6 также фиксируется посредством находящегося на концевом участке отверстия 36 и винта 34.

Направляющий рельс 2 также имеет соответствующую форме пластинки 38 прорезь 37, с которой совмещают пазовую направляющую 7. Следовательно, пластинку 38 основания 30 корпуса соответствующей формы можно вставить в прорезь 37.

На рейке 40, в которую вставляют пружину 22, размещают зубчатую рейку 13. При этом пружина 22 входит в зацепление посредством головки 42 с креплением 25, в результате чего движение рейки 40 натягивает или ослабляет пружину 22.

На фиг.9 в разобранном виде показан тормоз 21 на вихревых токах. Тормоз на вихревых токах содержит верхний элемент 50 корпуса и нижний элемент 58 корпуса, выполненные из магнитопроводящего металла, например пластинки из магнитомягкого железа, например из листовой стали. В верхнем элементе 50 корпуса предусмотрено центральное отверстие 51, через которое проходит ось зубчатого колеса 20.

Таким образом, зубчатое колесо 20 соединяется посредством оси с диском 53, выполненным из электропроводного немагнитного металла, например алюминия, латуни или меди, при этом в диске 53 предусмотрено центральное гнездо 57, имеющее форму, отличную от круглой, данное гнездо 57 может соединяться с зубчатым колесом 20 с надежной передачей крутящего момента.

В диске 53 имеются также отверстия 56, которые могут соединяться с фиксатором 54, на котором выполнены соответствующие выступы 55.

Ниже диска 53 предусмотрен пластмассовый держатель 60 с кольцевым боковым бортиком, на котором на некотором расстоянии друг от друга выполнены выступы 61. Указанные выступы 61 входят в соответствующие вырезы 52 и 59, выполненные в верхнем элементе 50 корпуса и нижнем элементе 58 корпуса. Таким образом, держатель 60 соединен с надежной передачей крутящего момента с элементами 50 и 58 корпуса, которые держатель 60 удерживает друг от друга на определенном расстоянии, обеспечивая воздушный зазор, в котором вращается диск 53.

В держателе предусмотрена дисковидная пластина 69, в которой с равномерным угловым интервалом выполнены отверстия 62. Отверстия 62 расположены по окружности вокруг центрального отверстия 63, в которое можно вставить опору фиксатора 54. В дисковидную пластину 69 можно вставлять постоянные магниты 64 и 65, причем постоянный магнит с южной полярностью вставляют рядом с постоянным магнитом 65 с северной полярностью поочередно, причем возможно, чтобы идентичные постоянные магниты 64 и 65 вставлялись просто с различной ориентацией. Постоянные магниты 64 и 65 создают магнитное поле, которое проходит через элементы 50 и 58 корпуса, при этом обеспечивается тормозящее воздействие за счет быстрого вращения диска 53, вызванного магнитным полем и вихревыми токами, индуцированными в диске 53.

Тормоз 21 на вихревых токах также можно изготовить простым способом, формируя диск 53 непосредственно на зубчатом колесе 20.

В тормозе 21 на вихревых токах силу торможения можно задавать посредством некоторого количества постоянных магнитов 64 и 65. Для больших элементов мебели необходимо использовать больше постоянных магнитов, чем для маленьких элементов мебели. Таким образом, пользователь может по разному регулировать демпферный элемент.

В рассматриваемом примере реализации демпферное устройство имеет одну или более пружин 22 для автоматического возвращения в исходное положение. Конечно же, демпферный элемент можно также выполнить и без подобных пружин 22 для автоматического возвращения в исходное положение. В этом случае демпферный элемент действует только как тормоз, без функции автоматического возвращения в исходное положение; упомянутая функция автоматического возвращения при необходимости может обеспечиваться в какой-либо другой точке подвижного элемента мебели.

Также можно обойтись и без механизма свободного хода. Тормоз 21 на вихревых токах будет тогда оказывать тормозящее воздействие как при открывании, так и при закрывании.

Демпферное устройство может также согласно настоящему изобретению иметь различные механизмы для перемещения приводного механизма, переходника или механического соединительного элемента посредством зубчатой рейки и зубчатых колес. При этом возможны несколько механических решений, которые также могут использоваться в пределах объема настоящего изобретения.

Демпферное устройство согласно настоящему изобретению может устанавливаться как вертикально, так и горизонтально. Это возможно потому, что в результате применения тормоза 21 на вихревых токах сила гравитации не влияет на торможение. Демпферное устройство, следовательно, также может эффективно модифицироваться.

Раскрытое демпферное устройство имеет направляющий рельс 2. Конечно, также возможно непосредственно на предмете мебели закрепить активатор и обойтись без направляющего рельса 2 и промежуточных элементов 3-8. Переходник 10 тогда используется в контексте данного применения как приводной механизм, который может быть непосредственно присоединен к активатору.

Формула изобретения

1. Демпферное устройство для подвижных элементов мебели, содержащее приводной механизм (5), выполненный с возможностью присоединения к подвижному элементу мебели, и демпфер (21), посредством которого, по меньшей мере, в одном направлении тормозят движение приводного механизма (5), при этом приводной механизм (5) выполнен с возможностью перемещения из начального положения, в котором элемент мебели закрыт, в конечное положение, в котором элемент мебели частично открыт, отличающееся тем, что демпфер (21) представляет собой тормоз на вихревых токах.

2. Демпферное устройство по п.1, отличающееся тем, что между демпфером (21) и приводным механизмом (5) выполнена зубчатая передача (14, 18, 19).

3. Демпферное устройство по п.2, отличающееся тем, что тормоз (21) на вихревых токах содержит вращающийся диск (53), приводимый в движение посредством зубчатого колеса (20), присоединенного к зубчатой передаче (14, 18, 19).

4. Демпферное устройство по п.2, отличающееся тем, что в зубчатой передаче (14, 18, 19) предусмотрен свободный ход и движение приводного механизма (5) тормозят только в одном направлении.

5. Демпферное устройство по п.4, отличающееся тем, что механизм свободного хода содержит подвижное зубчатое колесо (14), выполненное с возможностью перемещения из положения зацепления с соседним зубчатым колесом (18) в положение отсутствия зацепления с соседним зубчатым колесом (18).

6. Демпферное устройство по п.5, отличающееся тем, что зубчатое колесо (14) свободного хода выполнено с возможностью перемещения в положение зацепления с соседним зубчатым колесом (18) посредством пружины (16), а пружина (16) выполнена с возможностью приведения в действие посредством приводного механизма (6).

7. Демпферное устройство по п.5, отличающееся тем, что приводной механизм (5) соединен с зубчатой рейкой (13), приводящей в действие зубчатое колесо (14) свободного хода.

8. Демпферное устройство по п.1, отличающееся тем, что приводной механизм (5) выполнен с возможностью линейного перемещения и с возможностью фиксации в конечном положении.

9. Демпферное устройство по п.8, отличающееся тем, что приводной механизм (5) предварительно напряжен в начальном положении посредством, по меньшей мере, одной пружины (23).

10. Демпферное устройство по п.9, отличающееся тем, что пружина (23) прикреплена к концу переходника, присоединенного к приводному механизму (5), дальнему относительно начального положения.

11. Демпферное устройство по п.1, отличающееся тем, что элемент мебели соединен с приводным механизмом (5) между своим начальным положением и конечным положением и выполнен с возможностью дальнейшего перемещения после достижения приводным элементом конечного положения.

12. Демпферное устройство по п.11, отличающееся тем, что приводной механизм (5) направляют вдоль прорези в направляющем рельсе (2), а элемент мебели представляет собой подвижную секцию шкафа, выдвижной ящик и подобные им элементы.

13. Демпферное устройство по п.1, отличающееся тем, что тормоз (21) на вихревых токах содержит дисковидный держатель (60) для постоянных магнитов (64, 65) различной полярности, диск (53), выполненный с возможностью вращения, изготовленный из проводящего металла, и два элемента (50, 58) корпуса, выполненные из проводящего металла, причем держатель (60) выполнен с возможностью закрепления в нем нескольких постоянных магнитов (64, 65), а силу торможения тормоза на вихревых токах задают количеством постоянных магнитов (64, 65) и силой их магнитного поля.

14. Демпферное устройство по п.13, отличающееся тем, что держатель (16) выполнен из пластмассы с отверстиями (62) для установки постоянных магнитов (64, 65).

15. Демпферное устройство по п.13 или 14, отличающееся тем, что держатель (60) выполнен с возможностью размещения в нем четырех, шести или восьми постоянных магнитов (64, 65).

РИСУНКИ

Categories: BD_2381000-2381999