|
|
(21), (22) Заявка: 2008107653/11, 27.02.2008
(24) Дата начала отсчета срока действия патента:
27.02.2008
(43) Дата публикации заявки: 10.09.2009
(46) Опубликовано: 20.02.2010
(56) Список документов, цитированных в отчете о поиске:
ШЕСТАКОВ Я.И. и др. Конструирование и расчет технологического оборудования лесных машин. – Йошкар-Ола: МарГТУ, 2004, с.101, рис.2.29. SU 551013 А1, 25.03.1977. SU 715064 A1, 15.02.1980. EP 1182922 A1, 06.03.2002.
Адрес для переписки:
424000, Республика Марий Эл, г.Йошкар-Ола, пл. Ленина, 3, ГОУ ВПО Марийский государственный технический университет, отдел интеллектуальной собственности
|
(72) Автор(ы):
Грязин Владимир Альбертович (RU), Шестаков Яков Иванович (RU), Толстов Михаил Геннадьевич (RU), Александров Валентин Александрович (RU)
(73) Патентообладатель(и):
Государственное образовательное учреждение высшего профессионального образования Марийский государственный технический университет (RU)
|
(54) ЗАХВАТНО-СРЕЗАЮЩЕЕ УСТРОЙСТВО
(57) Реферат:
Изобретение относится к устройствам для захвата, срезания и направленной валки деревьев и может быть использовано, например, в лесной промышленности и лесном хозяйстве. Устройство содержит установленные на общем основании срезающий механизм, неподвижный упор, шарнирно-сочлененный с основанием обжимной рычаг с приводным гидроцилиндром и валочный механизм. Валочный механизм включает рычаг-упор (7), свободный конец которого выполнен в виде упора (8), а другой конец шарнирно соединен с верхней частью основания и с ползуном (9). Ползун (9) посредством рычажного механизма (14) соединен с приводным гидроцилиндром (10). Рычажный механизм (14) содержит два рычага (13) и (15), соединенные между собой под углом соединительным шарниром (17), причем рычажный механизм (14) свободным концом шарнирно соединен с приводным гидроцилиндром (10), а другим – с основанием (3). Соединительный шарнир (17) рычагов (13) и (15) рычажного механизма (14) размещен в ползуне (9). Изобретение обеспечивает упрощение конструкции. 1 з.п. ф-лы, 9 ил.
Изобретение относится к устройствам для захвата, срезания и направленной валки деревьев и может быть использовано, например, в лесной промышленности и лесном хозяйстве.
Известно захватно-срезающее устройство, содержащее установленные на общем основании срезающий механизм, неподвижный упор, шарнирно-сочлененные с основанием обжимные рычаги с приводными гидроцилиндрами и гидроприводной клин (Шестаков Я.И. Конструирование и расчет технологического оборудования лесных машин: Учебное пособие / Я.И.Шестаков, И.Н.Багаутдинов. – Йошкар-Ола: МарГТУ, 2004. – 212 с., см. с.99, рис.2.28).
Известное захватно-срезающее устройство обладает усложненной конструкцией, в частности, для беззажимной и направленной валки дерева необходимый валочный момент создается гидроприводным клином, что приводит к установке дополнительного гидроцилиндра и, соответственно, усложнению гидропривода машины.
Известно также захватно-срезающее устройство, содержащее установленные на общем основании срезающий механизм, неподвижный упор, шарнирно-сочлененный с основанием обжимной рычаг с приводным гидроцилиндром, валочно-домкратный механизм, включающий рычаг-домкрат, свободный конец которого выполнен в виде домкрата, а другой конец шарнирно соединен с нижней частью основания (Шестаков Я.И. Конструирование и расчет технологического оборудования лесных машин: Учебное пособие / Я.И.Шестаков, И.Н.Багаутдинов. – Йошкар-Ола: МарГТУ, 2004. – 212 с., см. с.99, рис.2.28).
Известное захватно-срезающее устройство имеет относительно сложную конструкцию, включающую отдельный валочный гидроцилиндр.
Технический результат заключается в упрощении конструкции.
Технический результат достигается тем, что захватно-срезающее устройство, включающее установленные на общем основании срезающий механизм, неподвижный упор, шарнирно-сочлененный с основанием обжимной рычаг с приводным гидроцилиндром, валочно-домкратный механизм, включающий рычаг-домкрат, свободный конец которого выполнен в виде домкрата, а другой конец шарнирно соединен с нижней частью основания, новизна заключается в том, что другой конец рычага-домкрата в свою очередь соединен с ползуном, при этом ползун посредством рычажного механизма соединен с приводным гидроцилиндром, а рычажный механизм содержит два рычага, шарнирно соединенные между собой под углом, причем рычажный механизм одним свободным концом шарнирно соединен с приводным гидроцилиндром, а другим – с основанием, при этом соединительный шарнир рычагов рычажного механизма размещен в ползуне, а плечи рычажного механизма имеют одинаковую длину и шарниры свободных концов расположены соосно с приводным гидроцилиндром.
Предлагаемая конструкция захватно-срезающего устройства снижает сложность конструкции и позволяет, используя один гидроцилиндр, осуществлять захват, беззажимное срезание и направленную валку срезаемого дерева.
В патентной и научно-технической литературе подобной конструкции захватно-срезающего устройства нами не обнаружено.
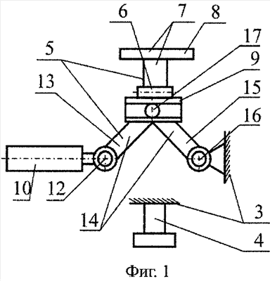
На фиг.1 изображено захватно-срезающее устройство в раскрытом положении; на фиг.2 – то же, вид сверху устройства на фиг.1; на фиг.3 – то же, вид сбоку устройства на фиг.1; на фиг.4 – то же, при захвате обжимным рычагом дерева; на фиг.5 – то же, вид сверху устройства на фиг.5; на фиг.6 – то же, вид сбоку устройства на фиг.4; на фиг.7 – то же, при направленной валке дерева; на фиг.8 – то же, вид сверху устройства на фиг.7; на фиг.9 – то же, вид сбоку устройства на фиг.7.
Захватно-срезающее устройство включает обжимной рычаг 1, установленный посредством вертикальной оси 2 на основании 3. На основании 3 закреплен неподвижный упор 4 и валочный механизм 5, включающий установленный посредством горизонтальной оси 6 рычаг-упор 7. На свободном конце рычага-упора 7 закреплен упор 8, а на другом конце – ползун 9. Приводной гидроцилиндр 10 посредством шарнира 11 соединен с обжимным рычагом 1, а шарниром 12 – с плечом 13 рычажного механизма 14, плечо 15 которого шарниром 16 соединено с основанием 3. Соединительный шарнир 17 рычажного механизма 14 входит в ползун 9 рычага-упора 7. Плечи 15 и 13 рычажного механизма 14 имеют одинаковую длину, а оси шарниров 12 и 16 свободных концов рычажного механизма 14 располагаются на одной линии с осью приводного гидроцилиндра 10.
Захватно-срезающее устройство работает следующим образом.
Перед захватом дерева оператор, включая приводной гидроцилиндр 10 на втягивание штока, осуществляет раскрытие обжимного рычага 1 и отведение от дерева рычага-упора 7 (фиг.1, 2 и 7). Наведя захватно-срезающее устройство на дерево, оператор переводит приводной гидроцилиндр 10 на выдвижение штока, обжимной рычаг 1 обхватывает ствол срезаемого дерева 18. После контакта со стволом дерева 18 обжимной рычаг 1 останавливается и приводной гидроцилиндр 10, продолжая движение, через шарнир 12 и плечо 13 рычажного механизма 14 шарниром 17 давит на ползун 9, перемещая упор 8 рычага-упора 7 к дереву 18 до соприкосновения. При этом приводной гидроцилиндр 10 и рычажный механизм 14 поворачивается относительно шарнира 16 от ствола дерева 18 (фиг.3, 4 и 8). Оператор после полного зажима ствола дерева 18 задействует механизм срезания (не показан) с одновременным продолжением выдвижения штока приводного гидроцилиндра 10. По мере перерезания ствола дерева 18 шток приводного гидроцилиндра 10 выдвигается и перемещает посредством шарнира 12 и плеча 13 рычажного механизма 14 шарнир 17 в ползуне 9, смещая упор 8 рычага-упора 7 валочного механизма 5 в сторону срезаемого ствола дерева 18 (фиг.5, 6 и 9). За счет реакции, передаваемой посредством основания 3 неподвижному упору 4, осуществляется беззажимное срезание и направленная валка дерева. После этого цикл повторяется вышеописанным способом.
Такая конструкция захватно-срезающего устройства позволяет использовать усилие приводного гидроцилиндра для захвата дерева, беззажимного срезания и направленной валки, снизить сложность конструкции устройства, повысить эффективность его использования.
Формула изобретения
1. Захватно-срезающее устройство, включающее установленные на общем основании срезающий механизм, неподвижный упор, шарнирно сочлененный с основанием обжимной рычаг с приводным гидроцилиндром и валочный механизм, отличающееся тем, что валочный механизм включает рычаг-упор, свободный конец которого выполнен в виде упора, а другой конец шарнирно соединен с верхней частью основания, а также соединен с ползуном, который посредством рычажного механизма соединен с упомянутым приводным гидроцилиндром, при этом рычажный механизм содержит два рычага, шарнирно соединенных между собой под углом, и одним свободным концом шарнирно соединен с приводным гидроцилиндром, а другим – с основанием, при этом соединительный шарнир рычагов рычажного механизма размещен в ползуне.
2. Захватно-срезающее устройство по п.1, отличающееся тем, что плечи рычажного механизма имеют одинаковую длину.
РИСУНКИ
|
|